GM Service Manual Online
For 1990-2009 cars only

Object Number: 1561777  Size: MF
Engine Controls Schematics

Circuit Description

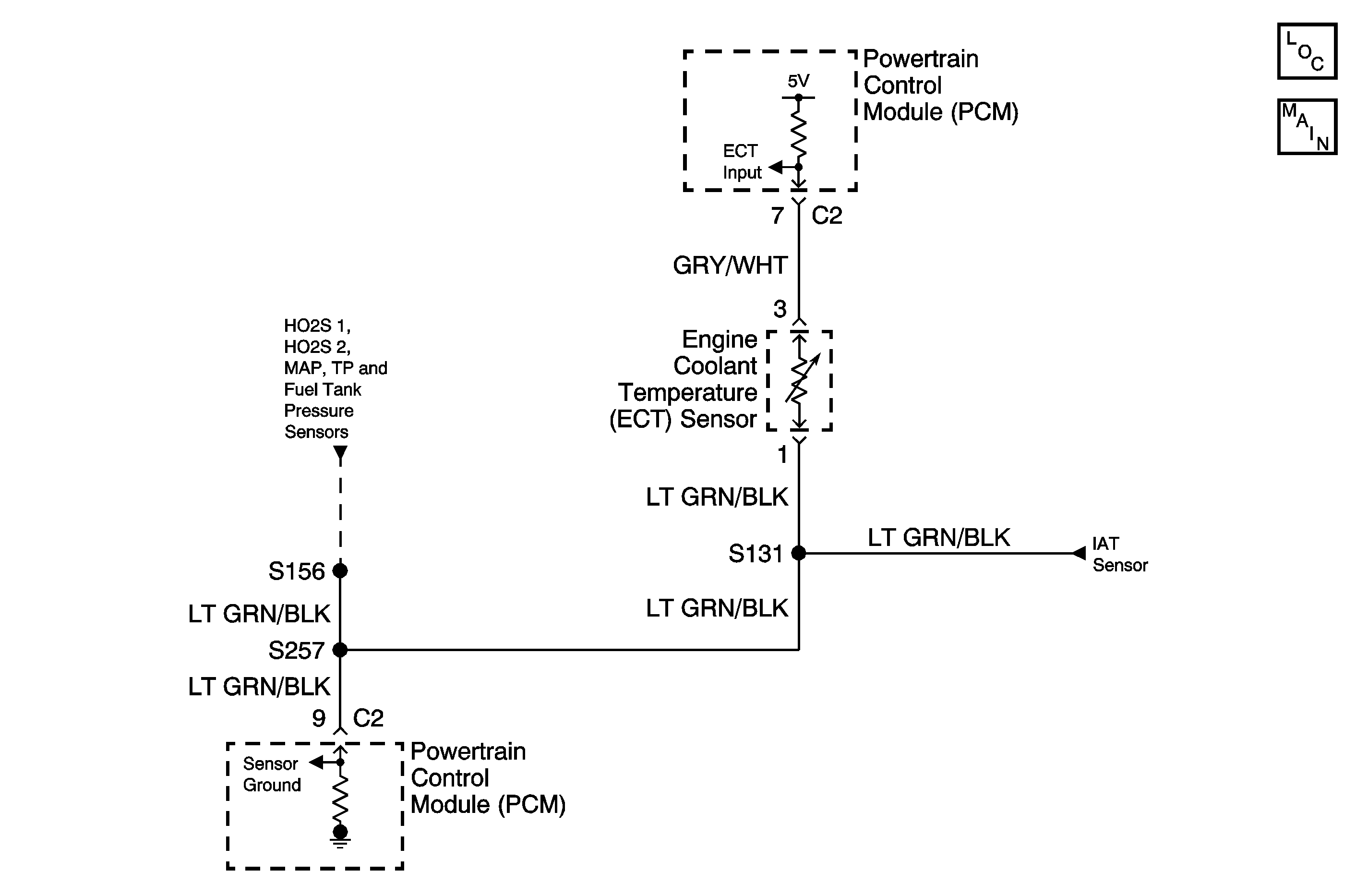
The engine coolant temperature (ECT) sensor is a thermistor. A thermistor is a resistor whose value varies with temperature. The ECT sensor's resistance is high when the coolant temperature is cold, and the ECT sensor's resistance is low when the coolant temperature is warm. The ECT sensor is wired in series with a fixed resistor in the powertrain control module (PCM). The PCM applies 5 volts to the ECT sensor. The PCM monitors the voltage across the ECT sensor and converts the voltage into a temperature reading. The PCM will receive a high voltage input when the coolant temperature is cold. The PCM will receive a low voltage input when the coolant temperature is warm.

Conditions for Running the DTC

The ignition is ON.

Conditions for Setting the DTC

    • The ECT sensor signal indicates that the engine coolant temperature less than -40°C (-40°F).
    • The above conditions are present for at least 0.5 seconds.

Action Taken When the DTC Sets

    • The PCM illuminates the malfunction indicator lamp (MIL).
    • The PCM records the operating conditions at the time the diagnostic fails. This information is stored in the Freeze Frame buffer.
    • The PCM enters the Fail-Safe Function and assumes the engine coolant temperature is 80°C (176°F) while stopping EGR, ISC, and A/C control. The PCM turns ON the engine cooling fan.

Conditions for Clearing the MIL/DTC

    • The MIL turns off after three consecutively passing trips without a fault present.
    • A History DTC clears after 40 consecutive warm-up cycles without a fault.
    • Use the scan tool Clear DTC Information function or disconnect the PCM battery feed in order to clear the DTC.

Diagnostic Aids

Check for any of the following conditions:

    • Use the Temperature vs Resistance table in order to check the ECT sensor at various temperature levels and evaluate the possibility of a shifted (incorrectly calibrated) sensor. A shifted sensor could result in a driveability complaint. Refer to Temperature Versus Resistance .
    • The ECT sensor readings should rise steadily to about 95°C (203°F) after the engine is started. The ECT sensor readings should stabilize when the thermostat opens. Verify that the engine is not overheating and has not been subjected to conditions which could create an overheating conditions (i.e., overload, trailer towing, hilly terrain, heavy stop and go traffic, etc.).
    • A shorted to voltage ECT sensor signal circuit may cause a DTC P0118 to set.
    • The engine cooling fan will turn ON once the DTC P0118 has set.
    • Check for a faulty electrical connection at the PCM.

An intermittent complaint may be caused by a fault in the ECT sensor electrical circuit. Inspect the wiring harness and components for any of the following conditions:

    • Backed out terminals.
    • Improper mating of terminals.
    • Broken electrical connector locks.
    • Improperly formed or damaged terminals.
    • Faulty terminal to wire connections.
    • Physical damage to the wiring harness.
    • A broken wire inside the insulation.
    • Corrosion of electrical connections, splices, or terminals.

If the DTC P0118 cannot be duplicated, the information included in the Freeze Frame data can be useful in determining vehicle operating conditions when the DTC was first set.

Test Description

The numbers below refer to the step numbers in the diagnostic table.

  1. The Powertrain OBD System Check prompts the technician to complete some basic checks and store the freeze frame data on the scan tool if applicable. This creates an electronic copy of the data taken when the fault occurred. The information is then stored in the scan tool for later reference.

  2. This step checks the current ECT sensor reading.

  3. This step determines if the fault is present.

  4. This step determines if the fault is caused by an open or shorted signal return circuit, a open in the ground circuit or by a malfunctioning ECT sensor.

Step

Action

Values

Yes

No

1

Did you perform the Powertrain On-Board Diagnostic (OBD) System Check?

--

Go to Step 2

Go to Powertrain On Board Diagnostic (OBD) System Check

2

  1. Turn ON the ignition, leaving the engine OFF.
  2. Install a scan tool.
  3. Observe the ECT parameter on the scan tool data list.

Is the ECT display at or less than the specified value?

-40°C (-40°F)

Go to Step 4

Go to Step 3

3

  1. Turn ON the ignition, leaving the engine OFF.
  2. Clear the scan tool information.
  3. Operate the vehicle within the Freeze Frame conditions as noted.

Is a DTC P0118 set?

--

Go to Step 4

Go to Diagnostic Aids

4

  1. Disconnect the ECT sensor electrical connector.
  2. Jumper the ECT signal (input) circuit and the sensor ground circuit together at the ECT sensor harness connector.
  3. Observe the ECT parameter on the scan tool.

Is the ECT display at the specified value?

119°C (246°F)

Go to Step 6

Go to Step 5

5

  1. Jumper the ECT signal (input) circuit at the sensor harness connector to chassis ground.
  2. Observe the ECT parameter on the scan tool.

Is the ECT display at the specified value?

119°C (246°F)

Go to Step 7

Go to Step 8

6

  1. Check for a faulty connection at the ECT sensor.
  2. Repair as necessary.

Was a repair necessary?

--

Go to Step 12

Go to Step 10

7

  1. Turn OFF the ignition.
  2. Disconnect the PCM.
  3. Check the ECT sensor ground circuit for an open circuit.
  4. Repair as necessary.

Was a repair necessary?

--

Go to Step 12

Go to Step 9

8

  1. Turn OFF the ignition.
  2. Disconnect the PCM.
  3. Check the ECT sensor signal (input) circuit for an open circuit.
  4. Repair as necessary.

Was a repair necessary?

--

Go to Step 12

Go to Step 9

9

  1. Check for a faulty sensor ground or ECT sensor signal (input) circuit terminal connection at the PCM.
  2. Repair as necessary.

Was a repair necessary?

--

Go to Step 12

Go to Step 11

10

Replace the ECT sensor. Refer to Engine Coolant Temperature Sensor Replacement .

Is the action complete?

--

Go to Step 12

--

11

Replace the PCM. Refer to Powertrain Control Module Replacement .

Is the action complete?

--

Go to Step 12

--

12

  1. Clear the scan tool information and road test the vehicle within the Freeze Frame conditions that set the DTC.
  2. Review the scan tool data and check for DTCs. The repair is complete if no DTCs are stored.

Are any DTCs displayed on the scan tool?

--

Go to the Applicable DTC Table

System OK