| Table 1: | Torque Converter Clutch (TCC) Solenoid |
| Table 2: | PNP Switch |
| ||||||
|---|---|---|---|---|---|---|
Connector Part Information |
| |||||
Pin | Wire Color | Function | ||||
1 | BRN/YEL | Shift Solenoid 2 Control | ||||
2 | BLU/YEL | TCC Solenoid Control | ||||
3 | PPL | Shift Solenoid 1 Control | ||||
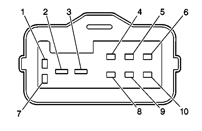
| ||||||||
|---|---|---|---|---|---|---|---|---|
Connector Part Information |
| |||||||
Pin | Wire Color | Function | ||||||
1 | -- | Not Used | ||||||
2 | BLK/WHT | B+ in crank | ||||||
3 | BLK | Crank Signal | ||||||
4 | RED/BLU | Backup Lamp | ||||||
5 | LT GRN/RED | 2 Position Signal | ||||||
6 | LT GRN/BLK | L Position Signal | ||||||
7 | -- | Not Used | ||||||
8 | RED/BLK | Backup Lamp switch | ||||||
9 | -- | Not Used | ||||||
10 | BLU/BLK | Cruise Control | ||||||