GM Service Manual Online
For 1990-2009 cars only

SERVICE MANUAL UPDATE SEC. 10 (CHILD SEAT RESTRAINT SYSTEM)

SUBJECT: MANUAL UPDATE SEC. 10 CHILD SEAT RESTRAINT SYSTEM INSTALL

VEHICLES AFFECTED: 1990-91 SPRINT/FIREFLY

This bulletin is an addition to the 1990 SPRINT/FIREFLY Service Manual (ST370-90). This bulletin also replaces the "Front Seat Child Restraint" and the "Rear Seat Child Restraint" procedures found on pages 10-11-5 and 10-11-7 of the 1991 Sprint/Firefly Service Manual (ST370-91).

FRONT SEAT CHILD RESTRAINT SYSTEM

Figures 1 through 6

1. Mark the anchor nut position on the right sill between the front and rear seats. For two-door model applications refer to Figure 1. For four-door model application, refer to Figure 2.

INSERT FIGURE 1 FRONT SEAT CHILD RESTRAINT ANCHOR NUT LOCATION - TWO DOOR MODELS

INSERT FIGURE 2 FRONT SEAT CHILD RESTRAINT ANCHOR NUT LOCATION - FOUR DOOR MODELS

2. Cut a 60 mm X 60 mm (2.36 inch x 2.36 inch) flap out of the floor carpeting refer to Figure 1 or 2.

3. Install the anchor bracket and bolt to the right sill. For two-door model applications, refer to Figure 3. For four-door model applications, refer to Figure 4. On two-door models, place the right front seat in its most rearward position before tightening the anchor bolt. If necessary, tilt the bracket rearward to attain the required clearance. On four-door models, the right front seat will not travel to its most rearward position once the anchor bracket has been installed.

IMPORTANT

* Make certain that the locking tangs on the back of the anchor bracket engage in sheet metal and not just the carpeting.

TIGHTEN * Anchor bolt to 40 N.m (30 ft lbs.).

INSERT FIGURE 3 INSTALLING ANCHOR BRACKET - TWO DOOR MODELS

INSERT FIGURE 4 ANCHOR BRACKET - FOUR DOOR MODELS

4. Install the child seat restraint safety belt. For two-door model applications, refer to Figure 5. For four-door model applications refer to Figure 6.

INSERT FIGURE 5 CHILD SEAT RESTRAINT SAFETY BELT - TWO DOOR MODELS

INSERT FIGURE 6 CHILD SEAT RESTRAINT SAFETY BELT - FOUR-DOOR MODELS

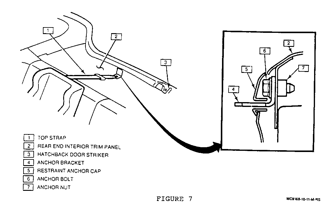
REAR SEAT CHILD RESTRAINT - TOP STRAP ANCHOR

Figure 7

1. Remove the restraint anchor cap from the rear end interior trim panel as shown in Figure 7.

INSERT FIGURE 7 REAR SEAT CHILD RESTRAINT - TOP STRAP ANCHOR LOCATION

2. Install the anchor bracket to the rear end of the vehicle with the anchor bolt.

TIGHTEN * Anchor bolt to 45 N.m (33 ft.lbs.).

3. Replace the restraint anchor cap.

IMPORTANT

* There is no centre seating position provided for a child seat in the rear seat of this vehicle.


Object Number: 91195  Size: MF


Object Number: 92290  Size: MF


Object Number: 92289  Size: MF


Object Number: 93017  Size: MF


Object Number: 91194  Size: MF


Object Number: 91193  Size: MF


Object Number: 80932  Size: FS

General Motors bulletins are intended for use by professional technicians, not a "do-it-yourselfer". They are written to inform those technicians of conditions that may occur on some vehicles, or to provide information that could assist in the proper service of a vehicle. Properly trained technicians have the equipment, tools, safety instructions and know-how to do a job properly and safely. If a condition is described, do not assume that the bulletin applies to your vehicle, or that your vehicle will have that condition. See a General Motors dealer servicing your brand of General Motors vehicle for information on whether your vehicle may benefit from the information.