GM Service Manual Online
For 1990-2009 cars only

Brake Transmission Shift Interlock Replacement Manual Selector

Removal Procedure


    Object Number: 1557102  Size: SH

    Caution: Unless directed otherwise, the ignition and start switch must be in the OFF or LOCK position, and all electrical loads must be OFF before servicing any electrical component. Disconnect the negative battery cable to prevent an electrical spark should a tool or equipment come in contact with an exposed electrical terminal. Failure to follow these precautions may result in personal injury and/or damage to the vehicle or its components.

  1. Disconnect the negative battery cable.

  2. Object Number: 192585  Size: SH
  3. Remove the following items from the floor:
  4. • The two screws
    • The two plastic retaining clips
    • The console box

    Object Number: 166099  Size: SH
  5. Remove the shift lock solenoid electrical connector (1) from under the carpet.
  6. Remove the shift indicator lamp electrical connector (2) from under the carpet.

  7. Object Number: 166057  Size: SH
  8. Remove the two bolts (2) and the shift lock solenoid from the selector lever detent bracket (1).

  9. Object Number: 166074  Size: SH
  10. Remove the two bolts (7) and the manual release pivot plate (4) from the selector lever detent bracket (1).

Installation Procedure


    Object Number: 166074  Size: SH
  1. Install the manual release pivot plate (4) to the manual selector detent bracket.
  2. Secure the manual release pivot plate (4) with the two bolts (7).

  3. Object Number: 166057  Size: SH
  4. Install the shift lock solenoid to the selector lever detent bracket (1).
  5. Secure the shift lock solenoid with the two bolts (2).

  6. Object Number: 166099  Size: SH
  7. Install the shift indicator lamp electrical connector (2) under the carpet.
  8. Install the shift lock solenoid electrical connector (1) under the carpet.

  9. Object Number: 192585  Size: SH
  10. Install the console box to the floor.
  11. Secure the console box with the two plastic retaining clips and the two screws.

  12. Object Number: 1557102  Size: SH
  13. Connect the negative battery cable.

Brake Transmission Shift Interlock Replacement Shift Select Cable

Removal Procedure


    Object Number: 1557102  Size: SH

    Caution: Unless directed otherwise, the ignition and start switch must be in the OFF or LOCK position, and all electrical loads must be OFF before servicing any electrical component. Disconnect the negative battery cable to prevent an electrical spark should a tool or equipment come in contact with an exposed electrical terminal. Failure to follow these precautions may result in personal injury and/or damage to the vehicle or its components.

  1. Disconnect the negative battery cable.

  2. Object Number: 192585  Size: SH
  3. Put the manual selector in the NEUTRAL position.
  4. Remove the console box from the floor.

  5. Object Number: 166099  Size: SH
  6. Remove the shift lock solenoid connector (1) from under the carpet.
  7. Remove the shift indicator lamp electrical connector (2) from under the carpet.

  8. Object Number: 192585  Size: SH
  9. Remove the four bolts and the manual selector from the floor.

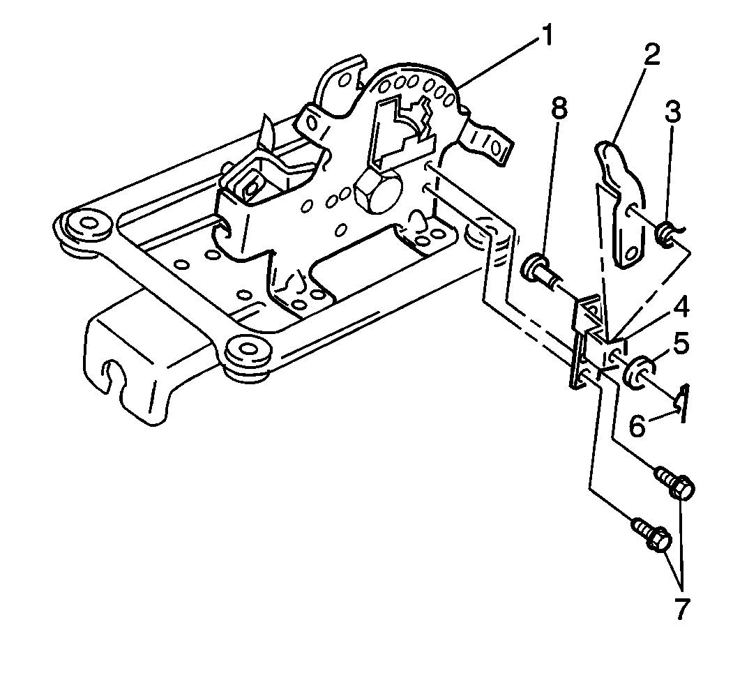
  10. Object Number: 166101  Size: SH
  11. Remove the following items from the selector lever:
  12. • The retaining clip (1)
    • The washer
    • The E-clip (3)
    • The shift select cable (4)
  13. Raise the vehicle. Support the vehicle. Refer to Lifting and Jacking the Vehicle in General Information.

  14. Object Number: 166104  Size: SH
  15. Remove the select cable locknut (1) and the shift select cable from the manual shift lever (4).

  16. Object Number: 166101  Size: SH
  17. Remove the E-clip (3) from the shift select cable bracket on the transmission.
  18. Remove the shift select cable (4) from the vehicle.
  19. Inspect the shift select cable for fraying or kinks. Replace the cable as necessary.

Installation Procedure


    Object Number: 166106  Size: SH
  1. Put the manual shift lever (3) in the LOW position.

  2. Object Number: 166101  Size: SH
  3. Install the shift select cable (4) into the shift select cable bracket at the transmission.
  4. Secure the shift select cable (4) with the E-clip (3).

  5. Object Number: 166109  Size: SH
  6. Install the shift select cable into the manual shift lever while moving the manual shift lever back to the NEUTRAL position.
  7. Notice: Use the correct fastener in the correct location. Replacement fasteners must be the correct part number for that application. Fasteners requiring replacement or fasteners requiring the use of thread locking compound or sealant are identified in the service procedure. Do not use paints, lubricants, or corrosion inhibitors on fasteners or fastener joint surfaces unless specified. These coatings affect fastener torque and joint clamping force and may damage the fastener. Use the correct tightening sequence and specifications when installing fasteners in order to avoid damage to parts and systems.

  8. Secure the shift select cable with the select cable locknut (3). Do not fully tighten the locknut.
  9. Tighten
    Tighten the shift select cable locknut to 7 N·m (62 lb ft).

  10. Lower the vehicle. Make it possible to access both the manual selector and the manual shift lever.

  11. Object Number: 166101  Size: SH
  12. Install the shift select cable (4) to the selector lever.
  13. Secure the shift select cable with the E-clip (3), the washer and the retaining clip (1).
  14. Inspect both ends of the shift select cable to ensure that no cable deflection exists.
  15. Lower the vehicle completely.

  16. Object Number: 192585  Size: SH
  17. Install the manual selector to the floor.
  18. Secure the manual selector to the floor with the four bolts.
  19. Tighten
    Tighten the manual selector bolts to 18 N·m (13 lb ft).


    Object Number: 166099  Size: SH
  20. Install the shift indicator lamp electrical connector (2) under the carpet.
  21. Install the shift lock solenoid electrical connector (1) under the carpet.

  22. Object Number: 192585  Size: SH
  23. Install the console box to the floor. Refer to Instrument Panel, Gages and Console.
  24. Put the manual selector in the PARK position.

  25. Object Number: 1557102  Size: SH
  26. Connect the negative battery cable.