GM Service Manual Online
For 1990-2009 cars only

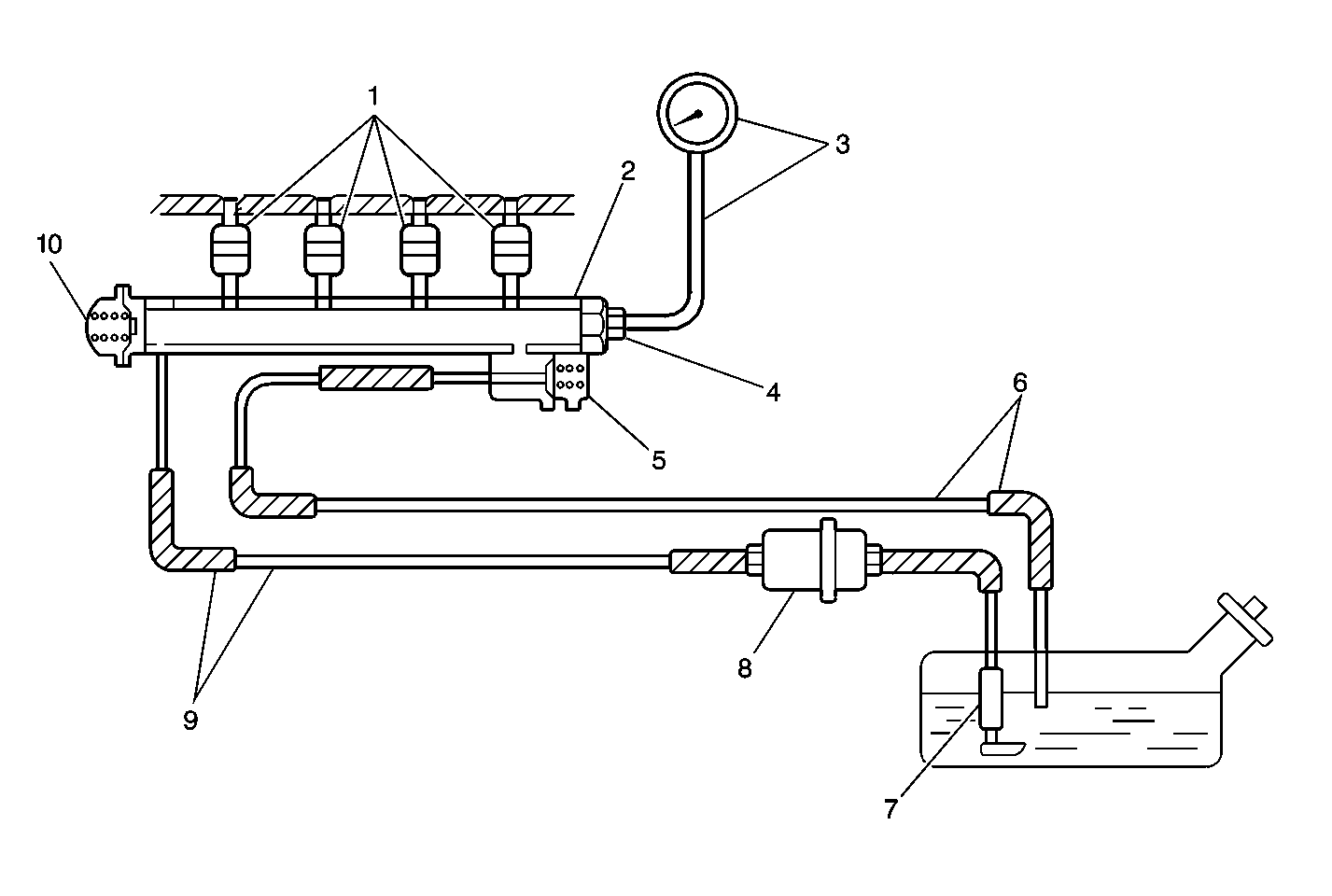
Object Number: 167815  Size: MF
(1)Fuel Injectors
(2)Fuel Rail
(3)Fuel Pressure Gauge J 34730-1
(4)Fuel Gauge Adapter J 41041
(5)Fuel Pressure Regulator
(6)Fuel Return Pipe/Hose
(7)Fuel Pump
(8)Fuel Filter
(9)Fuel Feed Pipe/Hose
(10)Fuel Pulsation Damper

System Description

The powertrain control module (PCM) will energize the fuel pump relay for 3 seconds when the ignition switch is turned to the ON position. The fuel pump will operate and pressurize the fuel system when the fuel pump relay is energized. The PCM receives ignition system reference pulses when the engine is being cranked or when the engine is running. The PCM will continue to energize the fuel pump relay as long as the PCM receives ignition system reference pulses. The PCM will de-energize the fuel pump relay when ignition system reference pulses are no longer detected.

The fuel supply system delivers fuel to the fuel injectors at a controlled pressure. The controlled fuel pressure is 250-300 kPa (36-43 psi) when the fuel pump is energized and the engine not running. The controlled fuel pressure is 210-260 kPa (30-37 psi) when the engine is idling at normal operating temperatures. The fuel pressure regulator maintains the correct fuel pressure at all times by returning excess fuel to the fuel tank.

Diagnostic Aids

Improper fuel system pressure can result in any of the following conditions:

    • The engine cranks but will not start.
    • The engine cuts out or stalls (may feel like an ignition malfunction).
    • A decrease in fuel economy and a decrease in power.
    • Hard starting.

One minute after the fuel pump stops, fuel pressure should hold at approximately 180 kPa (25 psi) or higher.

An intermittent malfunction may be caused by a problem in the fuel pump electrical circuit. Inspect the wiring harness and components for any of the following conditions:

    • Backed out terminals.
    • Improper mating of terminals.
    • Broken electrical connector locks.
    • Improperly formed or damaged terminals.
    • Faulty terminal to wire connections.
    • Physical damage to the wiring harness.
    • A broken wire inside the insulation.
    • Corrosion of electrical connections, splices, or terminals.

Test Description

The numbers below refer to the step numbers in the Diagnostic Table.

  1. The Powertrain OBD System Check prompts the technician to complete some basic checks and store the freeze frame data on the scan tool if applicable. This creates an electronic copy of the data taken when the fault occurred. The information is then stored in the scan tool for later reference.

  2. This step checks to see if fuel system pressure is within specifications with the ignition ON and the fuel pump running. The fuel pump may be operated with the scan tool Output Control feature when the fuel level is greater than 20 percent and no DTCs are set.

  3. This step checks the fuel pressure after the fuel pump stops. Approximately one minute after the fuel pump stops fuel pressure should remain steady at 200 kPa (28.5 psi). The fuel pump may be operated with the scan tool Output Control feature when the fuel level is greater than 20 percent and no DTCs are set.

  4. The vehicle should start and run. At this step adequate fuel pressure is available for the engine to operate. A vehicle that will not start may have inoperable injectors. Check the fuel injectors and the fuel injector circuitry. Refer to Fuel Injector Circuit Diagnosis .

  5. This step checks for normal fuel pressure when the engine is running. Fuel pressure that is not within the specified value indicates a possible fault in the fuel pressure regulator.

  6. This step checks for a faulty check valve in the fuel pump. Blocking (pinching) the fuel feed hose between the fuel pressure gauge and the fuel pump, immediately after the fuel pump stops, traps the fuel pressure between the fuel pressure regulator and the blocked section. If fuel pressure now remains above the specified value, the fault is between the blocked section and the fuel tank. The fuel pump may be operated with the scan tool Output Control feature when the fuel level is greater than 20 percent and no DTCs are set.

  7. This step checks for a faulty fuel pressure regulator. The fuel pump may be operated with the scan tool Output Control feature when the fuel level is greater than 20 percent and no DTCs are set.

  8. This step checks for a faulty fuel pressure regulator. The fuel pump may be operated with the scan tool Output Control feature when the fuel level is greater than 20 percent and no DTCs are set.

  9. Low fuel pressure or no fuel pressure may be caused by a fault in the fuel pump electrical circuit. Go to the Fuel Pump Electrical Circuit Diagnosis in order to diagnose the fuel pump electrical circuit.

  10. This step checks for additional conditions that can cause low fuel pressure other than a faulty fuel pump. Check for any restrictions or blockage in the fuel feed lines and hoses, including those inside the fuel tank. Check the fuel pump electrical circuit for excessive resistance. Proper fuel pump operation requires correct voltage and adequate current flow.

  11. This step checks the operation of the fuel pressure regulator. The fuel pump may be operated with the scan tool Output Control feature when the fuel level is greater than 20 percent and no DTCs are set.

Step

Action

Value(s)

Yes

No

1

Did you perform the Powertrain On-Board Diagnostic System Check?

--

Go to Step 2

Go to Powertrain On Board Diagnostic (OBD) System Check

2

  1. Turn OFF the ignition.
  2. Install the J 34730-1A fuel pressure gauge or an equivalent. Refer to Fuel Pressure Gage Installation and Removal .
  3. Check that the vehicle has an adequate supply of fuel.
  4. Turn ON the ignition, leaving the engine OFF (the fuel pump should run for approximately 2 seconds).

Was there any fuel pressure indicated?

--

Go to Step 3

Go to Step 13

3

  1. Turn OFF the ignition.
  2. Important: In order to obtain maximum fuel pressure it may be necessary to cycle the ignition ON to OFF to ON more than once.

  3. Turn ON the ignition, leaving the engine OFF (the fuel pump should run for approximately 2 seconds).
  4. Observe the fuel pressure while the fuel pump is running.

Is the fuel pressure indicated within the specified values?

250 to 300 kPa (36 to 43 psi)

Go to Step 4

Go to Step 11

4

  1. Turn OFF the ignition.
  2. Observe the fuel pressure gauge for one minute after the fuel pump stops.

Does the fuel pressure hold at or above the specified value?

180 kPa (25 psi)

Go to Step 5

Go to Step 7

5

Start the engine.

Does the vehicle start and run?

--

Go to Step 6

Fuel Injector Circuit Diagnosis

6

Run the engine to normal operating temperature.

Is the fuel pressure indicated within the specified values?

210 to 260 kPa (30 to 37 psi)

System OK

Go to Step 9

7

  1. Check the fuel injectors and the fuel feed pipes and hoses for leaks.
  2. Repair as necessary.

Was a repair necessary?

--

Go to Step 19

Go to Step 8

8

  1. Turn ON the ignition, leaving the engine OFF (the fuel pump should run for approximately 2 seconds).
  2. Observe the fuel pressure while blocking (pinching) the fuel feed hose between the fuel pressure gauge and the fuel pump, immediately after the fuel pump stops.

Does the fuel pressure hold at or above the specified value?

180 kPa (25 psi)

Go to Step 18

Go to Step 9

9

  1. Turn ON the ignition, leaving the engine OFF (the fuel pump should run for approximately 2 seconds).
  2. Observe the fuel pressure while blocking (pinching) the fuel return hose.

Does the fuel pressure remain at or above the specified value?

180 kPa 25 psi)

Go to Step 17

Go to Step 10

10

  1. Check for any of the following:
  2. • Faulty or improperly operating fuel injectors. Refer to Fuel Injector Circuit Diagnosis .
    • A leaking fuel pressure regulator.
  3. Repair or replace as necessary.

Is the action complete?

--

Go to Step 19

--

11

Is the fuel pressure below the specified value?

250 kPa (36 psi)

Go to Step 12

Go to Step 15

12

Important: In order to obtain maximum fuel pressure it may be necessary to cycle the ignition ON to OFF to ON more than once.

  1. Turn ON the ignition, leaving the engine OFF (the fuel pump should run for approximately 2 seconds).
  2. Check the fuel pressure while blocking (pinching) the fuel return hose.

Is the fuel pressure at the specified value or higher?

400 kPa (57 psi)

Go to Step 17

Go to Step 13

13

Was the fuel pump relay diagnostic procedure/table performed?

--

Go to Step 14

Go to Fuel Pump Electrical Circuit Diagnosis

14

  1. Check for any of the following conditions:
  2. • Check for a restricted fuel feed pipe, hose, or fuel filter.
    • Check for restrictions or leaks in fuel feed pipes, hoses, or connections inside the fuel tank.
    • Inspect entire fuel pump circuit. Verify B+ voltage at fuel pump connector and less than 5.0 ohms of resistance to ground.
  3. Repair as necessary.

Was a repair necessary?

--

Go to Step 19

Go to Step 18

15

  1. Turn OFF the ignition.
  2. Relieve fuel system pressure. Refer to Fuel Pressure Relief .
  3. Disconnect the fuel return hose from the fuel pressure regulator.
  4. Connect a new fuel hose to the fuel pressure regulator.
  5. Insert the other end of the new fuel hose into an approved gasoline container.
  6. Turn ON the ignition, leaving the engine OFF.

Is the fuel pressure within the specified value?

250 to 300 kPa (36 to 43 psi)

Go to Step 16

Go to Step 17

16

Repair/replace the restricted fuel return pipe or hose.

Is the action complete?

--

Go to Step 19

--

17

Replace the fuel pressure regulator. Refer to Fuel Pressure Regulator Replacement .

Is the action complete?

--

Go to Step 19

--

18

Replace the fuel pump. Refer to Fuel Pump Replacement .

Is the action complete?

--

Go to Step 19

--

19

Operate the vehicle within the conditions under which the original symptom was noted.

Does the system now operate properly?

--

System OK

Go to Diagnostic Aids