GM Service Manual Online
For 1990-2009 cars only

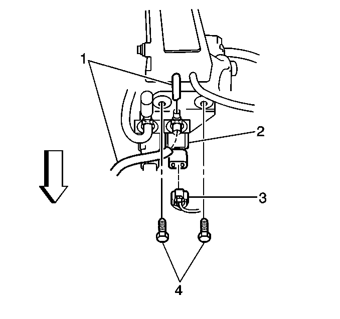
Removal Procedure

Notice: The EVAP canister may have released carbon particles which caused this part to fail and may cause damage to other components. Check the EVAP canister for loose carbon before returning the vehicle to service.


    Object Number: 55676  Size: SH
  1. Disconnect the EVAP canister purge valve electrical connector(3).
  2. Disconnect the two vacuum hoses (1) from the EVAP canister purge valve.
  3. Remove the two screws (4) from the EVAP canister purge valve from the intake manifold.
  4. Remove the EVAP canister purge valve (2) from the bracket.

Installation Procedure


    Object Number: 55676  Size: SH
  1. Install the EVAP canister purge valve (2) to the bracket.
  2. Install the EVAP canister purge valve and the bracket (1) to the intake manifold.
  3. Notice: Use the correct fastener in the correct location. Replacement fasteners must be the correct part number for that application. Fasteners requiring replacement or fasteners requiring the use of thread locking compound or sealant are identified in the service procedure. Do not use paints, lubricants, or corrosion inhibitors on fasteners or fastener joint surfaces unless specified. These coatings affect fastener torque and joint clamping force and may damage the fastener. Use the correct tightening sequence and specifications when installing fasteners in order to avoid damage to parts and systems.

  4. Secure the EVAP canister purge valve and bracket with the two screws (2).
  5. Tighten
    Tighten the two screws to 10 N·m (89 lb in).

  6. Connect the two vacuum hoses (1) to the EVAP canister purge valve.
  7. Connect the EVAP canister purge valve electrical connector (3).