GM Service Manual Online
For 1990-2009 cars only

Removal Procedure

    Caution: Unless directed otherwise, the ignition and start switch must be in the OFF or LOCK position, and all electrical loads must be OFF before servicing any electrical component. Disconnect the negative battery cable to prevent an electrical spark should a tool or equipment come in contact with an exposed electrical terminal. Failure to follow these precautions may result in personal injury and/or damage to the vehicle or its components.

  1. Disconnect the negative battery cable.
  2. Raise the vehicle. Support the vehicle. Refer to Lifting and Jacking the Vehicle in General Information.

  3. Object Number: 166185  Size: SH
  4. Place an index mark (reference mark) (1) on the propeller shaft pinion flange.
  5. Place an index mark (reference mark) on the front differential pinion flange (3) of the transfer case to front differential propeller shaft (four-wheel drive models).
  6. Remove the four nuts and the four bolts from the front differential pinion flange (four-wheel drive models).
  7. Important: Removing the propeller shaft from the transfer case will result in fluid loss (four-wheel drive models).

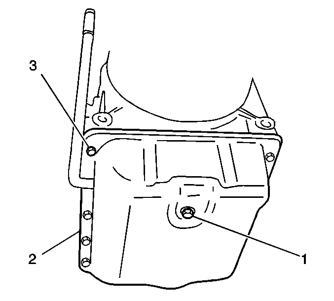
  8. Separate the pinion flange yoke from the front differential pinion flange (four-wheel drive models).
  9. Position and support the transfer case to the front differential propeller shaft away from the transmission fluid pan.

  10. Object Number: 166191  Size: SH
  11. Place a drain pan or suitable container under the transmission drain plug (1).
  12. Remove the drain plug in order to allow the transmission fluid pan (2) to drain.
  13. Remove the fourteen transmission fluid pan bolts from the transmission.
  14. Remove the transmission fluid pan from the transmission.
  15. Remove the gasket from the transmission.

  16. Object Number: 203313  Size: SH
  17. Remove the three fluid pipes in the following order 7, 4 and 8.
  18. Remove the electrical connector from the shift solenoid assembly.
  19. Remove the following items from the transmission body:
  20. • The two bolts
    • The brake applying cover
    • The brake applying cover gasket

    Object Number: 166637  Size: SH
  21. Remove the following components from the lower valve body:
  22. • The three bolts
    • The shift solenoid assembly (3)
    • The shift solenoid assembly gasket
    • For a complete schematic of the shift solenoid assembly system, refer to Automatic Transmission Controls Schematics .

Installation Procedure


    Object Number: 166637  Size: SH
  1. Install the new shift solenoid assembly gasket and the shift solenoid assembly (3) to the lower valve body.
  2. Notice: Use the correct fastener in the correct location. Replacement fasteners must be the correct part number for that application. Fasteners requiring replacement or fasteners requiring the use of thread locking compound or sealant are identified in the service procedure. Do not use paints, lubricants, or corrosion inhibitors on fasteners or fastener joint surfaces unless specified. These coatings affect fastener torque and joint clamping force and may damage the fastener. Use the correct tightening sequence and specifications when installing fasteners in order to avoid damage to parts and systems.

  3. Secure the shift solenoid assembly onto the lower valve body with the three bolts.
  4. Tighten
    Tighten the shift solenoid assembly bolts to 10 N·m (89 lb in).

  5. Install the electrical connector to the TCC solenoid.
  6. Install the new brake applying cover gasket to the transmission body.
  7. Install the brake applying cover onto the transmission body.
  8. Secure the brake applying cover with the two bolts.
  9. Tighten
    Tighten the brake applying cover bolts to 10 N·m (89 lb in).

  10. Apply a thin coat of automatic transmission fluid to the fluid pipe O-rings.

  11. Object Number: 203313  Size: SH
  12. Install the fluid pipes in the following order 8, 4 and then 7.
  13. Important: When installing the transmission pan, ensure that the filler tube connects properly.

  14. Install the new transmission fluid pan gasket to the transmission.
  15. Install the transmission fluid pan to the transmission.
  16. Secure the transmission fluid pan to the transmission with the fourteen bolts.
  17. Tighten
    Tighten the fluid pan bolts to 5 N·m (44 lb in).


    Object Number: 166191  Size: SH
  18. Install the transmission drain plug (1) into the transmission.
  19. Tighten
    Tighten the transmission drain plug to 16 N·m (12 lb ft).


    Object Number: 166185  Size: SH
  20. Align the index marks (1) made during the front propeller shaft removal (four-wheel drive models).
  21. Install the front propeller shaft into the vehicle (four-wheel drive models).
  22. Secure the front propeller shaft with four nuts and four bolts.
  23. Tighten
    Tighten the front propeller shaft nuts and bolts to 50 N·m (37 lb ft).

  24. Lower the vehicle.

  25. Object Number: 1557102  Size: SH
  26. Connect the negative battery cable.

  27. Object Number: 166041  Size: SH
  28. Refill the transmission as necessary using the following steps:
  29. 18.1. Place the vehicle on a level surface.
    18.2. Remove the fluid level indicator.
    18.3. Add approximately 1.5 liters (1.6 quarts) of Dexron®-III automatic transmission fluid GM P/N 12346143, or the equivalent, into the fluid filler tube.
    18.4. Install the fluid level indicator into the fluid filler tube.
    18.5. Apply the parking brake and block the vehicle wheels.
    18.6. Start the engine with the selector lever in the PARK position. DO NOT race the engine.
    18.7. Run the engine at idle and move the selector lever through each range and return it to the PARK position.
    18.8. With the engine running at idle, remove the fluid level indicator from the filler tube and wipe the indicator off.
    18.9. Reinsert the fluid level indicator into the filler tube making sure it is seated in its original position.
    18.10. Remove the indicator and check the fluid level. The level should be between the FULL HOT (2) and the LOW HOT (3) marks. Add fluid in order to bring the fluid level to the FULL HOT mark if the level is below the LOW HOT mark. Bringing the fluid level from the LOW HOT mark to the FULL HOT mark required 0.3 liters (0.3 quarts) of fluid. Use Dexron®-III automatic transmission fluid GM P/N 12346143, or the equivalent.
    18.11. Conduct a road test and check the transmission level. Refer to Transmission Fluid Check .