- Inspect the clutch alignment by inserting the J 37761
through
the clutch disc and into the crankshaft pilot bearing. If the J 37761
does not fit through the clutch disc and into the pilot bearing assembly smoothly, the clutch disc may be misaligned. For clutch disassembly
and inspection procedures, refer to
Clutch Assembly Replacement
in Clutch and align if necessary.
- Install the transmission to the engine by raising the transmission into position and moving the transmission toward the engine while simultaneously inserting the transmission input shaft through the pressure plate cover (1) and the clutch disc into
the crankshaft pilot bearing.
Notice: Use the correct fastener in the correct location. Replacement fasteners
must be the correct part number for that application. Fasteners requiring
replacement or fasteners requiring the use of thread locking compound or sealant
are identified in the service procedure. Do not use paints, lubricants, or
corrosion inhibitors on fasteners or fastener joint surfaces unless specified.
These coatings affect fastener torque and joint clamping force and may damage
the fastener. Use the correct tightening sequence and specifications when
installing fasteners in order to avoid damage to parts and systems.
- Install the two lower transmission-to-engine nuts into the transmission.
Tighten
Tighten the two lower transmission-to-engine nuts to 100 N·m (72 lb ft).
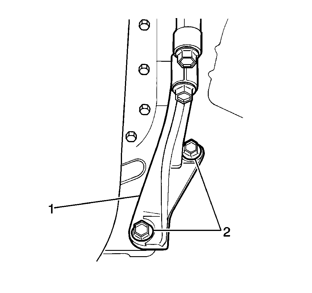
- Install the two bolts (2) into the right transmission-to-engine reinforcement brace
(1).
Tighten
Tighten the right transmission-to-engine brace bolts to 100 N·m (72 lb ft).
- Install the flywheel inspection cover and the two bolts (2) into the left transmission-to-engine
reinforcement brace (1).
Tighten
Tighten the left transmission-to-engine reinforcement brace bolts to 100 N·m (72 lb ft).
- Install the breather hose to the gearshift lever case and secure with one clamp.
- Raise the transmission slowly until the engine is no longer in contact with the wood block between the bulkhead (2) and the gear
distributor housing.
- Remove the wood block.
- Install the two bolts into the flywheel inspection cover.
Tighten
Tighten the flywheel inspection cover bolts to 10 N·m (89 lb in).
- Install the following items onto the clutch release shaft making sure to match the alignment marks on both and secure with one bolt and one nut:
| • | The clutch release lever. |
Tighten
Tighten the clutch release lever bolt and the nut to 24 N·m (17 lb ft).
- Install the rear transmission crossmember to the vehicle and secure with the four bolts (Two-Wheel Drive Models).
Tighten
Tighten the rear transmission crossmember bolts to 60 N·m (44 lb ft).
- Install the two bolts (2) into the rear transmission mount (1) (Two-Wheel Drive Models).
Tighten
Tighten the rear transmission crossmember bolts to 60 N·m (44 lb ft).
- Remove the hydraulic jack from underneath the transmission.
- Install the Three-Way Catalytic Converter (TWC) and the muffler/tail pipe assembly to the vehicle.
- Remove the speedometer driven gear case retaining bolt
(2).
Install the ground wire (1) to the speedometer driven gear case and secure with one bolt.
Tighten
Tighten the speedometer driven gear case retaining bolt to 12 N·m (106 lb in).
- Install the speedometer cable (3) from the speedometer driven gear case (Two-Wheel Drive Models)
- Install the front skid plate to the vehicle and secure with the four bolts (if equipped).
Tighten
Tighten the front skid plate bolts to 54 N·m (40 lb ft).
- Install the rear propeller shaft into the vehicle aligning the index marks made during removal and secure with the four nuts and the four bolts (Two-Wheel Drive Models).
Tighten
Tighten the rear propeller shaft nuts and bolts to 50 N·m (37 lb ft).
- Install the transfer case into the vehicle (Four-Wheel Drive Models). Refer to Transfer Case Replacement in Driveline/Axle.
- Install the starter motor to the transmission and secure with the two bolts and one nut.
Tighten
Tighten the starter motor bolts and nut to 30 N·m (22 lb ft).
- Install the starter motor electrical connections to the starter motor.
- Install the backup lamp switch electrical connector (1) to the backup lamp switch.
- Apply the GM P/N 12346004, or equivalent, to the threaded portion of the transmission
drain plug (3).
Install the transmission drain plug (3) into the transmission.
Tighten
Tighten the transmission drain plug to 28 N·m (20 lb ft).
- Add approximately 1.5 liters (1.6 quarts) of synthetic 75W-90 GL4
lubricant, or equivalent, into the transmission oil level/filler plug hole. The oil level should be even with the bottom of the transmission oil level/filler plug hole (Two-Wheel Drive Models).
- Apply the GM P/N 12346004, or equivalent, to the threaded portion of the transmission oil level/filler plug (2).
- Install the transmission oil level/filler plug (2) into the transmission.
Tighten
Tighten the transmission oil level/filler plug to 28 N·m (20 lb ft).
- Lower the vehicle.
- Install the two upper transmission-to-engine bolts into the transmission.
Tighten
Tighten the upper transmission-to-engine bolts to 100 N·m (72 lb ft).
- Install the four bolts from the fan shroud at the radiator.
Tighten
Tighten the fan shroud bolts to 10 N·m (89 lb in).
- Install the transfer case gearshift control lever into the transfer case (Four-Wheel Drive Models). Refer to
Gearshift Control Lever Replacement
.
- Install the one bolt (2) into the rear
of the gearshift lever case (Four-Wheel Drive Models).
Tighten
Tighten the gearshift lever case bolt to 17 N·m (12 lb ft).
- Install the gearshift control lever into the gearshift lever case. Refer to
Gearshift Control Lever Replacement
.
- Connect the negative battery cable.