GM Service Manual Online
For 1990-2009 cars only

Object Number: 167997  Size: SH

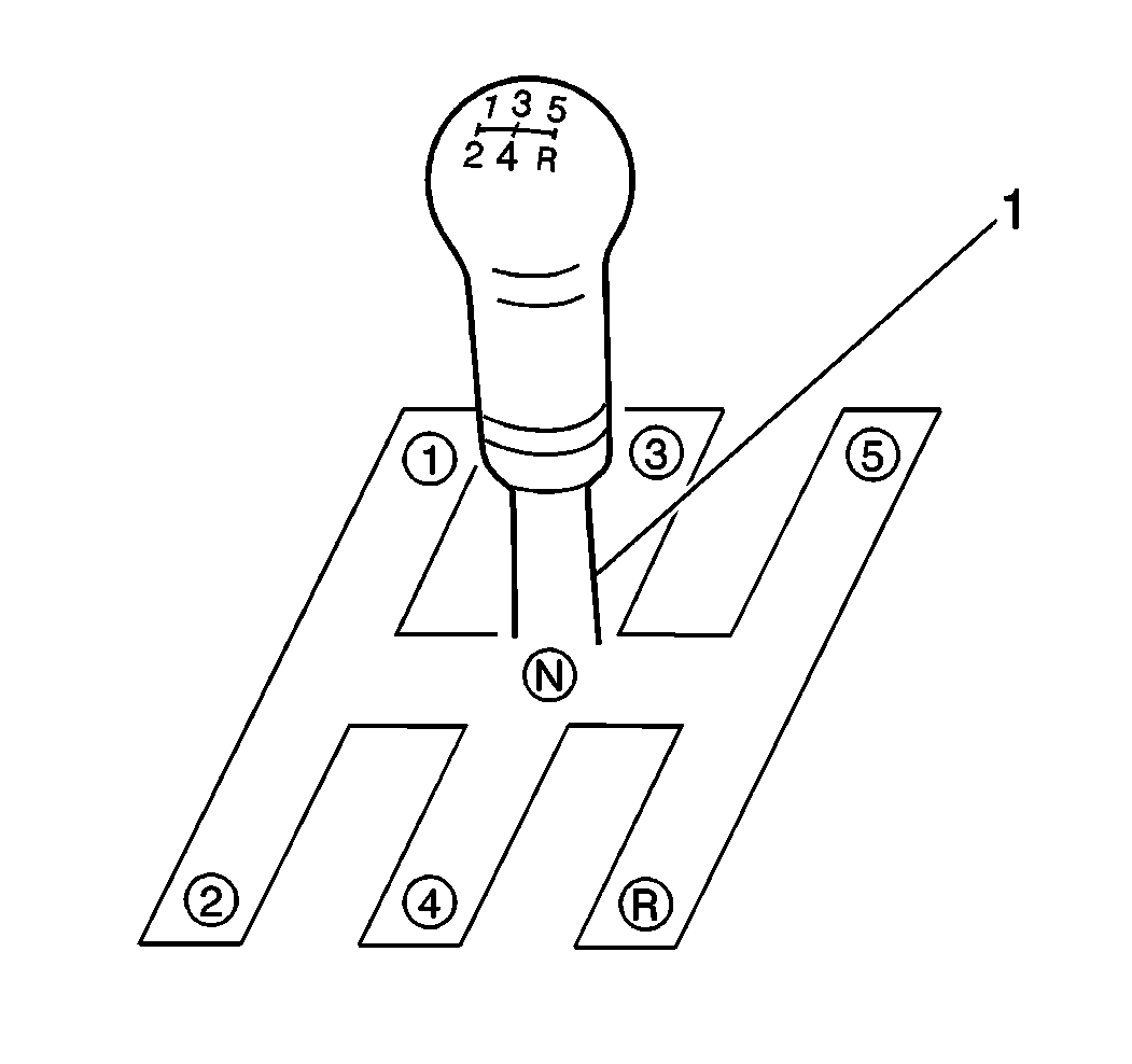
Gearshift control lever (1) pattern.


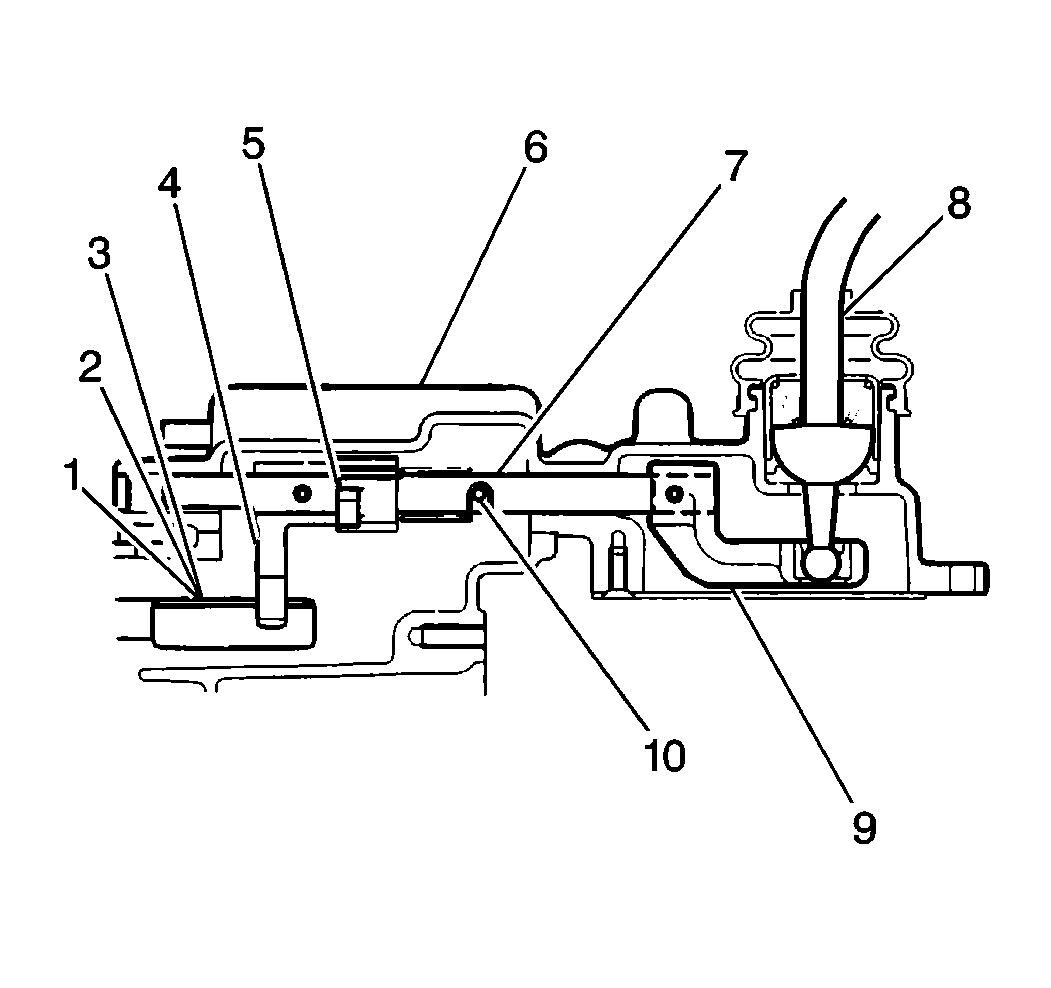
Object Number: 168064  Size: SH

Gear selection is transmitted from the gearshift control lever (8) into the gearshift lever case (6) located at the rear of the transmission. The gearshift lever case (6) contains a gearshift arm (9), a reverse gearshift limit yoke (5), and a gearshift lever (4). These three components are attached to the gearshift shaft (7). The gearshift control lever (8) is fitted into the gearshift arm (9). When the gearshift control lever (8) is moved, the gearshift arm (9), the gearshift shaft (7) and the gearshift lever (4) are moved forward, backward, left or right, depending upon the gear selected.

Moving the gearshift control lever (8) from side to side will engage the gearshift lever (4) with either the low speed gearshift shaft (1), the high speed gearshift shaft (2) or the reverse gearshift shaft (3), depending upon the gearshift control lever position. When the gearshift control lever (8) is moved either forward or backward, the gearshift arm (9) causes the gearshift lever (4) to push or pull the selected gearshift shaft. On the end of each gearshift shaft is a gearshift fork which rides on a synchronizer sleeve. During a gearshift, the gearshift fork moves the synchronizer sleeve forward or backward, engaging or disengaging the gear selection.