GM Service Manual Online
For 1990-2009 cars only

Removal Procedure


    Object Number: 1557102  Size: SH

    Caution: Unless directed otherwise, the ignition and start switch must be in the OFF or LOCK position, and all electrical loads must be OFF before servicing any electrical component. Disconnect the negative battery cable to prevent an electrical spark should a tool or equipment come in contact with an exposed electrical terminal. Failure to follow these precautions may result in personal injury and/or damage to the vehicle or its components.

  1. Disconnect the negative battery cable.

  2. Object Number: 192585  Size: SH
  3. Remove the following from the floor:
  4. • The two screws
    • The two plastic retaining clips
    • The console box

    Object Number: 166130  Size: SH
  5. Remove the following components from the steering column:
  6. 3.1. The six screws
    3.2. The steering column upper cover
    3.3. The steering column lower cover
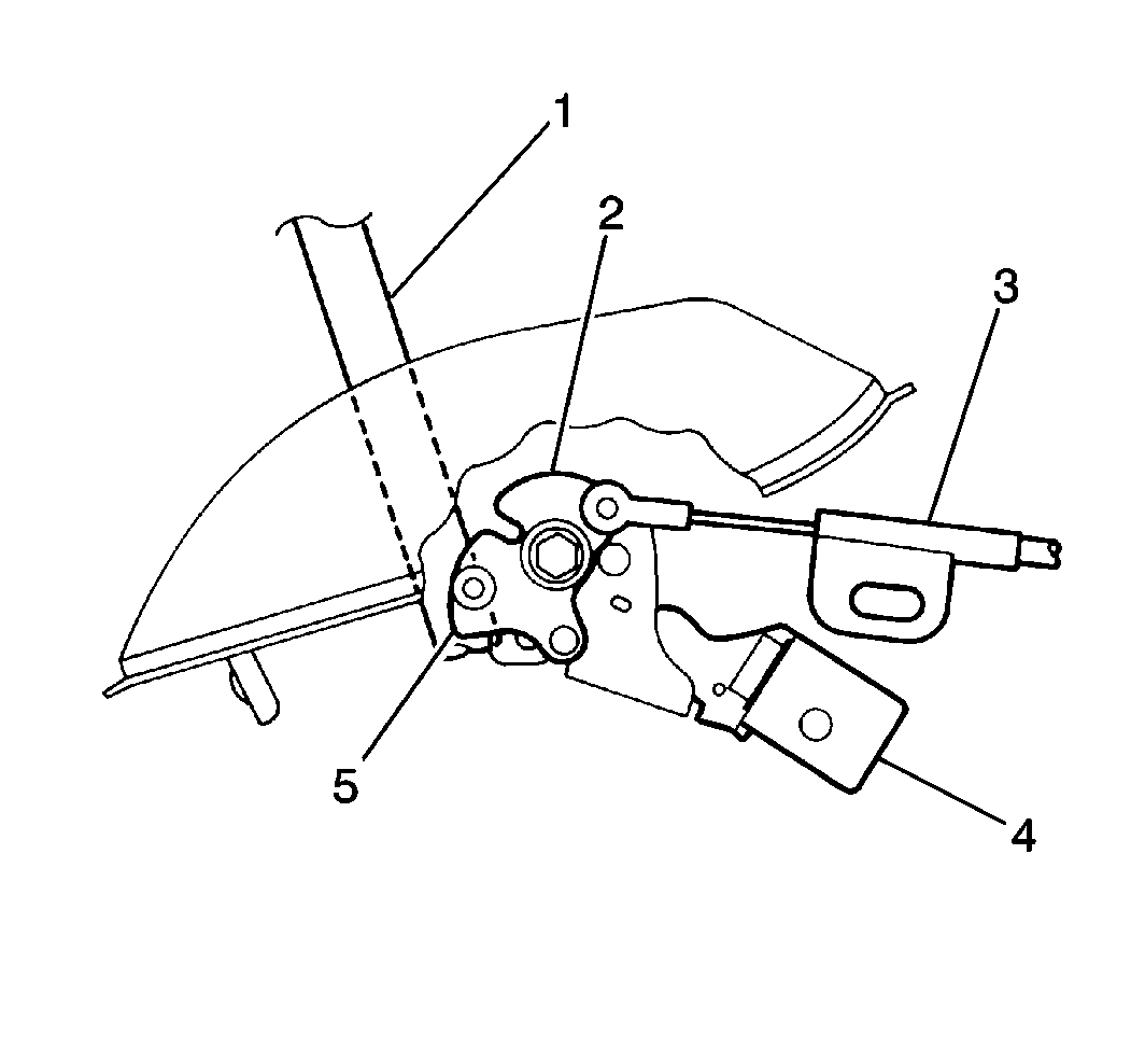
  7. Remove the C-clip (2) from the ignition switch (1).
  8. Remove the bracket retaining screw (3) from the ignition switch (1).
  9. Remove the interlock cable (4) from the ignition switch (1).
  10. Remove the interlock cable (4) out from under the instrument panel.

  11. Object Number: 166140  Size: SH
  12. Remove the interlock cable nut.
  13. Remove the interlock cable end from the key release plate (5) at the manual selector.

  14. Object Number: 166135  Size: SH
  15. Remove the interlock cable (1) from the interlock cable bracket at the manual selector.
  16. Remove the interlock cable from under the carpet.
  17. Inspect the interlock cable for fraying or kinks. Replace the cable as necessary.

Installation Procedure


    Object Number: 166130  Size: SH
  1. Route the interlock cable (4) under the carpet to the manual selector and under the instrument panel to the ignition switch (1).
  2. Place the manual selector lever in the NEUTRAL position.
  3. Turn the ignition switch to ACC.
  4. Install the interlock cable end to the ignition switch (1).
  5. Secure the interlock cable end with the bracket retaining screw (3) and the C-clip (2).

  6. Object Number: 166140  Size: SH
  7. Install the steering column upper cover and the steering column lower cover to the steering column.
  8. Secure the covers to the steering column with six screws.
  9. Install the interlock cable end (3) to the key release plate (5).
  10. Notice: Use the correct fastener in the correct location. Replacement fasteners must be the correct part number for that application. Fasteners requiring replacement or fasteners requiring the use of thread locking compound or sealant are identified in the service procedure. Do not use paints, lubricants, or corrosion inhibitors on fasteners or fastener joint surfaces unless specified. These coatings affect fastener torque and joint clamping force and may damage the fastener. Use the correct tightening sequence and specifications when installing fasteners in order to avoid damage to parts and systems.

    Important: After tightening the interlock cable nut, make sure that the ignition switch can be turned from ACC to LOCK and the key can be removed from the ignition with the manual selector lever shifted to the PARK position. Verify also that with the manual selector lever in any position other than PARK, the ignition switch CANNOT be turned from ACC to LOCK.

  11. Secure the key release plate to the manual selector with the interlock cable nut. Do not fully tighten the interlock cable nut.
  12. Tighten
    Tighten the interlock cable nut to 13 N·m (115 lb ft).


    Object Number: 166135  Size: SH
  13. Rotate the key release plate (4) and insert a small screwdriver through the key release plate in order to hold the key release plate in position.
  14. Allow the retaining spring (3) to position the interlock cable bracket.

  15. Object Number: 192585  Size: SH
  16. Install the console box to the floor.
  17. Secure the console box with two plastic retaining clips and two screws.

  18. Object Number: 1557102  Size: SH
  19. Connect the negative battery cable.