GM Service Manual Online
For 1990-2009 cars only

SMU-SECITON -5E1-ANTILOCK BRAKE SYSTEM NEW PROCEDURE

SUBJECT: SERVICE MANUAL UPDATE - SECTION 5E-1 - ANTILOCK BRAKE SYSTEM - NEW PROCEDURE TO REPLACE RELUCTOR RING

MODELS: 1996-97 GEO TRACKER

THIS BULLETIN IS BEING ISSUED TO ADD THE RELUCTOR RING REPLACEMENT PROCEDURE TO SECTION 5E-1 OF THE SERVICE MANUAL.

FRONT WHEEL SPEED SENSOR RELUCTOR RING

REMOVE

FIGURE 1

1. REMOVE THE WHEEL HUB WITH RELUCTOR RING. REFER TO WHEEL HUB AND BEARING REPLACEMENT IN FRONT SUSPENSION SECTION OF THE SERVICE MANUAL.

2. REMOVE THE RELUCTOR RING FROM THE WHEEL HUB.

NOTICE:

REMOVE THE RELUCTOR RING FROM THE WHEEL HUB GRADUALLY AND EVENLY. ATTEMPTING TO REMOVE THE RELUCTOR RING UNEVENLY MAY DAMAGE THE PART.

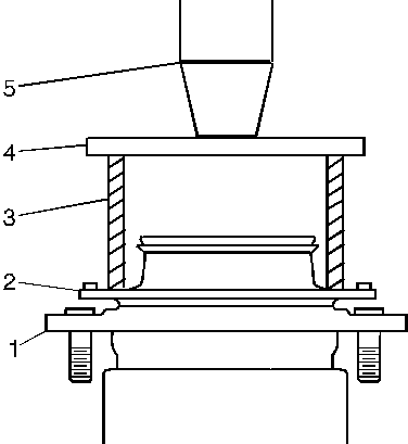
INSTALL

FIGURE 2

1. INSTALL THE RELUCTOR RING ONTO THE WHEEL HUB.

2. USE A PIPE TO PRESS THE RELUCTOR RING ONTO THE WHEEL HUB EVENLY.

IMPORTANT:

CONTACT SURFACE OF THE PIPE SHOULD BE CLEAN AND FLAT. THE PIPE SHOULD HAVE AN INSIDE DIAMETER OF 98 - 104 MM (3.86 - 4.09 IN). THE PIPE SHOULD NOT CONTACT THE TEETH OF THE RELUCTOR RING.

3. INSTALL THE WHEEL HUB WITH RELUCTOR RING. REFER TO WHEEL HUB AND BEARING REPLACEMENT IN FRONT SUSPENSION SECTION OF THE SERVICE MANUAL.

FIGURES: 02 ATTACHMENTS: 00

FIGURE 1 1. SCREWDRIVER 2. RELUCTOR RING 3. VISE 4. WHEEL HUB

FIGURE 2 1. WHEEL HUB 2. RELUCTOR RING 3. PIPE 4. STEEL PLATE 5. HYDRAULIC PRESS


Object Number: 169547  Size: SH


Object Number: 169548  Size: SH

GENERAL MOTORS BULLETINS ARE INTENDED FOR USE BY PROFESSIONAL TECHNICIANS, NOT A "DO-IT-YOURSELFER". THEY ARE WRITTEN TO INFORM THOSE TECHNICIANS OF CONDITIONS THAT MAY OCCUR ON SOME VEHICLES, OR TO PROVIDE INFORMATION THAT COULD ASSIST IN THE PROPER SERVICE OF A VEHICLE. PROPERLY TRAINED TECHNICIANS HAVE THE EQUIPMENT, TOOLS, SAFETY INSTRUCTIONS AND KNOW-HOW TO DO A JOB PROPERLY AND SAFELY. IF A CONDITION IS DESCRIBED, DO NOT ASSUME THAT THE BULLETIN APPLIES TO YOUR VEHICLE, OR THAT YOUR VEHICLE WILL HAVE THAT CONDITION. SEE A GENERAL MOTORS DEALER SERVICING YOUR BRAND OF GENERAL MOTORS VEHICLE FOR INFORMATION ON WHETHER YOUR VEHICLE MAY BENEFIT FROM THE INFORMATION.

COPYRIGHT 1997 GENERAL MOTORS CORPORATION. ALL RIGHTS RESERVED.