GM Service Manual Online
For 1990-2009 cars only
Figure 1:

Fuse Block-Underhood-Stud #1 and Stud #2


Object Number: 819806  Size: LF
(1)Stud #2-Trailer Connector Power Feed
(2)Stud #1
(3)Fuse Block-Underhood
(4)IP Harness
(5)C102
Figure 2:

Accessory Power Outlets-IP


Object Number: 819933  Size: MF
(1)Cigar Lighter
(2)Accessory Power Outlet
(3)Accessory Power Outlet
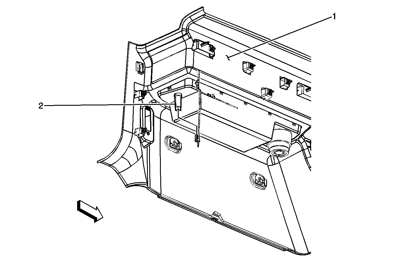
Figure 3:

Accessory Power Outlets-Rear Console


Object Number: 828480  Size: MF
(1)RSA Controller
(2)Heated Seat Switch-RR
(3)Accessory Power Outlet-RR
(4)Accessory Power Outlet-LR
(5)Heated Seat Switch-LR
Figure 4:

Accessory Power Outlet-Rear


Object Number: 825890  Size: MF
(1)Rear Cargo Storage Bin
(2)Accessory Power Outlet-RR
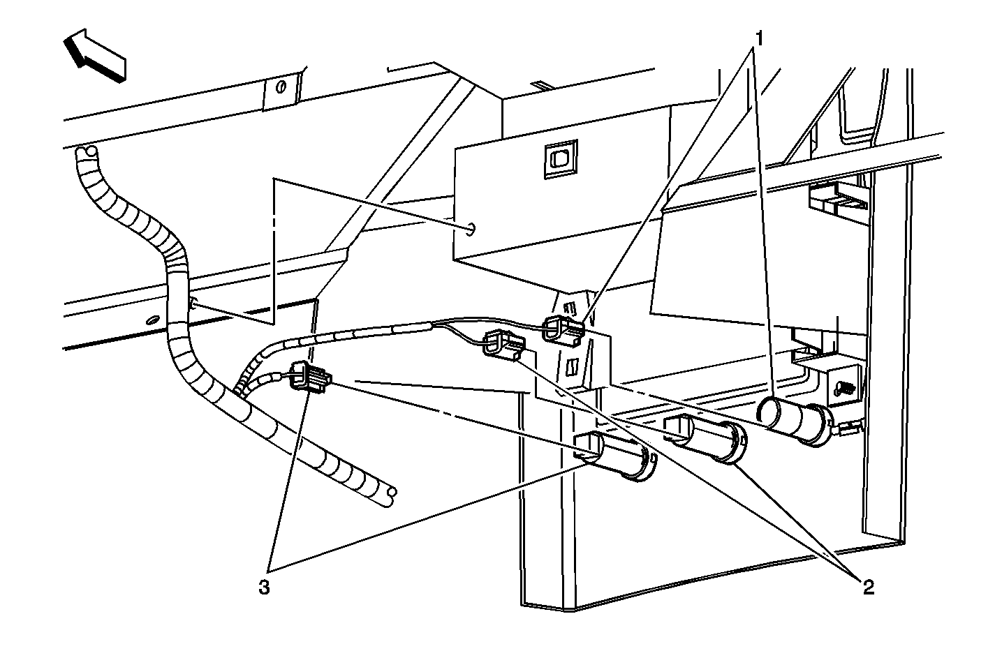
Figure 5:

Electronically Controlled Air Suspension Relay and G300


Object Number: 828177  Size: MF
(1)S304
(2)G300
(3)Chassis Harness
(4)Electronically Controlled Air Suspension Relay
Figure 6:

Steering Wheel Controls Backlight Fuse


Object Number: 857908  Size: LF
(1)Steering Column
(2)Transfer Case Shift Control Module
(3)Splice Pack SP206
(4)Steering Wheel Controls Backlight Fuse
Figure 7:

G100


Object Number: 825388  Size: MF
(1)Negative Battery Cable
(2)Left Front Frame Rail
(3)G100-Negative Battery cable
(4)G100-Forward Lamp Harness
(5)Forward Lamp Harness
Figure 8:

G103 and G104


Object Number: 825336  Size: MF
(1)Engine Harness
(2)G103-Engine Harness Ground
(3)G104
(4)Camshaft Position (CMP) Sensor Connector
(5)Engine Oil Pressure (EOP) Sensor Connector
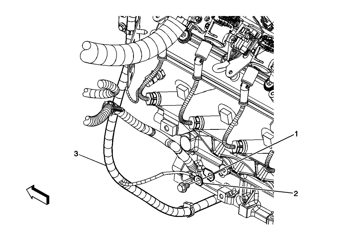
Figure 9:

G102


Object Number: 825321  Size: MF
(1)G102-Negative Battery Cable
(2)G102-Engine Harness Ground
(3)Engine Harness
Figure 10:

G106


Object Number: 825386  Size: MF
(1)G106
(2)Dash Panel
(3)Engine Ground Strap
Figure 11:

G200


Object Number: 820070  Size: LF
(1)C200-I/P Harness Side
(2)C201-I/P Harness Side
(3)G200
(4)I/P Harness
Figure 12:

G203


Object Number: 825302  Size: MF
(1)Cowl Panel Insulator
(2)G203
(3)HVAC Harness
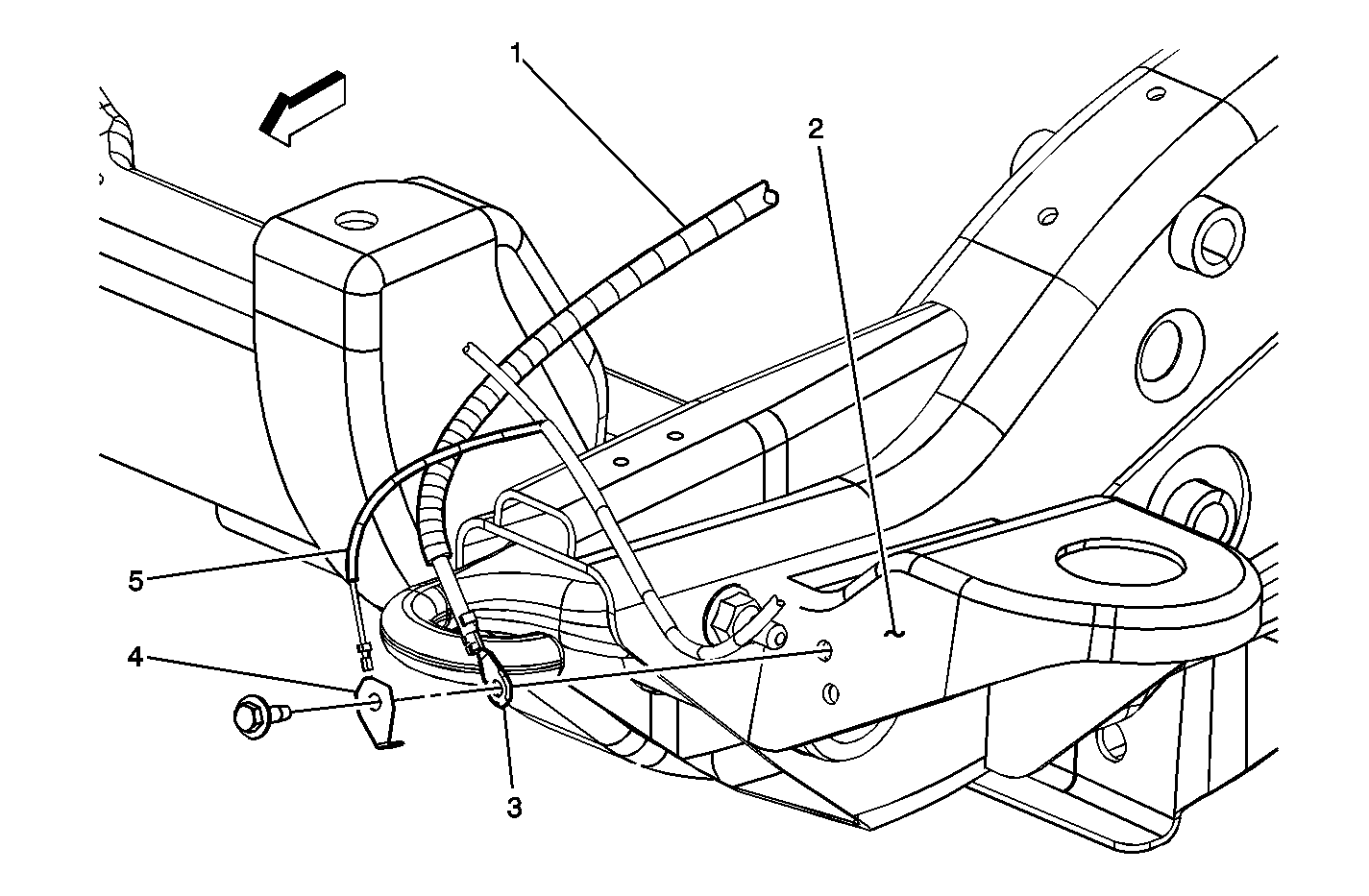
Figure 13:

G300


Object Number: 825346  Size: MF
(1)Chassis Harness
(2)G300
(3)Left Frame Body Mount
Figure 14:

G302


Object Number: 825282  Size: MF
(1)B Pillar
(2)Body Harness
(3)G302
Figure 15:

G304


Object Number: 828959  Size: MF
(1)G304
(2)Body Harness
(3)Inflatible Restraint and Diagnostic Module (SDM) Connector
Figure 16:

G306


Object Number: 825292  Size: MF
(1)B Pillar
(2)Body Harness
(3)G306
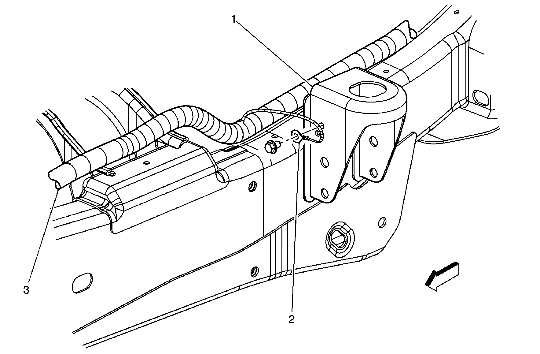
Figure 17:

G308


Object Number: 825382  Size: MF
(1)G308
(2)Body Mount-RH
(3)Chassis Harness
Figure 18:

G310


Object Number: 825379  Size: MF
(1)Body Mount-LH
(2)G310
(3)Chassis Harness
Figure 19:

G401


Object Number: 825380  Size: MF
(1)G401
(2)Body Mount-LH
(3)Fuel Tank Filler Ground
(4)Chassis Harness
Figure 20:

G405


Object Number: 825384  Size: MF
(1)Chassis Harness
(2)G405
(3)Body Mount-RH
(4)Air Suspension Inflator Switch Connector
Figure 21:

G410 and SP410


Object Number: 825429  Size: LF
(1)Inner Side Panel-RH
(2)G410
(3)SP410
Figure 22:

Trailer Receptacle


Object Number: 828318  Size: MF
(1)Trailer Receptacle
(2)Rear Bumper Fascia