GM Service Manual Online
For 1990-2009 cars only

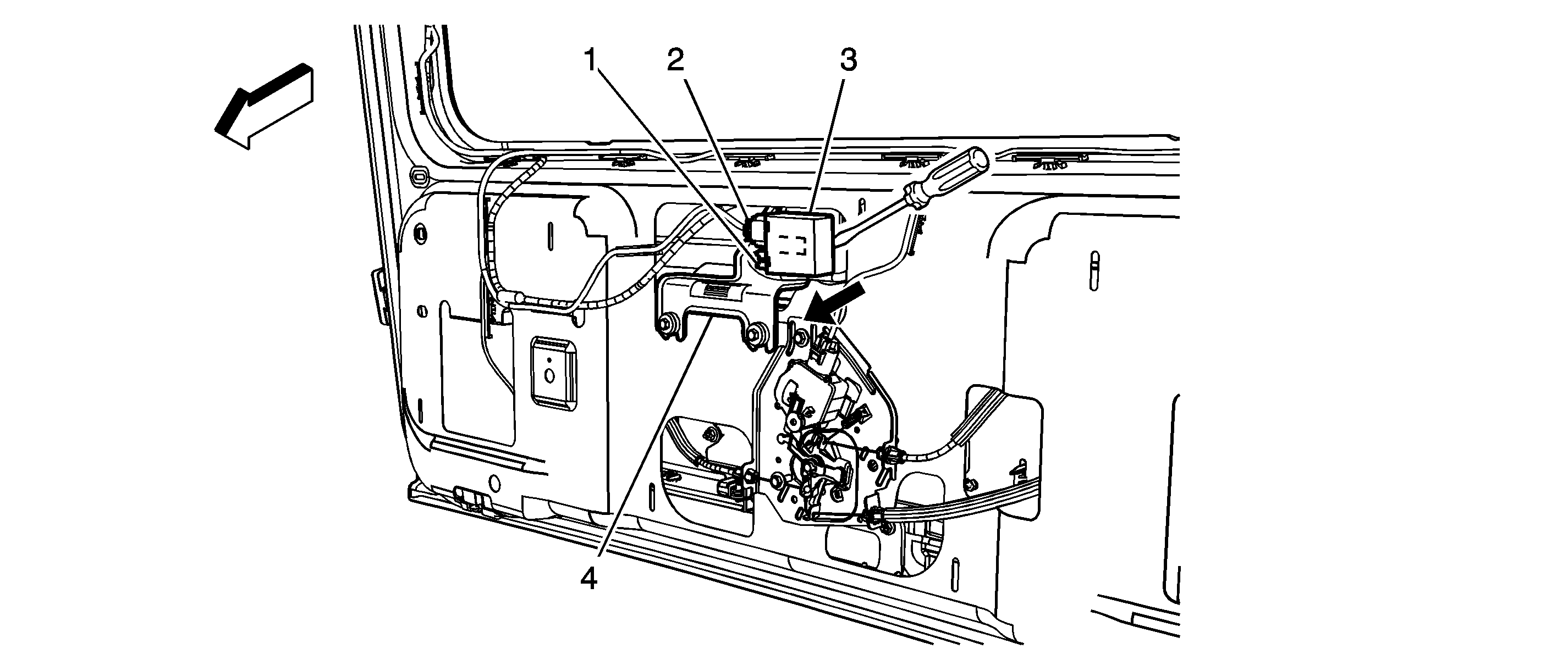
Object Number: 1736959  Size: SF

Callout

Component Name

Fastener Tightening Specifications: Refer to Fastener Tightening Specifications.

Preliminary Procedure

Remove the rear liftgate trim panel. Refer to Liftgate Trim Panel Replacement.

1

Wiper Motor Electrical Connector

2

Main Liftgate Harness Electrical Connector

3

Rear Window Wiper Control Module

Tip
Using a flat-bladed tool, insert the tool behind the control module and release the locking tab in order to slide and remove the wiper control module from the wiper motor bracket.

4

Rear Window Wiper Motor Bracket