GM Service Manual Online
For 1990-2009 cars only
Figure 1:

Rear Window Wiper Motor


Object Number: 827705  Size: LF
(1)Center High Mounted Stop Lamp (CHMSL) Connector
(2)Rear Window Defogger Grid Connector
(3)Rear Window Defogger Grid Connector
(4)Splice S900
(5)Rear Window Wiper Module - w/Motor
(6)Door Lock Actuator-Liftgate
(7)Liftgate Ajar Switch-Left
(8)Liftgate Ajar Switch-Right
(9)Splice S902
(10)Splice S901
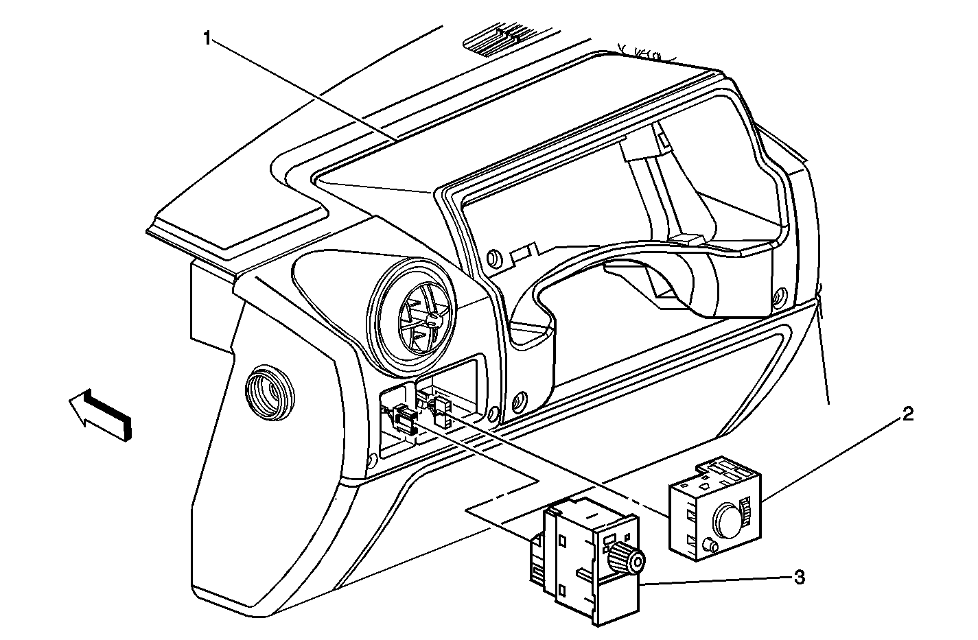
Figure 2:

Rear Wiper/Washer Switch


Object Number: 819766  Size: MF
(1)Instrument Panel
(2)Headlamp and Panel Dimmer Switch
(3)Rear Wiper/Washer Switch
Figure 3:

Windshield Wiper/Washer Module and Windshield Wiper Motor


Object Number: 819775  Size: MF
(1)Windshield Wiper/Washer Module
(2)Windshield Wiper Motor
(3)I/P Harness Passthrough Grommet
(4)Throttle Actuator Control (TAC) Module
(5)I/P Harness
Figure 4:

Windshield Washer Fluid Pump and Washer Fluid Level Sensor


Object Number: 826349  Size: LF
(1)Windshield Washer Fluid Container
(2)Washer Fluid Level Sensor
(3)Windshield Washer Fluid Pump-Reversible