GM Service Manual Online
For 1990-2009 cars only

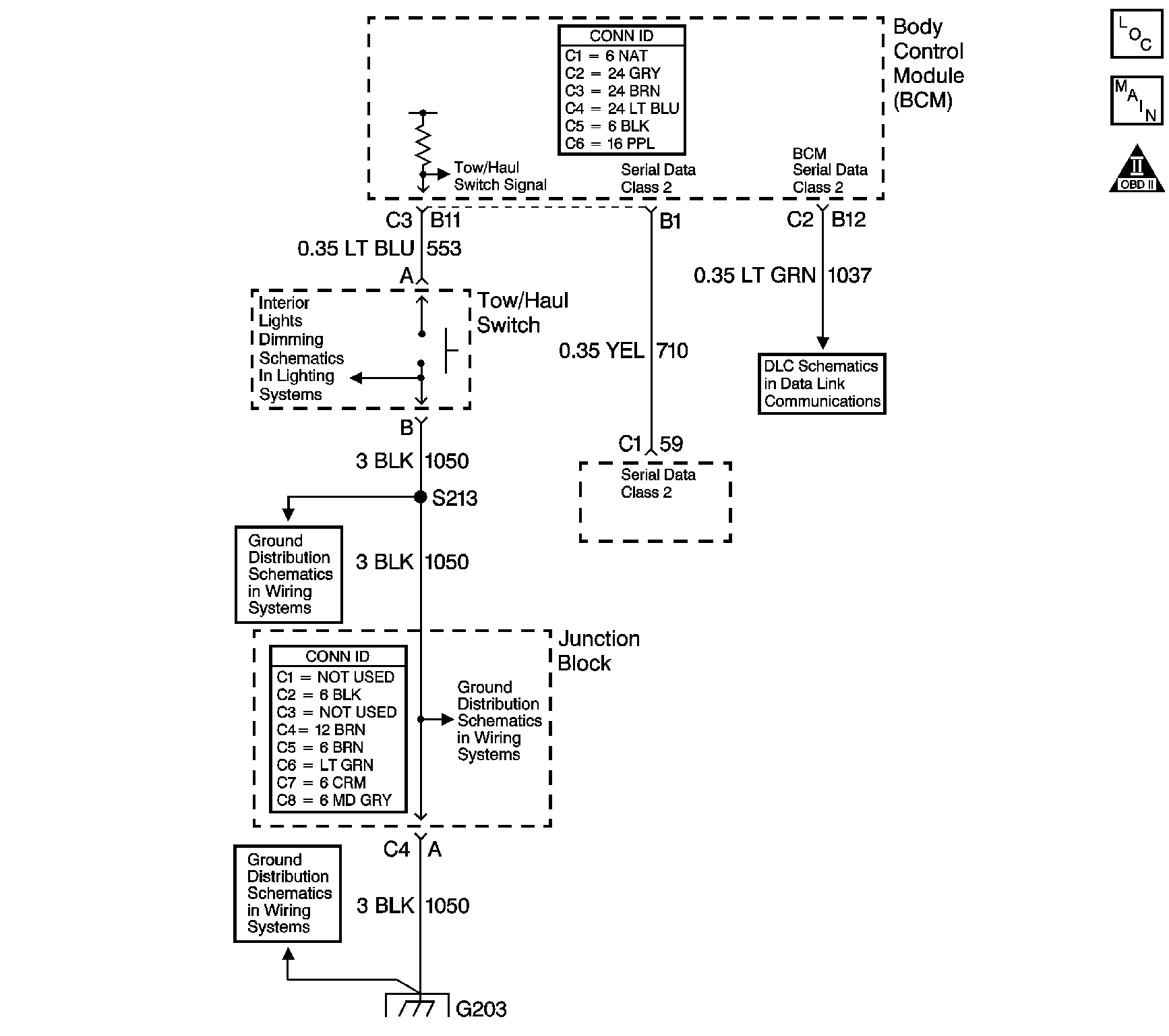
Object Number: 885570  Size: LF
Master Electrical Component List
Automatic Transmission Controls Schematics
OBD II Symbol Description Notice

Circuit Description

Tow/haul mode enables the operator to achieve enhanced shift performance when towing or hauling a load. When tow/haul mode is selected, the tow/haul switch input signal to the body control module (BCM) is momentarily toggled to zero volts. This signals the powertrain control module (PCM) to extend the length of time between upshifts and increase transmission line pressure. Cycling the tow/haul switch again disables tow/haul mode and returns the transmission to a normal shift pattern.

Diagnostic Aids

If the electrical circuit tests are OK and the tow/haul shift pattern is not occurring, there may be a mechanical/hydraulic condition that prevents tow/haul operation. Refer to Symptoms - Automatic Transmission .

Test Description

The numbers below refer to the step numbers on the diagnostic table.

  1. This step tests for a faulty tow/haul switch.

  2. This step tests for voltage input from the BCM to the tow/haul switch.

  3. This step tests for voltage through the body wiring harness junction block.

  4. This step tests for ground integrity at the splice pack.

Tow/Haul Switch/Indicator Always On or Inoperative

Step

Action

Value(s)

Yes

No

1

  1. Install a scan tool.
  2. Turn ON the ignition, with the engine OFF.
  3. Cycle the tow/haul switch while observing Tow/Haul Mode on the scan tool.

Does the scan tool display Active when the switch is first pressed, and then Inactive when the switch is pressed again?

--

Go to Intermittent Conditions in Engine Controls - 6.0L (LQ4)

Go to Step 2

2

  1. Disconnect the I/P wiring harness connector (C201B) from the tow/haul switch.
  2. Install a fused jumper wire from terminal B5 to terminal B2 of the I/P wiring harness connector (C201B).

Does the scan tool Tow/Haul Mode indicate a status change?

--

Go to Step 13

Go to Step 3

3

Using the DMM and the J 35616 GM Terminal Test Kit, measure the voltage at terminal B5 of the I/P wiring harness connector, (C201B).

Is ignition voltage measured?

--

Go to Step 5

Go to Step 4

4

Using the DMM and the J 35616 , measure the voltage at terminal C1-B12 of the body control module (BCM).

Is ignition voltage measured?

--

Go to Step 8

Go to Step 14

5

  1. Install a fused jumper wire from terminal B5 to terminal B2 of the I/P wiring harness connector (C201B).
  2. Using the DMM and the J 35616 , measure for voltage at terminal C2-C9 of the body wiring harness junction block.

Is ignition voltage measured?

--

Go to Step 6

Go to Step 9

6

Measure for voltage at terminal C1-F2 of the body wiring harness junction block.

Is ignition voltage measured?

--

Go to Step 7

Go to Step 12

7

Measure for voltage at terminal E of splice pack 203 (SP203).

Is ignition voltage measured?

--

Go to Step 11

Go to Step 10

8

Test the signal circuit (CKT 553) of the tow/haul switch for an open or shorted condition.

Refer to Circuit Testing and Wiring Repairs in Wiring Systems.

Did you find and correct the condition?

--

Go to Step 15

Go to Intermittent Conditions in Engine Controls - 6.0L (LQ4)

9

Test the ground circuit (CKT 1850) of the tow/haul switch for an open or shorted condition between terminal B2 of the I/P wiring harness connector (C201B) and terminal C2-C9 of the body wiring harness junction block.

Refer to Circuit Testing and Wiring Repairs in Wiring Systems.

Did you find and correct the condition?

--

Go to Step 15

Go to Intermittent Conditions in Engine Controls - 6.0L (LQ4)

10

Test the ground circuit (CKT 1850) of the tow/haul switch for an open or shorted condition between terminal C1-F2 of the body wiring harness junction block and terminal E of splice pack 203 (SP203).

Refer to Circuit Testing and Wiring Repairs in Wiring Systems.

Did you find and correct the condition?

--

Go to Step 15

Go to Intermittent Conditions in Engine Controls - 6.0L (LQ4)

11

Repair splice pack 203 (SP203).

Refer to Wiring Repairs in Wiring Systems.

Did you complete the repair?

--

Go to Step 15

--

12

Replace the body wiring harness junction block.

Refer to Fuse Block Replacement, Body Wiring Harness Junction Block, in Instrument Panel, Gages and Console.

Did you complete the replacement?

--

Go to Step 15

--

13

Replace the tow/haul switch.

Refer to Shift Lever Replacement - On Vehicle, with Tow/Haul Switch, or Shift Lever Replacement - On Vehicle, without Tow/Haul Switch, in Steering Wheel and Column.

Did you complete the replacement?

--

Go to Step 15

--

14

Test the BCM for proper operation.

Refer to Diagnostic Starting Point - Body Control System in Body Control System.

Did you find and correct the condition?

--

Go to Step 15

--

15

After the repair is complete, observe Tow/Haul Mode on the scan tool display, while cycling the tow/haul switch.

Does the scan tool display Active when the switch is first pressed, and then Inactive when the switch is pressed again?

--

System OK

Go to Step 1