GM Service Manual Online
For 1990-2009 cars only
Figure 1:

Driver Door Module (DDM) Connector Locations


Object Number: 851137  Size: MF
(1)DDM
(2)DDM - C1 (Black)
(3)DDM - C2 (Black)
(4)Mirror Harness Connector - C3 (Blue)
(5)Memory/Heated Seat Switch Connector - C5 (Green)
(6)Mirror Harness Connector - C4 (Black)
Figure 2:

Front Passenger Door Module (FPDM) Connector Locations


Object Number: 851144  Size: MF
(1)FPDM
(2)Mirror Harness Connector - C4 (Black)
(3)Memory/Heated Seat Switch Connector - C5 (Green)
(4)Mirror Harness Connector - C3 (Blue)
(5)FPDM - C2 (Black)
(6)FPDM - C1 (Black)
Figure 3:

Door Latch Assembly-Driver


Object Number: 827507  Size: MF
(1)Door Latch Assembly-Driver
(2)Front Side Door Inner Panel
(3)Door Latch Assembly-Driver Connector
Figure 4:

Driver Door Module (DDM)


Object Number: 828894  Size: MF
(1)DDM
(2)DDM-C2
(3)DDM-C1
(4)Driver Door Harness
Figure 5:

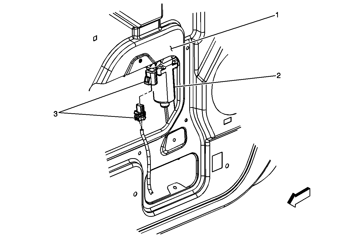
Door Lock Actuator - Liftgate


Object Number: 827705  Size: LF
(1)Center High Mounted Stop Lamp (CHMSL) Connector
(2)Rear Window Defogger Grid Connector
(3)Rear Window Defogger Grid Connector
(4)Splice S900
(5)Rear Window Wiper Module - w/Motor
(6)Door Lock Actuator - Liftgate
(7)Liftgate Ajar Switch - Left
(8)Liftgate Ajar Switch - Right
(9)Splice S902
(10)Splice S901
Figure 6:

Left Rear Door Component Views (RT Rear Door Similar)


Object Number: 827737  Size: LF
(1)Door Window Motor - LR
(2)Door Window Motor Connector - LR
(3)Door Harness Pass-Through Grommet
(4)Door Window Switch - LR
(5)Door Window Switch Connector - LR
(6)Door Latch Assembly - LR
(7)Speaker - LR Door
Figure 7:

Door Lock Switch-Rear Cargo Area


Object Number: 825882  Size: MF
(1)Door Lock Switch Connector - Rear
(2)Door Lock Switch - Rear
(3)Rear Storage Bin
Figure 8:

Front Passenger Door Module (FPDM)


Object Number: 850801  Size: MF
(1)Front Passenger Door Module (FPDM)
(2)FPDM-C2
(3)Passenger Inner Side Door Panel
(4)FPDM-C1
Figure 9:

Window Motor-Front Passenger


Object Number: 827353  Size: MF
(1)Inner Side Panel
(2)Window Motor-Front Passenger
(3)Window Motor Connector