| |||||||
|---|---|---|---|---|---|---|---|
Connector Part Information |
| ||||||
Pin | Wire Color | Circuit No. | Function | ||||
1 | -- | -- | Not Used | ||||
2 | TAN | 294 | Door Lock Actuator Unlock Control | ||||
3 | GRY | 295 | Door Lock Actuator Lock Control | ||||
4-5 | -- | -- | Not Used | ||||
6 | GRY/BLK | 745 | Left Front Door Ajar Switch Signal | ||||
7 | -- | -- | Not Used | ||||
8 | BRN | 1183 | Left Front Door Switch Low Reference | ||||
9 | LT GRN | 262 | Driver Door Key Switch Signal | ||||
10 | -- | -- | Not Used | ||||
| |||||||
|---|---|---|---|---|---|---|---|
Connector Part Information |
| ||||||
Pin | Wire Color | Circuit No. | Function | ||||
1 | BLK/WHT | 746 | Right Front Door Ajar Switch Signal | ||||
2 | -- | -- | Not Used | ||||
3 | DK GRN | 1178 | Right Front Door Switch Low Reference | ||||
4 | LT GRN | 265 | Passenger Door Key Switch Signal | ||||
5-6 | -- | -- | Not Used | ||||
7 | TAN | 294 | Door Lock Actuator Unlock Control | ||||
8 | GRY | 295 | Door Lock Actuator Lock Control | ||||
9-10 | -- | -- | Not Used | ||||
| |||||||
|---|---|---|---|---|---|---|---|
Connector Part Information |
| ||||||
Pin | Wire Color | Circuit No. | Function | ||||
1 | -- | -- | Not Used | ||||
2 | TAN | 294 | Door Lock Actuator Unlock Control | ||||
3 | GRY | 295 | Door Lock Actuator Lock Control | ||||
4 | LT BLU/BLK | 747 | Left Rear Door Ajar Switch Signal | ||||
5 | -- | -- | Not Used | ||||
6 | BLK | 1150 | Ground | ||||
| |||||||
|---|---|---|---|---|---|---|---|
Connector Part Information |
| ||||||
Pin | Wire Color | Circuit No. | Function | ||||
1 | LT GRN/BLK | 748 | Right Rear Door Ajar Switch Signal | ||||
2 | -- | -- | Not Used | ||||
3 | BLK | 1250 | Ground | ||||
4 | -- | -- | Not Used | ||||
5 | TAN | 294 | Door Lock Actuator Unlock Control | ||||
6 | GRY | 295 | Door Lock Actuator Lock Control | ||||
| |||||||
|---|---|---|---|---|---|---|---|
Connector Part Information |
| ||||||
Pin | Wire Color | Circuit No. | Function | ||||
A | TAN | 294 | Door Lock Actuator Unlock Control | ||||
B | GRY | 295 | Door Lock Actuator Lock Control | ||||
| |||||||
|---|---|---|---|---|---|---|---|
Connector Part Information |
| ||||||
Pin | Wire Color | Circuit No. | Function | ||||
A | -- | -- | Not Used | ||||
B | BLK | 2351 | Ground | ||||
C | -- | -- | Not Used | ||||
D | LT BLU | 195 | Rear Door Lock Switch Signal | ||||
E-G | -- | -- | Not Used | ||||
H | WHT | 194 | Rear Door Unlock Switch Signal | ||||
| |||||||
|---|---|---|---|---|---|---|---|
Connector Part Information |
| ||||||
Pin | Wire Color | Circuit No. | Function | ||||
1 | BRN | 165 | Power Window Motor Left Front Down Control | ||||
2 | ORN | 1240 | Battery Positive Voltage | ||||
3 | DK BLU | 164 | Power Window Motor Left Front Up Control | ||||
4 | BLK | 1050 | Ground | ||||
| |||||||
|---|---|---|---|---|---|---|---|
Connector Part Information |
| ||||||
Pin | Wire Color | Circuit No. | Function | ||||
1-2 | -- | -- | Not Used | ||||
3 | BRN | 1183 | Left Front Door Switch Low Reference | ||||
4 | DK BLU | 660 | Left Front Door Courtesy Lamp Control | ||||
5-9 | -- | -- | Not Used | ||||
10 | GRY | 1690 | Automatic Day/Night Mirror Signal | ||||
11 | -- | -- | Not Used | ||||
12 | PNK | 1691 | Automatic Day/Night Mirror Low Reference | ||||
13 | DK BLU/WHT | 149 | Courtesy Lamp-Left Front Door Supply Voltage | ||||
14 | ORN | 4140 | Battery Positive Voltage | ||||
15 | LT GRN | 262 | Driver Door Key Switch Signal | ||||
16-17 | -- | -- | Not Used | ||||
18 | GRY/BLK | 745 | Left Front Door Ajar Switch Signal | ||||
19 | -- | -- | Not Used | ||||
20 | TAN | 294 | Door Lock Actuator Unlock Control | ||||
21 | GRY | 295 | Door Lock Actuator Lock Control | ||||
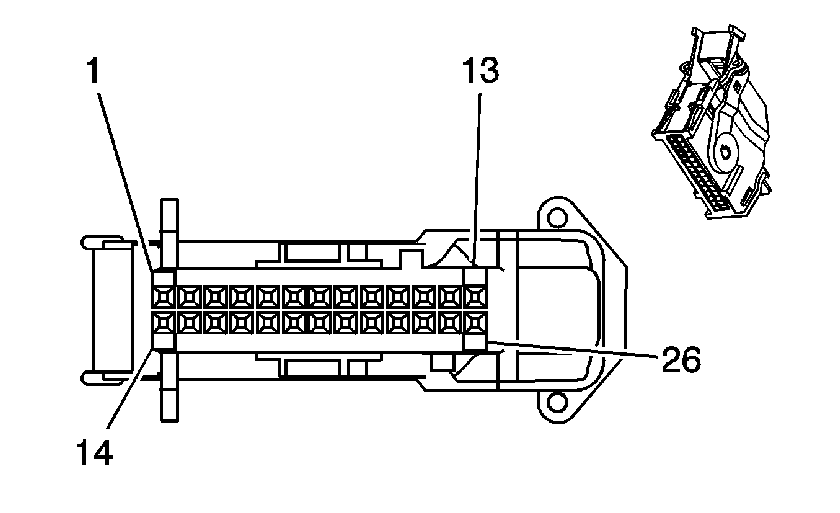
22 | BRN | 1046 | DDM Class 2 Serial Data | ||||
23-26 | -- | -- | Not Used | ||||
| |||||||
|---|---|---|---|---|---|---|---|
Connector Part Information |
| ||||||
Pin | Wire Color | Circuit No. | Function | ||||
1-2 | -- | -- | Not Used | ||||
3 | BLK | -- | Driver Mirror Heating Element Low Reference | ||||
4 | PPL | -- | Mirror Sensor Low Reference | ||||
5-6 | -- | -- | Not Used | ||||
7 | GRY | -- | Automatic Day/Night Mirror Signal | ||||
8 | PNK | -- | Automatic Day/Night Mirror Low Reference | ||||
9-10 | -- | -- | Not Used | ||||
| |||||||
|---|---|---|---|---|---|---|---|
Connector Part Information |
| ||||||
Pin | Wire Color | Circuit No. | Function | ||||
1 | YEL | -- | Driver Folding Mirror Motor Extend Control | ||||
2 | ORN | -- | Mirror Heating Element Supply Voltage | ||||
3 | RED | -- | Driver Mirror Horizontal Position Sensor Signal | ||||
4 | DK GRN | -- | 5 Volt Reference | ||||
5 | DK BLU | -- | Driver Mirror Vertical Position Sensor Signal | ||||
6 | LT BLU | -- | Driver Folding Mirror Motor Retract Control | ||||
7 | YEL | -- | Driver Mirror Right/Down Motors Common | ||||
8 | LT BLU | -- | Driver Mirror Motor Right Control | ||||
9 | LT GRN | -- | Driver Mirror Motor Down Control | ||||
10 | -- | -- | Not Used | ||||
| |||||||
|---|---|---|---|---|---|---|---|
Connector Part Information |
| ||||||
Pin | Wire Color | Circuit No. | Function | ||||
1 | WHT/BLK | -- | Medium Heat Indicator Control | ||||
2 | YEL | -- | Low Heat Indicator Control | ||||
3 | GRY | -- | Back Only Select | ||||
4 | LT BLU | -- | Memory/Heated Seat Switch Illumination | ||||
5 | PNK | -- | Memory 2 Switch Signal | ||||
6 | -- | -- | Not Used | ||||
7 | DK GRN | -- | High Heat Indicator Control | ||||
8 | BLK | -- | Back Only Indicator | ||||
9 | DK BLU | -- | Back and Cushion Select | ||||
10 | RED | -- | Memory 1 Switch Signal | ||||
11 | BRN | -- | Memory/Heated Switch Supply Voltage | ||||
12 | -- | -- | Not Used | ||||
| |||||||
|---|---|---|---|---|---|---|---|
Connector Part Information |
| ||||||
Pin | Wire Color | Circuit No. | Function | ||||
1 | BRN | 667 | Power Window Motor Right Front Down Control | ||||
2 | ORN | 1340 | Battery Positive Voltage | ||||
3 | BLK | 1050 | Ground | ||||
4 | DK BLU | 666 | Power Window Motor Right Front Up Control | ||||
| |||||||
|---|---|---|---|---|---|---|---|
Connector Part Information |
| ||||||
Pin | Wire Color | Circuit No. | Function | ||||
1-4 | -- | -- | Not Used | ||||
5 | BLK/WHT | 746 | Right Front Door Ajar Switch Signal | ||||
6-7 | -- | -- | Not Used | ||||
8 | WHT | 156 | Courtesy Lamp-Right Front Door Supply Voltage | ||||
9 | -- | -- | Not Used | ||||
10 | GRY | 295 | Door Lock Actuator Lock Control | ||||
11 | TAN | 294 | Door Lock Actuator Unlock Control | ||||
12-13 | -- | -- | Not Used | ||||
14 | ORN | 4240 | Battery Positive Voltage | ||||
15-18 | -- | -- | Not Used | ||||
19 | LT BLU | 661 | Right Front Door Courtesy Lamp Control | ||||
20 | DK GRN | 1178 | Right Front Door Switch Low Reference | ||||
21 | -- | -- | Not Used | ||||
22 | TAN | 1047 | PDM Class 2 Serial Data | ||||
23 | -- | -- | Not Used | ||||
24 | LT GRN | 265 | Passenger Door Key Switch Signal | ||||
25-26 | -- | -- | Not Used | ||||
| |||||||
|---|---|---|---|---|---|---|---|
Connector Part Information |
| ||||||
Pin | Wire Color | Circuit No. | Function | ||||
1 | RED/WHT | -- | Passenger Mirror Motor Right Control | ||||
2 | WHT | -- | Passenger Mirror Right/Down Motors Common | ||||
3 | YEL | -- | Passenger Folding Mirror Motor Extend Control | ||||
4 | LT BLU | -- | Passenger Folding Mirror Motor Retract Control | ||||
5 | -- | -- | Not Used | ||||
6 | PPL/WHT | -- | Passenger Mirror Motor Down Control | ||||
7 | ORN | -- | Mirror Heating Element Supply Voltage | ||||
8 | BLK | -- | Mirror Heating Element Low Reference | ||||
9-10 | -- | -- | Not Used | ||||
| |||||||
|---|---|---|---|---|---|---|---|
Connector Part Information |
| ||||||
Pin | Wire Color | Circuit No. | Function | ||||
1 | DK GRN | -- | 5 Volt Reference | ||||
2 | RED | -- | Passenger Mirror Vertical Position Sensor Signal | ||||
3 | PPL | -- | Low Reference | ||||
4 | DK BLU | -- | Passenger Mirror Horizontal Position Sensor Signal | ||||
5-10 | -- | -- | Not Used | ||||
| |||||||
|---|---|---|---|---|---|---|---|
Connector Part Information |
| ||||||
Pin | Wire Color | Circuit No. | Function | ||||
1 | YEL | -- | Low Heat Indicator Control | ||||
2 | DK GRN | -- | High Heat Indicator Control | ||||
3 | DK BLU | -- | Back and Cushion Select | ||||
4 | GRY | -- | Back Only Select | ||||
5 | -- | -- | Not Used | ||||
6 | BRN | -- | Memory/Heated Seat Switch Supply Voltage | ||||
7 | BLK | -- | Back Only Indicator Control | ||||
8 | WHT/BLK | -- | Medium Heat Indicator Control | ||||
9-11 | -- | -- | Not Used | ||||
12 | LT BLU | -- | Heated Seat Switch Illumination | ||||
| |||||||
|---|---|---|---|---|---|---|---|
Connector Part Information |
| ||||||
Pin | Wire Color | Circuit No. | Function | ||||
A | BLK | 1450 | Ground | ||||
B | PNK/BLK | 1303 | Liftgate Ajar Switch Signal | ||||
| |||||||
|---|---|---|---|---|---|---|---|
Connector Part Information |
| ||||||
Pin | Wire Color | Circuit No. | Function | ||||
A | BLK | 1450 | Ground | ||||
B | PNK/BLK | 1303 | Liftgate Ajar Switch Signal | ||||
| |||||||
|---|---|---|---|---|---|---|---|
Connector Part Information |
| ||||||
Pin | Wire Color | Circuit No. | Function | ||||
1-2 | -- | -- | Not Used | ||||
3 | BLK | -- | Driver Mirror Heating Element Low Reference | ||||
4 | PPL | -- | Mirror Sensor Low Reference | ||||
5-6 | -- | -- | Not Used | ||||
7 | GRY | -- | Automatic Day/Night Mirror Signal | ||||
8 | PNK | -- | Automatic Day/Night Mirror Low Reference | ||||
9-10 | -- | -- | Not Used | ||||
| |||||||
|---|---|---|---|---|---|---|---|
Connector Part Information |
| ||||||
Pin | Wire Color | Circuit No. | Function | ||||
1 | YEL | -- | Driver Folding Mirror Motor Extend Control | ||||
2 | ORN | -- | Mirror Heating Element Supply Voltage | ||||
3 | RED | -- | Driver Mirror Horizontal Position Sensor Signal | ||||
4 | DK GRN | -- | 5 Volt Reference | ||||
5 | DK BLU | -- | Driver Mirror Vertical Position Sensor Signal | ||||
6 | LT BLU | -- | Driver Folding Mirror Motor Retract Control | ||||
7 | YEL | -- | Driver Mirror Right/Down Motors Common | ||||
8 | LT BLU | -- | Driver Mirror Motor Right Control | ||||
9 | LT GRN | -- | Driver Mirror Motor Down Control | ||||
10 | -- | -- | Not Used | ||||
| |||||||
|---|---|---|---|---|---|---|---|
Connector Part Information |
| ||||||
Pin | Wire Color | Circuit No. | Function | ||||
1 | RED/WHT | -- | Passenger Mirror Motor Right Control | ||||
2 | WHT | -- | Passenger Mirror Right/Down Motors Common | ||||
3 | YEL | -- | Passenger Folding Mirror Motor Extend Control | ||||
4 | LT BLU | -- | Passenger Folding Mirror Motor Retract Control | ||||
5 | -- | -- | Not Used | ||||
6 | PPL/WHT | -- | Passenger Mirror Motor Down Control | ||||
7 | ORN | -- | Mirror Heating Element Supply Voltage | ||||
8 | BLK | -- | Mirror Heating Element Low Reference | ||||
9-10 | -- | -- | Not Used | ||||
| |||||||
|---|---|---|---|---|---|---|---|
Connector Part Information |
| ||||||
Pin | Wire Color | Circuit No. | Function | ||||
1 | DK GRN | -- | 5 Volt Reference | ||||
2 | RED | -- | Passenger Mirror Vertical Position Sensor Signal | ||||
3 | PPL | -- | Low Reference | ||||
4 | DK BLU | -- | Passenger Mirror Horizontal Position Sensor Signal | ||||
5-10 | -- | -- | Not Used | ||||
| |||||||
|---|---|---|---|---|---|---|---|
Connector Part Information |
| ||||||
Pin | Wire Color | Circuit No. | Function | ||||
A | DK BLU | 164 | Power Window Motor Left Front Up Control | ||||
B | BRN | 165 | Power Window Motor Left Front Down Control | ||||
| |||||||
|---|---|---|---|---|---|---|---|
Connector Part Information |
| ||||||
Pin | Wire Color | Circuit No. | Function | ||||
A | DK BLU | 666 | Power Window Motor Right Front Up Control | ||||
B | BRN | 667 | Power Window Motor Right Front Down Control | ||||
| |||||||
|---|---|---|---|---|---|---|---|
Connector Part Information |
| ||||||
Pin | Wire Color | Circuit No. | Function | ||||
A | BRN | 669 | Power Window Motor Left Rear Down Control | ||||
B | DK BLU | 668 | Power Window Motor Left Rear Up Control | ||||
| |||||||
|---|---|---|---|---|---|---|---|
Connector Part Information |
| ||||||
Pin | Wire Color | Circuit No. | Function | ||||
A | BRN | 671 | Power Window Motor Right Rear Down Control | ||||
B | DK BLU | 670 | Power Window Motor Right Rear Up Control | ||||
| |||||||
|---|---|---|---|---|---|---|---|
Connector Part Information |
| ||||||
Pin | Wire Color | Circuit No. | Function | ||||
A | ORN | 1240 | Battery Positive Voltage | ||||
B | YEL | 1187 | Power Window Switch Relay Left Rear Down Control | ||||
C | WHT | 1185 | Power Window Switch Relay Left Rear Up Control | ||||
D | LT BLU | 2265 | Power Window Lockout Left Rear Signal | ||||
E | BLK | 1150 | Ground | ||||
F | DK BLU | 668 | Power Window Motor Left Rear Up Control | ||||
G | BRN | 669 | Power Window Motor Left Rear Down Control | ||||
H | BRN/WHT | 230 | Instrument Panel Lamps Dimming Control | ||||
| |||||||
|---|---|---|---|---|---|---|---|
Connector Part Information |
| ||||||
Pin | Wire Color | Circuit No. | Function | ||||
A | ORN | 1340 | Battery Positive Voltage | ||||
B | DK GRN | 1188 | Power Window Switch Relay Right Rear Down Control | ||||
C | GRY/BLK | 1186 | Power Window Switch Relay Right Rear Up Control | ||||
D | LT GRN | 2266 | Power Window Lockout Right Rear Signal | ||||
E | BLK | 1250 | Ground | ||||
F | DK BLU | 670 | Power Window Motor Right Rear Up Control | ||||
G | BRN | 671 | Power Window Motor Right Rear Down Control | ||||
H | BRN/WHT | 230 | Instrument Panel Lamps Dimming Control | ||||