GM Service Manual Online
For 1990-2009 cars only

Removal Procedure

Tools Required

    • J 8092 Driver Handle
    • J 34196-B Transmission Bushing Service Set

    Object Number: 588785  Size: SH
  1. Remove the case rear oil seal (106) (Y-car Only).
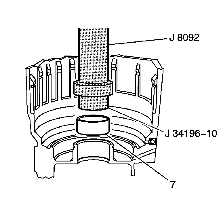
  2. Remove the case bushing (7) using J 8092 and J 34196-10 which is part of kit J 34196-B .

Installation Procedure

Tools Required

    • J 8092 Driver Handle
    • J 34196-B Transmission Bushing Service Set
    • J 42198 Case Rear Oil Seal Installer

    Object Number: 156395  Size: SH
  1. Install a case bushing (7) using J 8092 and J 34196-10 which is part of kit J 34196-B .
  2. Install a case rear oil seal (106) (Y-car Only) using J 42198 .

Removal Procedure

Tools Required

    • J 8092 Driver Handle
    • J 34196-B Transmission Bushing Service Set

Object Number: 1073786  Size: SH

Remove the case bushing (7) using J 8092 and J 34196-10 which is part of kit J 34196-B .

Installation Procedure


Object Number: 1073791  Size: SH

Install a case bushing (7) using J 8092 and J 34196-10 which is part of kit J 34196-B .