GM Service Manual Online
For 1990-2009 cars only

Removal Procedure

  1. Open the hood.

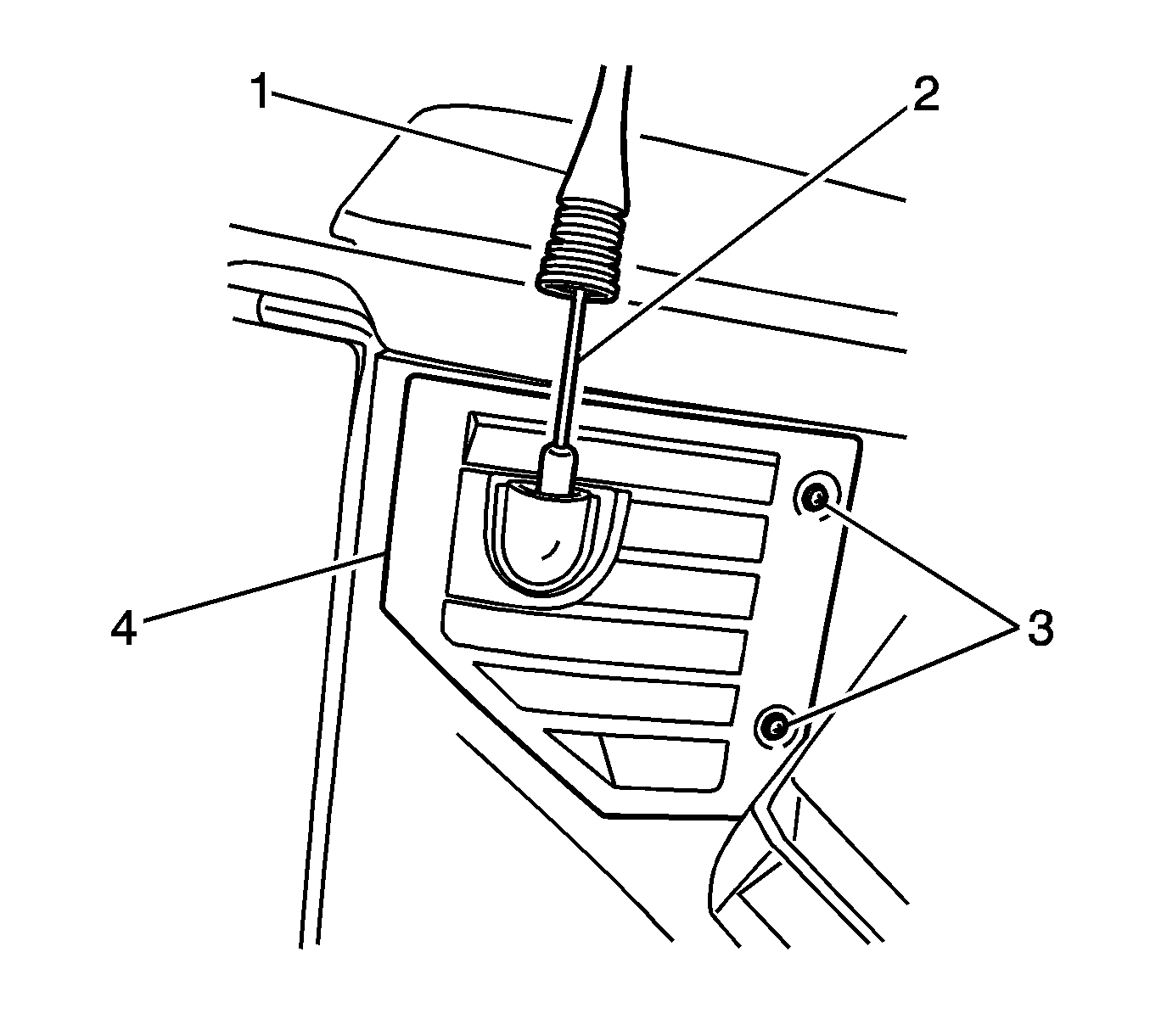
  2. Object Number: 1415780  Size: SH
  3. Remove the antenna mast boot (1).
  4. Remove the antenna mast (2).
  5. Remove the 2 screws (3) retaining the front fender upper hole cover.
  6. Remove the front fender upper hole cover (4).

  7. Object Number: 1415783  Size: SH
  8. Remove the 3 screws (1) retaining the mast base.
  9. Remove the fastener (2) from the mast base.
  10. Remove the right front sill plate. Refer to Front Side Door Sill Plate Replacement in Interior Trim.
  11. Remove the right kick-up panel. Refer to Front Floor Kick-Up Panel Replacement in Interior Trim.

  12. Object Number: 1416172  Size: SH
  13. Disconnect the antenna cable (1) from the extension cable (2).
  14. Attach a mechanics wire to the antenna cable (1).
  15. Remove the antenna cable leaving the mechanics wire in place.
  16. Remove the antenna cable assembly from the vehicle.

Installation Procedure


    Object Number: 1416172  Size: SH
  1. Attach a mechanics wire to the replacement antenna cable (1).
  2. Pull the mechanics wire to route the replacement antenna cable.
  3. Remove the mechanics wire from the antenna cable.
  4. Connect the antenna cable (1) to the extension cable (2).
  5. Install the right kick-up panel. Refer to Front Floor Kick-Up Panel Replacement in Interior Trim.
  6. Install the right front sill plate. Refer to Front Side Door Sill Plate Replacement in Interior Trim.

  7. Object Number: 1415783  Size: SH

    Notice: Use the correct fastener in the correct location. Replacement fasteners must be the correct part number for that application. Fasteners requiring replacement or fasteners requiring the use of thread locking compound or sealant are identified in the service procedure. Do not use paints, lubricants, or corrosion inhibitors on fasteners or fastener joint surfaces unless specified. These coatings affect fastener torque and joint clamping force and may damage the fastener. Use the correct tightening sequence and specifications when installing fasteners in order to avoid damage to parts and systems.

  8. Install the 3 screws (1) retaining the mast base.
  9. Tighten
    Tighten the screws to 35 N·m (26 lb ft).

  10. Install the fastener (2) to the mast base.

  11. Object Number: 1415780  Size: SH
  12. Install the front fender upper hole cover (4).
  13. Install the 2 screws (3) retaining the front fender upper hole cover.
  14. Tighten
    Tighten the screws to 2.5 N·m (22 lb in).

  15. Install the antenna mast (2).
  16. Install the antenna boot (1).
  17. Close the hood.