GM Service Manual Online
For 1990-2009 cars only
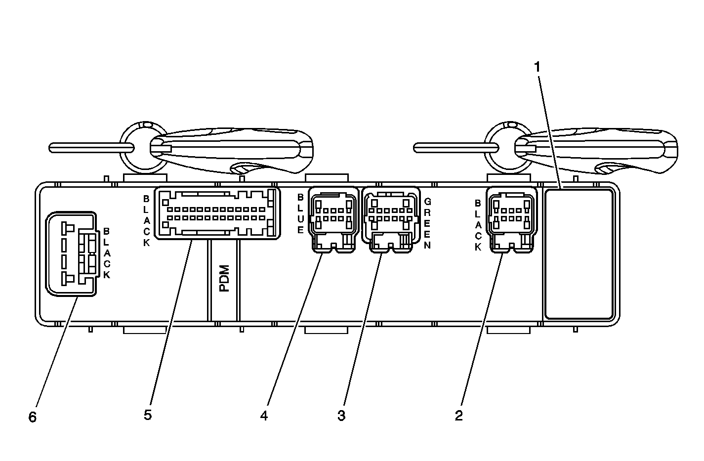
Figure 1:

Driver Door Module (DDM) Connector Locations


Object Number: 851137  Size: MF
(1)DDM
(2)DDM - C1 (Black)
(3)DDM - C2 (Black)
(4)Mirror Harness Connector - C3 (Blue)
(5)Memory/Heated Seat Switch Connector - C5 (Green)
(6)Mirror Harness Connector - C4 (Black)
Figure 2:

Front Passenger Door Module (FPDM) Connector Locations


Object Number: 851144  Size: MF
(1)FPDM
(2)Mirror Harness Connector - C4 (Black)
(3)Memory/Heated Seat Switch Connector - C5 (Green)
(4)Mirror Harness Connector - C3 (Blue)
(5)FPDM - C2 (Black)
(6)FPDM - C1 (Black)
Figure 3:

Driver Door Components


Object Number: 1217663  Size: MF
(1)Driver Door
(2)Outside Rearview Mirror
(3)Memory/Heated Seat Switch
(4)Memory/Heated Seat Switch Connector - C5 (Green)
(5)Driver Door Module (DDM)
(6)Fuse Block - I/P - C3
(7)Speaker - LF Door
(8)Window Motor - Driver
(9)Courtesy Lamp - Left Door
(10)Door Latch Assembly - Driver
(11)Door Latch Assembly Connector - Driver
Figure 4:

Passenger Door Components


Object Number: 1219137  Size: MF
(1)Passenger Door
(2)Outside Rearview Mirror
(3)Passenger Door Module (PDM)
(4)Door Latch Assembly - Passenger
(5)Courtesy Lamp - Right Door
(6)Window Motor - Front Passenger
(7)Speaker - RF Door
(8)Junction Block - I/P - C2
(9)Junction Block - I/P - C7
(10)Heated Seat Switch
Figure 5:

Left Rear Door Component Views (RT Rear Door Similar)


Object Number: 827737  Size: LF
(1)Door Window Motor - LR
(2)Door Window Motor Connector - LR
(3)Door Harness Pass-Through Grommet
(4)Door Window Switch - LR
(5)Door Window Switch Connector - LR
(6)Door Latch Assembly - LR
(7)Speaker - LR Door
Figure 6:

Liftgate Relay


Object Number: 1395254  Size: MF
(1)Right B-Pillar
(2)C390
(3)G306
(4)Liftgate Lock Relay
(5)Courtesy Lamp - Right B-Pillar
(6)Body Harness
Figure 7:

Door Lock Switch-Rear Cargo Area


Object Number: 825882  Size: MF
(1)Door Lock Switch Connector - Rear
(2)Door Lock Switch - Rear
(3)Rear Storage Bin
Figure 8:

Door Lock Actuator - Liftgate


Object Number: 827705  Size: LF
(1)Center High Mounted Stop Lamp (CHMSL) Connector
(2)Rear Window Defogger Grid Connector
(3)Rear Window Defogger Grid Connector
(4)Splice S900
(5)Rear Window Wiper Module - w/Motor
(6)Door Lock Actuator - Liftgate
(7)Liftgate Ajar Switch - Left
(8)Liftgate Ajar Switch - Right
(9)Splice S902
(10)Splice S901