GM Service Manual Online
For 1990-2009 cars only

Removal Procedure


Object Number: 832173  Size: SH

Caution: Refer to Approved Equipment for Collision Repair Caution in the Preface section.

Important: Section in specified areas only. Sectioning outside of these areas may compromise the structural integrity of the vehicle. The door frame can be replaced at factory seams, but requires the removal of the upper fender rail, windshield, roof and quarter panel. The sectioning procedures have been developed as a more cost-effective alternative to complete replacement. The specific area to be sectioned is determined by the extent of the damage to the vehicle.

Important: When replacing panels that involve servicing of stationary glass, refer to Adhesive Installation of Stationary Windows .

  1. Disable the SIR system. Refer to SIR Disabling and Enabling in SIR.
  2. Disconnect the negative battery cable. Refer to Battery Negative Cable Disconnection and Connection in Engine Electrical.

  3. Object Number: 827972  Size: SH
  4. Remove all related panels and components.
  5. Restore as much of the damage as possible to factory specifications. Refer to Dimensions - Body .
  6. Caution: Refer to Foam Sound Deadeners Caution in the Preface section.


    Object Number: 832190  Size: SH
  7. Note the location and remove the sealers and anti-corrosion materials from the repair area, as necessary. Refer to Anti-Corrosion Treatment and Repair in Paint and Coatings.

  8. Object Number: 832362  Size: SH
  9. Measure 75 mm (3 in) up from the top lock striker hole and scribe a horizontal line.
  10. Important: Do not damage any inner panels or reinforcements.

  11. Cut the panel where sectioning is to be performed.

  12. Object Number: 832173  Size: SH
  13. Perform additional sectioning procedures. Refer to the following procedures:
  14. •  Rocker Panel Sectioning
    •  Front Hinge Pillar Sectioning
    •  Center Pillar Sectioning
    •  Outer Door Frame Sectioning - Windshield Pillar

    Object Number: 832383  Size: SH
  15. Locate and drill out all factory welds. Note the number and location of the welds for installations of the service part.

  16. Object Number: 832398  Size: SH
  17. Remove the damaged rear pillar section.

Installation Procedure


    Object Number: 832173  Size: SH
  1. Cut the replacement rear pillar section in corresponding locations to fit the original panel. The sectioning joint should be trimmed to allow 1½ times the metal thickness at the sectioning joint.

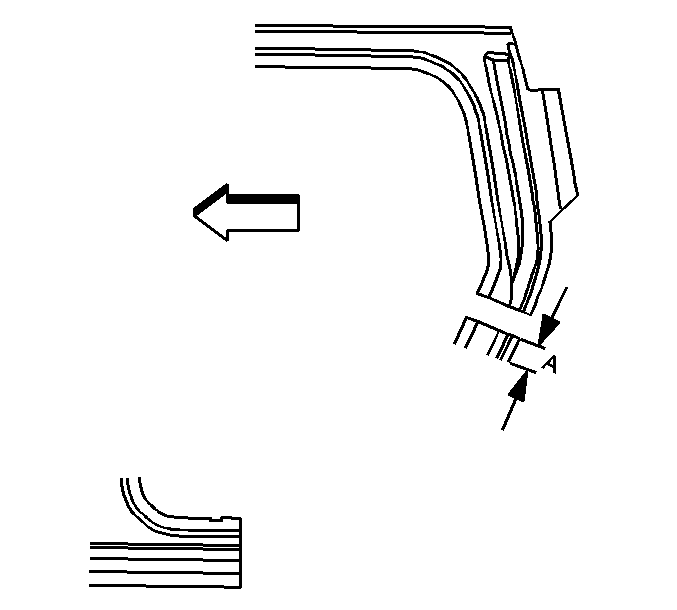
  2. Object Number: 832412  Size: SH
  3. Create a 50 mm (2 in) backing plate (A) from the unused portion of the service part. Trim the backing plate as necessary to fit behind the sectioning joint where there is no reinforcement.

  4. Object Number: 832416  Size: SH
  5. Drill 8 mm (5/16 in) plug weld holes along the sectioning cut on the remaining original part. Locate these holes 13 mm (1/2 in) from the edge and spaced 40 mm (1½ in) apart.

  6. Object Number: 832428  Size: SH

    Important: In any area damaged beyond recognition, or if structural weld-thru adhesive is present, space the plug weld holes 40 mm (1½ in) apart.

  7. Drill 8 mm (5/16 in) plug weld holes in the service part as necessary in the locations noted from the original panel and along the sectioning cut.

  8. Object Number: 749785  Size: SH
  9. Prepare all attachment surfaces as necessary.
  10. Apply 3m weld-thru coating P/N 05916 or equivalent to all mating surfaces.
  11. Fit the backing plate halfway into the sectioning joint, clamp and plug weld to the vehicle.

  12. Object Number: 832440  Size: SH
  13. Position the rear lock pillar.
  14. Plug weld accordingly.
  15. Important: To create a solid weld with minimum heat distortion make 25 mm (1 in) stitch welds along the seam with 25 mm (1 in) gaps between them. Then go back and complete the stitch weld.

  16. Stitch the weld sectioning joint.

  17. Object Number: 832432  Size: SH
  18. Clean and prepare all welded surfaces.
  19. Apply the sealers and anti-corrosion materials to the repair area, as necessary. Refer to Anti-Corrosion Treatment and Repair in Paint and Coatings.
  20. Paint and repair the area. Refer to Basecoat/Clearcoat Paint Systems in Paint and Coatings.
  21. Install all related panels and components.
  22. Connect the negative battery cable. Refer to Battery Negative Cable Disconnection and Connection in Engine Electrical.
  23. Enable the SIR system. Refer to SIR Disabling and Enabling in SIR.