GM Service Manual Online
For 1990-2009 cars only
Figure 1:

Transfer Case Components


Object Number: 1221874  Size: MF
(1)Transfer Case
(2)Transfer Case Encoder/Motor Connector
(3)Vehicle Speed Sensor (VSS)
Figure 2:

Center of I/P


Object Number: 1393981  Size: LF
(1)Radio
(2)Inflatable Restraint I/P Module Disable Switch
(3)HVAC Control Assembly
(4)OnStar Button Assembly
(5)Auxiliary Power Outlet - Front 1
(6)Auxiliary Power Outlet - Front 2
(7)Cigar Lighter
(8)Ride Height Switch
(9)Tow/Haul Switch
(10)Traction Control Switch
(11)Transfer Case Shift Control Switch
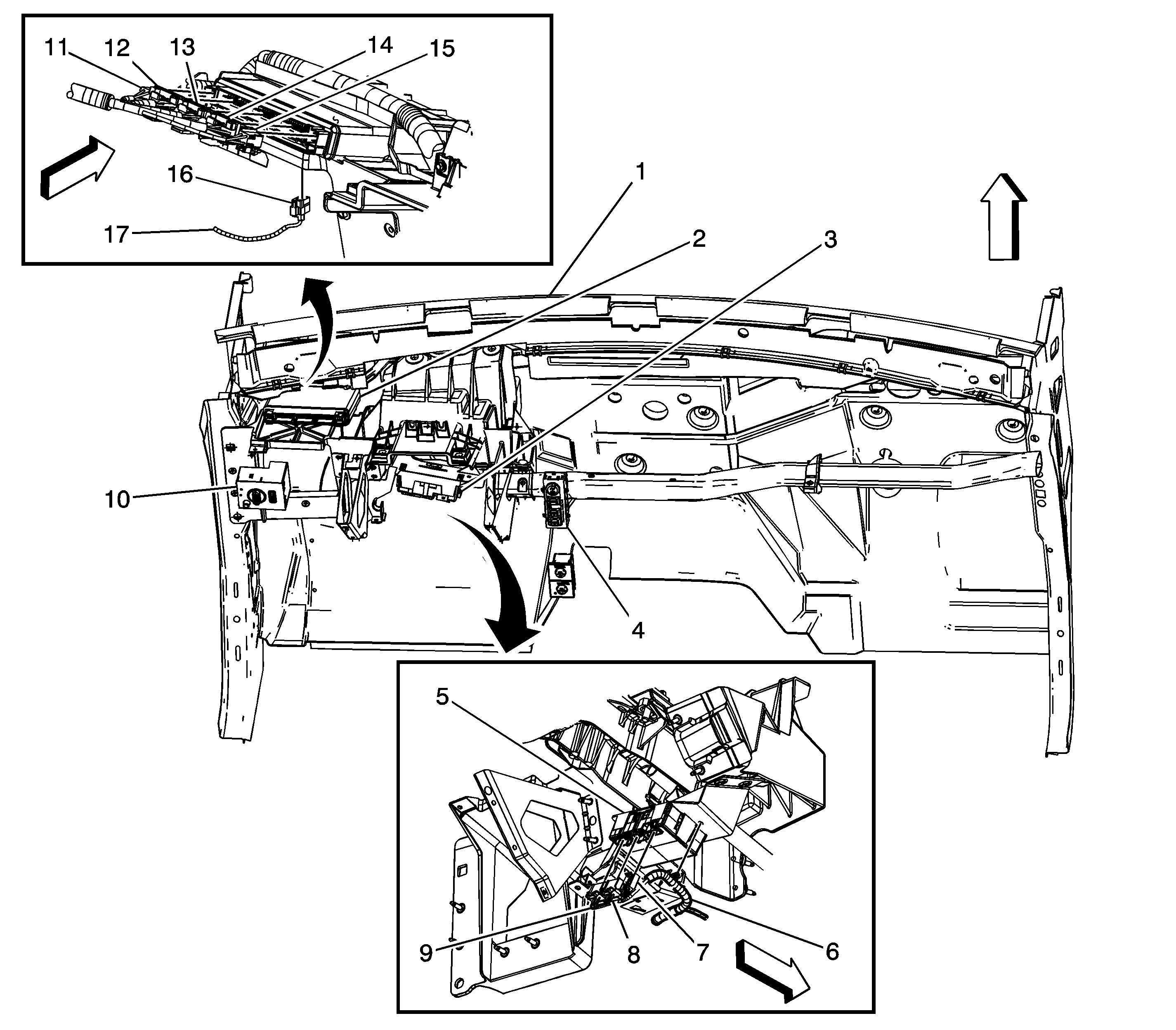
Figure 3:

Left Center of the I/P


Object Number: 1219259  Size: LF
(1)Instrument Panel
(2)Body Control Module (BCM)
(3)Transfer Case Shift Control Module
(4)Transfer Case Shift Control Switch
(5)Transfer Case Shift Control Module
(6)I/P Harness
(7)Transfer Case Shift Control Module - C3
(8)Transfer Case Shift Control Module - C2
(9)Transfer Case Shift Control Module - C1
(10)Headlamp and Panel Dimmer Switch
(11)BCM - C1
(12)BCM - C2
(13)BCM - C3
(14)BCM - C4
(15)BCM - C5
(16)BCM - C6
(17)Body Harness