GM Service Manual Online
For 1990-2009 cars only

Removal Procedures

    Important: Cycle the wiper one time to ensure it is in the parked position.

  1. Remove the rear wiper arm. Refer to Rear Window Wiper Arm Replacement .

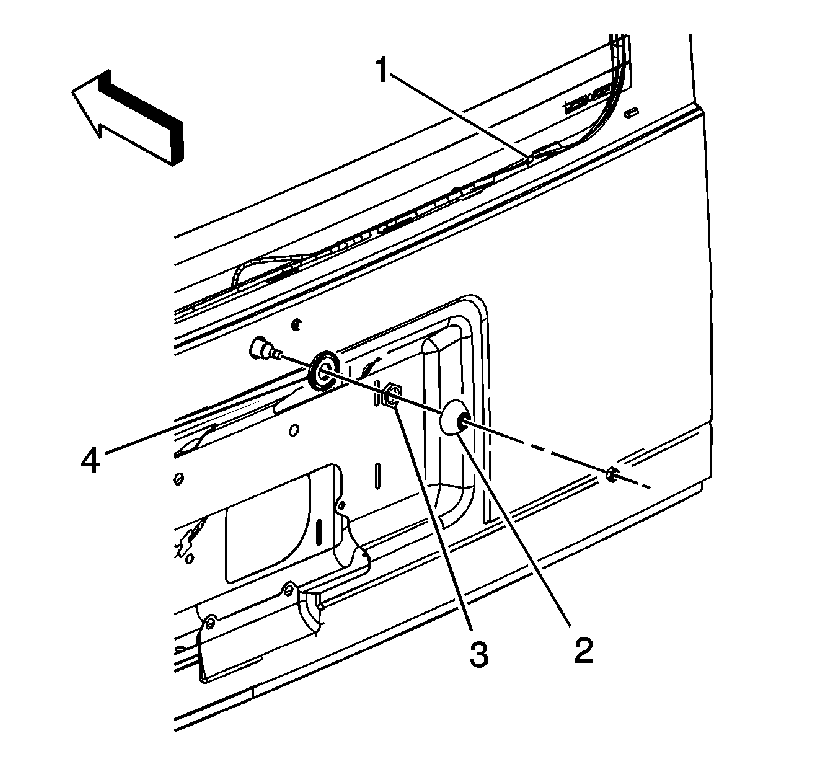
  2. Object Number: 893157  Size: SH
  3. Remove beauty cover (2) by twisting counterclockwise.
  4. Remove the rear wiper arm nut (3) and the weatherseal (4).
  5. Open the liftgate.
  6. Remove the liftgate trim panel. Refer to Liftgate Trim Panel Replacement.

  7. Object Number: 1453829  Size: SH
  8. Disconnect the rear wiper motor electrical connectors from the liftgate (4).
  9. Remove the rear wiper control module.
  10. Remove the fasteners (1) retaining the wiper motor to the liftgate (2).
  11. Remove the rear wiper motor from the liftgate.

Installation Procedure


    Object Number: 1453829  Size: SH
  1. Position the rear wiper motor (4) into place in the liftgate (2).
  2. Install the fasteners retaining the wiper motor (4), but do not tighten.
  3. Notice: Refer to Fastener Notice in the Preface section.


    Object Number: 893157  Size: SH
  4. Install the weatherseal (4) and the rear wiper arm nut (3).
  5. Tighten
    Tighten the rear wiper arm nut to 6 N·m (4 lb ft).

  6. Tighten the rear wiper motor fasteners.
  7. Tighten
    Tighten the rear wiper motor fasteners to 9 N·m (7 lb ft).

  8. Connect rear wiper motor electrical connectors.
  9. Install the rear wiper motor control module.
  10. Install the liftgate trim panel. Refer to Liftgate Trim Panel Replacementd.
  11. Install the beauty cover (1).
  12. Install the rear wiper arm. Refer to Rear Window Wiper Arm Replacement .