GM Service Manual Online
For 1990-2009 cars only

Removal Procedure

  1. Raise the window to the full up position.
  2. Remove the door trim panel. Refer to Front Side Door Trim Panel Replacement .
  3. Remove the water deflector. Refer to Front Side Door Water Deflector Replacement .

  4. Object Number: 839282  Size: SH
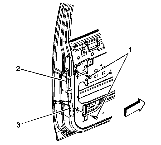
  5. Remove the 2 fasteners (1) retaining the run channel to the door.
  6. Remove the run channel (2).

Installation Procedure

  1. Position the run channel (2) in place inside the door.
  2. Notice: Refer to Fastener Notice in the Preface section.


    Object Number: 839282  Size: SH
  3. Install the fasteners (1) retaining the run channel to the door.
  4. Tighten
    Tighten the fasteners to 9 N·m (7 lb ft).

  5. Install water deflector. Refer to Front Side Door Water Deflector Replacement .
  6. Install the door trim panel. Refer to Front Side Door Trim Panel Replacement .