GM Service Manual Online
For 1990-2009 cars only
Figure 1:

Front Left Side of Passenger Compartment


Object Number: 1975955  Size: LF
(1)Seat Belt Pretensioner - Driver
(2)Inflatable Restraint Roof Rail Module Connector - Left Front
(3)Inflatable Restraint Roof Rail Module - Left Front
(4)Inflatable Restraint Vehicle Rollover Sensor
(5)Yaw and Lateral Accelerometer Sensor
(6)Audio Amplifier
(7)Inflatable Restraint Sensing and Diagnostic Module (SDM)
Figure 2:

Right Front Passenger Compartment


Object Number: 1975965  Size: LF
(1)Inflatable Restraint Roof Rail Module-Right Front
(2)Seat Belt Pretensioner-Passenger
Figure 3:

Driver Seat Components - 1 of 2


Object Number: 1913810  Size: LF
(1)Seat Recline Motor - Driver
(2)Seat Lumbar Vertical Motor Position Sensor - Driver
(3)Seat Lumbar Vertical Motor - Driver
(4)X303
(5)Seat Lumbar Horizontal Motor - Driver
(6)Seat Lumbar Horizontal Motor Position Sensor - Driver
(7)Seat Recline Position Sensor - Driver
(8)Seat Lumbar Switch - Driver
(9)Seat Adjuster Switch - Driver
(10)Memory Seat Module (MSM)
(11)Inflatable Restraint Seat Position Sensor (SPS) - Driver
(12)Seat Adjuster Motor Assembly - Driver
(13)Seat Belt Buckle - Driver
Figure 4:

Driver Seat Components - 2 of 2


Object Number: 1859595  Size: LF
(1)Heated Seat Element - Driver Back
(2)Heated Seat Element - Driver Cushion
Figure 5:

Passenger Seat Components - 1 of 2


Object Number: 1913813  Size: LF
(1)Seat Frame
(2)X305
(3)Seat Lumbar Vertical Motor - Passenger
(4)Seat Adjuster Switch - Passenger
(5)Seat Lumbar Switch - Passenger
(6)Seat Belt Pretensioner - Passenger
(7)Seat Adjuster Motor Assembly - Passenger
(8)Seat Adjuster Motor Assembly - Passenger
(9)Heated Seat Element - Passenger Cushion
(10)Seat Recline Motor - Passenger
(11)Seat Lumbar Horizontal Motor - Passenger
Figure 6:

Passenger Seat Components - 2 of 2


Object Number: 1859596  Size: LF
(1)Heated Seat Element - Passenger Back
(2)Heated Seat Element - Passenger Cushion
Figure 7:

Rear Seat Components


Object Number: 2059014  Size: LF
(1)Heated Seat Element - Right Rear Cushion
(2)Heated Seat Element - Left Rear Cushion
(3)Heated Seat Control Module - Rear
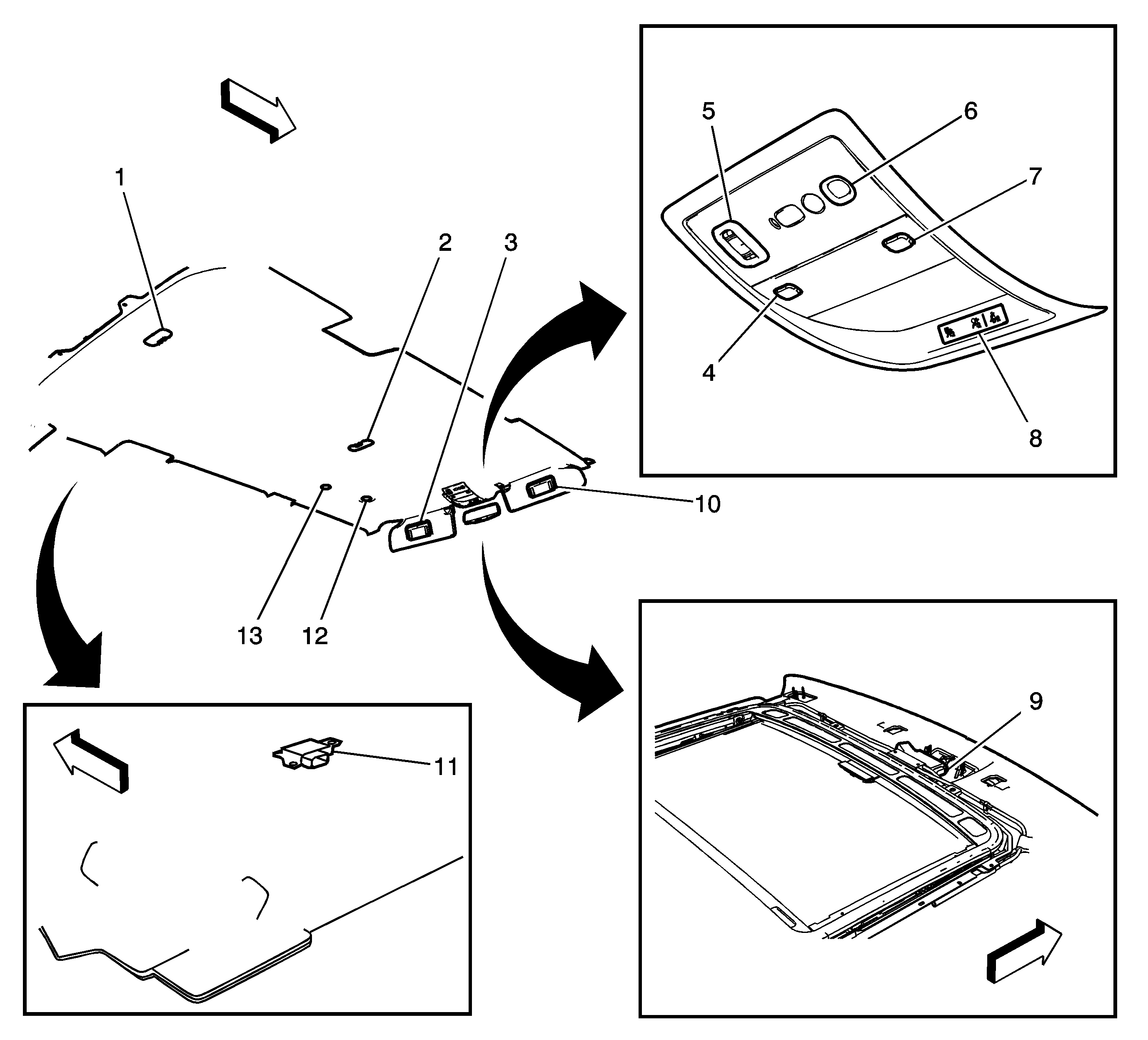
Figure 8:

Headliner (SUT)


Object Number: 1975967  Size: LF
(1)Courtesy/Reading Lamp - 2nd Row (-U42)
(2)Infared Receiver (U42)
(3)Infared Transmitter(U42)
(4)Video Display (U42)
(5)Sunshade - Right
(6)Overhead Console Courtesy/Reading Lamp
(7)Sunroof Switch (CF5)
(8)Garage Door Opener (GDO)
(9)Overhead Console Courtesy/Reading Lamp
(10)Inflatable Restraint Passenger Air Bag On/Off Indicator
(11)Sunroof Module (CF5)
(12)Inside Air Temperature Sensor
(13)Cellular Telephone Microphone (UE1)
(14)Sunshade - Left
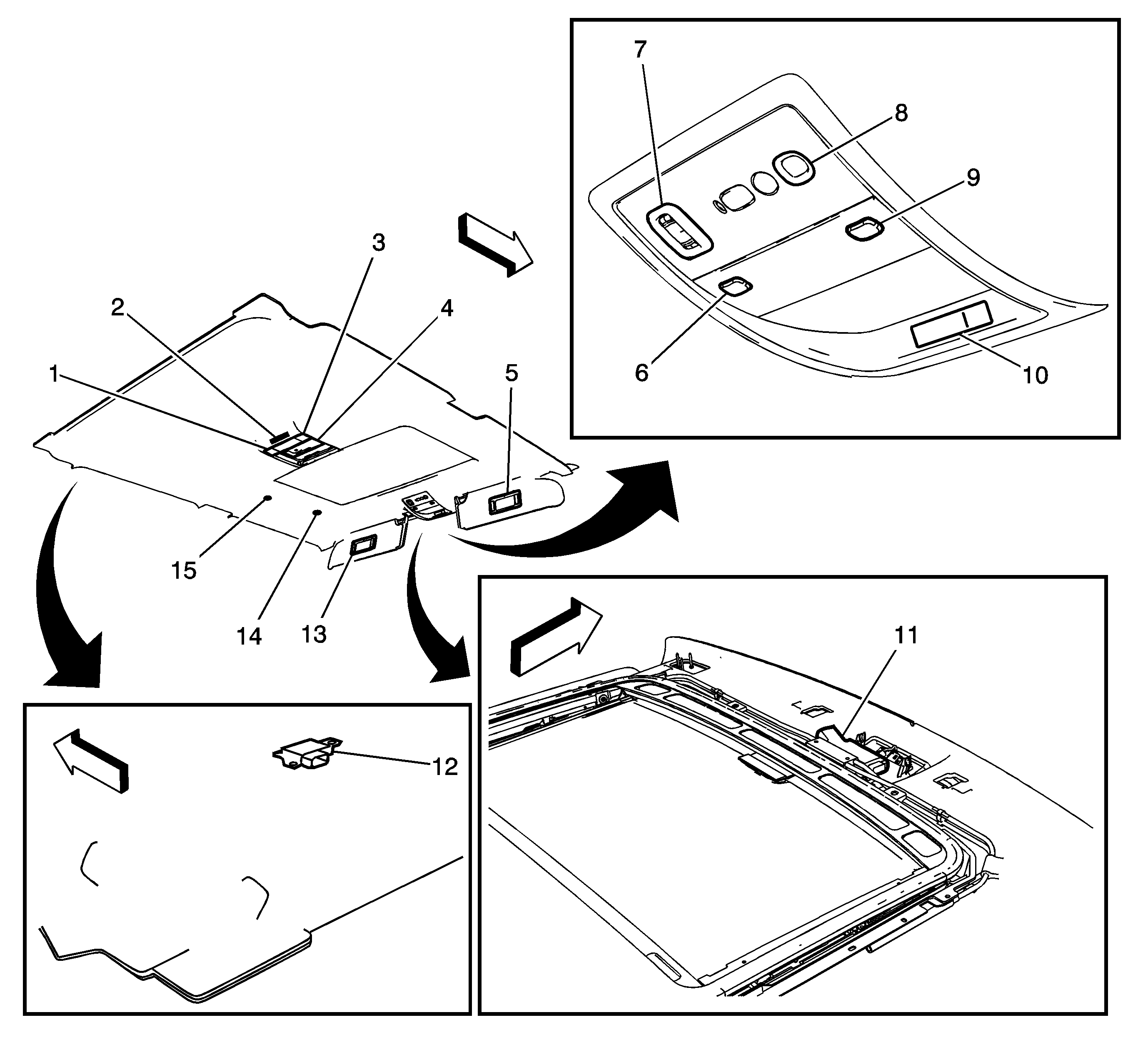
Figure 9:

Headliner (SUV)


Object Number: 1975972  Size: LF
(1)Courtesy/Reading Lamp - 3rd Row
(2)Courtesy/Reading Lamp - 2nd Row
(3)Sunshade -Left
(4)Overhead Console Courtesy Reading Lamp
(5)Sunroof Switch (CF5)
(6)Onstar Button Assemble (UE1)
(7)Overhead Console Courtesy Reading Lamp
(8)Inflatable Restraint Passenger Air Bag On/Off Indicator
(9)Sunroof Module (CF5)
(10)Sunshade -Right
(11)Cellular Telephone Microphone (UE1)
(12)Inside Air Temperature Sensor
Figure 10:

Stationary Window Components


Object Number: 1256393  Size: LF
(1)Forward Lamp Harness
(2)Radiator Support
(3)Outside Air Temperature Sensor
(4)Ambient Air Temperature Sensor
(5)Inside Rearview Mirror Connector
(6)Sunshade Connector - Left
(7)Sunshade Connector - Right
(8)Center High Mounted Stop Lamp (CHMSL) Connector
(9)Rear Window Defogger Grid Connector
(10)Rear Window Defogger Grid Connector
Figure 11:

Inside Rear View Mirror (ISRVM)


Object Number: 2179413  Size: MF
(1)Inside Rearview Mirror (ISRVM)
(2)Sunroof Switch (CF5)
(3)OnStar Button Assembly (UE1)
(4)Mirror Display
Figure 12:

Antenna Locations


Object Number: 1340677  Size: MF
(1)Cellular and Navigation and Digital Radio Antenna
(2)Global Positioning System (GPS) Antenna (UVB)
(3)Remote Control Door Lock Receiver (RCDLR)
(4)Radio Antenna