GM Service Manual Online
For 1990-2009 cars only

Removal Procedure

  1. Raise the window to the full up position.
  2. Remove the door trim panel. Refer to Rear Side Door Trim Panel Replacement.
  3. Remove the water deflector. Refer to Rear Side Door Water Deflector Replacement.

  4. Object Number: 839203  Size: SH
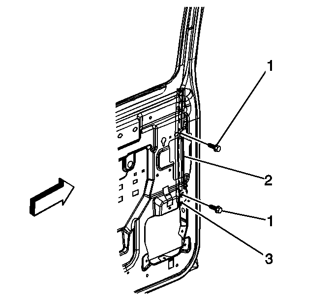
  5. Remove the 2 fasteners (1) retaining the run channel to the door.
  6. Remove the run channel.

Installation Procedure

  1. With the window in the full up position, position the run channel (2) in place inside the door.
  2. Caution: Refer to Fastener Caution in the Preface section.

  3. Install the fasteners (1) retaining the run channel to the door.
  4. Tighten
    Tighten the fasteners to 9 N·m (6 lb ft).


    Object Number: 839203  Size: SH
  5. Install the water deflector. Refer to Rear Side Door Water Deflector Replacement.
  6. Install the door trim panel. Refer to Front Side Door Trim Panel Replacement.