GM Service Manual Online
For 1990-2009 cars only
Makes
🢒
HUMMER
🢒
2006
🢒
H3
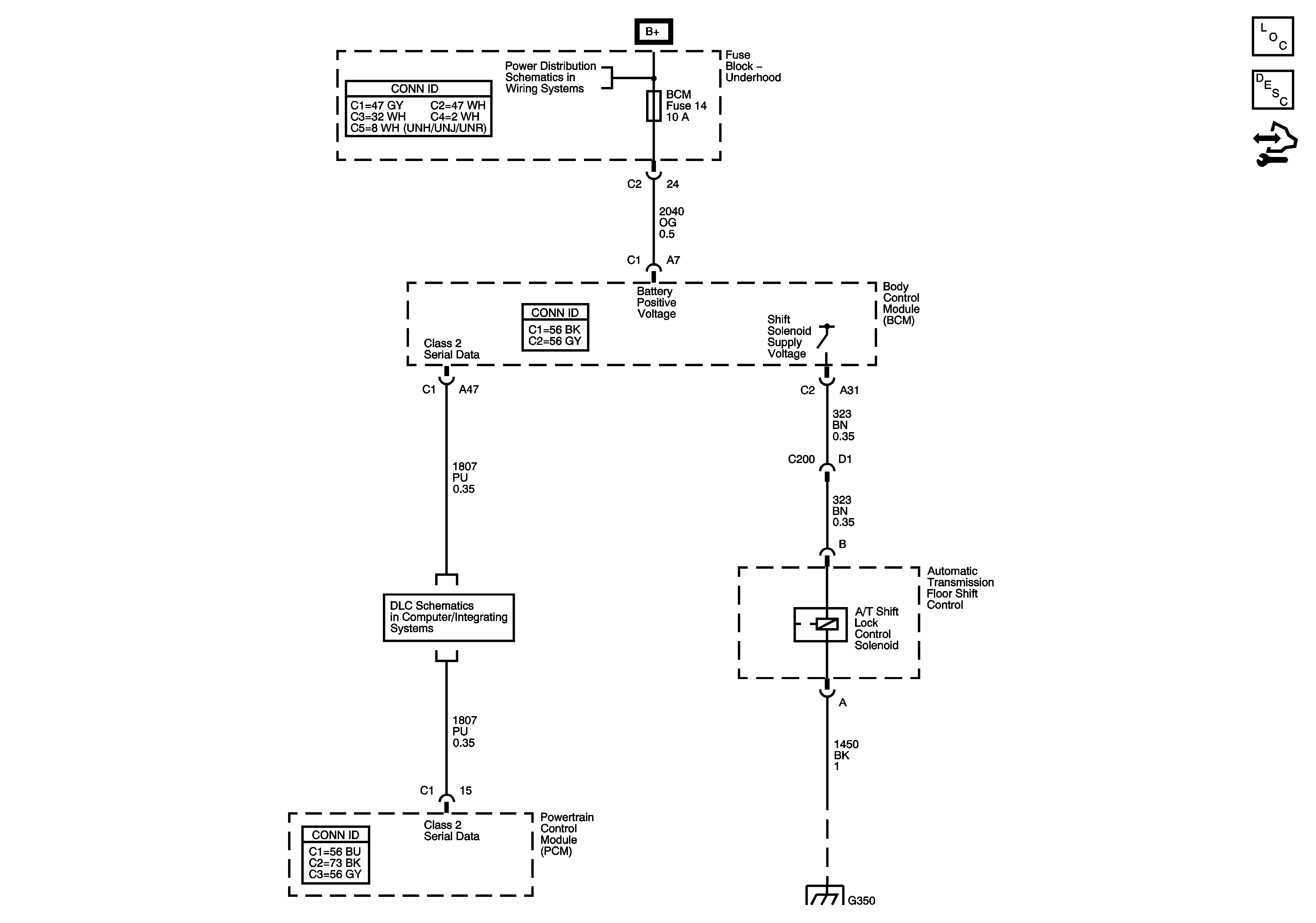
🢒 Automatic Transmission Shift Lock Control Schematics
Automatic Transmission Shift Lock Control Schematics
Master Electrical Component List
Automatic Transmission Shift Lock Control Description and Operation
Control Module References
B+ Bus - Underhood Fuse Block - 1 of 2
Data Link Connector (DLC) Schematics
G350