|
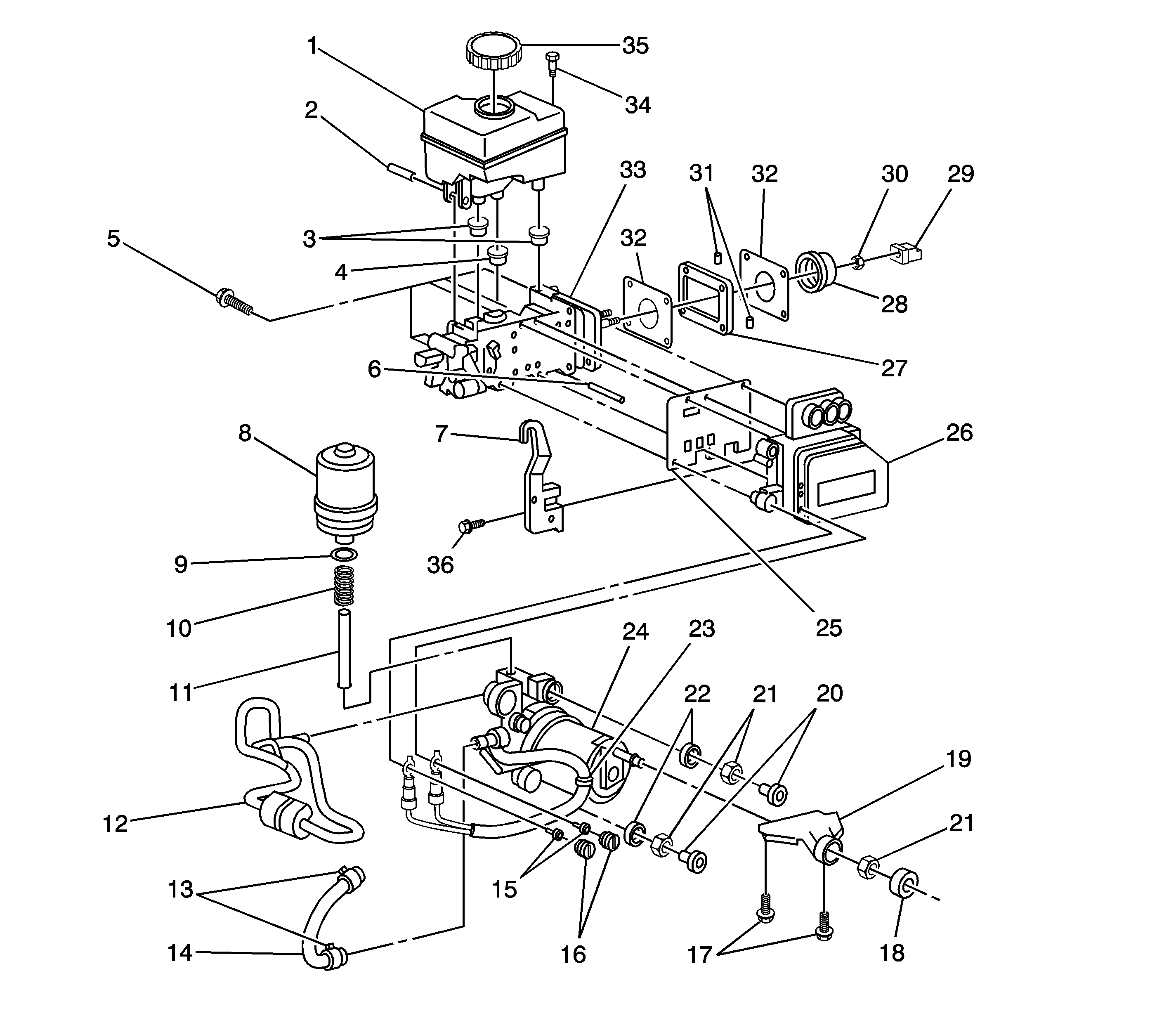
| (1) | Brake Master Cylinder Reservoir |
| (2) | Reservoir Pin |
| (3) | Brake Master Cylinder Grommet |
| (4) | Brake Master Cylinder Grommet |
| (5) | Electronic Brake and Traction Control Module Bolt |
| (6) | Electronic Brake and Traction Control Module Locator |
| (7) | Brake Fluid Level Indicator Wiring Harness Bracket |
| (8) | Power Brake Booster Pump Fluid Accumulator |
| (9) | Power Brake Booster Pump Fluid Accumulator (O-Ring) Seal |
| (10) | Power Brake Booster Pump Fluid Accumulator Fitting Spring |
| (11) | Power Brake Booster Pump Fluid Accumulator Fitting |
| (12) | Power Brake Booster Outlet Front Pipe |
| (13) | Power Brake Booster Pump Inlet Hose Clamp |
| (14) | Power Brake Booster Inlet Hose |
| (15) | Power Brake Booster Pump Harness Strap Bolt |
| (16) | Electronic Brake Control Wiring Plug |
| (17) | Power Brake Boost Pump Bracket ASM Bolt |
| (18) | Power Brake Booster Pump Damper Retainer |
| (19) | Power Brake Boost Pump Bracket |
| (20) | Power Brake Booster Pump Locator Pin |
| (21) | Power Brake Booster Pump Damper |
| (22) | Power Brake Booster Pump Damper Retainer |
| (23) | Power Brake Booster Pump Harness Strap |
| (24) | Power Brake Booster Pump ASM Motor |
| (25) | Electronic Brake and Traction Control Module ASM Gasket |
| (26) | Electronic Brake and Traction Control (w/Brake Pressure Modulator Valve) ASM Module |
| (27) | Brake Master Cylinder Spacer |
| (28) | Brake Pedal Push Rod Boot |
| (29) | Brake Pedal Push Rod Clevis |
| (30) | Brake Pedal Push Rod Clevis Nut |
| (31) | Brake Master Cylinder Spacer |
| (32) | Brake Master Cylinder Spacer Gasket |
| (33) | Brake Master Cylinder |
| (34) | Brake Master Cylinder Reservoir Bolt |
| (35) | Brake Master Cylinder Reservoir ASM Cap |
| (36) | Brake Fluid Level Indicator Wiring Harness Bracket Bolt |