GM Service Manual Online
For 1990-2009 cars only
Connector 1: 1-2 Shift Solenoid (SS) Valve (M30)
Connector 2: 2-3 Shift Solenoid (SS) Valve (M30)
Connector 3: 3-2 Shift Solenoid (SS) Valve Assembly (M30)
Connector 4: A/C Compressor Clutch
Connector 5: A/C Refrigerant Pressure Sensor
Connector 6: Accelerator Pedal Position (APP) Sensor
Connector 7: Accessory Switch
Connector 8: Air Temperature Actuator - Left
Connector 9: Air Temperature Actuator - Right
Connector 10: Ambient Air Temperature Sensor
Connector 11: Ambient Light Sensor
Connector 12: Audio Amplifier X1 (UQA)
Connector 13: Audio Amplifier X2 (UQA)
Connector 14: Audio Amplifier X3 (UQA)
Connector 15: Automatic Transmission Shift Lever (M30)
Connector 16: Automatic Transmission Fluid Pressure Manual Valve Position Switch (M30)
Connector 17: Accessory Power Outlet - I/P 1
Connector 18: Accessory Power Outlet - I/P 2
Connector 19: Accessory Power Outlet - Rear
Connector 20: Backup Lamp - Left
Connector 21: Backup Lamp - Right
Connector 22: Backup Lamp Switch (MA5)
Connector 23: Battery -
Connector 24: Battery +
Connector 25: Blower Motor
Connector 26: Blower Motor High Speed Relay
Connector 27: Blower Motor Resistor Assembly
Connector 28: Body Control Module (BCM) X1
Connector 29: Body Control Module (BCM) X2
Connector 30: Brake Fluid Level Switch
Connector 31: Camshaft Position (CMP) Actuator Solenoid Valve (LLR)
Connector 32: Camshaft Position (CMP) Sensor (LH8)
Connector 33: Camshaft Position (CMP) Sensor (LLR)
Connector 34: Cellular Microphone (UE1)
Connector 35: Center High Mounted Stop Lamp (CHMSL)
Connector 36: Clutch Pedal Position (CPP) Sensor (MA5)
Connector 37: Crankshaft Position (CKP) Sensor (LH8)
Connector 38: Crankshaft Position (CKP) Sensor (LLR)
Connector 39: Cruise Control Release Switch
Connector 40: Data Link Connector (DLC)
Connector 41: Data Link Resistor
Connector 42: Differential Lock Actuator (G94)
Connector 43: Digital Radio Receiver (U2K)
Connector 44: Dome Lamp
Connector 45: Dome/Reading Lamps
Connector 46: Door Jamb Switch - Driver
Connector 47: Door Jamb Switch - Left Rear
Connector 48: Door Jamb Switch - Passenger
Connector 49: Door Jamb Switch - Right Rear
Connector 50: Door Lock/Window Switch - Driver X1
Connector 51: Door Lock/Window Switch - Driver X2
Connector 52: Door Lock/Window Switch - Passenger
Connector 53: Door Lock Actuator - Driver
Connector 54: Door Lock Actuator - Left Rear
Connector 55: Door Lock Actuator - Liftgate
Connector 56: Door Lock Actuator - Passenger
Connector 57: Door Lock Actuator - Right Rear
Connector 58: Electronic Brake Control Module (EBCM) X1
Connector 59: Electronic Brake Control Module (EBCM) X2
Connector 60: Engine Control Module (ECM) X1
Connector 61: Engine Control Module (ECM) X2
Connector 62: Engine Control Module (ECM) X3
Connector 63: Engine Coolant Temperature (ECT) Sensor (LH8)
Connector 64: Engine Coolant Temperature (ECT) Sensor (LLR)
Connector 65: Engine Oil Pressure (EOP) Sensor (LH8)
Connector 66: Engine Oil Pressure (EOP) Switch (LLR)
Connector 67: Evaporative Emission (EVAP) Canister Purge Solenoid Valve
Connector 68: Evaporative Emission (EVAP) Canister Vent Solenoid Valve
Connector 69: Evaporator Temperature Sensor
Connector 70: Fog Lamp - Left Front
Connector 71: Fog Lamp - Left Rear (T79)
Connector 72: Fog Lamp - Right Front
Connector 73: Fog Lamp - Right Rear (T79)
Connector 74: Fuel Injector 1 (LH8)
Connector 75: Fuel Injector 1 (LLR)
Connector 76: Fuel Injector 2 (LH8)
Connector 77: Fuel Injector 2 (LLR)
Connector 78: Fuel Injector 3 (LH8)
Connector 79: Fuel Injector 3 (LLR)
Connector 80: Fuel Injector 4 (LH8)
Connector 81: Fuel Injector 4 (LLR)
Connector 82: Fuel Injector 5 (LH8)
Connector 83: Fuel Injector 5 (LLR)
Connector 84: Fuel Injector 6 (LH8)
Connector 85: Fuel Injector 7 (LH8)
Connector 86: Fuel Injector 8 (LH8)
Connector 87: Fuel Pump and Sender Assembly
Connector 88: Fuel Tank Pressure (FTP) Sensor
Connector 89: Generator X1
Connector 90: Generator X2
Connector 91: Generator Battery Control Module
Connector 92: Grille Lamp - Left (UNR)
Connector 93: Grille Lamp - Right (UNR)
Connector 94: Grille Lamps Relay (UNR)
Connector 95: Grille Lamps Switch (UNR)
Connector 96: Hazard Switch
Connector 97: Headlamp - Left (without EXP)
Connector 98: Headlamp - Left (EXP)
Connector 99: Headlamp - Right (without EXP)
Connector 100: Headlamp - Right (EXP)
Connector 101: Headlamp Switch
Connector 102: Heated Oxygen Sensor (HO2S) 1 (LLR)
Connector 103: Heated Oxygen Sensor (HO2S) 2 (LLR)
Connector 104: Heated Oxygen Sensor (HO2S) Bank 1 Sensor 1 (LH8)
Connector 105: Heated Oxygen Sensor (HO2S) Bank 1 Sensor 2 (LH8)
Connector 106: Heated Oxygen Sensor (HO2S) Bank 2 Sensor 1 (LH8)
Connector 107: Heated Oxygen Sensor (HO2S) Bank 2 Sensor 2 (LH8)
Connector 108: Heated Seat Element - Driver Back (KA1)
Connector 109: Heated Seat Element - Passenger Back (KA1)
Connector 110: Horn (without N04)
Connector 111: Horn A-Note (N04)
Connector 112: Horn F-Note (N04)
Connector 113: HVAC Control Module X1
Connector 114: HVAC Control Module X2
Connector 115: HVAC Control Module X3
Connector 116: I/P Courtesy Lamp - Left
Connector 117: I/P Courtesy Lamp - Right
Connector 118: Ignition Coil 1 (LH8)
Connector 119: Ignition Coil 1 (LLR)
Connector 120: Ignition Coil 2 (LH8)
Connector 121: Ignition Coil 2 (LLR)
Connector 122: Ignition Coil 3 (LH8)
Connector 123: Ignition Coil 3 (LLR)
Connector 124: Ignition Coil 4 (LH8)
Connector 125: Ignition Coil 4 (LLR)
Connector 126: Ignition Coil 5 (LH8)
Connector 127: Ignition Coil 5 (LLR)
Connector 128: Ignition Coil 6 (LH8)
Connector 129: Ignition Coil 7 (LH8)
Connector 130: Ignition Coil 8 (LH8)
Connector 131: Ignition Lock Cylinder Control Actuator (M30)
Connector 132: Ignition Switch
Connector 133: Inflatable Restraint Front End Sensor - Left
Connector 134: Inflatable Restraint Front End Sensor - Right
Connector 135: Inflatable Restraint I/P Module
Connector 136: Inflatable Restraint Front Passenger Presence System (PPS) Module
Connector 137: Inflatable Restraint Front Passenger Presence System (PPS) Sensor
Connector 138: Inflatable Restraint Roof Rail Module - Left (ASF)
Connector 139: Inflatable Restraint Roof Rail Module - Right (ASF)
Connector 140: Inflatable Restraint Seat Position Sensor - Driver
Connector 141: Inflatable Restraint Seat Position Sensor - Passenger
Connector 142: Inflatable Restraint Sensing and Diagnostic Module (SDM)
Connector 143: Inflatable Restraint Side Impact Sensor (SIS) - Left (ASF)
Connector 144: Inflatable Restraint Side Impact Sensor (SIS) - Right (ASF)
Connector 145: Inflatable Restraint Steering Wheel Module X1
Connector 146: Inflatable Restraint Steering Wheel Module X2
Connector 147: Inflatable Restraint Vehicle Rollover Sensor (ASF)
Connector 148: Input Speed Sensor (ISS) (M30)
Connector 149: Inside Rearview Mirror (ISRVM)
Connector 150: Instrument Panel Cluster (IPC)
Connector 151: Knock Sensor (KS) 1 (LH8)
Connector 152: Knock Sensor (KS) 2 (LH8)
Connector 153: Knock Sensor (KS) (LLR)
Connector 154: License Lamp (without EXP)
Connector 155: License Lamp - Left (EXP)
Connector 156: License Lamp - Right (EXP)
Connector 157: Liftgate Ajar Switch
Connector 158: Lumbar Adjuster/Heater Switch - Driver (AG1)
Connector 159: Lumbar Adjuster/Heater Switch - Passenger (AG2)
Connector 160: Seat Lumbar Motor - Driver (AG1)
Connector 161: Seat Lumbar Motor - Passenger (AG2)
Connector 162: Manifold Absolute Pressure (MAP) Sensor (LH8)
Connector 163: Manifold Absolute Pressure (MAP) Sensor (LLR)
Connector 164: Marker Lamp - Left Front
Connector 165: Marker Lamp - Right Front
Connector 166: Mass Air Flow (MAF)/Intake Air Temperature (IAT) Sensor
Connector 167: Mode Actuator
Connector 168: Outside Rearview Mirror - Driver
Connector 169: Outside Rearview Mirror - Passenger
Connector 170: Outside Rearview Mirror Switch
Connector 171: Park Brake Switch
Connector 172: Park/Neutral Position (PNP) Switch (M30)
Connector 173: Park/Turn Signal Lamp - Left Front (without EXP)
Connector 174: Park/Turn Signal Lamp - Right Front (without EXP)
Connector 175: Pressure Control (PC) Solenoid Valve (M30)
Connector 176: Radio X1
Connector 177: Radio X2
Connector 178: Rear Window Defogger X1
Connector 179: Rear Window Defogger X2
Connector 180: Rear Window Washer Fluid Pump
Connector 181: Rear Window Wiper Motor
Connector 182: Rear Window Wiper/Washer Switch
Connector 183: Rearview Camera (UVC)
Connector 184: Rearview Camera Image Display Module (UVC)
Connector 185: Recirculation Actuator
Connector 186: Repeater Lamp - Left (EXP)
Connector 187: Repeater Lamp - Right (EXP)
Connector 188: Roof Lamp - Left (UNJ)
Connector 189: Roof Lamp - Right (UNJ)
Connector 190: Roof Lamps Relay (UNJ)
Connector 191: Roof Lamps Switch (UNJ)
Connector 192: Roof Marker Lamps (UNH)
Connector 193: Seat Adjuster Switch - Driver (AG1)
Connector 194: Seat Adjuster Switch - Passenger (AG2)
Connector 195: Seat Belt Buckle - Driver
Connector 196: Seat Belt Buckle - Passenger X1 (without KA1)
Connector 197: Seat Belt Buckle - Passenger X1 (KA1)
Connector 198: Seat Belt Buckle - Passenger X2
Connector 199: Seat Belt Pretensioner - Driver
Connector 200: Seat Belt Pretensioner - Passenger
Connector 201: Seat Adjuster Motor Assembly - Driver (AG1)
Connector 202: Seat Adjuster Motor Assembly - Passenger (AG2)
Connector 203: Secondary Air Injection (AIR) Pump (K18)
Connector 204: Secondary Air Injection (AIR) Pump Relay (K18)
Connector 205: Secondary Air Injection (AIR) Pump Solenoid (K18)
Connector 206: Speaker - Left Front (UQA)
Connector 207: Speaker - Left Front (UQ3)
Connector 208: Speaker - Left Front Tweeter (UQA)
Connector 209: Speaker - Left Front Tweeter (UQ3)
Connector 210: Speaker - Left Rear (UQA)
Connector 211: Speaker - Left Rear (UQ3)
Connector 212: Speaker - Right Front (UQA)
Connector 213: Speaker - Right Front (UQ3)
Connector 214: Speaker - Right Front Tweeter (UQA)
Connector 215: Speaker - Right Front Tweeter (UQ3)
Connector 216: Speaker - Right Rear (UQA)
Connector 217: Speaker - Right Rear (UQ3)
Connector 218: Speaker - Subwoofer (UQA)
Connector 219: Starter Motor X1
Connector 220: Starter Motor X2
Connector 221: Steering Wheel Position Sensor
Connector 222: Stop Lamp Switch
Connector 223: Sunroof Motor (CF5)
Connector 224: Sunroof Switch (CF5)
Connector 225: Sunshade - Left (DH6)
Connector 226: Sunshade - Right (DH6)
Connector 227: Tail/Stop Lamp - Left (EXP)
Connector 228: Tail/Stop Lamp - Right (EXP)
Connector 229: Tail/Stop and Turn Signal Lamp - Left (without EXP)
Connector 230: Tail/Stop and Turn Signal Lamp - Right (without EXP)
Connector 231: Theft Deterrent Module (TDM)
Connector 232: Throttle Body
Connector 233: Torque Converter Clutch Pulse Width Modulated (TCC PWM) Solenoid Valve (M30)
Connector 234: Trailer Connector (UY7 without EXP)
Connector 235: Trailer Connector (EXP with B16)
Connector 236: Transfer Case Encoder Motor
Connector 237: Transfer Case Shift Control Module X1
Connector 238: Transfer Case Shift Control Module X2
Connector 239: Transfer Case Shift Control Module X3
Connector 240: Transmission Control Module (TCM) (M30)
Connector 241: Turn Signal Lamp - Left Front (EXP)
Connector 242: Turn Signal Lamp - Left Rear (EXP)
Connector 243: Turn Signal Lamp - Right Front (EXP)
Connector 244: Turn Signal Lamp - Right Rear (EXP)
Connector 245: Vehicle Communication Interface Module (VCIM) X1 (UE1)
Connector 246: Vehicle Communication Interface Module (VCIM) X2 (UE1)
Connector 247: Vehicle Speed Sensor (VSS)
Connector 248: Wheel Speed Sensor (WSS) - Left Front
Connector 249: Wheel Speed Sensor (WSS) - Left Rear
Connector 250: Wheel Speed Sensor (WSS) - Right Front
Connector 251: Wheel Speed Sensor (WSS) - Right Rear
Connector 252: Window Motor - Driver
Connector 253: Window Motor - Left Rear
Connector 254: Window Motor - Passenger
Connector 255: Window Motor - Right Rear
Connector 256: Window Switch - Left Rear
Connector 257: Window Switch - Right Rear
Connector 258: Windshield Washer Fluid Pump
Connector 259: Windshield Wiper Motor (LHD)
Connector 260: Windshield Wiper Motor (RHD)
Connector 261: Yaw and Lateral Accelerometer Sensor

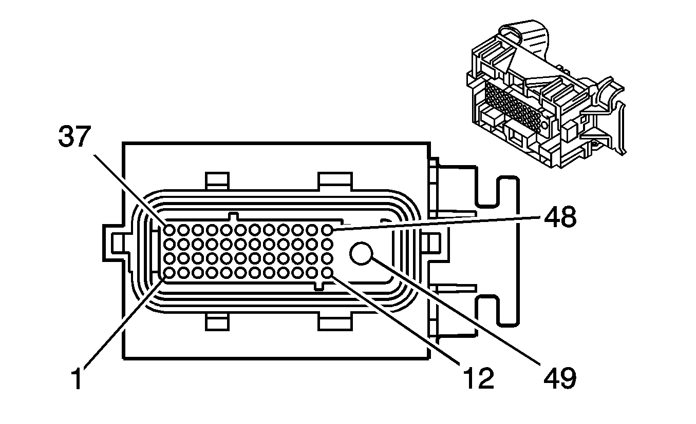
1-2 Shift Solenoid (SS) Valve (M30)


Object Number: 1910666  Size: CH

Connector Part Information

  • OEM: 15473843
  • Service: See Catalog
  • Description: 2-Way F Metri-Pack 150.2 Series (NA)

Terminal Part Information

  • Terminal/Tray: 12124075/5
  • Core/Insulation Crimp: E/C
  • Release Tool/Test Probe: 12180559-1/J-35616-14 (GN)

1-2 Shift Solenoid (SS) Valve (M30)

Pin

Wire

Circuit

Function

A

0.5 RD

839

Ignition Voltage

B

0.5 L-GN

1222

1-2 Shift Solenoid Valve Control

2-3 Shift Solenoid (SS) Valve (M30)


Object Number: 1910666  Size: CH

Connector Part Information

  • OEM: 15473843
  • Service: See Catalog
  • Description: 2-Way F Metri-Pack 150.2 Series (NA)

Terminal Part Information

  • Terminal/Tray: 12124075/5
  • Core/Insulation Crimp: E/C
  • Release Tool/Test Probe: 12180559-1/J-35616-14 (GN)

2-3 Shift Solenoid (SS) Valve (M30)

Pin

Wire

Circuit

Function

A

0.5 RD

839

Ignition Voltage

B

0.5 YE

1223

2-3 Shift Solenoid Valve Control

3-2 Shift Solenoid (SS) Valve Assembly (M30)


Object Number: 1910666  Size: CH

Connector Part Information

  • OEM: 15473843
  • Service: See Catalog
  • Description: 2-Way F Metri-Pack 150.2 Series (NA)

Terminal Part Information

  • Terminal/Tray: 12124075/5
  • Core/Insulation Crimp: E/C
  • Release Tool/Test Probe: 12180559-1/J-35616-14 (GN)

3-2 Shift Solenoid (SS) Valve Assembly (M30)

Pin

Wire

Circuit

Function

A

0.5 WH

687

3-2 Shift Solenoid Valve Control

B

0.5 RD

839

Ignition Voltage

A/C Compressor Clutch


Object Number: 1334534  Size: CH

Connector Part Information

  • OEM: 12162017
  • Service: 12101937
  • Description: 2-Way F Metri-Pack 150 Series Sealed (GY)

Terminal Part Information

  • Terminal/Tray: 12048074/2
  • Core/Insulation Crimp: E/1
  • Release Tool/Test Probe: 12094429/J-35616-2A (GY)

A/C Compressor Clutch

Pin

Wire

Circuit

Function

A

0.35 BK

550

Ground

B

0.35 D-GN

59

A/C Compressor Clutch Control

A/C Refrigerant Pressure Sensor


Object Number: 1567085  Size: CH

Connector Part Information

  • OEM: 15397275
  • Service: 88988301
  • Description: 3-Way F Metri-Pack 150 Series Sealed (BK)

Terminal Part Information

  • Terminal/Tray: 15326267/19
  • Core/Insulation Crimp: E/4
  • Release Tool/Test Probe: 15315247/J-35616-2A (GY)

A/C Refrigerant Pressure Sensor

Pin

Wire

Circuit

Function

1

0.35 BK

2751

Low Reference

2

0.35 GY

2700

5-Volt Reference

3

0.35 RD/BK

380

A/C Refrigerant Pressure Sensor Signal

Accelerator Pedal Position (APP) Sensor


Object Number: 1468854  Size: CH

Connector Part Information

  • OEM: 6-929264-1
  • Service: 89046653
  • Description: 6-Way F MT2 Housing, Sealed (BK)

Terminal Part Information

  • Terminal/Tray: See Terminal Kit
  • Core/Insulation Crimp: See Terminal Kit
  • Release Tool/Test Probe: See Terminal Kit

Accelerator Pedal Position (APP) Sensor

Pin

Wire

Circuit

Function

1

0.35 TN

1274

5-Volt Reference

2

0.35 WH/BK

1164

5-Volt Reference

3

0.35 D-BU

1161

APP Sensor 1 Signal

4

0.35 BN

1271

Low Reference

5

0.35 PU

1272

Low Reference

6

0.35 L-BU

1162

APP Sensor 2 Signal

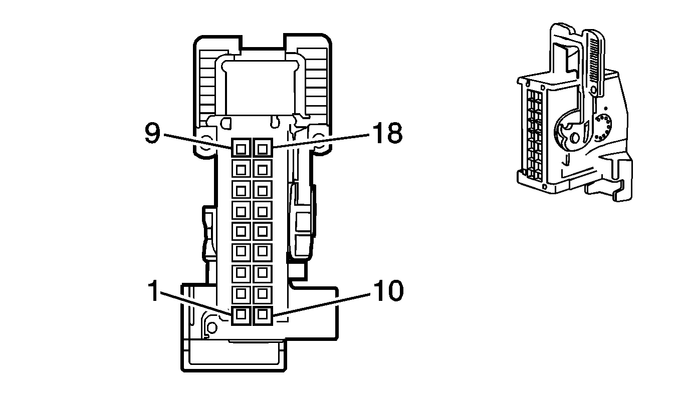
Accessory Switch


Object Number: 850856  Size: CH

Connector Part Information

  • OEM: 15394150
  • Service: See Catalog
  • Description: 16-Way F Micro 64 Series (BK)

Terminal Part Information

  • Terminal/Tray: 15359541/4
  • Core/Insulation Crimp: M/M
  • Release Tool/Test Probe: 15381651-2/J-35616-64A (L-BU)

Accessory Switch

Pin

Wire

Circuit

Function

1

0.35 PU/WH

1565

4 LO LOCK Indicator Control

2

0.35 YE

234

Seat Belt Indicator Control

3

0.35 D-BU

2307

Passenger Air Bag On Indicator Control

4

--

--

Not Used

5

0.35 YE

1139

Ignition Voltage

6

0.35 D-GN

2308

Passenger Air Bag Off Indicator Control

7

0.35 BN

241

Ignition Voltage

8

0.35 PK

1561

Differential Lock Indicator Control

9

0.35 TN/BK

1566

4 HI LOCK Indicator Control

10

0.35 BN

1560

Neutral Indicator Control

11

0.35 L-GN/BK

1563

4 HI Indicator Control

12

0.8 GY

8

Instrument Panel Lamps Dimmer Switch Signal

13

0.8 BK

2050

Ground

14

0.35 BN/WH

1571

Traction Control Switch Signal

15

0.35 L-BU

1693

Switch Signal

16

0.35 GY

596

5-Volt Reference

Air Temperature Actuator - Left


Object Number: 258172  Size: CH

Connector Part Information

  • OEM: 12064982
  • Service: 12102633
  • Description: 5-Way F Micro-Pack 100 Series (BK)

Terminal Part Information

  • Terminal/Tray: 12146447/3
  • Core/Insulation Crimp: E/C
  • Release Tool/Test Probe: 12031876-1/J-35616-6 (BN)

Air Temperature Actuator - Left

Pin

Wire

Circuit

Function

1

0.5 YE

1791

Low Reference

2

0.35 L-BU

733

Left Air Temperature Door Position Signal

3

0.5 L-BU/BK

1688

5-Volt Reference

4

0.35 D-BU

1199

Left Air Temperature Door Control B

5

0.5 L-GN/BK

1647

Air Temperature Door Control A

Air Temperature Actuator - Right


Object Number: 258172  Size: CH

Connector Part Information

  • OEM: 12064982
  • Service: 12102633
  • Description: 5-Way F Micro-Pack 100 Series (BK)

Terminal Part Information

  • Terminal/Tray: 12146447/3
  • Core/Insulation Crimp: E/C
  • Release Tool/Test Probe: 12031876-1/J-35616-6 (BN)

Air Temperature Actuator - Right

Pin

Wire

Circuit

Function

1

0.5 YE

1791

Low Reference

2

0.35 D-BU

1646

Right Air Temperature Door Position Signal

3

0.5 L-BU/BK

1688

5-Volt Reference

4

0.5 L-GN/BK

1647

Air Temperature Door Control A, Late Production

5

0.5 TN

2273

Mode/Right Air Temperature Door Control B

Ambient Air Temperature Sensor


Object Number: 684793  Size: CH

Connector Part Information

  • OEM: 12052642
  • Service: 12101856
  • Description: 2-Way F Metri-Pack 150 Series, Sealed (BK)

Terminal Part Information

  • Terminal/Tray: 12048074/2
  • Core/Insulation Crimp: E/1
  • Release Tool/Test Probe: 12094429/J-35616-2A (GY)

Ambient Air Temperature Sensor

Pin

Wire

Circuit

Function

A

0.35 D-GN/WH

636

Ambient Air Temperature Sensor Signal

B

0.35 YE

61

Low Reference

Ambient Light Sensor


Object Number: 82383  Size: CH

Connector Part Information

  • OEM: 12047662
  • Service: 12085535
  • Description: 2-Way F Metri-Pack 150 Series (BK)

Terminal Part Information

  • Terminal/Tray: 12064971/5
  • Core/Insulation Crimp: E/C
  • Release Tool/Test Probe: 12094429/J-35616-2A (GY)

Ambient Light Sensor

Pin

Wire

Circuit

Function

A

0.35 WH

278

Ambient Light Sensor Signal

B

0.35 BK

279

Low Reference

Audio Amplifier X1 (UQA)


Object Number: 1566784  Size: CH

Connector Part Information

  • OEM: 7283-9076-30
  • Service: 15136073
  • Description: 16-Way F 064 USCAR (BK)

Terminal Part Information

  • Terminal/Tray: SAIT-A03T-M064/14
  • Core/Insulation Crimp: P/P
  • Release Tool/Test Probe: J-38125-215A/J-35616-64B (L-BU)

Audio Amplifier X1 (UQA)

Pin

Wire

Circuit

Function

1

0.35 TN

511

Left Front Low Level Audio Signal (+)

2

0.35 D-GN

1947

Left Front Low Level Audio Signal (-)

3

0.35 D-GN/WH

1547

Left Rear Low Level Audio Signal (-)

4

0.35 BN

599

Left Rear Low Level Audio Signal (+)

5

0.35 OG

5748

Radio Mute Signal

6

0.35 PK

314

Radio On Signal

7-8

--

--

Not Used

9

0.35 OG/BK

1546

Right Front Low Level Audio Signal (-)

10

0.35 L-GN

512

Right Front Low Level Audio Signal (+)

11

0.35 D-BU

546

Right Rear Low Level Audio Signal (+)

12

0.35 BK

1946

Right Rear Low Level Audio Signal (-)

13-16

--

--

Not Used

Audio Amplifier X2 (UQA)


Object Number: 1566781  Size: CH

Connector Part Information

  • OEM: 6098-4611
  • Service: 15134091
  • Description: 16-Way F (BK)

Terminal Part Information

  • Terminal/Tray: 8240-0128/22
  • Core/Insulation Crimp: Pins 1-8: E/C
  • Core/Insulation Crimp: Pins 13-16: C/A
  • Release Tool/Test Probe: 15315247/J-35616-2A (GY)

Audio Amplifier X2 (UQA)

Pin

Wire

Circuit

Function

1

0.8 BK

1856

Left Front Tweeter Speaker Output (+)

2

0.8 YE

1956

Left Front Tweeter Speaker Output (-)

3

0.8 L-GN

1852

Right Front Tweeter Speaker Output (+)

4

0.8 PU

1952

Right Front Tweeter Speaker Output (-)

5

0.8 YE

116

Left Rear Speaker Output (-)

6

0.8 BN

199

Left Rear Speaker Output (+)

7

0.8 L-BU

115

Right Rear Speaker Output (-)

8

0.8 D-BU

46

Right Rear Speaker Output (+)

9-12

--

--

Not Used

13

1 L-GN

200

Right Front Speaker Output (+)

14

1 D-GN

117

Right Front Speaker Output (-)

15

1 TN

201

Left Front Speaker Output (+)

16

1 GY

118

Left Front Speaker Output (-)

Audio Amplifier X3 (UQA)


Object Number: 1566782  Size: CH

Connector Part Information

  • OEM: 6098-4713
  • Service: 88988652
  • Description: 8-Way F (BK)

Terminal Part Information

  • Pins: 1-2
  • Terminal/Tray: 8100-4445/22
  • Core/Insulation Crimp: 4/4
  • Release Tool/Test Probe: 15315247/J-35616-3 (GY)
  • Pins: 3-8
  • Terminal/Tray: 8100-4444/22
  • Core/Insulation Crimp: 2/A
  • Release Tool/Test Probe: 15315247/J-35616-3 (GY)

Audio Amplifier X3 (UQA)

Pin

Wire

Circuit

Function

1

2 OG

1140

Battery Positive Voltage

2

2 BK/WH

1151

Ground

3

0.8 D-BU/WH

346

Left Subwoofer Speaker Output (+)

4

0.8 L-GN/BK

1794

Left Subwoofer Speaker Output (-)

5-6

--

--

Not Used

7

0.8 L-BU/BK

315

Right Subwoofer Speaker Output (-)

8

0.8 D-GN

1795

Right Subwoofer Speaker Output (+)

Automatic Transmission Shift Lever (M30)


Object Number: 40422  Size: CH

Connector Part Information

  • OEM: 12064762
  • Service: 12125665
  • Description: 6-Way F Metri-Pack 150 Series (GY)

Terminal Part Information

  • Pin: A
  • Terminal/Tray: 12047767/2
  • Core/Insulation Crimp: E/A
  • Release Tool/Test Probe: 12094429/J-35616-2A (GY)
  • Pins: B-F
  • Terminal/Tray: 120064971/5
  • Core/Insulation Crimp: E/C
  • Release Tool/Test Probe: 12094429/J-35616-2A (GY)

Automatic Transmission Shift Lever (M30)

Pin

Wire

Circuit

Function

A

1 BK

1450

Ground

B

0.35 BN

323

Shift Solenoid Control

C

0.5 YE

1996

Ignition Lock Cylinder Control Actuator

D-E

--

--

Not Used

F

0.5 YE

243

Ignition Voltage

Automatic Transmission Fluid Pressure Manual Valve Position Switch (M30)


Object Number: 168424  Size: CH

Connector Part Information

  • OEM: 12162213
  • Service: 12162213
  • Description: 5-Way F Metri-Pack 150.2 P2 Series (NA)

Terminal Part Information

  • Terminal/Tray: 12124075/5
  • Core/Insulation Crimp: E/C
  • Release Tool/Test Probe: 12180559-1/J-35616-14 (GN)

Automatic Transmission Fluid Pressure Manual Valve Position Switch (M30)

Pin

Wire

Circuit

Function

A

0.5 BN

1227

TFT Sensor Signal

B

0.5 GY

452

Low Reference

C

0.5 PK

1224

Transmission Fluid Pressure Switch Signal A

D

0.5 OG

1226

Transmission Fluid Pressure Switch Signal C

E

0.5 D-BU

1225

Transmission Fluid Pressure Switch Signal B

Accessory Power Outlet - I/P 1


Object Number: 362748  Size: CH

Connector Part Information

  • OEM: 12176836
  • Service: 15305923
  • Description: 3-Way F Metri-Pack 280 Series Flex Lock (GY)

Terminal Part Information

  • Terminal/Tray: 12129424/4
  • Core/Insulation Crimp: See Terminal Kit
  • Release Tool/Test Probe: See Terminal Kit

Accessory Power Outlet - I/P 1

Pin

Wire

Circuit

Function

A

0.8 OG

40

Battery Positive Voltage

0.8 OG

40

Battery Positive Voltage

B

--

--

Not Used

C

0.8 BK

2050

Ground

Accessory Power Outlet - I/P 2


Object Number: 362748  Size: CH

Connector Part Information

  • OEM: 12176836
  • Service: 15305923
  • Description: 3-Way F Metri-Pack 280 Series Flex Lock (GY)

Terminal Part Information

  • Terminal/Tray: 12110844/4
  • Core/Insulation Crimp: C/A
  • Release Tool/Test Probe: 15315247/J-35616-4A (PU)

Accessory Power Outlet - I/P 2

Pin

Wire

Circuit

Function

A

0.8 OG

240

Battery Positive Voltage

B

--

--

Not Used

C

0.8BK

2050

Ground

Accessory Power Outlet - Rear


Object Number: 362748  Size: CH

Connector Part Information

  • OEM: 12176836
  • Service: 15305923
  • Description: 3-Way F Metri-Pack 280 Series Flex Lock (GY)

Terminal Part Information

  • Terminal/Tray: 12110844/4
  • Core/Insulation Crimp: C/A
  • Release Tool/Test Probe: 15315247/J-35616-4A (PU)

Accesory Power Outlet - Rear

Pin

Wire

Circuit

Function

A

0.8OG

240

Battery Positive Voltage

B

--

--

Not Used

C

0.8BK

1550

Ground

Backup Lamp - Left


Object Number: 1717007  Size: CH

Connector Part Information

  • OEM: 16530673
  • Service: Not Serviced
  • Description: 3-Way F Lamp Socket (L-GY)

Backup Lamp - Left

Pin

Wire

Circuit

Function

A

0.5 L-GN

24

Backup Lamp Control

B

--

--

Not Used

G

0.5 BK

1450

Ground

Backup Lamp - Right


Object Number: 1717007  Size: CH

Connector Part Information

  • OEM: 16530673
  • Service: Not Serviced
  • Description: 3-Way F Lamp Socket (L-GY)

Backup Lamp - Right

Pin

Wire

Circuit

Function

A

0.5 L-GN

24

Backup Lamp Control

B

--

--

Not Used

G

0.5 BK

1550

Ground

Backup Lamp Switch (MA5)


Object Number: 516604  Size: CH

Connector Part Information

  • OEM: 12103584
  • Service: 12085485
  • Description: 2-Way M Weather Pack Tower Series, Sealed (BN)

Terminal Part Information

  • Terminal/Tray: 12089040/3
  • Core/Insulation Crimp: E/5
  • Release Tool/Test Probe: 12014012-1/J-35616-9 (OG)

Backup Lamp Switch (MA5)

Pin

Wire

Circuit

Function

A

0.5 PK

539

Ignition Voltage

B

0.5 L-GN

24

Backup Lamp Control

Battery -

Terminal Part Information

  • Terminal: R3311-031
  • Core/Insulation Crimp: N/A
  • Description: Ring Terminal

Battery -

Pin

Wire

Circuit

Function

A

8 BK

150

Ground

19 BK

650

Ground

Battery +

Terminal Part Information

  • Terminal: R3311-033
  • Core/Insulation Crimp: N/A
  • Description: Ring Terminal

Battery +

Pin

Wire

Circuit

Function

A

19 RD

1

Battery Positive Voltage

13 RD

1

Battery Positive Voltage

3 RD

340

Battery Positive Voltage

Blower Motor


Object Number: 1658766  Size: CH

Connector Part Information

  • OEM: 7283-5590-40
  • Service: 88988702
  • Description: 2-Way F 6.3 System (L-GY)

Terminal Part Information

  • Terminal/Tray: 7116-4122-02/10
  • Core/Insulation Crimp: A/B
  • Release Tool/Test Probe: 12094430/J-35616-42 (RD)

Blower Motor

Pin

Wire

Circuit

Function

1

3 OG

52

High Blower Motor Control

2

3 BN

141

Ignition 3 Voltage

Blower Motor High Speed Relay


Object Number: 281199  Size: CH

Connector Part Information

  • OEM: 12034003
  • Service: 88987189
  • Description: 5-Way F Special Metri-Pack 630 Series (BK)

Terminal Part Information

  • Pins: 1-4
  • Terminal/Tray: See Terminal Kit
  • Core/Insulation Crimp: See Terminal Kit
  • Release Tool/Test Probe: See Terminal Kit
  • Pins: 5
  • Terminal/Tray: 12015869/3
  • Core/Insulation Crimp: E/A
  • Release Tool/Test Probe: 12094430/J-35616-42 (RD)

Blower Motor High Speed Relay

Pin

Wire

Circuit

Function

1

3 BK

2050

Ground

2

0.35 BN

141

Ignition Voltage

3

--

--

Not Used

4

3 OG

52

High Blower Motor Control

5

0.5 OG

52

High Blower Motor Control

Blower Motor Resistor Assembly


Object Number: 62451  Size: CH

Connector Part Information

  • OEM: 12059296
  • Service: See Catalog
  • Description: 5-Way F Metri-Pack 480 Series (RD)

Terminal Part Information

  • Pins: A, E
  • Terminal/Tray: 12084595/2
  • Core/Insulation Crimp: F/G
  • Release Tool/Test Probe: 12094430/J-35616-40 (BU)
  • Pins: B-D
  • Terminal/Tray: 12124304/2
  • Core/Insulation Crimp: A/B
  • Release Tool/Test Probe: 12094430/J-35616-40 (BU)

Blower Motor Resistor Assembly

Pin

Wire

Circuit

Function

A

3 OG

52

High Blower Motor Control

B

2 YE

60

Low Blower Motor Control

C

2 TN

63

Medium Blower Motor Control

D

2 L-BU

72

Medium 2 Blower Motor Control

E

3 OG

52

High Blower Motor Control

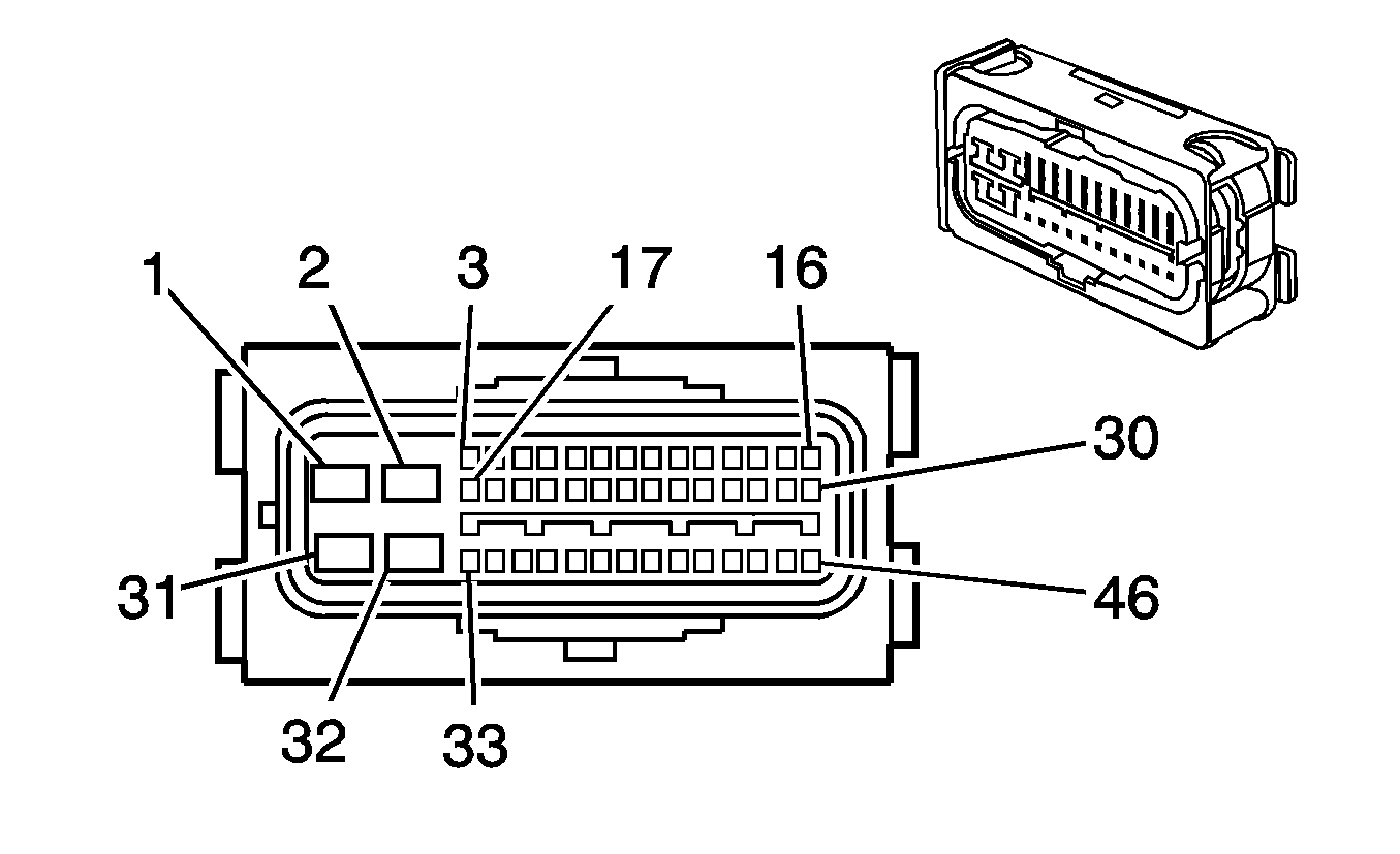
Body Control Module (BCM) X1


Object Number: 1567229  Size: CH

Connector Part Information

  • OEM: 15480437
  • Service: 88988604
  • Description: 56-Way F GT 280/Micro 64 Series (BK)

Terminal Part Information

  • Pins: A2-A6, A8-A48
  • Terminal/Tray: 15359541/4
  • Core/Insulation Crimp: M/M
  • Release Tool/Test Probe: 15381651-2/J-35616-64A (L-BU)
  • Pins: A7, B1-B8
  • Terminal/Tray: 15304711/8
  • Core/Insulation Crimp: Pins B3-B4, B6-B8: E/A, Pins A7, B1-B2, B5: 2/A
  • Release Tool/Test Probe: 15315247/J-35616-4A (PU)

Body Control Module (BCM) X1

Pin

Wire

Circuit

Function

A1

--

--

Not Used

A2

0.35 YE

317

Fog Lamp Relay Control

A3

0.5 L-BU

14

Left Turn Signal Lamp Control

A4

--

--

Not Used

A5

0.35 PK/WH

1970

Headlamp Relay Control

A6

0.35 BK

755

RAP Relay Coil Control

A7

0.5 OG

2040

Battery Positive Voltage

A8

0.35 D-GN

113

Windshield Wiper Switch Signal 2

A9

--

--

Not Used

A10

0.35 WH

193

Rear Defog Relay Control

A11

0.35 L-BU

244

Passenger Door Lock Switch Lock Control

A12

0.35 WH

194

Door Unlock Control

A13-A17

--

--

Not Used

A18

0.35 BK/WH

1969

Headlamp High Beam Relay Control

A19

0.5 D-BU

15

Right Turn Signal Lamps Control

A20

0.35 YE

196

Windshield Wiper Motor Park Switch Signal

A21-A23

--

--

Not Used

A24

0.35 BN/WH

301

Park Lamp Relay Control

A25

--

--

Not Used

A26

0.35 RD/BK

1594

Ignition Relay Control

A27-A28

--

--

Not Used

A29

0.5 OG

1732

Inadvertent Power Control

A30

0.5 OG

1732

Inadvertent Power Control

A31

0.8 L-BU

1134

Park Brake Switch Signal

A32

0.35 GY/BK

745

Left Front Door Ajar Switch Signal (LHD)

0.35 L-GN/BK

748

Right Front Door Ajar Switch Signal (RHD)

A33-A35

--

--

Not Used

A36

0.35 PU

544

DRL Relay Control

A37

0.5 L-BU

20

Stop Lamp Control

A38

0.35 L-GN/BK

748

Right Front Door Ajar Switch Signal (LHD)

0.35 BK

745

Left Front Door Ajar Switch Signal (RHD)

A39

0.35 BK/WH

746

Left Rear Door Ajar Switch Signal

A40

0.35 BK

28

Horn Relay Control

A41

0.35 PU

1807

Class 2 Serial Data

A42

0.35 PU

1807

Class 2 Serial Data

A43

0.35 D-GN/WH

762

A/C Request Signal

A44

0.35 L-BU/BK

747

Right Rear Door Ajar Switch Signal

A45

--

--

Not Used

A46

0.35 WH

156

Courtesy Lamp Low Control

A47

0.35 PU

1807

Class 2 Serial Data

A48

0.5 BN

2509

Left Rear Park Lamps Control

B1

1 YE

18

Left Rear Stop/Turn Lamp Control (without EXP)

1 YE

618

Left Rear Stop/Turn Lamp Control (EXP)

B2

1 D-GN

19

Right Rear Stop/Turn Lamp Control (without EXP)

1 D-GN

619

Right Rear Stop/Turn Lamp Control (EXP)

B3

0.5 BK/WH

1251

Ground

B4

0.5 RD

228

Windshield Washer Pump Control

B5

1 OG

840

Battery Positive Voltage

B6

0.5 D-BU

338

Ignition Voltage

B7

0.5 BN

4

Ignition Voltage

B8

0.5 OG

1340

Battery Positive Voltage

Body Control Module (BCM) X2


Object Number: 1567229  Size: CH

Connector Part Information

  • OEM: 15480439
  • Service: 88988604
  • Description: 56-Way F GT 280/Micro 64 Series (GY)

Terminal Part Information

  • Pins: A1-A48
  • Terminal/Tray: 15359541/4
  • Core/Insulation Crimp: M/M
  • Release Tool/Test Probe: 15381651-2/J-35616-64A (L-BU)
  • Pins: B5-B8
  • Terminal/Tray: 15304711/8
  • Core/Insulation Crimp: E/A
  • Release Tool/Test Probe: 15315247/J-35616-4A (PU)

Body Control Module (BCM) X2

Pin

Wire

Circuit

Function

A1

0.35 PU

524

Headlamp Dimmer Switch High Beam Signal

A2

0.35 WH

103

Headlamp Switch Headlamps On Signal

A3

0.35 GY

112

Windshield Wiper Switch Signal 1

A4

0.35 BN/WH

230

Instrument Panel Lamps Dimming Control

A5

0.35 YE

183

Front Fog Lamp Indicator Control

A6

0.35 L-BU

2114

Left Rear Turn Signal Lamp Control (without EXP)

0.35 D-BU

184

Rear Fog Lamp Indicator Control (EXP)

A7

0.35 BN/WH

301

Park Lamp Switch Signal

A8

0.35 BN

1356

Flash To Pass Switch Signal

A9

0.35 PU/WH

549

Headlamp Switch Headlamps Off Signal

A10

0.35 PU

719

Low Reference

A11

0.35 D-BU/WH

1495

Dome Override Switch Signal

A12

0.35 PU

328

Interior Lamp Switch Signal

A13

0.35 D-BU/WH

6796

ONSTAR Voice Recognition Switch Signal

A14

0.35 WH

1390

Ignition Voltage

A15-A16

--

--

Not Used

A17

0.35 BN/WH

1571

Traction Control Switch Signal

A18

0.35 OG

192

Front Fog Lamp Switch Signal

A19

0.35 GY

728

Security Indicator Control

A20-A22

--

--

Not Used

A23

0.35 L-BU

187

Rear Fog Lamp Switch Signal (EXP)

A24

0.35 L-BU

292

Rear Defog Switch Signal

A25

0.35 BK

28

Horn Relay Control

A26

0.35 D-BU

2115

Right Rear Turn Signal Lamp Control (without EXP)

A27

0.8 GY

8

Instrument Panel Lamps Dimmer Switch Signal

A28

0.35 GY

8

Instrument Panel Lamps Dimmer Switch Signal

A29

0.35 GY

8

Instrument Panel Lamps Dimmer Switch Signal

A30

0.35 GY

8

Instrument Panel Lamps Dimmer Switch Signal

A31

0.35 BN

323

Shift Solenoid Control

A32

0.35 TN

683

Rear Defog Indicator Control

A33

0.35 GY

8

Instrument Panel Lamps Dimmer Switch Signal

A34

0.35 GY

8

Instrument Panel Lamps Dimmer Switch Signal

A35

--

--

Not Used

A36

0.35 GY

8

Instrument Panel Lamps Dimmer Switch Signal

A37

0.35 WH

278

Ambient Light Sensor Signal

A38

0.35 PU

1807

Class 2 Serial Data

A39

0.35 PU

1807

Class 2 Serial Data

A40

0.5 OG

1732

Inadvertent Power Control

A41

0.5 WH

156

Courtesy Lamp Low Control

A42

0.35 WH/BK

1073

Ignition Key Resistor Signal

A43

0.35 BK

279

Low Reference

A44

0.35 PU

1807

Class 2 Serial Data

A45

0.35 L-BU

1508

Turn Signal Switch Signal

A46

0.5 OG

1732

Courtesy Lamp Control

A47

0.5 WH

156

Courtesy Lamp Low Control

A48

0.35 WH

111

Hazard Switch Signal

B1-B4

--

--

Not Used

B5

0.5 RD

228

Windshield Washer Pump Control

B6

--

--

Not Used

B7

0.35 BN

4

Ignition Voltage

B8

0.35 D-BU

338

Ignition Voltage

Brake Fluid Level Switch


Object Number: 1567081  Size: CH

Connector Part Information

  • OEM: 4F5288
  • Service: 15201888
  • Description: 2-Way F 2.3 II Series, Sealed (GY)

Terminal Part Information

  • Terminal/Tray: 8100-0460/6
  • Core/Insulation Crimp: E/1
  • Release Tool/Test Probe: 15315247/J-35616-2A (GY)

Brake Fluid Level Switch

Pin

Wire

Circuit

Function

1

0.5 BK

850

Ground (LHD)

0.5 BK

2050

Ground (RHD)

2

0.35 PK

849

Brake Fluid Level Sensor Signal

Camshaft Position (CMP) Actuator Solenoid Valve (LLR)


Object Number: 523630  Size: CH

Connector Part Information

  • OEM: 15326801
  • Service: 15306156
  • Description: 2-Way F GT 150 Series, Sealed (BK)

Terminal Part Information

  • Terminal/Tray: 12191819/8
  • Core/Insulation Crimp: E/A
  • Release Tool/Test Probe: 15315247/J-35616-2A (GY)

Camshaft Position (CMP) Actuator Solenoid Valve (LLR)

Pin

Wire

Circuit

Function

A

0.5 BN

2198

CMP Actuator Solenoid High Control

B

0.5 BK

2199

Low Reference

Camshaft Position (CMP) Sensor (LH8)


Object Number: 516611  Size: CH

Connector Part Information

  • OEM: 12059595
  • Service: 88986451
  • Description: 3-Way F Metri-Pack 150 Series Sealed (BK)

Terminal Part Information

  • Terminal/Tray: 12048074/2
  • Core/Insulation Crimp: E/1
  • Release Tool/Test Probe: 12094429/J-35616-2A (GY)

Camshaft Position (CMP) Sensor (LH8)

Pin

Wire

Circuit

Function

A

0.5 RD

6259

5-Volt Reference

B

0.5 PK/BK

6260

Low Reference

C

0.5 BN/WH

6265

CMP Sensor Signal

Camshaft Position (CMP) Sensor (LLR)


Object Number: 726825  Size: CH

Connector Part Information

  • OEM: 15355370
  • Service: 15306431
  • Description: 3-Way F GT 150 Series, Sealed (BK)

Terminal Part Information

  • Terminal/Tray: 15326267/19
  • Core/Insulation Crimp: E/4
  • Release Tool/Test Probe: 15315247/J-35616-2A (GY)

Camshaft Position (CMP) Sensor (LLR)

Pin

Wire

Circuit

Function

A

0.35 RD

631

12-Volt Reference

B

0.35 BK

630

Camshaft Position Signal

C

0.35 PK/BK

632

Low Reference

Cellular Microphone (UE1)


Object Number: 35441  Size: CH

Connector Part Information

  • OEM: 12047663
  • Service: 12085481
  • Description: 2-Way M Metri-Pack 150 Series (BK)

Terminal Part Information

  • Terminal/Tray: 12047581/2
  • Core/Insulation Crimp: E/C
  • Release Tool/Test Probe: 12094429/J-35616-3 (GY)

Cellular Microphone (UE1)

Pin

Wire

Circuit

Function

A

0.35 BARE

1705

Drain Wire

B

0.35 GY

655

Cellular Microphone Signal

Center High Mounted Stop Lamp (CHMSL)


Object Number: 1335523  Size: CH

Connector Part Information

  • OEM: 43645-0200
  • Service: 88988705
  • Description: 2-Way F Micro Fit (3.0) (BK)

Terminal Part Information

  • Terminal/Tray: 43030-0010/23
  • Core/Insulation Crimp: H/H
  • Release Tool/Test Probe: J-38125-213/J-35616-64A (L-BU)

Center High Mounted Stop Lamp (CHMSL)

Pin

Wire

Circuit

Function

1

0.5 BK

1450

Ground

2

0.5 L-BU

20

Stop Lamp Control

Clutch Pedal Position (CPP) Sensor (MA5)


Object Number: 1243663  Size: CH

Connector Part Information

  • OEM: 15332132
  • Service: 88953364
  • Description: 3-Way F GT 150 Series (BK)

Terminal Part Information

  • Terminal/Tray: 15393150/5
  • Core/Insulation Crimp: E/C
  • Release Tool/Test Probe: 15315247/J-35616-2A (GY)

Clutch Pedal Position (CPP) Sensor (MA5)

Pin

Wire

Circuit

Function

A

0.35 D-GN

6293

5-Volt Reference

B

0.35 D-BU

6306

Clutch Position Sensor Signal

C

0.35 D-GN/WH

6294

Low Reference

Crankshaft Position (CKP) Sensor (LH8)


Object Number: 684840  Size: CH

Connector Part Information

  • OEM: 12129946
  • Service: 88987997
  • Description: 3-Way F Metri-Pack 150 Series Sealed (GY)

Terminal Part Information

  • Terminal/Tray: 12048074/2
  • Core/Insulation Crimp: E/1
  • Release Tool/Test Probe: 12094429/J-35616-2A (GY)

Crankshaft Position (CKP) Sensor (LH8)

Pin

Wire

Circuit

Function

A

0.5 WH/BK

6271

CKP Sensor Signal

B

0.5 GY/BK

6272

Low Reference

C

0.5 PU/WH

6270

5-Volt Reference

Crankshaft Position (CKP) Sensor (LLR)


Object Number: 1331456  Size: CH

Connector Part Information

  • OEM: 15393906
  • Service: 89046834
  • Description: 3-Way F GT 150 Series, Sealed (BK)

Terminal Part Information

  • Terminal/Tray: 15326429/5
  • Core/Insulation Crimp: E/4
  • Release Tool/Test Probe: 15315247/J-35616-2A (GY)

Crankshaft Position (CKP) Sensor (LLR)

Pin

Wire

Circuit

Function

A

0.5 L-GN

1867

5-Volt Reference

B

0.5 D-BU/WH

1869

Low Reference

C

0.5 YE/BK

1868

CKP Sensor Signal

Cruise Control Release Switch


Object Number: 1334478  Size: CH

Connector Part Information

  • OEM: 7123-6024-40
  • Service: 80946651
  • Description: 2-Way F 58 M-Type (GY)

Terminal Part Information

  • Terminal/Tray: 7116-2875/10
  • Core/Insulation Crimp: E/B
  • Release Tool/Test Probe: 12094430/J-35616-42 (RD)

Cruise Control Release Switch

Pin

Wire

Circuit

Function

1

0.35 PK

339

Ignition Voltage

2

0.35 PU

420

Cruise Control Release Signal

Data Link Connector (DLC)


Object Number: 808656  Size: CH

Connector Part Information

  • OEM: 15317575
  • Service: See Catalog
  • Description: 16-Way F Metri-Pack 150 Series (BK)

Terminal Part Information

  • Pins: 2, 4
  • Terminal/Tray: 12129484/5
  • Core/Insulation Crimp: See Terminal Kit
  • Release Tool/Test Probe: See Terminal Kit
  • Pins: 5, 16
  • Terminal/Tray: 12129484/5
  • Core/Insulation Crimp: E/A
  • Release Tool/Test Probe: 12094429/J-35616-2A (GY)

Data Link Connector (DLC)

Pin

Wire

Circuit

Function

1

--

--

Not Used

2

0.35 PU

1807

Class 2 Serial Data

3

--

--

Not Used

4

0.35 BK

2050

Ground

5

0.8 BK/WH

1151

Ground

6

0.35 TN/WH

2500

GM High Speed LAN Serial Data +

7-13

--

--

Not Used

14

0.35 TN

2501

GM High Speed LAN Serial Data -

15

--

--

Not Used

16

0.8 OG

40

Battery Positive Voltage

Data Link Resistor


Object Number: 523630  Size: CH

Connector Part Information

  • OEM: 15326801
  • Service: 15306156
  • Description: 2-Way F GT 150 Series, Sealed (BK)

Terminal Part Information

  • Terminal/Tray: 12191819/8
  • Core/Insulation Crimp: E/A
  • Release Tool/Test Probe: 15315247/J-35616-2A (GY)

Data Link Resistor

Pin

Wire

Circuit.

Function

A

0.5 TN/WH

2500

High Speed GMLAN Serial Data Bus +

B

0.5 TN

2501

High Speed GMLAN Serial Data Bus -

Differential Lock Actuator (G94)


Object Number: 523630  Size: CH

Connector Part Information

  • OEM: 15326801
  • Service: 15306156
  • Description: 2-Way F GT 150 Series Sealed (BK)

Terminal Part Information

  • Terminal/Tray: 12191819/8
  • Core/Insulation Crimp: 2/A
  • Release Tool/Test Probe: 15315247/J-35616-2A (GY)

Differential Lock Actuator (G94)

Pin

Wire

Circuit

Function

A

1 BK

1725

Low Reference

B

1 L-GN

2659

Rear Differential Lock High Control

Digital Radio Receiver (U2K)


Object Number: 850856  Size: CH

Connector Part Information

  • OEM: 15394150
  • Service: See Catalog
  • Description: 16-Way F Micro 64 Series (BK)

Terminal Part Information

  • Pins: 2-7, 10
  • Terminal/Tray: 15394147/4
  • Core/Insulation Crimp: M/M
  • Release Tool/Test Probe: 15381651-2/J-35616-64A (L-BU)
  • Pins: 9, 11, 16
  • Terminal/Tray: 15359541/4
  • Core/Insulation Crimp: M/M
  • Release Tool/Test Probe: 15381651-2/J-35616-64A (L-BU)

Digital Radio Receiver (U2K)

Pin

Wire

Circuit

Function

1

--

--

Not Used

2

0.35 BN/WH

367

Left Audio Signal (+)

3

0.35 D-GN/WH

368

Right Audio Signal (+)

4-6

--

--

Not Used

7

0.35 PU

1807

Class 2 Serial Data

8

--

--

Not Used

9

0.8 BK/WH

1151

Ground

10

0.35 BK/WH

372

Audio Common

11

0.8 BARE

1573

Drain Wire

12-15

--

--

Not Used

16

0.8 OG

340

Battery Positive Voltage

Dome Lamp


Object Number: 333035  Size: CH

Connector Part Information

  • OEM: 12047781
  • Service: 12101864
  • Description: 3-Way F Metri-Pack 150 Series (BK)

Terminal Part Information

  • Terminal/Tray: 12064971/5
  • Core/Insulation Crimp: E/C
  • Release Tool/Test Probe: 12094429/J-35616-2A (GY)

Dome Lamp

Pin

Wire

Circuit

Function

A

0.5 WH

156

Courtesy Lamp Low Control

B

0.5 OG

1732

Inadvertent Power Control

C

--

--

Not Used

Dome/Reading Lamps


Object Number: 333035  Size: CH

Connector Part Information

  • OEM: 12047781
  • Service: 12101864
  • Description: 3-Way F Metri-Pack 150 Series (BK)

Terminal Part Information

  • Terminal/Tray: 12064971/5
  • Core/Insulation Crimp: E/C
  • Release Tool/Test Probe: 12094429/J-35616-2A (GY)

Dome/Reading Lamps

Pin

Wire

Circuit

Function

A

0.5 WH

156

Courtesy Lamp Low Control

B

0.5 OG

1732

Inadvertent Power Control

C

0.5 BK

2050

Ground

Door Jamb Switch - Driver


Object Number: 821858  Size: CH

Connector Part Information

  • OEM: 174056-2
  • Service: 15306434
  • Description: 2-Way F MultiLock 040 (BK)

Terminal Part Information

  • Terminal/Tray: 173681-2/17
  • Core/Insulation Crimp: E/4
  • Release Tool/Test Probe: 15315247/J-35616-16 (L-GN)

Door Jamb Switch - Driver

Pin

Wire

Circuit

Function

1

0.35 GY/BK

745

Left Front Door Ajar Switch Signal

2

0.35 BK/WH

1151

Ground

Door Jamb Switch - Left Rear


Object Number: 821858  Size: CH

Connector Part Information

  • OEM: 174056-2
  • Service: 15306434
  • Description: 2-Way F MultiLock 040 (BK)

Terminal Part Information

  • Terminal/Tray: 173681-2/17
  • Core/Insulation Crimp: E/4
  • Release Tool/Test Probe: 15315247/J-35616-16 (L-GN)

Door Jamb Switch - Left Rear

Pin

Wire

Circuit

Function

1

0.35 BK/WH

746

Left Rear Door Ajar Switch Signal

2

0.35 BK/WH

1151

Ground

Door Jamb Switch - Passenger


Object Number: 821858  Size: CH

Connector Part Information

  • OEM: 174056-2
  • Service: 15306434
  • Description: 2-Way F MultiLock 040 (BK)

Terminal Part Information

  • Terminal/Tray: 173681-2/17
  • Core/Insulation Crimp: E/4
  • Release Tool/Test Probe: 15315247/J-35616-16 (L-GN)

Door Jamb Switch - Passenger

Pin

Wire

Circuit

Function

1

0.35 L-GN/BK

748

Right Front Door Ajar Switch Signal

2

0.35 BK/WH

1251

Ground

Door Jamb Switch - Right Rear


Object Number: 821858  Size: CH

Connector Part Information

  • OEM: 174056-2
  • Service: 15306434
  • Description: 2-Way F MultiLock 040 (BK)

Terminal Part Information

  • Terminal/Tray: 173681-2/17
  • Core/Insulation Crimp: E/4
  • Release Tool/Test Probe: 15315247/J-35616-16 (L-GN)

Door Jamb Switch - Right Rear

Pin

Wire

Circuit

Function

1

0.35 L-BU/BK

747

Right Rear Door Ajar Switch Signal

2

0.35 BK/WH

1251

Ground

Door Lock/Window Switch - Driver X1


Object Number: 1335541  Size: CH

Connector Part Information

  • OEM: 6240-5068
  • Service: 88987940
  • Description: 8-Way F TS 090 Series (BU)

Terminal Part Information

  • Pins: 1-2, 4-5
  • Terminal/Tray: 8240-4892/22
  • Core/Insulation Crimp: E/C
  • Release Tool/Test Probe: 15315247/J-35616-18 (BK)
  • Pins: 3, 6-8
  • Terminal/Tray: 8240-4942/22
  • Core/Insulation Crimp: 2/1
  • Release Tool/Test Probe: 15315247/J-35616-18 (BK)

Door Lock/Window Switch - Driver X1

Pin

Wire

Circuit

Function

1

0.8 OG

1240

Battery Positive Voltage

2

0.8 TN

694

Driver Door Lock Actuator Unlock Control

3

2 BK

1450

Ground

4

0.8 GY

295

Door Lock Actuator Lock Control

5

0.8TN

294

Door Lock Actuator Unlock Control

6

2 YE

643

Ignition Voltage

7

2 D-BU

164

Power Window Motor Left Front Up Control

8

2 BN

165

Power Window Motor Left Front Down Control

Door Lock/Window Switch - Driver X2


Object Number: 1336194  Size: CH

Connector Part Information

  • OEM: 7283-5832
  • Service: See Catalog
  • Description: 14-Way F 040-III, Class II (WH)

Terminal Part Information

  • Terminal/Tray: 7116-4231-08/14
  • Core/Insulation Crimp: K/K
  • Release Tool/Test Probe: 15315247/J-35616-64A (L-BU)

Door Lock/Window Switch - Driver X2

Pin

Wire

Circuit

Function

1

0.35 D-BU

1307

Power Window Master Switch Lockout Signal

2

0.35 BN

9

Park Lamp Control

3

--

--

Not Used

4

0.35 PU

171

Power Window Master Switch Right Rear Down Signal

5

0.35 L-GN

170

Power Window Master Switch Right Rear Up Signal

6

0.35 D-BU

245

Passenger Door Lock Switch Unlock Control

7

0.35 L-BU

244

Passenger Door Lock Switch Lock Control

8

0.35 L-BU

166

Power Window Master Switch Right Front Up Signal

9

0.35 TN

167

Power Window Master Switch Right Front Down Signal

10

--

--

Not Used

11

0.35 PU

169

Power Window Master Switch Left Rear Down Signal

12

0.35 D-GN

168

Power Window Master Switch Left Rear Up Signal

13

0.35 WH

194

Door Unlock Control

14

--

--

Not Used

Door Lock/Window Switch - Passenger


Object Number: 1336245  Size: CH

Connector Part Information

  • OEM: 7283-1120
  • Service: See Catalog
  • Description: 12-Way F 090-II (WH)

Terminal Part Information

  • Pins: 3-4, 6-9
  • Terminal/Tray: 7116-4020/11
  • Core/Insulation Crimp: E/C
  • Release Tool/Test Probe: 15315247/J-35616-18 (BK)
  • Pins: 5, 10-12
  • Terminal/Tray: 7116-4022/11
  • Core/Insulation Crimp: 4/A
  • Release Tool/Test Probe: 15315247/J-35616-18 (BK)

Door Lock/Window Switch - Passenger

Pin

Wire

Circuit

Function

1-2

--

--

Not Used

3

0.35 D-BU

245

Passenger Door Lock Switch Unlock Control

4

0.35 L-BU

244

Passenger Door Lock Switch Lock Control

5

2 BK

1550

Ground

6

0.35 BN

9

Park Lamp Control

7

0.35 D-BU

1307

Power Window Master Switch Lockout Signal

8

0.35 TN

167

Power Window Master Switch Right Front Down Signal

9

0.35 L-BU

166

Power Window Master Switch Right Front Up Signal

10

2 BN

667

Power Window Motor Right Front Down Control

11

2 YE

443

Ignition Voltage

12

2 D-BU

666

Power Window Motor Right Front Up Control

Door Lock Actuator - Driver


Object Number: 1336230  Size: CH

Connector Part Information

  • OEM: 6189-0438
  • Service: 89046646
  • Description: 2-Way F TS 090 Sealed Series (WH)

Terminal Part Information

  • Terminal/Tray: 8100-0461/6
  • Core/Insulation Crimp: E/1
  • Release Tool/Test Probe: 15315247/J-35616-2A (GY)

Door Lock Actuator - Driver

Pin

Wire

Circuit

Function

1

0.8 TN

694

Driver Door Lock Actuator Unlock Control

2

0.8 GY

295

Door Lock Actuator Lock Control

Door Lock Actuator - Left Rear


Object Number: 1336230  Size: CH

Connector Part Information

  • OEM: 6189-0438
  • Service: 89046646
  • Description: 2-Way F TS 090 Sealed Series (WH)

Terminal Part Information

  • Terminal/Tray: 8100-0461/6
  • Core/Insulation Crimp: E/1
  • Release Tool/Test Probe: 15315247/J-35616-2A (GY)

Door Lock Actuator - Left Rear

Pin

Wire

Circuit

Function

1

0.8 TN

294

Door Lock Actuator Unlock Control

2

0.8 GY

295

Door Lock Actuator Lock Control

Door Lock Actuator - Liftgate


Object Number: 1336230  Size: CH

Connector Part Information

  • OEM: 6189-0438
  • Service: 89046646
  • Description: 2-Way F TS 090 Sealed Series (WH)

Terminal Part Information

  • Terminal/Tray: 8100-0461/6
  • Core/Insulation Crimp: E/1
  • Release Tool/Test Probe: 15315247/J-35616-2A (GY)

Door Lock Actuator - Liftgate

Pin

Wire

Circuit

Function

1

0.8 TN

294

Door Lock Actuator Unlock Control

2

0.8 GY

295

Door Lock Actuator Lock Control

Door Lock Actuator - Passenger


Object Number: 1336230  Size: CH

Connector Part Information

  • OEM: 6189-0438
  • Service: 89046646
  • Description: 2-Way F TS 090 Sealed Series (WH)

Terminal Part Information

  • Terminal/Tray: 8100-0461/6
  • Core/Insulation Crimp: E/1
  • Release Tool/Test Probe: 15315247/J-35616-2A (GY)

Door Lock Actuator - Passenger

Pin

Wire

Circuit

Function

1

0.8 TN

294

Door Lock Actuator Unlock Control

2

0.8 GY

295

Door Lock Actuator Lock Control

Door Lock Actuator - Right Rear


Object Number: 1336230  Size: CH

Connector Part Information

  • OEM: 6189-0438
  • Service: 89046646
  • Description: 2-Way F TS 090 Sealed Series (WH)

Terminal Part Information

  • Terminal/Tray: 8100-0461/6
  • Core/Insulation Crimp: E/1
  • Release Tool/Test Probe: 15315247/J-35616-2A (GY)

Door Lock Actuator - Right Rear

Pin

Wire

Circuit

Function

1

0.8 TN

294

Door Lock Actuator Unlock Control

2

0.8 GY

295

Door Lock Actuator Lock Control

Electronic Brake Control Module (EBCM) X1


Object Number: 1566786  Size: CH

Connector Part Information

  • OEM: 6189-1048
  • Service: See Catalog
  • Description: 4-Way F 025/187 Sealed (BK)

Terminal Part Information

  • Pins: 1
  • Terminal/Tray: 8100-3455/22
  • Core/Insulation Crimp: 7/7
  • Release Tool/Test Probe: 15315247/J-35616-64A (L-BU)
  • Pins: 3, 4
  • Terminal/Tray: 8100-0468/6
  • Core/Insulation Crimp: F/5
  • Release Tool/Test Probe: 12094430/J-35616-40 (BU)

Electronic Brake Control Module (EBCM) X1

Pin

Wire

Circuit

Function

1

0.35 PK

1439

Ignition Voltage

2

3 OG

540

Battery Positive Voltage

3

--

--

Not Used

4

3 BK

850

Ground

Electronic Brake Control Module (EBCM) X2


Object Number: 1567078  Size: CH

Connector Part Information

  • OEM: 6189-1136
  • Service: See Catalog
  • Description: 46-Way F 025/187 Sealed (BK)

Terminal Part Information

  • Pins: 1, 2, 31, 32
  • Terminal/Tray: 8100-0468/6
  • Core/Insulation Crimp: F/5
  • Release Tool/Test Probe: 12094430/J-35616-40 (BU)
  • Pins: 3-27, 38-46
  • Terminal/Tray: 8100-3455/22
  • Core/Insulation Crimp: Pins 3-6, 9-10, 17-20, 42, 45: 8/8
  • Core/Insulation Crimp: Pins 8, 11, 22-27, 38-41, 43-44, 46: 7/7
  • Release Tool/Test Probe: 15315247/J-35616-64A (L-BU)

Electronic Brake Control Module (EBCM) X2

Pin

Wire

Circuit

Function

1

3 BK

850

Ground

2

3 OG

540

Battery Positive Voltage

3

0.5 D-GN

872

Right Front Wheel Speed Sensor Signal

4

0.5 YE

873

Low Reference

5

0.5 BN

882

Right Rear Wheel Speed Sensor Signal

6

0.5 RD

885

Low Reference

7

--

--

Not Used

8

0.35 WH

1765

Steering Wheel Position Marker Pulse Signal

9

0.5 OG/BK

463

Requested Torque Signal

10

0.5 TN/BK

464

Delivered Torque Signal

11

0.35 D-BU

716

CAN HI

12-16

--

--

Not Used

17

0.5 TN

833

Low Reference

18

0.5 L-BU

830

Left Front Wheel Speed Sensor Signal

19

0.5 WH

883

Low Reference

20

0.5 BK

884

Left Rear Wheel Speed Sensor Signal

21

--

--

Not Used

22

0.35 L-BU

1764

Steering Wheel Position Signal B

23

0.35 L-GN

1763

Steering Wheel Position Signal A

24

--

--

Not Used

25

0.35 L-BU

2088

CAN LO

26

--

--

Not Used

27

0.35 PK

849

Brake Fluid Level Sensor Signal

28-30

--

--

Not Used

31

2 OG

2340

Battery Positive Voltage

32

3 BK

850

Ground

33-37

--

--

Not Used

38

0.35 BK

1835

Low Reference

39

0.35 L-BU

1059

Steering Wheel Position Sensor Signal

40

0.35 GY

1056

5-Volt Reference

41

--

--

Not Used

42

0.8 L-GN

24

Backup Lamp Control

43

--

--

Not Used

44

0.35 PU

1807

Class 2 Serial Data

45

0.8 L-BU

20

Stop Lamp Control

46

0.35 BN

441

Ignition Voltage

Engine Control Module (ECM) X1


Object Number: 1590948  Size: CH

Connector Part Information

  • OEM: 12582680
  • Service: 88988373
  • Description: 56-Way F MX123 Series, Sealed (BU)

Terminal Part Information

  • Terminal/Tray: See Terminal Repair Kit
  • Core/Insulation Crimp: Terminal Repair Kit
  • Release Tool/Test Probe: Terminal Repair Kit

Engine Control Module (ECM) X1

Pin

Wire

Circuit

Function

1

--

--

Not Available

2

0.35 PU

420

Cruise Control Release Signal

3

--

--

Not Available

4

0.35 GY/BK

1694

4WD Low Signal

5-6

--

--

Not Available

7

0.5 L-BU

20

Stop Lamp Control

8

--

--

Not Available

9

0.35 BK

2759

Low Reference

10-11

--

--

Not Available

12

0.35 BN/WH

419

MIL Control

13

0.35 D-GN/WH

465

Fuel Pump Relay Control

14

--

--

Not Available

15

0.35 PU

1807

Class 2 Serial Data

16

0.35 PU

1807

Class 2 Serial Data

17

--

--

Not Available

18

0.5 BN

4

Ignition Voltage

19

0.35 PK

639

Ignition Voltage

20

0.35 OG

440

Battery Positive Voltage

21-25

--

--

Not Available

26

0.35 YE/BK

625

Starter Enable Relay Control

27-28

--

--

Not Available

29

0.35 GY

1884

Cruise Control Switch Signal

30-32

--

--

Not Available

33

0.35 WH/BK

1164

5-Volt Reference 2

34

0.35 GY

2709

5-Volt Reference 1

35

0.35 TN

1274

5-Volt Reference 1

36

0.35 BN

1271

Low Reference

37

0.35 PU

1272

Low Reference

38

--

--

Not Available

39

0.35 D-GN/WH

817

Vehicle Speed Signal

40

0.35 WH/BK

5991

Powertrain Relay Control

41-43

--

--

Not Available

44

0.35 PU

1589

Fuel Level Sensor Signal

45-46

--

--

Not Available

47

0.35 D-BU

1161

APP Sensor 1 Signal

48

0.35 D-GN

890

Fuel Tank Pressure Sensor Signal

49

0.35 L-BU

1162

APP Sensor 2 Signal

50

--

--

Not Available

51

0.35 PU

421

AIR Solenoid Relay Control

52

--

--

Not Available

53

0.35 D-GN/WH

459

A/C Compressor Clutch Relay Control

54

--

--

Not Available

55

0.5 WH

1310

EVAP Canister Vent Solenoid Control

56

--

--

Not Available

Engine Control Module (ECM) X2


Object Number: 1673472  Size: CH

Connector Part Information

  • OEM: 34566-7703
  • Service: See Catalog
  • Description: 73-Way F MX123 34566 Series (BK)

Terminal Part Information

  • Pins: 1-9, 11-13, 16-19, 23, 24, 27, 29, 32-35, 39, 40, 42-44, 48, 49, 52-55, 59, 60, 62-64, 66, 72
  • Terminal/Tray: 33467-0005/23
  • Core/Insulation Crimp: J/J
  • Release Tool/Test Probe: J-38125-213/J-35616-64B (L-BU)
  • Pins: 73
  • Terminal/Tray: 7116-4152-02/9
  • Core/Insulation Crimp: 2/5
  • Release Tool/Test Probe: 12094430/J-35616-35 (VT)

Engine Control Module (ECM) X2

Pin

Wire

Circuit

Function

1

0.5 PU

2121

IC 1 Control

2

0.5 TN

1664

HO2S Low Signal - Bank 1 Sensor 1 (LH8)

0.5 TN/WH

1653

HO2S Low Signal Sensor 1 (LLR)

3

0.5 PU/WH

1665

HO2S High Signal - Bank 1 Sensor 1 (LH8)

0.5 D-GN

1655

HO2S High Signal - Sensor 1 (LLR)

4

0.5 PU/WH

1668

HO2S High Signal - Bank 1 Sensor 2 (LH8)

HO2S High Signal - Sensor 2 (LLR)

5

0.5 TN/WH

1669

HO2S Low Signal - Bank 1 Sensor 2 (LH8)

HO2S Low Signal - Sensor 2 (LLR)

6

0.8 L-BU

1876

Knock Sensor 2 Signal (LH8)

7

0.8 GY

2303

Knock Sensor 2 Signal (LH8)

8

0.8 D-BU

496

Knock Sensor 1 Signal (LH8)

0.5 L-BU

1876

Knock Sensor Signal (LLR)

9

0.8 GY

1716

Knock Sensor 1 Signal (LH8)

0.5 GY

2303

Knock Sensor Signal (LLR)

10

--

--

Not Used

11

0.5 YE

581

TAC Motor Control - 1

12

0.5 BN

582

TAC Motor Control - 2

13

0.5 PK

739

Ignition Voltage

14

0.5 BN

2198

CMP Actuator Solenoid High Control (LLR)

15

--

--

Not Used

16

0.8 PK/BK

1746

Fuel Injector 3 Control (LH8)

17

0.5 PU/WH

2128

IC 8 Control (LH8)

0.5 L-BU

2123

IC 3 Control (LLR)

18

0.5 D-GN/WH

2124

IC 4 Control (LH8)

19

0.5 BN/WH

2130

Low Reference (LH8)

20-22

--

--

Not Used

23

0.5 OG

6260

Low Reference (LH8)

0.5 PK/BK

632

CMP Sensor Signal (LLR)

24

0.5 BK

2755

Low Reference

25-26

--

--

Not Used

27

0.5 GY/BK

6272

Low Reference (LH8)

0.5 D-BU/WH

1869

Low Reference (LLR)

28

--

--

Not Used

29

0.5 BK

2752

Low Reference

30-31

--

--

Not Used

32

0.8 L-GN/BK

1745

Fuel Injector 2 Control (LH8)

0.5 L-BU/BK

844

Fuel Injector 4 Control (LLR)

33

0.5 RD

2127

IC 7 Control (LH8)

0.5 D-GN

2125

IC 5 Control (LLR)

34

0.5 D-GN

2125

IC 5 Control (LH8)

35

0.5 BN

2129

Low Reference (LH8)

36-38

--

--

Not Used

39

0.5 D-BU

6259

5-Volt Reference 1 (LH8)

0.5 RD

631

5-Volt Reference 2 (LLR)

40

0.5 GY

2705

5-Volt Reference 1

41

--

--

Not Used

42

0.5 BK

2760

Low Reference

43

0.5 PU/WH

6270

5-Volt Reference 2 (LH8)

0.5 L-GN

1867

5-Volt Reference 2 (LLR)

44

0.5 GY

2701

5-Volt Reference 2

45

--

--

Not Used

46

0.5 BK

2199

Low Reference (LLR)

47

--

--

Not Used

48

0.8 D-BU/WH

878

Fuel Injector 8 Control (LH8)

0.5 PK/BK

1746

Fuel Injector 3 Control (LLR)

49

0.8 BK/WH

845

Fuel Injector 5 Control (LH8)

50-51

--

--

Not Used

52

0.8 YE/BK

846

Fuel Injector 6 Control (LH8)

0.5 L-GN/BK

1745

Fuel Injector 2 Control (LLR)

53

0.5 RD/WH

2122

IC 2 Control (LH8)

0.5 D-GN/WH

2124

IC 4 Control (LLR)

54

0.5 L-BU/WH

2126

IC 6 Control (LH8)

0.5 RD/WH

2122

IC 2 Control (LLR)

55

0.5 L-BU

2123

IC 3 Control (LH8)

56-58

--

--

Not Used

59

0.5 D-BU/WH

6265

CMP Sensor Signal (LH8)

0.5 BK

630

Low Reference (LLR)

60

0.5 TN/WH

331

Oil Pressure Sensor Signal (LH8)

61

--

--

Not Used

62

0.5 L-BU

6289

IAT Sensor Signal

63

0.5 WH/BK

6271

CKP Sensor Signal (LH8)

0.5 YE/BK

1868

CKP Sensor Signal (LLR)

64

0.5 D-GN

485

TP Sensor 1 Signal

65

--

--

Not Used

66

0.5 PU

486

TP Sensor 2 Signal

67

0.5 YE

492

MAF Sensor Signal

68

0.5 BK/WH

3113

HO2S Heater Low Control - Bank 1 Sensor 1 (LH8)

0.5 D-GN

676

HO2S Heater High Control - Sensor 1 (LLR)

69

0.5 BK/WH

3122

HO2S Heater Low Control - Bank 1 Sensor 2 (LH8)

0.5 BK/WH

1423

HO2S Heater Low Control - Sensor 2 (LLR)

70

0.8 L-BU/BK

844

Fuel Injector 4 Control (LH8)

71

0.8 RD/BK

877

Fuel Injector 7 Control (LH8)

0.5 BK/WH

845

Fuel Injector 5 Control (LLR)

72

0.8 BK

1744

Fuel Injector 1 Control

73

2 BK

451

Ground

Engine Control Module (ECM) X3


Object Number: 1673472  Size: CH

Connector Part Information

  • OEM: 34566-1243
  • Service: See Catalog
  • Description: 73-Way F MX123 34566 Series (GY)

Terminal Part Information

  • Terminal/Tray: 33467-0005/23
  • Core/Insulation Crimp: J/J
  • Release Tool/Test Probe: J-38125-213/J-35616-64B (L-BU)

Engine Control Module (ECM) X3

Pin

Wire

Circuit

Function

1-2

--

--

Not Used

3

0.5 TN

1667

HO2S Low Signal - Bank 2 Sensor 1 (LH8)

4

0.5 PU

1666

HO2S High Signal - Bank 2 Sensor 1 (LH8)

5

0.5 PU

1670

HO2S High Signal - Bank 2 Sensor 2 (LH8)

6

0.5 TN

1671

HO2S Low Signal - Bank 2 Sensor 2 (LH8)

7

0.5 PU

5428

Generator Regulator Control

8

--

--

Not Used

9

0.5 BN

436

AIR Relay Control (K18)

10-11

--

--

Not Used

12

0.5 TN/BK

464

Delivered Torque Signal

13-14

--

--

Not Used

15

0.5 L-GN

3212

HO2S Heater Low Control - Bank 2 Sensor 1 (LH8)

16

--

--

Not Used

17

0.5 OG/BK

463

Requested Torque Signal

18-20

--

--

Not Used

21

0.5 BK

2751

Low Reference

22

--

--

Not Used

23

0.5 OG/BK

469

Low Reference

24-25

--

--

Not Used

26

0.5 D-BU/WH

6785

Low Reference (K18)

27

0.5 D-GN/WH

6294

Low Reference (MA5)

28

--

--

Not Used

29

0.5 GY

23

Generator Field Duty Cycle Signal

30-32

--

--

Not Used

33

0.5 TN

2501

High Speed GMLAN Serial Data Bus -

34

--

--

Not Used

35

0.5 BK

2761

Low Reference

36

--

--

Not Used

37

0.5 GY

2700

5-Volt Reference 1

38

--

--

Not Used

39

0.5 GY

2704

5-Volt Reference 1

40-41

--

--

Not Used

42

0.5 BN/WH

6789

5-Volt Reference (K18)

43

0.5 D-GN

6293

5-Volt Reference (MA5)

44-45

--

--

Not Used

46

0.5 D-GN

1433

PNP/Clutch Start Switch Signal (M30)

47

--

--

Not Used

48

0.5 D-GN/WH

428

EVAP Canister Purge Solenoid Control

49

--

--

Not Used

50

0.5 RD/WH

3223

HO2S Heater Low Control - Bank 2 Sensor 2 (LH8)

51-52

--

--

Not Used

53

0.5 TN/WH

2500

High Speed GMLAN Serial Data Bus +

54

--

--

Not Used

55

0.5 YE

410

ECT Sensor Signal

56

--

--

Not Used

57

0.5 RD/BK

380

A/C Refrigerant Pressure Sensor Signal

58

--

--

Not Used

59

0.5 L-GN

432

MAP Sensor Signal

60-61

--

--

Not Used

62

0.5 YE

6787

Air Injection Reaction Control Valve Control (K18)

63

0.5 D-BU

6303

CPP Sensor Signal (MA5)

64

--

--

Not Used

65

0.5 TN/BK

231

Oil Pressure Switch Signal (LLR)

66

0.5 PU/WH

821

VSS High Signal (MA5)

67

0.5 L-GN/BK

822

VSS Low Signal (MA5)

68-73

--

--

Not Used

Engine Coolant Temperature (ECT) Sensor (LH8)


Object Number: 1538760  Size: CH

Connector Part Information

  • OEM: 15449028
  • Service: 88987993
  • Description: 2-Way F 150 GT Series Sealed (BK)

Terminal Part Information

  • Terminal/Tray: 15326267/19
  • Core/Insulation Crimp: E/4
  • Release Tool/Test Probe: 15315247/J-35616-2A (GY)

Engine Coolant Temperature (ECT) Sensor (LH8)

Pin

Wire

Circuit

Function

A

TN

2761

Low Reference

B

YE

410

ECT Sensor Signal

Engine Coolant Temperature (ECT) Sensor (LLR)


Object Number: 523630  Size: CH

Connector Part Information

  • OEM: 15326801
  • Service: 15306156
  • Description: 2-Way F GT 150 Series, Sealed (BK)

Terminal Part Information

  • Terminal/Tray: 12191819/8
  • Core/Insulation Crimp: E/A
  • Release Tool/Test Probe: 15315247/J-35616-2A (GY)

Engine Coolant Temperature (ECT) Sensor (LLR)

Pin

Wire

Circuit

Function

A

0.35 BK

2761

Low Reference

B

0.35 YE

410

ECT Sensor Signal

Engine Oil Pressure (EOP) Sensor (LH8)


Object Number: 1519475  Size: CH

Connector Part Information

  • OEM: 15477863
  • Service: 88988301
  • Description: 3-Way F GT 150 Series Sealed (BK)

Terminal Part Information

  • Terminal/Tray: 15326267/19
  • Core/Insulation Crimp: E/4
  • Release Tool/Test Probe: 15315247/J-35616-2A (GY)

Engine Oil Pressure (EOP) Sensor (LH8)

Pin

Wire

Circuit

Function

1

BK

2755

Low Reference

2

GY

2705

5-Volt Reference

3

TN/WH

331

Oil Pressure Sensor Signal

Engine Oil Pressure (EOP) Switch (LLR)


Object Number: 516616  Size: CH

Connector Part Information

  • OEM: 12065400
  • Service: 12126436
  • Description: 2-Way F Metri-Pack 150 Series, Sealed (L-GN)

Terminal Part Information

  • Terminal/Tray: 12048074/2
  • Core/Insulation Crimp: E/1
  • Release Tool/Test Probe: 12094429/J-35616-2A (GY)

Engine Oil Pressure (EOP) Switch (LLR)

Pin

Wire

Circuit

Function

A

0.35 TN/BK

231

Oil Pressure Switch Signal

B

0.35 BK

2755

Low Reference

C-D

--

--

Not Available

Evaporative Emission (EVAP) Canister Purge Solenoid Valve


Object Number: 684795  Size: CH

Connector Part Information

  • OEM: 12052643
  • Service: 12101858
  • Description: 2-Way F Metri-Pack 150 Series, Sealed (RD)

Terminal Part Information

  • Terminal/Tray: 12048074/2
  • Core/Insulation Crimp: E/1
  • Release Tool/Test Probe: 12094429/J-35616-2A (GY)

Evaporative Emission (EVAP) Canister Purge Solenoid Valve

Pin

Wire

Circuit

Function

A

0.5 PK

439

Ignition Voltage

B

0.5 D-GN/WH

428

EVAP Canister Purge Solenoid Control

Evaporative Emission (EVAP) Canister Vent Solenoid Valve


Object Number: 684795  Size: CH

Connector Part Information

  • OEM: 12052643
  • Service: 12101858
  • Description: 2-Way F Metri-Pack 150 Series, Sealed (RD)

Terminal Part Information

  • Terminal/Tray: 12048074/2
  • Core/Insulation Crimp: E/1
  • Release Tool/Test Probe: 12094429/J-35616-2A (GY)

Evaporative Emission (EVAP) Canister Vent Solenoid Valve

Pin

Wire

Circuit

Function

A

0.35 OG

2440

Battery Positive Voltage

B

0.35 WH

1310

EVAP Canister Vent Solenoid Control

Evaporator Temperature Sensor


Object Number: 82383  Size: CH

Connector Part Information

  • OEM: 12047662
  • Service: 12085535
  • Description: 2-Way F Metri-Pack 150 Series (BK)

Terminal Part Information

  • Terminal/Tray: 12064971/5
  • Core/Insulation Crimp: E/C
  • Release Tool/Test Probe: 12094429/J-35616-2A (GY)

Evaporator Temperature Sensor

Pin

Wire

Circuit

Function

A

0.5 YE

1791

Low Reference

B

0.35 GY

6137

Evaporative Temperature Sensor Signal

Fog Lamp - Left Front


Object Number: 684797  Size: CH

Connector Part Information

  • OEM: 12059183
  • Service: 12101898
  • Description: 2-Way F Metri-Pack 280 Series, Sealed (BK)

Terminal Part Information

  • Terminal/Tray: 12077411/2
  • Core/Insulation Crimp: 2/5
  • Release Tool/Test Probe: 12094430/J-35616-4A (PU)

Fog Lamp - Left Front

Pin

Wire

Circuit

Function

A

0.5 PU

34

Front Fog Lamp Voltage

B

0.5 BK

850

Ground

Fog Lamp - Left Rear (T79)


Object Number: 888059  Size: CH

Connector Part Information

  • OEM: 12059183
  • Service: 12101898
  • Description: 3-Way F Metri-Pack 280 Series, Sealed (BK)

Terminal Part Information

  • Terminal/Tray: 12077411/2
  • Core/Insulation Crimp: 2/5
  • Release Tool/Test Probe: 12094430/J-35616-4A (PU)

Fog Lamp - Left Rear (T79)

Pin

Wire

Circuit

Function

A

0.5 OG

122

Rear Fog Lamp Control

B

0.5 BK

1350

Ground

C

--

--

Not Used

Fog Lamp - Right Front


Object Number: 684797  Size: CH

Connector Part Information

  • OEM: 12059183
  • Service: 12101898
  • Description: 2-Way F Metri-Pack 280 Series, Sealed (BK)

Terminal Part Information

  • Terminal/Tray: 12077411/2
  • Core/Insulation Crimp: 2/5
  • Release Tool/Test Probe: 12094430/J-35616-4A (PU)

Fog Lamp - Right Front

Pin

Wire

Circuit

Function

A

0.5 PU

34

Front Fog Lamp Voltage

B

0.5 BK

850

Ground

Fog Lamp - Right Rear (T79)


Object Number: 888059  Size: CH

Connector Part Information

  • OEM: 12059183
  • Service: 12101898
  • Description: 3-Way F Metri-Pack 280 Series, Sealed (BK)

Terminal Part Information

  • Terminal/Tray: 12077411/2
  • Core/Insulation Crimp: 2/5
  • Release Tool/Test Probe: 12094430/J-35616-4A (PU)

Fog Lamp - Right Rear (T79)

Pin

Wire

Circuit

Function

A

0.5 OG

122

Rear Fog Lamp Control

B

0.5 BK

1350

Ground

C

--

--

Not Used

Fuel Injector 1 (LH8)


Object Number: 603098  Size: CH

Connector Part Information

  • OEM: 15305086
  • Service: 15305086
  • Description: 2-Way F Metri-Pack 150 Series Sealed (BK)

Terminal Part Information

  • Terminal/Tray: 12176636/19
  • Core/Insulation Crimp: C/1
  • Release Tool/Test Probe: 12094429/J-35616-14 (GN)

Fuel Injector 1 (LH8)

Pin

Wire

Circuit

Function

A

0.5 PK

239

Ignition Voltage

B

0.5 BK

1744

Fuel Injector 1 Control

Fuel Injector 1 (LLR)


Object Number: 366123  Size: CH

Connector Part Information

  • OEM:15411634
  • Service: 15306160
  • Description: 2-Way F Micro-Pack 064 Series, Sealed (GY)

Terminal Part Information

  • Terminal/Tray: 15305174/8
  • Core/Insulation Crimp: E/1
  • Release Tool/Test Probe: 12180559-1/J-35616-64A (L-BU)

Fuel Injector 1 (LLR)

Pin

Wire

Circuit

Function

A

0.5 PK

439

Ignition Voltage

B

0.5 BK

1744

Fuel Injector 1 Control

Fuel Injector 2 (LH8)


Object Number: 603098  Size: CH

Connector Part Information

  • OEM: 15305086
  • Service: 15305086
  • Description: 2-Way F Metri-Pack 150 Series Sealed (BK)

Terminal Part Information

  • Terminal/Tray: 12176636/19
  • Core/Insulation Crimp: C/1
  • Release Tool/Test Probe: 12094429/J-35616-14 (GN)

Fuel Injector 2 (LH8)

Pin

Wire

Circuit

Function

A

0.5 PK

839

Ignition Voltage

B

0.5 L-GN/BK

1745

Fuel Injector 2 Control

Fuel Injector 2 (LLR)


Object Number: 366123  Size: CH

Connector Part Information

  • OEM:15411634
  • Service: 15306160
  • Description: 2-Way F Micro-Pack 064 Series, Sealed (GY)

Terminal Part Information

  • Terminal/Tray: 15305174/8
  • Core/Insulation Crimp: E/1
  • Release Tool/Test Probe: 12180559-1/J-35616-64A (L-BU)

Fuel Injector 2 (LLR)

Pin

Wire

Circuit

Function

A

0.5 PK

439

Ignition Voltage

B

0.5 L-GN/BK

1745

Fuel Injector 2 Control

Fuel Injector 3 (LH8)


Object Number: 603098  Size: CH

Connector Part Information

  • OEM: 15305086
  • Service: 15305086
  • Description: 2-Way F Metri-Pack 150 Series Sealed (BK)

Terminal Part Information

  • Terminal/Tray: 12176636/19
  • Core/Insulation Crimp: C/1
  • Release Tool/Test Probe: 12094429/J-35616-14 (GN)

Fuel Injector 3 (LH8)

Pin

Wire

Circuit

Function

A

0.5 PK

239

Ignition Voltage

B

0.5 PK/BK

1746

Fuel Injector 3 Control

Fuel Injector 3 (LLR)


Object Number: 366123  Size: CH

Connector Part Information

  • OEM:15411634
  • Service: 15306160
  • Description: 2-Way F Micro-Pack 064 Series, Sealed (GY)

Terminal Part Information

  • Terminal/Tray: 15305174/8
  • Core/Insulation Crimp: E/1
  • Release Tool/Test Probe: 12180559-1/J-35616-64A (L-BU)

Fuel Injector 3 (LLR)

Pin

Wire

Circuit

Function

A

0.5 PK

439

Ignition Voltage

B

0.5 PK/BK

1746

Fuel Injector 3 Control

Fuel Injector 4 (LH8)


Object Number: 603098  Size: CH

Connector Part Information

  • OEM: 15305086
  • Service: 15305086
  • Description: 2-Way F Metri-Pack 150 Series Sealed (BK)

Terminal Part Information

  • Terminal/Tray: 12176636/19
  • Core/Insulation Crimp: C/1
  • Release Tool/Test Probe: 12094429/J-35616-14 (GN)

Fuel Injector 4 (LH8)

Pin

Wire

Circuit

Function

A

0.5 PK

839

Ignition Voltage

B

0.5 L-BU/BK

844

Fuel Injector 4 Control

Fuel Injector 4 (LLR)


Object Number: 366123  Size: CH

Connector Part Information

  • OEM:15411634
  • Service: 15306160
  • Description: 2-Way F Micro-Pack 064 Series, Sealed (GY)

Terminal Part Information

  • Terminal/Tray: 15305174/8
  • Core/Insulation Crimp: E/1
  • Release Tool/Test Probe: 12180559-1/J-35616-64A (L-BU)

Fuel Injector 4 (LLR)

Pin

Wire

Circuit

Function

A

0.5 PK

439

Ignition Voltage

B

0.5 L-BU/BK

844

Fuel Injector 4 Control

Fuel Injector 5 (LH8)


Object Number: 603098  Size: CH

Connector Part Information

  • OEM: 15305086
  • Service: 15305086
  • Description: 2-Way F Metri-Pack 150 Series Sealed (BK)

Terminal Part Information

  • Terminal/Tray: 12176636/19
  • Core/Insulation Crimp: C/1
  • Release Tool/Test Probe: 12094429/J-35616-14 (GN)

Fuel Injector 5 (LH8)

Pin

Wire

Circuit

Function

A

0.5 PK

239

Ignition Voltage

B

0.5 BK/WH

845

Fuel Injector 5 Control

Fuel Injector 5 (LLR)


Object Number: 366123  Size: CH

Connector Part Information

  • OEM:15411634
  • Service: 15306160
  • Description: 2-Way F Micro-Pack 064 Series, Sealed (GY)

Terminal Part Information

  • Terminal/Tray: 15305174/8
  • Core/Insulation Crimp: E/1
  • Release Tool/Test Probe: 12180559-1/J-35616-64A (L-BU)

Fuel Injector 5 (LLR)

Pin

Wire

Circuit

Function

A

0.5 PK

439

Ignition Voltage

B

0.5 BK/WH

845

Fuel Injector 5 Control

Fuel Injector 6 (LH8)


Object Number: 603098  Size: CH

Connector Part Information

  • OEM: 15305086
  • Service: 15305086
  • Description: 2-Way F Metri-Pack 150 Series Sealed (BK)

Terminal Part Information

  • Terminal/Tray: 12176636/19
  • Core/Insulation Crimp: C/1
  • Release Tool/Test Probe: 12094429/J-35616-14 (GN)

Fuel Injector 6 (LH8)

Pin

Wire

Circuit

Function

A

0.5 PK

839

Ignition Voltage

B

0.5 YE/BK

846

Fuel Injector 6 Control

Fuel Injector 7 (LH8)


Object Number: 603098  Size: CH

Connector Part Information

  • OEM: 15305086
  • Service: 15305086
  • Description: 2-Way F Metri-Pack 150 Series Sealed (BK)

Terminal Part Information

  • Terminal/Tray: 12176636/19
  • Core/Insulation Crimp: C/1
  • Release Tool/Test Probe: 12094429/J-35616-14 (GN)

Fuel Injector 7 (LH8)

Pin

Wire

Circuit

Function

A

PK

239

Ignition Voltage

B

RD/BK

877

Fuel Injector 7 Control

Fuel Injector 8 (LH8)


Object Number: 603098  Size: CH

Connector Part Information

  • OEM: 15305086
  • Service: 15305086
  • Description: 2-Way F Metri-Pack 150 Series Sealed (BK)

Terminal Part Information

  • Terminal/Tray: 12176636/19
  • Core/Insulation Crimp: C/1
  • Release Tool/Test Probe: 12094429/J-35616-14 (GN)

Fuel Injector 8 (LH8)

Pin

Wire

Circuit

Function

A

0.5 PK

839

Ignition Voltage

B

0.5 D-BU/WH

878

Fuel Injector 1 Control

Fuel Pump and Sender Assembly


Object Number: 684908  Size: CH

Connector Part Information

  • OEM: 15326631
  • Service: 15306360
  • Description: 4-Way F GT 280 Series, Sealed (BK)

Terminal Part Information

  • Terminal/Tray: 15304719/19
  • Core/Insulation Crimp: Pins A, D - 2/5
  • Core/Insulation Crimp: Pins B, C - E/5
  • Release Tool/Test Probe: 15315247/J-35616-4A (PU)

Fuel Pump and Sender Assembly

Pin

Wire

Circuit

Function

A

1 BK

1350

Ground

B

0.5 PU

1589

Fuel Level Sensor Signal

C

0.5 BK

2759

Low Reference

D

1 GY

120

Fuel Pump Control

Fuel Tank Pressure (FTP) Sensor


Object Number: 516611  Size: CH

Connector Part Information

  • OEM: 12059595
  • Service: 12085495
  • Description: 3-Way F Metri-Pack 150 Series, Sealed (BK)

Terminal Part Information

  • Terminal/Tray: 12048074/2
  • Core/Insulation Crimp: E/1
  • Release Tool/Test Probe: 12094429/J-35616-2A (GY)

Fuel Tank Pressure (FTP) Sensor

Pin

Wire

Circuit

Function

A

0.35 BK

2759

Low Reference

B

0.35 D-GN

890

Fuel Tank Pressure Sensor Signal

C

0.35 GY

2709

5-Volt Reference

Generator X1


Object Number: 1522871  Size: CH

Connector Part Information

  • OEM: 1-928-403-137
  • Service: See Catalog
  • Description: 2-Way F Timer Junior Power Timer Series Sealed (BK)

Terminal Part Information

  • Terminal/Tray: 4-964286-1/16
  • Core/Insulation Crimp: E/1
  • Release Tool/Test Probe: 12093647/J-35616-4A (PU)

Generator X1

Pin

Wire

Circuit

Function

1

0.5 RD

225

Generator Turn On Signal

2

0.5 GY

23

Generator Field Duty Cycle Signal

Generator X2

Terminal Part Information

  • Terminal: 12146365
  • Core/Insulation Crimp: N/A
  • Description: Ring Terminal

Generator X2

Pin

Wire

Circuit

Function

A

13 RD

2

Battery Positive Voltage

Generator Battery Control Module


Object Number: 632344  Size: CH

Connector Part Information

  • OEM: 15326842
  • Service: 15326843
  • Description: 10-Way F GT 150 Series Sealed (BK)

Terminal Part Information

  • Terminal/Tray: 12191819/8
  • Core/Insulation Crimp: Pins A, C, G, H, K - E/A
  • Core/Insulation Crimp: Pins B, D, F - 2/A
  • Release Tool/Test Probe: 15315247/J-35616-2A (GY)

Generator Battery Control Module

Pin

Wire

Circuit

Function

A

0.5 OG

3040

Battery Positive Voltage

B

0.5 GY

23

Generator Field Duty Cycle Signal

C

0.5 OG

3140

Battery Positive Voltage

D

0.5 RD

225

Generator Turn On Signal

E

--

--

Not Used

F

0.5 BK/WH

451

Ground

G

--

--

Not Used

H

0.5 BK/WH

451

Ground

J

0.5 PU

5428

Generator Regulator Control

K

0.5 PU

1807

Class 2 Serial Data

Grille Lamp - Left (UNR)


Object Number: 684797  Size: CH

Connector Part Information

  • OEM: 12059183
  • Service: 12101898
  • Description: 2-Way F Metri-Pack 280 Series, Sealed (BK)

Terminal Part Information

  • Terminal/Tray: 12077411/2
  • Core/Insulation Crimp: 2/5
  • Release Tool/Test Probe: 12094430/J-35616-4A (PU)

Grille Lamp - Left (UNR)

Pin

Wire

Circuit

Function

A

0.8 BN

--

Grille Lamp Control

B

0.8 BK

850

Ground

Grille Lamp - Right (UNR)


Object Number: 684797  Size: CH

Connector Part Information

  • OEM: 12059183
  • Service: 12101898
  • Description: 2-Way F Metri-Pack 280 Series, Sealed (BK)

Terminal Part Information

  • Terminal/Tray: 12077411/2
  • Core/Insulation Crimp: 2/5
  • Release Tool/Test Probe: 12094430/J-35616-4A (PU)

Grille Lamp - Right (UNR)

Pin

Wire

Circuit

Function

A

0.8 BN

--

Grille Lamp Control

B

0.8 BK

850

Ground

Grille Lamps Relay (UNR)


Object Number: 535912  Size: CH

Connector Part Information

  • OEM: 12129716
  • Service: 15306045
  • Description: 4-Way F Metri-Pack 280 Series, Flexlock (GY)

Terminal Part Information

  • Terminal/Tray: 12129409/4
  • Core/Insulation Crimp: See Terminal Kit
  • Release Tool/Test Probe: See Terminal Kit

Grille Lamps Relay (UNR)

Pin

Wire

Circuit

Function

30

0.8 D-BU

--

Battery Positive Voltage

85

0.8 GN

--

Grille Lamps Relay Coil Control

86

0.8 L-BU

--

Ignition Voltage

87

0.8 BN

--

Grille Lamp Control

Grille Lamps Switch (UNR)


Object Number: 333035  Size: CH

Connector Part Information

  • OEM: 12047781
  • Service: 12101864
  • Description: 3-Way F Metri-Pack 150 Series (BK)

Terminal Part Information

  • Terminal/Tray: 12047767/2
  • Core/Insulation Crimp: E/A
  • Release Tool/Test Probe: 12094429/J-35616-2A (GY)

Grille Lamps Switch (UNR)

Pin

Wire

Circuit

Function

A

0.8 BN

--

Grille Lamps Control

B

0.8 BK

2050

Ground

C

0.8 GN

--

Grille Lamps Relay Coil Control

Hazard Switch


Object Number: 333035  Size: CH

Connector Part Information

  • OEM: 12047781
  • Service: 12101864
  • Description: 3-Way F Metri-Pack 150 Series (BK)

Terminal Part Information

  • Terminal/Tray: 12064971/5
  • Core/Insulation Crimp: E/C
  • Release Tool/Test Probe: 12094429/J-35616-2A (GY)

Hazard Switch

Pin

Wire

Circuit

Function

A

0.35 GY

8

Instrument Panel Lamps Dimmer Switch Signal

B

0.35 BK

2050

Ground

C

0.35 WH

111

Hazard Switch Signal

Headlamp - Left (without EXP)


Object Number: 1424764  Size: CH

Connector Part Information

  • OEM: 15422250
  • Service: 88987995
  • Description: 3-Way F GT 150 Series, Sealed (D-GY)

Terminal Part Information

  • Terminal/Tray: 12191818/8
  • Core/Insulation Crimp: See Terminal Kit
  • Release Tool/Test Probe: See Terminal Kit

Headlamp - Left (without EXP)

Pin

Wire

Circuit

Function

A

0.5 D-BU

1201

Ground

B

0.5 OG

740

Battery Positive Voltage

C

0.5 PK

1200

Ground

Headlamp - Left (EXP)


Object Number: 306269  Size: CH

Connector Part Information

  • OEM: 12034372
  • Service: 12117369
  • Description: 3-Way F Metri-Pack 800 Unsealed (BK)

Terminal Part Information

  • Terminal/Tray: 12191818/8
  • Core/Insulation Crimp: See Terminal Kit
  • Release Tool/Test Probe: See Terminal Kit

Headlamp - Left (EXP)

Pin

Wire

Circuit

Function

A

0.35 OG

740

Battery Positive Voltage

B

0.35 PK

1200

Ground

C

0.35 D-BU

1201

Ground

Headlamp - Right (without EXP)


Object Number: 1424764  Size: CH

Connector Part Information

  • OEM: 15422250
  • Service: 88987995
  • Description: 3-Way F GT 150 Series, Sealed (D-GY)

Terminal Part Information

  • Terminal/Tray: 12191818/8
  • Core/Insulation Crimp: See Terminal Kit
  • Release Tool/Test Probe: See Terminal Kit

Headlamp - Right (without EXP)

Pin

Wire

Circuit

Function

A

0.5 D-BU

1201

Ground

B

0.5 OG

640

Battery Positive Voltage

C

0.5 PK

1200

Ground

Headlamp - Right (EXP)


Object Number: 306269  Size: CH

Connector Part Information

  • OEM: 12034372
  • Service: 12117369
  • Description: 3-Way F Metri-Pack 800 Unsealed (BK)

Terminal Part Information

  • Terminal/Tray: 12191818/8
  • Core/Insulation Crimp: See Terminal Kit
  • Release Tool/Test Probe: See Terminal Kit

Headlamp - Right (EXP)

Pin

Wire

Circuit

Function

A

0.35 OG

640

Battery Positive Voltage

B

0.35 PK

1200

Ground

C

0.35 D-BU

1201

Ground

Headlamp Switch


Object Number: 1335532  Size: CH

Connector Part Information

  • OEM: IL-AG5-14S-D3C1-A
  • Service: 88986257
  • Description: 14-Way F 025, IL-AG5 Series (GN)

Terminal Part Information

  • Terminal/Tray: IL-AG5-C1-5000/20
  • Core/Insulation Crimp: K/K
  • Release Tool/Test Probe: J-38125-211/J-35616-64A (L-BU)

Headlamp Switch

Pin

Wire

Circuit

Function

1

0.35 D-BU/WH

1495

Dome Override Switch Signal

2

0.35 BN/WH

301

Park Lamp Switch Signal

3

0.35 PU

719

Low Reference

4

0.35 WH

103

Headlamp Switch On Signal

5

0.35 PU/WH

549

Headlamp Switch Headlamps Off Signal

6

0.35 GY

8

Instrument Panel Lamps Dimmer Switch Signal

7

0.35 OG

192

Front Fog Lamp Switch Signal

8

0.35 YE

183

Front Fog Lamp Indicator Control

9

0.35 YE

543

Ignition Voltage (EXP)

10

0.35 D-BU/WH

6796

Voice Recognition Switch Output Signal (UE1)

0.35 L-BU

187

Rear Fog Lamp Switch Signal (T79)

11

0.35 PU

328

Interior Lamp Switch Signal

12

0.35 D-GN

189

Headlamp Leveling Motor Control (EXP)

13

0.35 D-BU

184

Rear Fog Lamp Indicator Control (T79)

14

0.35 BN/WH

230

Instrument Panel Lamps Dimming Control

Heated Oxygen Sensor (HO2S) 1 (LLR)


Object Number: 655691  Size: CH

Connector Part Information

  • OEM: 12146046
  • Service: 15306365
  • Description: 4-Way F Metri-Pack 150 Series, Sealed (GY)

Terminal Part Information

  • Terminal/Tray: 12048074/2
  • Core/Insulation Crimp: E/1
  • Release Tool/Test Probe: 12094429/J-35616-2A (GY)

Heated Oxygen Sensor (HO2S) 1 (LLR)

Pin

Wire

Circuit

Function

A

0.5 TN/WH

1653

HO2S Low Signal Sensor 1

B

0.5 D-GN

1655

HO2S High Signal Sensor 1

C

--

--

Not Available

D

0.5 PK

414

HO2S Heater Voltage

E

0.5 D-GN

676

HO2S Heater High Control Sensor 1

Heated Oxygen Sensor (HO2S) 2 (LLR)


Object Number: 628099  Size: CH

Connector Part Information

  • OEM: 12092840
  • Service: 15306311
  • Description: 4-Way M Metri-Pack 150 Series, Sealed (GY)

Terminal Part Information

  • Terminal/Tray: 12045773/2
  • Core/Insulation Crimp: E/1
  • Release Tool/Test Probe: 12094429/J-35616-3 (GY)

Heated Oxygen Sensor (HO2S) 2 (LLR)

Pin

Wire

Circuit

Function

A

0.5 TN/WH

1669

HO2S Low Signal Sensor 2

B

0.5 PU/WH

1668

HO2S High Signal Sensor 2

C

--

--

Not Available

D

0.35 PK

414

HO2S Heater Voltage

E

0.35 BK/WH

1423

HO2S Heater Low Control Sensor 2

Heated Oxygen Sensor (HO2S) Bank 1 Sensor 1 (LH8)


Object Number: 280761  Size: CH

Connector Part Information

  • OEM: 12160825
  • Service: 15305801
  • Description: 4-Way M Metri-Pack 150 Series, Sealed (BK)

Terminal Part Information

  • Terminal/Tray: 12045773/2
  • Core/Insulation Crimp: E/1
  • Release Tool/Test Probe: 12094429/J-35616-3 (GY)

Heated Oxygen Sensor (HO2S) Bank 1 Sensor 1 (LH8)

Pin

Wire

Circuit

Function

A

0.5 TN

1664

HO2S Low Signal - Bank 1 Sensor 1

B

0.5 PU/WH

1665

HO2S High Signal - Bank 1 Sensor 1

C

0.5 BK/WH

3113

HO2S Heater Low Control - Bank 1 Sensor 1

D

0.5 PK

1539

Ignition Voltage

Heated Oxygen Sensor (HO2S) Bank 1 Sensor 2 (LH8)


Object Number: 831392  Size: CH

Connector Part Information

  • OEM: 12092839
  • Service: 12092839
  • Description: 4-Way M Metri-Pack 150 Series, Sealed (BK)

Terminal Part Information

  • Terminal/Tray: 12045773/2
  • Core/Insulation Crimp: E/1
  • Release Tool/Test Probe: 12094429/J-35616-3 (GY)

Heated Oxygen Sensor (HO2S) Bank 1 Sensor 2 (LH8)

Pin

Wire

Circuit

Function

A

0.5 TN/WH

1669

HO2S Low Signal - Bank 1 Sensor 2

B

0.5 PU/WH

1668

HO2S High Signal - Bank 1 Sensor 2

C

--

--

Not Available

D

0.5 PK

1639

Ignition Voltage

E

0.5 BK/WH

3122

HO2S Heater Low Control - Bank 1 Sensor 2

Heated Oxygen Sensor (HO2S) Bank 2 Sensor 1 (LH8)


Object Number: 280761  Size: CH

Connector Part Information

  • OEM: 12160825
  • Service: 15305801
  • Description: 4-Way M Metri-Pack 150 Series, Sealed (BK)

Terminal Part Information

  • Terminal/Tray: 12045773/2
  • Core/Insulation Crimp: E/1
  • Release Tool/Test Probe: 12094429/J-35616-3 (GY)

Heated Oxygen Sensor (HO2S) Bank 2 Sensor 1 (LH8)

Pin

Wire

Circuit

Function

A

0.5 TN

1667

HO2S Low Signal - Bank 2 Sensor 1

B

0.5 PU

1666

HO2S High Signal - Bank 2 Sensor 1

C

0.5 L-GN

3212

HO2S Heater Low Control - Bank 2 Sensor 1

D

0.5 PK

1539

Ignition Voltage

Heated Oxygen Sensor (HO2S) Bank 2 Sensor 2 (LH8)


Object Number: 831392  Size: CH

Connector Part Information

  • OEM: 12092839
  • Service: 12092839
  • Description: 4-Way M Metri-Pack 150 Series, Sealed (BK)

Terminal Part Information

  • Terminal/Tray: 12045773/2
  • Core/Insulation Crimp: E/1
  • Release Tool/Test Probe: 12094429/J-35616-3 (GY)

Heated Oxygen Sensor (HO2S) Bank 2 Sensor 2 (LH8)

Pin

Wire

Circuit

Function

A

0.5 TN

1671

HO2S Low Signal - Bank 2 Sensor 2

B

0.5 PU

1670

HO2S High Signal - Bank 2 Sensor 2

C

--

--

Not Available

D

0.5 PK

1539

Ignition Voltage

E

0.5 RD/WH

3223

HO2S Heater Low Control - Bank 2 Sensor 2

Heated Seat Element - Driver Back (KA1)


Object Number: 258301  Size: CH

Connector Part Information

  • OEM: 12059254
  • Service: 12126020
  • Description: 2-Way M Metri-Pack 150 Series (GN)

Terminal Part Information

  • Terminal/Tray: 12047581/2
  • Core/Insulation Crimp: E/C
  • Release Tool/Test Probe: 12094429/J-35616-3 (GY)

Heated Seat Element - Driver Back (KA1)

Pin

Wire

Circuit

Function

A

0.8 BK

--

Heated Seat Control

B

0.8 BK

2050

Ground

Heated Seat Element - Passenger Back (KA1)


Object Number: 258301  Size: CH

Connector Part Information

  • OEM: 12059254
  • Service: 12126020
  • Description: 2-Way M Metri-Pack 150 Series (GN)

Terminal Part Information

  • Terminal/Tray: 12047581/2
  • Core/Insulation Crimp: E/C
  • Release Tool/Test Probe: 12094429/J-35616-3 (GY)

Heated Seat Element - Passenger Back (KA1)

Pin

Wire

Circuit

Function

A

0.8 BK

--

Heated Seat Control

B

0.8 BK

2050

Ground

Horn (without N04)


Object Number: 1527729  Size: CH

Connector Part Information

  • OEM: 15419715
  • Service: 88988313
  • Description: 2-Way F GT 150 Sealed (GY)

Terminal Part Information

  • Terminal/Tray: 12191818/8
  • Core/Insulation Crimp: See Terminal Kit
  • Release Tool/Test Probe: See Terminal Kit

Horn (without N04)

Pin

Wire

Circuit

Function

A

0.5 BK

850

Ground

B

0.35 D-GN

1329

Horn Control

Horn A-Note (N04)


Object Number: 1527729  Size: CH

Connector Part Information

  • OEM: 15419715
  • Service: 88988313
  • Description: 2-Way F GT 150 Sealed (GY)

Terminal Part Information

  • Terminal/Tray: 12191818/8
  • Core/Insulation Crimp: See Terminal Kit
  • Release Tool/Test Probe: See Terminal Kit

Horn A-Note (N04)

Pin

Wire

Circuit

Function

A

0.5 BK

850

Ground

B

0.35 D-GN

1329

Horn Control

Horn F-Note (N04)


Object Number: 1527729  Size: CH

Connector Part Information

  • OEM: 15419715
  • Service: 88988313
  • Description: 2-Way F GT 150 Sealed (GY)

Terminal Part Information

  • Terminal/Tray: 12191818/8
  • Core/Insulation Crimp: See Terminal Kit
  • Release Tool/Test Probe: See Terminal Kit

Horn F-Note (N04)

Pin

Wire

Circuit

Function

A

0.5 BK

850

Ground

B

0.35 D-GN

1329

Horn Control

HVAC Control Module X1


Object Number: 1567536  Size: CH

Connector Part Information

  • OEM: 1534390-1
  • Service: 88988350
  • Description: 5-Way F Standard Power Timer (BK)

Terminal Part Information

  • Terminal/Tray: See Terminal Kit
  • Core/Insulation Crimp: See Terminal Kit
  • Release Tool/Test Probe: See Terminal Kit

HVAC Control Module X1

Pin

Wire

Circuit

Function

1

0.5 OG

52

High Blower Motor Control

2

2 L-BU

72

Medium 2 Blower Motor Control

3

2 TN

63

Medium Blower Motor Control

4

2 YE

60

Low Blower Motor Control

5

3 BK

2050

Ground (LHD)

3 BK

850

Ground (RHD)

HVAC Control Module X2


Object Number: 684939  Size: CH

Connector Part Information

  • OEM: 15336594
  • Service: 15336594
  • Description: 12-Way F Micro-Pack 100 Series (GY)

Terminal Part Information

  • Pins: B, L
  • Terminal/Tray: 12146448/19
  • Core/Insulation Crimp: E/C
  • Release Tool/Test Probe: 12031876-1/J-35616-6 (BN)
  • Pins: C-K
  • Terminal/Tray: 12146447/3
  • Core/Insulation Crimp: E/C
  • Release Tool/Test Probe: 12031876-1/J-35616-6 (BN)

HVAC Control Module X2

Pin

Wire

Circuit

Function

A

--

--

Not Used

B

0.8 OG

1140

Battery Positive Voltage

C

0.35 BK

2050

Ground

D

0.35 GY

8

Instrument Panel Lamps Dimmer Switch Signal

E

0.35 PK

2216

A/C Recirculation Request Signal

F

0.35 TN

683

Rear Defog Indicator Control

G

0.35 D-GN/WH

762

A/C Request Signal

H

--

--

Not Used

J

0.35 L-BU

292

Rear Defog Switch Signal

K

0.35 BN

41

Ignition 3 Voltage

L

0.35 BK/WH

1151

Ground

M

--

--

Not Used

HVAC Control Module X3


Object Number: 73151  Size: CH

Connector Part Information

  • OEM: 12064799
  • Service: 15305996
  • Description: 12-Way F Micro-Pack 100 Series (BK)

Terminal Part Information

  • Terminal/Tray: 12146447/3
  • Core/Insulation Crimp: E/C
  • Release Tool/Test Probe: 12031876-1/J-35616-6 (BN)

HVAC Control Module X3

Pin

Wire

Circuit

Function

A

0.35 YE

1791

Low Reference

B

0.35 L-GN/BK

2276

Mode Door Position Signal

C

0.35 GY

6137

Evaporative Temperature Sensor Signal

D

0.35 D-BU

1646

Right Air Temperature Door Position Signal

E

0.35 L-BU

733

Left Air Temperature Door Position Signal

F

0.35 L-BU/BK

1688

5-Volt Reference

G

0.35 D-GN

1614

Recirculation Door Control A

H

0.35 TN/BK

2274

Recirculation Door Control B

J

0.35 L-GN

2275

Mode Door Control B

K

0.35 TN

2273

Mode/Right Air Temperature Door Control B

L

0.35 L-GN/BK

1647

Air Temperature Door A

M

0.35 D-BU

1199

Left Air Temperature Door Control B

I/P Courtesy Lamp - Left


Object Number: 1335537  Size: CH

Connector Part Information

  • OEM: 15437400
  • Service: See Catalog
  • Description: 2-Way F Lamp Socket Wedge (BK)

Terminal Part Information

  • Terminal/Tray: Service w/Pigtail
  • Release Tool/Test Probe: See Terminal Kit

I/P Courtesy Lamp - Left

Pin

Wire

Circuit

Function

A

0.5 OG

1732

Inadvertent Power Control

B

0.5 WH

156

Courtesy Lamp Low Control

I/P Courtesy Lamp - Right


Object Number: 1335537  Size: CH

Connector Part Information

  • OEM: 15437400
  • Service: See Catalog
  • Description: 2-Way F Lamp Socket Wedge (BK)

Terminal Part Information

  • Terminal/Tray: Service w/Pigtail
  • Release Tool/Test Probe: See Terminal Kit

I/P Courtesy Lamp - Right

Pin

Wire

Circuit

Function

A

0.5 OG

1732

Inadvertent Power Control

B

0.5 WH

156

Courtesy Lamp Low Control

Ignition Coil 1 (LH8)


Object Number: 1581641  Size: CH

Connector Part Information

  • OEM: 15439568
  • Service: 88987184
  • Description: 4-Way F GT 150 Series Sealed (BK)

Terminal Part Information

  • Terminal/Tray: 15326267/19
  • Core/Insulation Crimp: Pins A, D: E/1
  • Core/Insulation Crimp: Pins B, C: E/4
  • Release Tool/Test Probe: 15315247/J-35616-2A (GY)

Ignition Coil 1 (LH8)

Pin

Wire

Circuit

Function

A

0.8 BK

550

Ground

B

0.5 BN

2129

Low Reference

C

0.5 PU

2121

IC 1 Control

D

0.8 PK

239

Ignition Voltage

Ignition Coil 1 (LLR)


Object Number: 726825  Size: CH

Connector Part Information

  • OEM: 15355370
  • Service: 15306431
  • Description: 3-Way F GT 150 Series, Sealed (BK)

Terminal Part Information

  • Terminal/Tray: 15326267/19
  • Core/Insulation Crimp: E/4
  • Release Tool/Test Probe: 15315247/J-35616-2A (GY)

Ignition Coil 1 (LLR)

Pin

Wire

Circuit

Function

A

0.5 PK

239

Ignition Voltage

B

0.35 PU

2121

IC 1 Control

C

0.5 BK

550

Ground

Ignition Coil 2 (LH8)


Object Number: 1581641  Size: CH

Connector Part Information

  • OEM: 15439568
  • Service: 88987184
  • Description: 4-Way F GT 150 Series Sealed (BK)

Terminal Part Information

  • Terminal/Tray: 15326267/19
  • Core/Insulation Crimp: Pins A, D: E/1
  • Core/Insulation Crimp: Pins B, C: E/4
  • Release Tool/Test Probe: 15315247/J-35616-2A (GY)

Ignition Coil 2 (LH8)

Pin

Wire

Circuit

Function

A

0.8 BK

550

Ground

B

0.5 BN

2130

Low Reference

C

0.5 RD

2122

IC 2 Control

D

0.8 PK

839

Ignition Voltage

Ignition Coil 2 (LLR)


Object Number: 726825  Size: CH

Connector Part Information

  • OEM: 15355370
  • Service: 15306431
  • Description: 3-Way F GT 150 Series, Sealed (BK)

Terminal Part Information

  • Terminal/Tray: 15326267/19
  • Core/Insulation Crimp: E/4
  • Release Tool/Test Probe: 15315247/J-35616-2A (GY)

Ignition Coil 2 (LLR)

Pin

Wire

Circuit

Function

A

0.5 PK

239

Ignition Voltage

B

0.35 RD/WH

2122

IC 2 Control

C

0.5 BK

550

Ground

Ignition Coil 3 (LH8)


Object Number: 1581641  Size: CH

Connector Part Information

  • OEM: 15439568
  • Service: 88987184
  • Description: 4-Way F GT 150 Series Sealed (BK)

Terminal Part Information

  • Terminal/Tray: 15326267/19
  • Core/Insulation Crimp: Pins A, D: E/1
  • Core/Insulation Crimp: Pins B, C: E/4
  • Release Tool/Test Probe: 15315247/J-35616-2A (GY)

Ignition Coil 3 (LH8)

Pin

Wire

Circuit

Function

A

0.8 BK

550

Ground

B

0.5 BN

2129

Low Reference

C

0.5 L-BU

2123

IC 3 Control

D

0.8 PK

239

Ignition Voltage

Ignition Coil 3 (LLR)


Object Number: 726825  Size: CH

Connector Part Information

  • OEM: 15355370
  • Service: 15306431
  • Description: 3-Way F GT 150 Series, Sealed (BK)

Terminal Part Information

  • Terminal/Tray: 15326267/19
  • Core/Insulation Crimp: E/4
  • Release Tool/Test Probe: 15315247/J-35616-2A (GY)

Ignition Coil 3 (LLR)

Pin

Wire

Circuit

Function

A

0.5 PK

239

Ignition Voltage

B

0.35 L-BU

2123

IC 3 Control

C

0.5 BK

550

Ground

Ignition Coil 4 (LH8)


Object Number: 1581641  Size: CH

Connector Part Information

  • OEM: 15439568
  • Service: 88987184
  • Description: 4-Way F GT 150 Series Sealed (BK)

Terminal Part Information

  • Terminal/Tray: 15326267/19
  • Core/Insulation Crimp: Pins A, D: E/1
  • Core/Insulation Crimp: Pins B, C: E/4
  • Release Tool/Test Probe: 15315247/J-35616-2A (GY)

Ignition Coil 4 (LH8)

Pin

Wire

Circuit

Function

A

0.8 BK

550

Ground

B

0.5 BN

2130

Low Reference

C

0.5 D-GN

2124

IC 4 Control

D

0.8 PK

839

Ignition Voltage

Ignition Coil 4 (LLR)


Object Number: 726825  Size: CH

Connector Part Information

  • OEM: 15355370
  • Service: 15306431
  • Description: 3-Way F GT 150 Series, Sealed (BK)

Terminal Part Information

  • Terminal/Tray: 15326267/19
  • Core/Insulation Crimp: E/4
  • Release Tool/Test Probe: 15315247/J-35616-2A (GY)

Ignition Coil 4 (LLR)

Pin

Wire

Circuit

Function

A

0.5 PK

239

Ignition Voltage

B

0.35 D-GN/WH

2124

IC 4 Control

C

0.5 BK

550

Ground

Ignition Coil 5 (LH8)


Object Number: 1581641  Size: CH

Connector Part Information

  • OEM: 15439568
  • Service: 88987184
  • Description: 4-Way F GT 150 Series Sealed (BK)

Terminal Part Information

  • Terminal/Tray: 15326267/19
  • Core/Insulation Crimp: Pins A, D: E/1
  • Core/Insulation Crimp: Pins B, C: E/4
  • Release Tool/Test Probe: 15315247/J-35616-2A (GY)

Ignition Coil 5 (LH8)

Pin

Wire

Circuit

Function

A

0.8 BK

550

Ground

B

0.5 BN

2129

Low Reference

C

0.5 D-GN

2125

IC 5 Control

D

0.8 PK

239

Ignition Voltage

Ignition Coil 5 (LLR)


Object Number: 726825  Size: CH

Connector Part Information

  • OEM: 15355370
  • Service: 15306431
  • Description: 3-Way F GT 150 Series, Sealed (BK)

Terminal Part Information

  • Terminal/Tray: 15326267/19
  • Core/Insulation Crimp: E/4
  • Release Tool/Test Probe: 15315247/J-35616-2A (GY)

Ignition Coil 5 (LLR)

Pin

Wire

Circuit

Function

A

0.5 PK

239

Ignition Voltage

B

0.35 D-GN

2125

IC 5 Control

C

0.5 BK

550

Ground

Ignition Coil 6 (LH8)


Object Number: 1581641  Size: CH

Connector Part Information

  • OEM: 15439568
  • Service: 88987184
  • Description: 4-Way F GT 150 Series Sealed (BK)

Terminal Part Information

  • Terminal/Tray: 15326267/19
  • Core/Insulation Crimp: Pins A, D: E/1
  • Core/Insulation Crimp: Pins B, C: E/4
  • Release Tool/Test Probe: 15315247/J-35616-2A (GY)

Ignition Coil 6 (LH8)

Pin

Wire

Circuit

Function

A

0.8 BK

550

Ground

B

0.5 BN

2130

Low Reference

C

0.5 L-BU

2126

IC 6 Control

D

0.8 PK

839

Ignition Voltage

Ignition Coil 7 (LH8)


Object Number: 1581641  Size: CH

Connector Part Information

  • OEM: 15439568
  • Service: 88987184
  • Description: 4-Way F GT 150 Series Sealed (BK)

Terminal Part Information

  • Terminal/Tray: 15326267/19
  • Core/Insulation Crimp: Pins A, D: E/1
  • Core/Insulation Crimp: Pins B, C: E/4
  • Release Tool/Test Probe: 15315247/J-35616-2A (GY)

Ignition Coil 7 (LH8)

Pin

Wire

Circuit

Function

A

0.8 BK

550

Ground

B

0.5 BN

2129

Low Reference

C

0.5 RD

2127

IC 7 Control

D

0.8 PK

239

Ignition Voltage

Ignition Coil 8 (LH8)


Object Number: 1581641  Size: CH

Connector Part Information

  • OEM: 15439568
  • Service: 88987184
  • Description: 4-Way F GT 150 Series Sealed (BK)

Terminal Part Information

  • Terminal/Tray: 15326267/19
  • Core/Insulation Crimp: Pins A, D: E/1
  • Core/Insulation Crimp: Pins B, C: E/4
  • Release Tool/Test Probe: 15315247/J-35616-2A (GY)

Ignition Coil 8 (LH8)

Pin

Wire

Circuit

Function

A

0.8 BK

550

Ground

B

0.5 BN

2130

Low Reference

C

0.5 PU

2128

IC 8 Control

D

0.8 PK

839

Ignition Voltage

Ignition Lock Cylinder Control Actuator (M30)


Object Number: 280768  Size: CH

Connector Part Information

  • OEM: 12052832
  • Service: 12101825
  • Description: 2-Way F Metri-Pack 150 Series (BK)

Terminal Part Information

  • Terminal/Tray: 12064971/5
  • Core/Insulation Crimp: E/C
  • Release Tool/Test Probe: 12094429/J-35616-2A (GY)

Ignition Lock Cylinder Control Actuator (M30)

Pin

Wire

Circuit

Function

A

0.35 GY

1996

Ignition Lock Cylinder Control Actuator Signal

B

0.35 D-BU

2050

Ground

Ignition Switch


Object Number: 307727  Size: CH

Connector Part Information

  • OEM:IL-AG5-6S-S3C1
  • Service: See Catalog
  • Description: 6-Way F (GN)

Ignition Switch

Pin

Wire

Circuit

Function

1

0.35 WH/RD

4

Ignition Voltage

2

0.35 WH/BK

1740

Battery Positive Voltage

3

0.35 WH/GN

338

Ignition Voltage

4

0.35 WH/BU

1390

Ignition Voltage

5

0.35 WH/YE

1073

Ignition Key Resistor Signal

6

--

--

Not Used

Inflatable Restraint Front End Sensor - Left


Object Number: 744046  Size: CH

Connector Part Information

  • OEM: 15356723
  • Service: 15306439
  • Description: 2-Way F GT 150 Series Sealed (YE)

Terminal Part Information

  • Terminal/Tray: Service with Pigtail
  • Core/Insulation Crimp: N/A
  • Release Tool/Test Probe: See Terminal Kit

Inflatable Restraint Front End Sensor - Left

Pin

Wire

Circuit

Function

A

0.5 YE

354

Electronic Frontal Sensor Signal - Left

B

0.5 GY

349

Electronic Frontal Sensor Voltage - Left

Inflatable Restraint Front End Sensor - Right


Object Number: 744046  Size: CH

Connector Part Information

  • OEM: 15356723
  • Service: 15306439
  • Description: 2-Way F GT 150 Series Sealed (YE)

Terminal Part Information

  • Terminal/Tray: Service with Pigtail
  • Core/Insulation Crimp: N/A
  • Release Tool/Test Probe: See Terminal Kit

Inflatable Restraint Front End Sensor - Right

Pin

Wire

Circuit

Function

A

0.5 D-GN

1409

Electronic Frontal Sensor Signal - Right

B

0.5 YE

1834

Electronic Frontal Sensor Voltage - Right

Inflatable Restraint I/P Module


Object Number: 1334453  Size: CH

Connector Part Information

  • OEM: MX10-4SC
  • Service: Not Serviced
  • Description: 4-Way F MX (YE)

Terminal Part Information

  • Terminal/Tray: Service with Pigtail
  • Core/Insulation Crimp: N/A
  • Release Tool/Test Probe: See Terminal Kit

Inflatable Restraint I/P Module

Pin

Wire

Circuit

Function

1

0.5 PU

3026

I/P Module - Stage 2 - Low Control

2

0.5 GY

3027

I/P Module - Stage 2 - High Control

3

0.5 OG

3024

I/P Module - Stage 1 - Low Control

4

0.5 YE

3025

I/P Module - Stage 1 - High Control

Inflatable Restraint Front Passenger Presence System (PPS) Module


Object Number: 1468542  Size: CH

Connector Part Information

  • OEM: 15431682
  • Service: Not Serviced
  • Description: 18-Way F Micro-Pack 100W Series Sealed (BK)

Terminal Part Information

  • Terminal/Tray: Service with Terminated Lead
  • Core/Insulation Crimp: N/A
  • Release Tool/Test Probe: 12122523/J-35616-6

Inflatable Restraint Front Passenger Presence System (PPS) Module

Pin

Wire

Circuit

Function

1

0.35 D-BU

2307

Passenger Air Bag On Indicator Control

2

0.35 D-GN

2308

Passenger Air Bag Off Indicator Control

3

--

--

Not Used

4

0.35 PU

5611

Passenger Seat Belt Tension Sensor Signal

5

0.35 BK/WH

2151

Ground

6

0.35 WH

5608

Occupant Pressure Sensor Signal

7

0.35 L-GN

5609

Occupant Pressure Sensor Voltage Reference

8

--

--

Not Used

9

0.35 YE

1139

Ignition Voltage

10-13

--

--

Not Used

14

0.35 TN

5613

Low Reference

15

0.35 GY

5610

Low Reference

16

0.35 L-BU

5612

5-Volt Reference

17

--

--

Not Used

18

0.35 PK

2306

Serial Data Link

Inflatable Restraint Front Passenger Presence System (PPS) Sensor


Object Number: 1424764  Size: CH

Connector Part Information

  • OEM: 15422250
  • Service: 88987995
  • Description: 3-Way F GT 150 Series (D-GY)

Terminal Part Information

  • Terminal/Tray: Service with Pigtail
  • Core/Insulation Crimp: N/A
  • Release Tool/Test Probe: 15315247/J-35616-2A

Inflatable Restraint Front Passenger Presence System (PPS) Sensor

Pin

Wire

Circuit

Function

A

0.35 L-GN

5609

Occupant Pressure Sensor Voltage Reference

B

0.35 WH

5608

Occupant Pressure Sensor Signal

C

0.35 GY

5610

Low Reference

Inflatable Restraint Roof Rail Module - Left (ASF)


Object Number: 1334453  Size: CH

Connector Part Information

  • OEM: MX10-4SC
  • Service: Not Serviced
  • Description: 4-Way F MX (YE)

Terminal Part Information

  • Terminal/Tray: Service with Pigtail
  • Core/Insulation Crimp: N/A
  • Release Tool/Test Probe: See Terminal Kit

Inflatable Restraint Roof Rail Module - Left (ASF)

Pin

Wire

Circuit

Function

1-2

--

--

Not Used

3

0.5 D-GN

2105

Roof Rail Module - Left - High Control

4

0.5 BN

2106

Roof Rail Module - Left - Low Control

Inflatable Restraint Roof Rail Module - Right (ASF)


Object Number: 1334453  Size: CH

Connector Part Information

  • OEM: MX10-4SC
  • Service: Not Serviced
  • Description: 4-Way F MX (YE)

Terminal Part Information

  • Terminal/Tray: Service with Pigtail
  • Core/Insulation Crimp: N/A
  • Release Tool/Test Probe: See Terminal Kit

Inflatable Restraint Roof Rail Module - Right (ASF)

Pin

Wire

Circuit

Function

1-2

--

--

Not Used

3

0.5 GY

2103

Roof Rail Module - Right - High Control

4

0.5 D-BU

2104

Roof Rail Module - Right - Low Control

Inflatable Restraint Seat Position Sensor - Driver


Object Number: 280768  Size: CH

Connector Part Information

  • OEM: 12052832
  • Service: 12101825
  • Description: 2-Way F Metri-Pack 150 Series (BK)

Terminal Part Information

  • Terminal/Tray: Service with Pigtail
  • Core/Insulation Crimp: N/A
  • Release Tool/Test Probe: See Terminal Kit

Inflatable Restraint Seat Position Sensor - Driver

Pin

Wire

Circuit

Function

A

0.35 L-GN/WH

2638

Driver Seat Position Sensor - High

B

0.35 BK/WH

2644

Seat Position Sensor Return

Inflatable Restraint Seat Position Sensor - Passenger


Object Number: 280768  Size: CH

Connector Part Information

  • OEM: 12052832
  • Service: 12101825
  • Description: 2-Way F Metri-Pack 150 Series (BK)

Terminal Part Information

  • Terminal/Tray: Service with Pigtail
  • Core/Insulation Crimp: N/A
  • Release Tool/Test Probe: See Terminal Kit

Inflatable Restraint Seat Position Sensor - Passenger

Pin

Wire

Circuit

Function

A

0.35 L-GN/WH

2645

Passenger Seat Position Sensor - High

B

0.35 BK/WH

2644

Seat Position Sensor Return

Inflatable Restraint Sensing and Diagnostic Module (SDM)


Object Number: 1468532  Size: CH

Connector Part Information

  • OEM: 4-638595-4 (ASF)/4-638595-3 (-ASF)
  • Service: 19152717
  • Description: 60-Way F (YE)

Terminal Part Information

  • Pins: 1-19, 28-31, 35-43, 59, 60
  • Terminal: Service with Terminated Lead
  • Core/Insulation Crimp: N/A
  • Release Tool/Test Probe: 15315247/J-35616-64A (L-BU)

Inflatable Restraint Sensing and Diagnostic Module (SDM)

Pin

Wire

Circuit

Function

1

0.5 BK/WH

2151

Ground

2

0.5 PU

1807

Class 2 Serial Data

3

--

--

Not Available

4

0.5 BN

3020

Steering Wheel Module - Stage 1 - Low Control

5

0.5 TN

3021

Steering Wheel Module - Stage 1 - High Control

6

0.5 YE

3025

I/P Module - Stage 1 - High Control

7

0.5 OG

3024

I/P Module - Stage 1 - Low Control

8

0.5 PK

3022

Steering Wheel Module - Stage 2 - Low Control

9

0.5 WH

3023

Steering Wheel Module - Stage 2 - High Control

10

0.5 GY

3027

I/P Module - Stage 2 - High Control

11

0.5 PU

3026

I/P Module - Stage 2 - Low Control

12

0.5 BN

2106

Roof Rail Module - Left - Low Control (ASF)

13

0.5 D-GN

2105

Roof Rail Module - Left - High Control (ASF)

14

0.5 GY

2103

Roof Rail Module - Right - High Control (ASF)

15

0.5 D-BU

2104

Roof Rail Module - Right - Low Control (ASF)

16

0.5 OG/BK

2119

Seat Belt Pretensioner - Left - Low Control

17

0.5 BK/WH

2118

Seat Belt Pretensioner - Left - High Control

18

0.5 L-GN

2116

Seat Belt Pretensioner - Right - High Control

19

0.5 OG

2117

Seat Belt Pretensioner - Right - Low Control

20-27

--

--

Not Available

28

0.35 BK/WH

2644

Seat Position Sensor Return

29

0.35 L-GN/WH

2638

Driver Seat Position Sensor - High

30

0.35 L-BU

2645

Passenger Seat Position Sensor - High

31

0.5 YE

1139

Ignition Voltage

32-34

--

--

Not Available

35

0.5 PK

2306

Serial Data Link

36

0.5 GY

349

Electronic Frontal Sensor Voltage - Left

37

0.5 YE

1834

Electronic Frontal Sensor Voltage - Right

38

0.5 YE

354

Electronic Frontal Sensor Signal - Left

39

0.5 D-GN

1409

Electronic Frontal Sensor Signal - Right

40

0.5 WH

2162

Side Impact Sensor - Left - Signal (ASF)

41

0.5 D-GN

2164

Side Impact Sensor - Right - Signal (ASF)

42

0.5 YE

2161

Side Impact Sensor - Left - Voltage (ASF)

43

0.5 TN

2163

Side Impact Sensor - Right - Voltage (ASF)

44-58

--

--

Not Available

59

0.5 BK/WH

238

Seat Belt Switch - Left

60

0.35 RD

2484

Seat Belt Switch - Right

Inflatable Restraint Side Impact Sensor (SIS) - Left (ASF)


Object Number: 744055  Size: CH

Connector Part Information

  • OEM: 15356722
  • Service: 15306405
  • Description: 2-Way F GT 150 Series Sealed (YE)

Terminal Part Information

  • Terminal/Tray: Service with Pigtail
  • Core/Insulation Crimp: N/A
  • Release Tool/Test Probe: See Terminal Kit

Inflatable Restraint Side Impact Sensor (SIS) - Left (ASF)

Pin

Wire

Circuit

Function

A

0.5 WH

2162

Side Impact Sensor - Left - Signal

B

0.5 YE

2161

Side Impact Sensor - Left - Voltage

Inflatable Restraint Side Impact Sensor (SIS) - Right (ASF)


Object Number: 744055  Size: CH

Connector Part Information

  • OEM: 15356722
  • Service: 15306405
  • Description: 2-Way F GT 150 Series Sealed (YE)

Terminal Part Information

  • Terminal/Tray: Service with Pigtail
  • Core/Insulation Crimp: N/A
  • Release Tool/Test Probe: See Terminal Kit

Inflatable Restraint Side Impact Sensor (SIS) - Right (ASF)

Pin

Wire

Circuit

Function

A

0.35 D-GN

2164

Side Impact Sensor - Right - Signal

B

0.35 TN

2163

Side Impact Sensor - Right - Voltage

Inflatable Restraint Steering Wheel Module X1


Object Number: 966373  Size: CH

Connector Part Information

  • OEM: 54560208
  • Service: See Catalog
  • Description: 2-Way F ABX-3 Cord B (TN)

Terminal Part Information

  • Terminal/Tray: Service with Pigtail
  • Core/Insulation Crimp: N/A
  • Release Tool/Test Probe: N/A

Inflatable Restraint Steering Wheel Module X1

Pin

Wire

Circuit

Function

A

0.5 YE

3021

Steering Wheel Module - Stage 1 - High Control

B

0.5 BN

3020

Steering Wheel Module - Stage 1 - Low Control

Inflatable Restraint Steering Wheel Module X2


Object Number: 966373  Size: CH

Connector Part Information

  • OEM: 54550271
  • Service: See Catalog
  • Description: 2-Way F ABX-3 Cord G (PK)

Terminal Part Information

  • Terminal/Tray: Service with Pigtail
  • Core/Insulation Crimp: N/A
  • Release Tool/Test Probe: N/A

Inflatable Restraint Steering Wheel Module X2

Pin

Wire

Circuit

Function

A

0.5 RD

3022

Steering Wheel Module - Stage 2 - Low Control

B

0.5 WH

3023

Steering Wheel Module - Stage 2 - High Control

Inflatable Restraint Vehicle Rollover Sensor (ASF)


Object Number: 1468541  Size: CH

Connector Part Information

  • OEM: 6189-1024
  • Service: Not Serviced
  • Description: 6-Way F 064 Series Sealed (YE)

Terminal Part Information

  • Terminal/Tray: Service with Pigtail
  • Core/Insulation Crimp: N/A
  • Release Tool/Test Probe: 15315247/J-35616-64A (L-BU)

Inflatable Restraint Vehicle Rollover Sensor (ASF)

Pin

Wire

Circuit

Function

1

0.5 YE

1139

Ignition Voltage

2-4

--

--

Not Used

5

0.5 PK

2306

Serial Data Link

6

0.5 BK/WH

2151

Ground

Input Speed Sensor (ISS) (M30)


Object Number: 1645840  Size: CH

Connector Part Information

  • OEM: 15492436
  • Service: See Catalog
  • Description: 3-Way M Metri-Pack 150 Series (L-GY)

Terminal Part Information

  • Terminal/Tray: 12124075/5
  • Core/Insulation Crimp: E/C
  • Release Tool/Test Probe: 12180559-1/J-35616-14 (GN)

Input Speed Sensor (ISS) (M30)

Pin

Wire

Circuit

Function

A

0.5 BK

1230

AT ISS High Signal

B

0.5 RD

839

Ignition Voltage

C

0.5 D-GN

1231

AT ISS Low Signal

Inside Rearview Mirror (ISRVM)


Object Number: 872580  Size: CH

Connector Part Information

  • OEM: 917981-2
  • Service: 15306351
  • Description: 16-Way F 040 Hybrid (BK)

Terminal Part Information

  • Terminal/Tray: 175266-5/15
  • Core/Insulation Crimp: Pins 6-8, 11-15: J/J, Pin 9: K/K
  • Release Tool/Test Probe: 15315247/J-35616-16 (L-GN)

Inside Rearview Mirror (ISRVM)

Pin

Wire

Circuit

Function

1

0.35 PK

6972

Camera Signal + (UVC)

2

0.35 L-BU

6973

Camera Signal - (UVC)

3

0.8 BARE

6974

Drain Wire (UVC)

4-5

--

--

Not Used

6

0.35 D-GN/WH

636

Ambient Air Temperature Sensor Signal

7

0.35 D-GN

61

Low Reference

8

0.35 BK/WH

1151

Ground

9

0.35 BN

24

Backup Lamp Control

10

--

--

Not Used

11

0.35 D-BU

2514

Keypad Signal (UE1)

12

0.35 BK

2515

Keypad Control (UE1)

13

0.35 D-BU/WH

339

Ignition Voltage

14

0.35 GY

2516

Keypad Green LED Signal (UE1)

15

0.35 BN/WH

2517

Keypad Red LED Signal (UE1)

16

--

--

Not Used

Instrument Panel Cluster (IPC)


Object Number: 1567082  Size: CH

Connector Part Information

  • OEM: 185304-1
  • Service: 89046871
  • Description: 18-Way F Micro Quadlok (BK)

Terminal Part Information

  • Terminal/Tray: 144969-1
  • Core/Insulation Crimp: See Terminal Kit
  • Release Tool/Test Probe: See Terminal Kit

Instrument Panel Cluster (IPC)

Pin

Wire

Circuit

Function

1

0.35 OG

1440

Battery Positive Voltage

2-3

--

--

Not Used

4

0.35 BK/WH

1151

Ground

5

0.35 BN/WH

419

MIL Control

6

0.35 L-BU

2114

Left Turn Signal Lamp Control

7

0.35 D-BU

2115

Right Turn Signal Lamp Control

8-9

--

--

Not Used

10

0.35 PU

1807

Class 2 Serial Data

11

0.35 PU

1807

Class 2 Serial Data

12-14

--

--

Not Used

15

0.35 YE

234

Seat Belt Indicator Control

16

0.35 GY

728

Security Indicator Control

17-18

--

--

Not Used

Knock Sensor (KS) 1 (LH8)


Object Number: 1232999  Size: CH

Connector Part Information

  • OEM: 15374222
  • Service: 88953268
  • Description: 2-Way F GT 150 Sealed (WH)

Terminal Part Information

  • Terminal/Tray: 12191819/8
  • Core/Insulation Crimp: 2/A
  • Release Tool/Test Probe: 15315247/J-35616-2A (GY)

Knock Sensor (KS) 1 (LH8)

Pin

Wire

Circuit

Function

A

0.8 D-BU

496

KS 1 Signal

B

0.8 GY

1716

KS 1 Signal

Knock Sensor (KS) 2 (LH8)


Object Number: 1232999  Size: CH

Connector Part Information

  • OEM: 15374222
  • Service: 88953268
  • Description: 2-Way F GT 150 Sealed (WH)

Terminal Part Information

  • Terminal/Tray: 12191819/8
  • Core/Insulation Crimp: E/A
  • Release Tool/Test Probe: 15315247/J-35616-2A (GY)

Knock Sensor (KS) 2 (LH8)

Pin

Wire

Circuit

Function

A

0.8 L-BU

1876

KS 2 Signal

B

0.8 GY

2303

KS 2 Signal

Knock Sensor (KS) (LLR)


Object Number: 1232999  Size: CH

Connector Part Information

  • OEM: 15374222
  • Service: 15306631
  • Description: 2-Way F GT 150 Series, Sealed (WH)

Terminal Part Information

  • Terminal/Tray: 12191819/8
  • Core/Insulation Crimp: E/A
  • Release Tool/Test Probe: 15315247/J-35616-2A (GY)

Knock Sensor (KS) (LLR)

Pin

Wire

Circuit

Function

A

0.5 L-BU

1876

KS Signal

B

0.5 GY

2303

KS Signal

License Lamp (without EXP)


Object Number: 68721  Size: CH

Connector Part Information

  • OEM: 15300027
  • Service: 12101855
  • Description: 2-Way F Metri-Pack 280 Series, Sealed (BK)

Terminal Part Information

  • Terminal/Tray: 12077411/2
  • Core/Insulation Crimp: 2/5
  • Release Tool/Test Probe: 12094430/J-35616-4A (PU)

License Lamp (without EXP)

Pin

Wire

Circuit

Function

A

0.35 BN/WH

2609

Right Rear Park Lamp Control

B

0.35 BK

1350

Ground

License Lamp - Left (EXP)


Object Number: 1243632  Size: CH

Connector Part Information

  • OEM: 15336195
  • Service: 12101855
  • Description: 2-Way F GT 150 Series, Sealed (BK)

Terminal Part Information

  • Terminal/Tray: 12077411/2
  • Core/Insulation Crimp: 2/5
  • Release Tool/Test Probe: 12094430/J-35616-4A (PU)

License Lamp - Left (EXP)

Pin

Wire

Circuit

Function

1

0.5 BN/WH

2609

Right Rear Park Lamp Control

2

0.5 BK

1350

Ground

License Lamp - Right (EXP)


Object Number: 1243632  Size: CH

Connector Part Information

  • OEM: 15336195
  • Service: 12101855
  • Description: 2-Way F Metri-Pack 280 Series, Sealed (BK)

Terminal Part Information

  • Terminal/Tray: 12077411/2
  • Core/Insulation Crimp: 2/5
  • Release Tool/Test Probe: 12094430/J-35616-4A (PU)

License Lamp - Right (EXP)

Pin

Wire

Circuit

Function

1

0.5 BN/WH

2609

Right Rear Park Lamp Control

2

0.5 BK

1350

Ground

Liftgate Ajar Switch


Object Number: 821858  Size: CH

Connector Part Information

  • OEM: 174056-2
  • Service: 15306434
  • Description: 2-Way F MultiLock 040 (BK)

Terminal Part Information

  • Terminal/Tray: 173681-2/17
  • Core/Insulation Crimp: E/4
  • Release Tool/Test Probe: 15315247/J-35616-16 (L-GN)

Liftgate Ajar Switch

Pin

Wire

Circuit

Function

1

0.35 L-BU/BK

747

Right Rear Door Ajar Switch Signal

2

0.35 BK/WH

1251

Ground

Lumbar Adjuster/Heater Switch - Driver (AG1)


Object Number: 62434  Size: CH

Connector Part Information

  • OEM: 12045688
  • Service: 12101827
  • Description: 8-Way M Metri-Pack 150 Series (BK)

Terminal Part Information

  • Pins: A-C
  • Terminal/Tray: 12059894/5
  • Core/Insulation Crimp: See Terminal Kit
  • Release Tool/Test Probe: See Terminal Kit
  • Pins: E-H
  • Terminal/Tray: 12047581/2
  • Core/Insulation Crimp: E/A
  • Release Tool/Test Probe: 12094429/J-35616-3 (GY)

Lumbar Adjuster/Heater Switch - Driver (AG1)

Pin

Wire

Circuit

Function

A

0.35 BK

2050

Ground

B

0.35 PK

1501

Driver Heated Seat High/Low Signal

C

0.35 BN

141

Ignition Voltage

D

--

--

Not Used

E

1 BK

2050

Ground

F

1 D-BU

611

Driver Seat Lumbar Motor Forward Control

G

1 PK

610

Driver Seat Lumbar Motor Rearward Control

H

1 OG

1040

Battery Positive Voltage

Lumbar Adjuster/Heater Switch - Passenger (AG2)


Object Number: 62434  Size: CH

Connector Part Information

  • OEM: 12045688
  • Service: 12101827
  • Description: 8-Way M Metri-Pack 150 Series (BK)

Terminal Part Information

  • Pins: A-D
  • Terminal/Tray: 12059894/5
  • Core/Insulation Crimp: See Terminal Kit
  • Release Tool/Test Probe: See Terminal Kit
  • Pins: E-H
  • Terminal/Tray: 12047581/2
  • Core/Insulation Crimp: E/A
  • Release Tool/Test Probe: 12094429/J-35616-3 (GY)

Lumbar Adjuster/Heater Switch - Passenger (AG2)

Pin

Wire

Circuit

Function

A

0.35 BK

2050

Ground

B

0.35 PK

1501

Passenger Heated Seat High/Low Signal

C

0.35 BN

341

Ignition Voltage

D

--

--

Not Used

E

1 BK

2050

Ground

F

1 D-BU

611

Driver Seat Lumbar Motor Forward Control

G

1 PK

610

Passenger Seat Lumbar Motor Rearward Control

H

1 OG

1040

Battery Positive Voltage

Seat Lumbar Motor - Driver (AG1)


Object Number: 38274  Size: CH

Connector Part Information

  • OEM: 12034343
  • Service: 12101821
  • Description: 2-Way F Metri-Pack 280 Series (BK)

Terminal Part Information

  • Terminal/Tray: 12034046/2
  • Core/Insulation Crimp: C/D
  • Release Tool/Test Probe: 12094430/J-35616-4A (PU)

Seat Lumbar Motor - Driver (AG1)

Pin

Wire

Circuit

Function

A

0.35 D-BU

611

Driver Seat Lumbar Motor Forward Control

B

0.35 PK

610

Driver Seat Lumbar Motor Rearward Control

Seat Lumbar Motor - Passenger (AG2)


Object Number: 38274  Size: CH

Connector Part Information

  • OEM: 12034343
  • Service: 12101821
  • Description: 2-Way F Metri-Pack 280 Series (BK)

Terminal Part Information

  • Terminal/Tray: 12034046/2
  • Core/Insulation Crimp: C/D
  • Release Tool/Test Probe: 12094430/J-35616-4A (PU)

Seat Lumbar Motor - Passenger (AG2)

Pin

Wire

Circuit

Function

A

0.35 D-BU

611

Passenger Seat Lumbar Motor Forward Control

B

0.35 PK

610

Passenger Seat Lumbar Motor Rearward Control

Manifold Absolute Pressure (MAP) Sensor (LH8)


Object Number: 684840  Size: CH

Connector Part Information

  • OEM: 12129946
  • Service: 88987997
  • Description: 3-Way F Metri-Pack 150 Series, Sealed (GY)

Terminal Part Information

  • Terminal/Tray: 12048074/2
  • Core/Insulation Crimp: E/1
  • Release Tool/Test Probe: 12094429/J-35616-2A (GY)

Manifold Absolute Pressure (MAP) Sensor (LH8)

Pin

Wire

Circuit

Function

A

0.35 OG/BK

469

Low Reference

B

0.35 L-GN

432

MAP Sensor Signal

C

0.35 GY

2704

5-Volt Reference

Manifold Absolute Pressure (MAP) Sensor (LLR)


Object Number: 1914850  Size: CH

Connector Part Information

  • OEM: 15397328
  • Service: See Catalog
  • Description: 3-Way F 2.8 Timer Series, Sealed (BK)

Terminal Part Information

  • Terminal/Tray: See Terminal Repair Kit
  • Core/Insulation Crimp: See Terminal Repair Kit
  • Release Tool/Test Probe: See Terminal Repair Kit

Manifold Absolute Pressure (MAP) Sensor (LLR)

Pin

Wire

Circuit

Function

1

0.35 GY

2704

5-Volt Reference

2

0.35 OG/BK

469

Low Reference

3

0.35 L-GN

432

MAP Sensor Signal

Marker Lamp - Left Front


Object Number: 68721  Size: CH

Connector Part Information

  • OEM: 15300027
  • Service: 12101855
  • Description: 2-Way F Metri-Pack 280 Series, Sealed (BK)

Terminal Part Information

  • Terminal/Tray: 12077411/2
  • Core/Insulation Crimp: 2/5
  • Release Tool/Test Probe: 12094430/J-35616-4A (PU)

Marker Lamp - Left Front

Pin

Wire

Circuit

Function

A

0.5 BN

9

Park Lamp Control

B

0.5 BK

850

Ground

Marker Lamp - Right Front


Object Number: 68721  Size: CH

Connector Part Information

  • OEM: 15300027
  • Service: 12101855
  • Description: 2-Way F Metri-Pack 280 Series, Sealed (BK)

Terminal Part Information

  • Terminal/Tray: 12077411/2
  • Core/Insulation Crimp: 2/5
  • Release Tool/Test Probe: 12094430/J-35616-4A (PU)

Marker Lamp - Right Front

Pin

Wire

Circuit

Function

A

0.5 BN

9

Park Lamp Control

B

0.5 BK

850

Ground

Mass Air Flow (MAF)/Intake Air Temperature (IAT) Sensor


Object Number: 647974  Size: CH

Connector Part Information

  • OEM: 15326822
  • Service: 88987186
  • Description: 5-Way F GT 150 Series, Sealed (BK)

Terminal Part Information

  • Terminal/Tray: 12191819/8
  • Core/Insulation Crimp: E/A
  • Release Tool/Test Probe: 15315247/J-35616-2A (GY)

Mass Air Flow (MAF)/Intake Air Temperature (IAT) Sensor

Pin

Wire

Circuit

Function

A

0.5 YE

492

MAF Sensor Signal

B

0.5 BK/WH

451

Ground

C

0.5 PK

439

Ignition Voltage

D

0.5 BK

2760

Low Reference

E

0.5 L-BU

6289

IAT Sensor Signal

Mode Actuator


Object Number: 258172  Size: CH

Connector Part Information

  • OEM: 12064982
  • Service: 12102633
  • Description: 5-Way F Micro-Pack 100 Series (BK)

Terminal Part Information

  • Terminal/Tray: 12146447/3
  • Core/Insulation Crimp: E/C
  • Release Tool/Test Probe: 12031876-1/J-35616-6 (BN)

Mode Actuator

Pin

Wire

Circuit

Function

1

0.5 YE

1791

Low Reference

2

0.5 L-GN/BK

2276

Mode Door Position Signal

3

0.35 L-BU/BK

1688

5-Volt Reference

4

0.5 TN

2273

Mode/Right Air Temperature Door Control B

5

0.35 L-GN

2275

Mode Door Control B

Outside Rearview Mirror - Driver


Object Number: 1566775  Size: CH

Connector Part Information

  • OEM: 6098-2158
  • Service: 88988638
  • Description: 4-Way M DL Series (WH)

Terminal Part Information

  • Terminal/Tray: 8100-2512/6
  • Core/Insulation Crimp: E/2
  • Release Tool/Test Probe: 15315247/J-35616-17 (L-GN)

Outside Rearview Mirror - Driver

Pin

Wire

Circuit

Function

1

0.35 WH

81

Driver Mirror Motor Right Control

2

0.35 GY

90

Driver/Passenger Mirror Motor Down/Left Control

3

--

--

Not Used

4

0.35 YE

88

Driver Mirror Motor Up Control

Outside Rearview Mirror - Passenger


Object Number: 1566775  Size: CH

Connector Part Information

  • OEM: 6098-2158
  • Service: 15115231
  • Description: 4-Way M DL Series (WH)

Terminal Part Information

  • Terminal/Tray: 8100-2506/6
  • Core/Insulation Crimp: E/2
  • Release Tool/Test Probe: 15315247/J-35616-17 (L-GN)

Outside Rearview Mirror - Passenger

Pin

Wire

Circuit

Function

1

0.35 RD/WH

881

Passenger Mirror Motor Right Control

2

0.35 GY

90

Driver/Passenger Mirror Motor Down/Left Control

3

--

--

Not Used

4

0.35 BN/WH

1498

Passenger Mirror Motor Up Control

Outside Rearview Mirror Switch


Object Number: 901282  Size: CH

Connector Part Information

  • OEM: 15336862
  • Service: 88988407
  • Description: 8-Way F Ducon 0.8 Series (BK)

Terminal Part Information

  • Terminal/Tray: 15326592/19
  • Core/Insulation Crimp: E/2
  • Release Tool/Test Probe: 12094429/J-35616-64A (L-BU)

Outside Rearview Mirror Switch

Pin

Wire

Circuit

Function

1

0.5 OG

1732

Inadvertent Power Control

2

0.5 BK

1450

Ground

3

0.5 WH

81

Left Mirror Motor Right Control

4

0.5 BN/WH

1498

Right Mirror Motor Up Control

5

0.5 GY

90

Right Mirror Motor Left Control

6

--

--

Not Used

7

0.5 RD/WH

881

Right Mirror Motor Right Control

8

0.5 YE

88

Left Mirror Motor Up Control

Park Brake Switch


Object Number: 856503  Size: CH

Connector Part Information

  • OEM: 8911256
  • Service: 12102561
  • Description: 1-Way F 56 Series (WH)

Terminal Part Information

  • Terminal/Tray: 12124515/1
  • Core/Insulation Crimp: See Terminal Kit
  • Release Tool/Test Probe: 12094430/J-35616-42 (RD)

Park Brake Switch

Pin

Wire

Circuit

Function

A

0.8 L-BU

1134

Park Brake Switch Signal

Park/Neutral Position (PNP) Switch (M30)


Object Number: 901402  Size: CH

Connector Part Information

  • OEM: 15416722
  • Service: Non-Serviceable
  • Description: 12-Way F GT ASM Conn (GY)

Terminal Part Information

  • Terminal/Tray: Non-Serviceable
  • Core/Insulation Crimp: Non-Serviceable
  • Release Tool/Test Probe: Non-Serviceable

Park/Neutral Position (PNP) Switch (M30)

Pin

Wire

Circuit

Function

1

0.5 YE

275

Park Neutral Position Switch Park Signal

2

--

--

Not Used

3

0.5 D-GN

1433

Clutch Start Switch Signal

4

0.5 YE

772

Transmission Range Switch Signal B

5

0.5 BK/WH

771

Transmission Range Switch Signal A

6

0.5 GY

773

Transmission Range Switch Signal C

7

0.5 BK/WH

451

Ground

8

0.5 WH

776

Transmission Range Switch Signal P

9

--

--

Not Used

10

0.5 L-GN

24

Back-Up Lamp Control

11

0.5 PK

539

Ignition 1 Voltage

12

--

--

Not Used

Park/Turn Signal Lamp - Left Front (without EXP)


Object Number: 847206  Size: CH

Connector Part Information

  • OEM: 12040977
  • Service: 12085492
  • Description: 3-Way F Metri-Pack 280 Series, Sealed (BK)

Terminal Part Information

  • Terminal/Tray: 12077411/2
  • Core/Insulation Crimp: 2/5
  • Release Tool/Test Probe: 12094430/J-35616-4A (PU)

Park/Turn Signal Lamp - Left Front (without EXP)

Pin

Wire

Circuit

Function

A

0.5 D-BU

14

Left Turn Signal Lamp Control

B

0.5 BN

9

Park Lamp Control

C

0.5 BK

850

Ground

Park/Turn Signal Lamp - Right Front (without EXP)


Object Number: 847206  Size: CH

Connector Part Information

  • OEM: 12040977
  • Service: 12085492
  • Description: 3-Way F Metri-Pack 280 Series, Sealed (BK)

Terminal Part Information

  • Terminal/Tray: 12077411/2
  • Core/Insulation Crimp: 2/5
  • Release Tool/Test Probe: 12094430/J-35616-4A (PU)

Park/Turn Signal Lamp - Right Front (without EXP)

Pin

Wire

Circuit

Function

A

0.5 D-BU

15

Right Turn Signal Lamp Control

B

0.5 BN

9

Park Lamp Control

C

0.5 BK

850

Ground

Pressure Control (PC) Solenoid Valve (M30)


Object Number: 1240818  Size: CH

Connector Part Information

  • OEM: 15467085
  • Service: See Catalog
  • Description: 2-Way F Metri-Pack 150.2 Series (L-GY)

Terminal Part Information

  • Terminal/Tray: 12124075/5
  • Core/Insulation Crimp: E/C
  • Release Tool/Test Probe: 12180559-1/J-35616-14 (GN)

Pressure Control (PC) Solenoid Valve (M30)

Pin

Wire

Circuit

Function

A

0.5 PU

1228

PC Solenoid Valve High Control

B

0.5 L-BU

1229

PC Solenoid Valve Low Control

Radio X1


Object Number: 73156  Size: CH

Connector Part Information

  • OEM: 12110088
  • Service: See Catalog
  • Description: 24-Way F Micro-Pack 100 Series (L-GY)

Terminal Part Information

  • Pins: A1-A2, A8-A11, B3-B11
  • Terminal/Tray: 12146447/3
  • Core/Insulation Crimp: E/C
  • Release Tool/Test Probe: 12031876-1/J-35616-6 (BN)
  • Pins: A5, A12, B1
  • Terminal/Tray: 12146448/19
  • Core/Insulation Crimp: Pin A5: E/C
  • Core/Insulation Crimp: Pins A12, B1: E/A
  • Release Tool/Test Probe: 12031876-1/J-35616-6 (BN)

Radio X1

Pin

Wire

Circuit

Function

A1

0.35 PU

1807

Class 2 Serial Data (UE1)

A2

0.35 PU

1807

Class 2 Serial Data

A3-A4

--

--

Not Used

A5

0.8 BARE

2011

Drain Wire (UQA)

A6-A7

--

--

Not Used

A8

0.5 TN

201

Left Front Speaker Output (+) (UQ3)

0.35 TN

511

Left Front Low Level Audio Signal (+) (UQA)

A9

0.5 GY

118

Left Front Speaker Output (-) (UQ3)

0.35 D-GN

1947

Left Front Low Level Audio Signal (-) (UQA)

A10

0.5 L-BU

115

Right Rear Speaker Output (-) (UQ3)

0.35 BK

1946

Right Rear Low Level Audio Signal (-) (UQA)

A11

0.5 D-BU

46

Right Rear Speaker Output (+) (UQ3)

0.35 D-BU

546

Right Rear Low Level Audio Signal (+) (UQA)

A12

1 BK/WH

1151

Ground

B1

1 OG

1140

Battery Positive Voltage

B2

--

--

Not Used

B3

0.35 PK

314

Radio On Signal (UQA)

B4

0.35 GY

8

Instrument Panel Lamps Dimmer Switch Signal

B5

0.5 BK

2050

Ground

B6

0.35 OG

5748

Radio Mute Signal (UQA)

B7

--

--

Not Used

B8

0.5 BN

199

Left Rear Speaker Output (+) (UQ3)

0.35 BN

599

Left Rear Low Level Audio Signal (+) (UQA)

B9

0.5 YE

116

Left Rear Speaker Output (-) (UQ3)

0.35 D-GN/WH

1547

Left Rear Low Level Audio Signal (-) (UQA)

B10

0.5 D-GN

117

Right Front Speaker Output (-) (UQ3)

0.35 OG/BK

1546

Right Front Low Level Audio Signal (-) (UQA)

B11

0.5 L-GN

200

Right Front Speaker Output (+) (UQ3)

0.35 L-GN

512

Right Front Low Level Audio Signal (+) (UQA)

B12

--

--

Not Used

Radio X2


Object Number: 73151  Size: CH

Connector Part Information

  • OEM: 12064799
  • Service: 15305996
  • Description: 12-Way F Micro-Pack 100 Series (BK)

Terminal Part Information

  • Terminal/Tray: 12146447/3
  • Core/Insulation Crimp: E/C
  • Release Tool/Test Probe: 12031876-1/J-35616-6 (BN)

Radio X2

Pin

Wire

Circuit

Function

A-D

--

--

Not Used

E

0.35 D-GN/WH

817

Vehicle Speed Signal (UM8)

F

--

--

Not Used

G

0.35 PU

1807

Class 2 Serial Data (U2K)

H

0.35 D-GN/WH

368

Radio Audio Signal (+) (U2K)

J

0.35 BN/WH

367

Left Audio Signal (+) (U2K)

K

0.35 BK/WH

372

Audio Common (U2K)

L

0.35 OG/BK

2061

Remote Playback Device Left Audio Signal (UE1)

M

0.35 PK/BK

2062

Remote Playback Device Audio Common Signal (UE1)

Rear Window Defogger X1


Object Number: 365953  Size: CH

Connector Part Information

  • OEM: 12092133
  • Service: 12167133
  • Description: 1-Way F Metri-Pack 630 Series (BK)

Terminal Part Information

  • Terminal/Tray: 12034110/18
  • Core/Insulation Crimp: F/G
  • Release Tool/Test Probe: 12094430/J-35616-42 (RD)

Rear Window Defogger X1

Pin

Wire

Circuit

Function

A

3 BK

293

Rear Defog Element Control

Rear Window Defogger X2


Object Number: 365953  Size: CH

Connector Part Information

  • OEM: 12092133
  • Service: 12167133
  • Description: 1-Way F Metri-Pack 630 Series (BK)

Terminal Part Information

  • Terminal/Tray: 12034110/18
  • Core/Insulation Crimp: F/G
  • Release Tool/Test Probe: 12094430/J-35616-42 (RD)

Rear Window Defogger X2

Pin

Wire

Circuit

Function

A

3 BK

1450

Ground

Rear Window Washer Fluid Pump


Object Number: 523630  Size: CH

Connector Part Information

  • OEM: 15326801
  • Service: 15306156
  • Description: 2-Way F GT 150 Series Sealed (BK)

Terminal Part Information

  • Terminal/Tray: 12191818/8
  • Core/Insulation Crimp: See Terminal Kit
  • Release Tool/Test Probe: See Terminal Kit

Rear Window Washer Fluid Pump

Pin

Wire

Circuit

Function

A

0.5 D-GN

392

Rear Window Washer Switch Signal

B

0.5 YE

343

Ignition Voltage

Rear Window Wiper Motor


Object Number: 566557  Size: CH

Connector Part Information

  • OEM: 1300-3111
  • Service: 88988645
  • Description: 5-Way F 090 Series (WH)

Terminal Part Information

  • Pins: 1, 5
  • Terminal/Tray: 8240-4892/22
  • Core/Insulation Crimp: 2/4
  • Release Tool/Test Probe: 15315247/J-35616-18 (BK)
  • Pins: 3-4
  • Terminal/Tray: 8240-4882/22
  • Core/Insulation Crimp: E/C
  • Release Tool/Test Probe: 15315247/J-35616-18 (BK)

Rear Window Wiper Motor

Pin

Wire

Circuit

Function

1

1 YE

143

Ignition Voltage

2

0.5 D-GN

392

Rear Window Washer Switch Signal

3

0.5 WH

393

Rear Window Wiper Delay 1 Signal

4

0.5 GY

391

Rear Window Wiper Delay 2 Signal

5

1 BK

1450

Ground

Rear Window Wiper/Washer Switch


Object Number: 831380  Size: CH

Connector Part Information

  • OEM: 15332141
  • Service: 88986249
  • Description: 6-Way F GT 150 Series (BK)

Terminal Part Information

  • Terminal/Tray: 12191811/3
  • Core/Insulation Crimp: See Terminal Kit
  • Release Tool/Test Probe: See Terminal Kit

Rear Window Wiper/Washer Switch

Pin

Wire

Circuit

Function

A

0.5 BK

2050

Ground

B

0.5 YE

343

Ignition Voltage

C

0.5 WH

393

Rear Window Wiper Delay 1 Signal

D

0.35 GY

8

Instrument Panel Lamps Dimmer Switch Signal

E

0.5 GY

391

Rear Window Wiper Delay 2 Signal

F

0.5 D-GN

392

Rear Window Washer Switch Signal

Rearview Camera (UVC)


Object Number: 1334521  Size: CH

Connector Part Information

  • OEM: 15326827
  • Service: 89046648
  • Description: 5-Way M GT 150 Series, Sealed (BK)

Terminal Part Information

  • Terminal/Tray: 15326869/19
  • Core/Insulation Crimp: Pins: A-C: E/4
  • Core/Insulation Crimp: Pin: D: E/1
  • Release Tool/Test Probe: 15315247/J-35616-3 (GY)

Rearview Camera (UVC)

Pin

Wire

Circuit

Function

A

0.5 OG

6201

Camera Control

B

0.5 TN/BK

6202

Camera Ground

C

0.5 WH

6798

Camera Video Signal

D

0.8 GY

7069

Drain Wire

E

--

--

Not Used

Rearview Camera Image Display Module (UVC)


Object Number: 1710983  Size: CH

Connector Part Information

  • OEM:15499371
  • Service: 19115105
  • Description: 12-Way F Kaizen 0.64 (BK)

Terminal Part Information

  • Pins: 1, 7, 10
  • Terminal/Tray: 15304722/8
  • Core/Insulation Crimp: E/C
  • Release Tool/Test Probe:15315247/J-35616-5 (PU)
  • Pins: 2-5, 9-12
  • Terminal/Tray: SAIT-A03T-M064/14
  • Core/Insulation Crimp: P/P
  • Release Tool/Test Probe: J-38125-215A/J-35616-64B (L-BU)

Rearview Camera Image Display Module (UVC)

Pin

Wire

Circuit

Function

1

0.5 L-GN

24

Backup Lamp Signal

2

0.35 PK

1339

Ignition Voltage

3

0.35 BK/WH

1151

Ground

4

0.35 OG

6201

Camera Control

5

0.35 TN/BK

6202

Camera Ground

6

--

--

Not Used

7

0.8 GY

6974

Drain Wire

8

--

--

Not Used

9

0.35 WH

6798

Camera Video Signal

10

0.8 BARE

6799

Drain Wire

11

0.35 L-BU

6973

Camera Signal -

12

0.35 PK

6972

Camera Signal +

Recirculation Actuator


Object Number: 258172  Size: CH

Connector Part Information

  • OEM: 12064982
  • Service: 12102633
  • Description: 5-Way F Micro-Pack 100 Series (BK)

Terminal Part Information

  • Terminal/Tray: 12146447/3
  • Core/Insulation Crimp: E/C
  • Release Tool/Test Probe: 12031876-1/J-35616-6 (BN)

Recirculation Actuator

Pin

Wire

Circuit

Function

1-3

--

--

Not Used

4

0.35 D-GN

1614

Recirculation Door Control A

5

0.35 TN/BK

2274

Recirculation Door Control B

Repeater Lamp - Left (EXP)


Object Number: 68721  Size: CH

Connector Part Information

  • OEM: 15300027
  • Service: 12101855
  • Description: 2-Way F Metri-Pack 280 Series, Sealed (BK)

Terminal Part Information

  • Terminal/Tray: 12077411/2
  • Core/Insulation Crimp: 2/5
  • Release Tool/Test Probe: 12094430/J-35616-4A (PU)

Repeater Lamp - Left (EXP)

Pin

Wire

Circuit

Function

A

0.5 L-BU

14

Roof Lamps Control

B

0.5 BK

850

Ground

Repeater Lamp - Right (EXP)


Object Number: 68721  Size: CH

Connector Part Information

  • OEM: 15300027
  • Service: 12101855
  • Description: 2-Way F Metri-Pack 280 Series, Sealed (BK)

Terminal Part Information

  • Terminal/Tray: 12077411/2
  • Core/Insulation Crimp: 2/5
  • Release Tool/Test Probe: 12094430/J-35616-4A (PU)

Repeater Lamp - Right (EXP)

Pin

Wire

Circuit

Function

A

0.5 D-BU

15

Roof Lamps Control

B

0.5 BK

850

Ground

Roof Lamp - Left (UNJ)


Object Number: 684797  Size: CH

Connector Part Information

  • OEM: 12059183
  • Service: 12101898
  • Description: 2-Way F Metri-Pack 280 Series, Sealed (BK)

Terminal Part Information

  • Terminal/Tray: 12077411/2
  • Core/Insulation Crimp: 2/5
  • Release Tool/Test Probe: 12094430/J-35616-4A (PU)

Roof Lamp - Left (UNJ)

Pin

Wire

Circuit

Function

A

0.8 OG

--

Roof Lamps Control

B

0.8 BK

850

Ground

Roof Lamp - Right (UNJ)


Object Number: 684797  Size: CH

Connector Part Information

  • OEM: 12059183
  • Service: 12101898
  • Description: 2-Way F Metri-Pack 280 Series, Sealed (BK)

Terminal Part Information

  • Terminal/Tray: 12077411/2
  • Core/Insulation Crimp: 2/5
  • Release Tool/Test Probe: 12094430/J-35616-4A (PU)

Roof Lamp - Right (UNJ)

Pin

Wire

Circuit

Function

A

0.8 OG

--

Roof Lamps Control

B

0.8 BK

850

Ground

Roof Lamps Relay (UNJ)


Object Number: 535912  Size: CH

Connector Part Information

  • OEM: 12129716
  • Service: 15306045
  • Description: 4-Way F Metri-Pack 280 Series, Flexlock (GY)

Terminal Part Information

  • Terminal/Tray: 12129409/4
  • Core/Insulation Crimp: See Terminal Kit
  • Release Tool/Test Probe: See Terminal Kit

Roof Lamps Relay (UNJ)

Pin

Wire

Circuit

Function

30

0.8 RD

--

Battery Positive Voltage

85

0.8 WH

--

Roof Lamps Relay Coil Control

86

0.8 RD

--

Battery Positive Voltage

87

0.8 OG

--

Roof Lamps Control

Roof Lamps Switch (UNJ)


Object Number: 333035  Size: CH

Connector Part Information

  • OEM: 12047781
  • Service: 12101864
  • Description: 3-Way F Metri-Pack 150 Series (BK)

Terminal Part Information

  • Terminal/Tray: 12047767/2
  • Core/Insulation Crimp: E/A
  • Release Tool/Test Probe: 12094429/J-35616-2A (GY)

Roof Lamps Switch (UNJ)

Pin

Wire

Circuit

Function

A

0.8 OG

--

Roof Lamps Control

B

0.8 BK

2050

Ground

C

0.8 WH

--

Roof Lamps Relay Coil Control

Roof Marker Lamps (UNH)


Object Number: 130733  Size: CH

Connector Part Information

  • OEM: 12146418
  • Service: See Catalog
  • Description: 2-Way F Lamp Socket Wedge Series, Sealed (L-GY)

Terminal Part Information

  • Terminal/Tray: 1206638/5
  • Core/Insulation Crimp: 2/5
  • Release Tool/Test Probe: 12180559-1/J-35616-4A (PU)

Roof Marker Lamps (UNH)

Pin

Wire

Circuit

Function

A

0.8 RD

9

Park Lamp Control

B

0.8 BK

850

Ground

Seat Adjuster Switch - Driver (AG1)


Object Number: 62469  Size: CH

Connector Part Information

  • OEM: 12064998
  • Service: 15306189
  • Description: 8-Way F Metri-Pack 280 Series (BK)

Terminal Part Information

  • Terminal/Tray: 12034046/2
  • Core/Insulation Crimp: C/D
  • Release Tool/Test Probe: 12094430/J-35616-4A (PU)

Seat Adjuster Switch - Driver (AG1)

Pin

Wire

Circuit

Function

A

1 OG

1040

Battery Positive Voltage

B

1 L-BU

283

Driver Seat Rear Vertical Motor Down Control

C

1 YE

282

Driver Seat Rear Vertical Motor Up Control

D

1 BK

2050

Ground

E

1 D-BU

287

Driver Seat Front Vertical Motor Down Control

F

1 D-GN

286

Driver Seat Front Vertical Motor Up Control

G

1 L-GN

284

Driver Seat Horizontal Motor Forward Control

H

1 TN

285

Driver Seat Horizontal Motor Rearward Control

Seat Adjuster Switch - Passenger (AG2)


Object Number: 62469  Size: CH

Connector Part Information

  • OEM: 12064998
  • Service: 15306189
  • Description: 8-Way F Metri-Pack 280 Series (BK)

Terminal Part Information

  • Terminal/Tray: 12034046/2
  • Core/Insulation Crimp: C/D
  • Release Tool/Test Probe: 12094430/J-35616-4A (PU)

Seat Adjuster Switch - Passenger (AG2)

Pin

Wire

Circuit

Function

A

1 OG

1040

Battery Positive Voltage

B

1 L-BU

283

Passenger Seat Rear Vertical Motor Down Control

C

1 YE

282

Passenger Seat Rear Vertical Motor Up Control

D

1 BK

2050

Ground

E

1 D-BU

287

Passenger Seat Front Vertical Motor Down Control

F

1 D-GN

286

Passenger Seat Front Vertical Motor Up Control

G

1 L-GN

284

Passenger Seat Horizontal Motor Rearward Control

H

1 TN

285

Passenger Seat Horizontal Motor Forward Control

Seat Belt Buckle - Driver


Object Number: 35441  Size: CH

Connector Part Information

  • OEM: 12047663
  • Service: 12085481
  • Description: 2-Way M Metri-Pack 150 Series (BK)

Terminal Part Information

  • Terminal/Tray: 12047581/2
  • Core/Insulation Crimp: E/C
  • Release Tool/Test Probe: 12094429/J-35616-3 (GY)

Seat Belt Buckle - Driver

Pin

Wire

Circuit

Function

A

0.35 BK/WH

2151

Ground

B

0.35 BK/WH

238

Seat Belt Switch - Left

Seat Belt Buckle - Passenger X1 (without KA1)


Object Number: 35441  Size: CH

Connector Part Information

  • OEM: 12047663
  • Service: 12085481
  • Description: 2-Way M Metri-Pack 150 Series (BK)

Terminal Part Information

  • Terminal/Tray: 12047581/2
  • Core/Insulation Crimp: E/C
  • Release Tool/Test Probe: 12094429/J-35616-3 (GY)

Seat Belt Buckle - Passenger X1 (without KA1)

Pin

Wire

Circuit

Function

A

0.35 BK/WH

2151

Ground

B

0.35 BK/WH

2484

Seat Belt Switch - Right

Seat Belt Buckle - Passenger X1 (KA1)


Object Number: 362751  Size: CH

Connector Part Information

  • OEM: 12052054
  • Service: 88988619
  • Description: 4-Way M Metri-Pack 150 Series (BK)

Terminal Part Information

  • Terminal/Tray: 12047581/2
  • Core/Insulation Crimp: E/C
  • Release Tool/Test Probe: 12094429/J-35616-3 (GY)

Seat Belt Buckle - Passenger X1 (KA1)

Pin

Wire

Circuit

Function

A

0.35 BK/WH

2151

Ground

B

0.35 BK/WH

2484

Seat Belt Switch - Right

C

0.35 RD

1362

Heated Seat Switch Off Signal

D

0.35 BN

341

Ignition Voltage

Seat Belt Buckle - Passenger X2


Object Number: 684807  Size: CH

Connector Part Information

  • OEM: 12110293
  • Service: 12117025
  • Description: 3-Way F Metri-Pack 150 Series, Sealed (BK)

Terminal Part Information

  • Terminal/Tray: 12048074/2
  • Core/Insulation Crimp: E/1
  • Release Tool/Test Probe: 12094429/J-35616-2A (GY)

Seat Belt Buckle - Passenger X2

Pin

Wire

Circuit

Function

A

0.35 L-BU

5612

5-Volt Reference

B

0.35 TN

5613

Low Reference

C

0.35 PU

5611

Seat Belt Tension Sensor Signal

Seat Belt Pretensioner - Driver


Object Number: 878503  Size: CH

Connector Part Information

  • OEM: 1376030-1
  • Service: 88988308
  • Description: 2-Way F Squib (YE)

Terminal Part Information

  • Terminal/Tray: Service with Pigtail
  • Core/Insulation Crimp: N/A
  • Release Tool/Test Probe: See Terminal Kit

Seat Belt Pretensioner - Driver

Pin

Wire

Circuit

Function

1

0.5 OG/BK

2119

Seat Belt Pretensioner - Left - Low Control

2

0.5 BK/WH

2118

Seat Belt Pretensioner - Left - High Control

Seat Belt Pretensioner - Passenger


Object Number: 878503  Size: CH

Connector Part Information

  • OEM: 1376030-1
  • Service: 88988308
  • Description: 2-Way F Squib (YE)

Terminal Part Information

  • Terminal/Tray: Service with Pigtail
  • Core/Insulation Crimp: N/A
  • Release Tool/Test Probe: See Terminal Kit

Seat Belt Pretensioner - Passenger

Pin

Wire

Circuit

Function

1

0.5 OG

2117

Seat Belt Pretensioner - Right - Low Control

2

0.5 L-GN

2116

Seat Belt Pretensioner - Right - High Control

Seat Adjuster Motor Assembly - Driver (AG1)


Object Number: 39689  Size: CH

Connector Part Information

  • OEM: 12064754
  • Service: 15305872
  • Description: 6-Way M Metri-Pack 280 Series (BK)

Terminal Part Information

  • Terminal/Tray: 12034047/2
  • Core/Insulation Crimp: C/D
  • Release Tool/Test Probe: 12094430/J-35616-5 (PU)

Seat Adjuster Motor Assembly - Driver (AG1)

Pin

Wire

Circuit

Function

A

1 TN

285

Driver Seat Horizontal Motor Forward Control

B

1 L-GN

284

Driver Seat Horizontal Motor Rearward Control

C

1 D-GN

286

Driver Seat Front Vertical Motor Up Control

D

1 D-BU

287

Driver Seat Front Vertical Motor Down Control

E

1 YE

282

Driver Seat Rear Vertical Motor Up Control

F

1 L-BU

283

Driver Seat Rear Vertical Motor Down Control

Seat Adjuster Motor Assembly - Passenger (AG2)


Object Number: 39689  Size: CH

Connector Part Information

  • OEM: 12064754
  • Service: 15305872
  • Description: 6-Way M Metri-Pack 280 Series (BK)

Terminal Part Information

  • Terminal/Tray: 12034047/2
  • Core/Insulation Crimp: C/D
  • Release Tool/Test Probe: 12094430/J-35616-5 (PU)

Seat Adjuster Motor Assembly - Passenger (AG2)

Pin

Wire

Circuit

Function

A

1 TN

285

Passenger Seat Horizontal Motor Forward Control

B

1 L-GN

284

Passenger Seat Horizontal Motor Rearward Control

C

1 D-GN

286

Passenger Seat Front Vertical Motor Up Control

D

1 D-BU

287

Passenger Seat Front Vertical Motor Down Control

E

1 YE

282

Passenger Seat Rear Vertical Motor Up Control

F

1 L-BU

283

Passenger Seat Rear Vertical Motor Down Control

Secondary Air Injection (AIR) Pump (K18)


Object Number: 537107  Size: CH

Connector Part Information

  • OEM: 12147067
  • Service: 89046640
  • Description: 2-Way F Metri-Pack 630 Series Sealed (GY)

Terminal Part Information

  • Terminal/Tray: 12147474/24
  • Core/Insulation Crimp: G/F/3
  • Release Tool/Test Probe: 12094430/J-35616-42 (RD)

Secondary Air Injection (AIR) Pump (K18)

Pin

Wire

Circuit

Function

A

5 RD

78

Air Pump Control

B

5 BK

550

Ground

Secondary Air Injection (AIR) Pump Relay (K18)


Object Number: 603108  Size: CH

Connector Part Information

  • OEM: 12147067
  • Service: 89046640
  • Description: 2-Way F Metri-Pack 630 Series Sealed (GY)

Terminal Part Information

  • Terminal/Tray: 12147474/24
  • Core/Insulation Crimp: G/F/3
  • Release Tool/Test Probe: 12094430/J-35616-42 (RD)

Secondary Air Injection (AIR) Pump Relay (K18)

Pin

Wire

Circuit

Function

30

5 RD

78

Air Pump Control

85

0.5 BN

436

Air Pump Relay Control

86

0.5 PK

439

Ignition Voltage

87

5 RD

78

Air Pump Control

Secondary Air Injection (AIR) Pump Solenoid (K18)


Object Number: 1526382  Size: CH

Connector Part Information

  • OEM: 15460171
  • Service: See Catalog
  • Description: 6-Way F GT 150 Series Sealed (BK)

Terminal Part Information

  • Terminal/Tray: 12191819/8
  • Core/Insulation Crimp: E/A
  • Release Tool/Test Probe: 15315247/J-35616-2A (GY)

Secondary Air Injection (AIR) Pump Solenoid (K18)

Pin

Wire

Circuit

Function

1

0.5 D-BU/WH

6785

Low Reference

2

0.5 YE

6787

Air Injection Reaction Control Valve 1 Control

3

0.5 BN/WH

6789

Air Injection Reaction Control Valve 1 Volt Reference

4

0.5 BK

550

Air Pump Control

5

--

--

Not Used

6

0.5 PK/BK

415

Air Injection Reaction Solenoid Control

Speaker - Left Front (UQA)


Object Number: 130724  Size: CH

Connector Part Information

  • OEM: 12064869
  • Service: 12117323
  • Description: 2-Way F Metri-Pack 150 Series (BU)

Terminal Part Information

  • Terminal/Tray: 12047767/2
  • Core/Insulation Crimp: E/A
  • Release Tool/Test Probe: 12094429/J-35616-2A (GY)

Speaker - Left Front (UQA)

Pin

Wire

Circuit

Function

A

1 GY

118

Left Front Speaker Output (-)

B

1 TN

201

Left Front Speaker Output (+)

Speaker - Left Front (UQ3)


Object Number: 280768  Size: CH

Connector Part Information

  • OEM: 12052832
  • Service: 12101825
  • Description: 2-Way F Metri-Pack 150 Series (BK)

Terminal Part Information

  • Terminal/Tray: 12064971/5
  • Core/Insulation Crimp: E/C
  • Release Tool/Test Probe: 12094429/J-35616-2A (GY)

Speaker - Left Front (UQ3)

Pin

Wire

Circuit

Function

A

0.5 GY

118

Left Front Speaker Output (-)

B

0.5 TN

201

Left Front Speaker Output (+)

Speaker - Left Front Tweeter (UQA)


Object Number: 280768  Size: CH

Connector Part Information

  • OEM: 12052832
  • Service: 12101825
  • Description: 2-Way F Metri-Pack 150 Series (BK)

Terminal Part Information

  • Terminal/Tray: 12047767/2
  • Core/Insulation Crimp: E/A
  • Release Tool/Test Probe: 12094429/J-35616-2A (GY)

Speaker - Left Front Tweeter (UQA)

Pin

Wire

Circuit

Function

A

0.5 YE

1956

Left Front Tweeter Speaker Output (-)

B

0.5 BK

1856

Left Front Tweeter Speaker Output (+)

Speaker - Left Front Tweeter (UQ3)


Object Number: 280768  Size: CH

Connector Part Information

  • OEM: 12052832
  • Service: 12101825
  • Description: 2-Way F Metri-Pack 150 Series (BK)

Terminal Part Information

  • Terminal/Tray: 12064971/5
  • Core/Insulation Crimp: E/C
  • Release Tool/Test Probe: 12094429/J-35616-2A (GY)

Speaker - Left Front Tweeter (UQ3)

Pin

Wire

Circuit

Function

A

0.5 GY

118

Left Front Speaker Output (-)

B

0.5 TN

201

Left Front Speaker Output (+)

Speaker - Left Rear (UQA)


Object Number: 130724  Size: CH

Connector Part Information

  • OEM: 12064867
  • Service: 88987981
  • Description: 2-Way F Metri-Pack 150 Series (WH)

Terminal Part Information

  • Terminal/Tray: 12047767/2
  • Core/Insulation Crimp: E/A
  • Release Tool/Test Probe: 12094429/J-35616-2A (GY)

Speaker - Left Rear (UQA)

Pin

Wire

Circuit

Function

A

0.8 YE

116

Left Rear Speaker Output (-)

B

0.8 BN

199

Left Rear Speaker Output (+)

Speaker - Left Rear (UQ3)


Object Number: 280768  Size: CH

Connector Part Information

  • OEM: 15433787
  • Service: 12101825
  • Description: 2-Way F Metri-Pack 150 Series (L-GY)

Terminal Part Information

  • Terminal/Tray: 12064971/5
  • Core/Insulation Crimp: E/C
  • Release Tool/Test Probe: 12094429/J-35616-2A (GY)

Speaker - Left Rear (UQ3)

Pin

Wire

Circuit

Function

A

0.5 YE

116

Left Rear Speaker Output (-)

B

0.5 BN

199

Left Rear Speaker Output (+)

Speaker - Right Front (UQA)


Object Number: 130724  Size: CH

Connector Part Information

  • OEM: 12064869
  • Service: 12117323
  • Description: 2-Way F Metri-Pack 150 Series (BU)

Terminal Part Information

  • Terminal/Tray: 12047767/2
  • Core/Insulation Crimp: E/A
  • Release Tool/Test Probe: 12094429/J-35616-2A (GY)

Speaker - Right Front (UQA)

Pin

Wire

Circuit

Function

A

1 D-GN

117

Right Front Speaker Output (-)

B

1 L-GN

200

Right Front Speaker Output (+)

Speaker - Right Front (UQ3)


Object Number: 280768  Size: CH

Connector Part Information

  • OEM: 12052832
  • Service: 12101825
  • Description: 2-Way F Metri-Pack 150 Series (BK)

Terminal Part Information

  • Terminal/Tray: 12064971/5
  • Core/Insulation Crimp: E/C
  • Release Tool/Test Probe: 12094429/J-35616-2A (GY)

Speaker - Right Front (UQ3)

Pin

Wire

Circuit

Function

A

0.5 D-GN

117

Right Front Speaker Output (-)

B

0.5 L-GN

200

Right Front Speaker Output (+)

Speaker - Right Front Tweeter (UQA)


Object Number: 280768  Size: CH

Connector Part Information

  • OEM: 12052832
  • Service: 12101825
  • Description: 2-Way F Metri-Pack 150 Series (BK)

Terminal Part Information

  • Terminal/Tray: 12047767/2
  • Core/Insulation Crimp: E/A
  • Release Tool/Test Probe: 12094429/J-35616-2A (GY)

Speaker - Right Front Tweeter (UQA)

Pin

Wire

Circuit

Function

A

0.8 PU

1952

Right Front Tweeter Speaker Output (-)

B

0.8 L-GN

1852

Right Front Tweeter Speaker Output (+)

Speaker - Right Front Tweeter (UQ3)


Object Number: 280768  Size: CH

Connector Part Information

  • OEM: 12052832
  • Service: 12101825
  • Description: 2-Way F Metri-Pack 150 Series (BK)

Terminal Part Information

  • Terminal/Tray: 12064971/5
  • Core/Insulation Crimp: E/C
  • Release Tool/Test Probe: 12094429/J-35616-2A (GY)

Speaker - Right Front Tweeter (UQ3)

Pin

Wire

Circuit

Function

A

0.5 D-GN

117

Right Front Speaker Output (-)

B

0.5 L-GN

200

Right Front Speaker Output (+)

Speaker - Right Rear (UQA)


Object Number: 130724  Size: CH

Connector Part Information

  • OEM: 12064867
  • Service: 88987981
  • Description: 2-Way F Metri-Pack 150 Series (WH)

Terminal Part Information

  • Terminal/Tray: 12047767/2
  • Core/Insulation Crimp: E/A
  • Release Tool/Test Probe: 12094429/J-35616-2A (GY)

Speaker - Right Rear (UQA)

Pin

Wire

Circuit

Function

A

0.8 YE

116

Right Rear Speaker Output (-)

B

0.8 BN

199

Right Rear Speaker Output (+)

Speaker - Right Rear (UQ3)


Object Number: 280768  Size: CH

Connector Part Information

  • OEM: 15433787
  • Service: 12101825
  • Description: 2-Way F Metri-Pack 150 Series (L-GY)

Terminal Part Information

  • Terminal/Tray: 12064971/5
  • Core/Insulation Crimp: E/C
  • Release Tool/Test Probe: 12094429/J-35616-2A (GY)

Speaker - Right Rear (UQ3)

Pin

Wire

Circuit

Function

A

0.5 YE

116

Right Rear Speaker Output (-)

B

0.35 BN

199

Right Rear Speaker Output (+)

Speaker - Subwoofer (UQA)


Object Number: 130637  Size: CH

Connector Part Information

  • OEM: 12064760
  • Service: 12085208
  • Description: 4-Way F Metri-Pack 150 Series (BK)

Terminal Part Information

  • Terminal/Tray: 12047767/2
  • Core/Insulation Crimp: E/A
  • Release Tool/Test Probe: 12094429/J-35616-2A (GY)

Speaker - Subwoofer (UQA)

Pin

Wire

Circuit

Function

A

0.8 L-GN/BK

1794

Left Subwoofer Speaker Output (-)

B

0.8 D-BU/WH

346

Left Subwoofer Speaker Output (+)

C

0.8 L-BU/BK

315

Right Subwoofer Speaker Output (-)

D

0.8 D-GN

1795

Right Subwoofer Speaker Output (+)

Starter Motor X1


Object Number: 696940  Size: CH

Connector Part Information

  • OEM: 15481001
  • Service: 88988129
  • Description: 1-Way F Metri-Pack 280 Series (BK)

Terminal Part Information

  • Terminal/Tray: 12077413/4
  • Core/Insulation Crimp: F/5
  • Release Tool/Test Probe: 12094430/J-35616-4A (PU)

Starter Motor X1

Pin

Wire

Circuit

Function

A

3 PU

6

Starter Solenoid Crank Voltage

Starter Motor X2

Terminal Part Information

  • Terminal: 12160240
  • Core/Insulation Crimp: N/A
  • Description: Ring Terminal

Starter Motor X2

Pin

Wire

Circuit

Function

A

19 RD

1

Battery Positive Voltage

Steering Wheel Position Sensor


Object Number: 280793  Size: CH

Connector Part Information

  • OEM: 12052444
  • Service: 12101874
  • Description: 8-Way F Micro-Pack 100 Series (BK)

Terminal Part Information

  • Terminal/Tray: 12089660/3
  • Core/Insulation Crimp: See Terminal Kit
  • Release Tool/Test Probe: See Terminal Kit

Steering Wheel Position Sensor

Pin

Wire

Circuit

Function

1

0.35 GY

1056

Steering Wheel Position Sensor 5-Volt Reference

2

0.35 BK

1835

Low Reference

3

0.35 L-GN

1763

Steering Wheel Position Signal A

4

0.35 L-BU

1764

Steering Wheel Position Signal B

5

0.35 WH

1765

Steering Wheel Position Marker Pulse Signal

6

0.35 L-BU

1059

Steering Wheel Position Sensor Signal

7

0.35 BN

441

Ignition Voltage

8

0.35 BK/WH

1151

Ground

Stop Lamp Switch


Object Number: 1835104  Size: CH

Connector Part Information

  • OEM: 7123-6043-30
  • Service: 88987863
  • Description: 4-Way F 58 M-Type (GY)

Terminal Part Information

  • Terminal/Tray: 7116-2876/10
  • Core/Insulation Crimp: C/B
  • Release Tool/Test Probe: 12094430/J-35616-42 (RD)

Stop Lamp Switch

Pin

Wire

Circuit

Function

1

0.8 OG

140

Battery Positive Voltage

2

0.8 L-BU

20

Stop Lamp Control

3-4

--

--

Not Used

Sunroof Motor (CF5)


Object Number: 1567077  Size: CH

Connector Part Information

  • OEM: 6240-5196
  • Service: 15201885
  • Description: 10-Way F 090 MT Series (NA)

Terminal Part Information

  • Pins: 5, 7
  • Terminal/Tray: 8240-4942/22
  • Core/Insulation Crimp: 2/1
  • Release Tool/Test Probe: 15315247/J-35616-18 (BK)
  • Pins: 8-10
  • Terminal/Tray: 8240-4882/22
  • Core/Insulation Crimp: E/C
  • Release Tool/Test Probe: 15315247/J-35616-18 (BK)

Sunroof Motor (CF5)

Pin

Wire

Circuit

Function

1-4

--

--

Not Used

5

2 OG

2140

Battery Positive Voltage

6

--

--

Not Used

7

2 BK

850

Ground

8

0.5 YE

243

Ignition Voltage

9

0.35 OG

110

Sunroof Switch Open Signal

10

0.35 BN

100

Sunroof Switch Close Signal

Sunroof Switch (CF5)


Object Number: 333036  Size: CH

Connector Part Information

  • OEM: 12191825
  • Service: 15306048
  • Description: 8-Way F GT 280 Series (BN)

Terminal Part Information

  • Terminal/Tray: 15304711/8
  • Core/Insulation Crimp: E/A
  • Release Tool/Test Probe: 15315247/J-35616-4A (PU)

Sunroof Switch (CF5)

Pin

Wire

Circuit

Function

A

0.35 BK

850

Ground

B

0.35 GY

8

Instrument Panel Lamps Dimmer Switch Signal

C

0.35 BK

850

Ground

D-E

--

--

Not Used

F

0.35 BN

100

Sunroof Switch Close Signal

G

0.35 OG

110

Sunroof Switch Open Signal

H

--

--

Not Used

Sunshade - Left (DH6)


Object Number: 35441  Size: CH

Connector Part Information

  • OEM: 12047663
  • Service: 12085481
  • Description: 2-Way M Metri-Pack 150 Series (BK)

Terminal Part Information

  • Terminal/Tray: 12059894/5
  • Core/Insulation Crimp: See Terminal Kit
  • Release Tool/Test Probe: See Terminal Kit

Sunshade - Left (DH6)

Pin

Wire

Circuit

Function

A

0.5 BK

2050

Ground

B

0.5 OG

1732

Inadvertent Power Control

Sunshade - Right (DH6)


Object Number: 35441  Size: CH

Connector Part Information

  • OEM: 12047663
  • Service: 12085481
  • Description: 2-Way M Metri-Pack 150 Series (BK)

Terminal Part Information

  • Terminal/Tray: 12059894/5
  • Core/Insulation Crimp: See Terminal Kit
  • Release Tool/Test Probe: See Terminal Kit

Sunshade - Right (DH6)

Pin

Wire

Circuit

Function

A

0.5 BK

2050

Ground

B

0.5 OG

1732

Inadvertent Power Control

Tail/Stop Lamp - Left (EXP)


Object Number: 1717007  Size: CH

Connector Part Information

  • OEM: 16530671
  • Service: Not Serviced
  • Description: 3-Way F Lamp Socket (D-GY)

Tail/Stop Lamp - Left (EXP)

Pin

Wire

Circuit

Function

A

0.8 BN

2509

Left Rear Park Lamp Control

B

0.5 L-BU

20

Left Rear Stop Lamp Control

G

0.8 BK

1450

Ground

0.8 BK

1450

Ground

Tail/Stop Lamp - Right (EXP)


Object Number: 1717007  Size: CH

Connector Part Information

  • OEM: 16530671
  • Service: Not Serviced
  • Description: 3-Way F Lamp Socket (D-GY)

Tail/Stop Lamp - Right (EXP)

Pin

Wire

Circuit

Function

A

0.8 BN/WH

2609

Right Rear Park Lamp Control

B

0.5 L-BU

20

Stop Lamp Control

G

0.8 BK

1450

Ground

0.8 BK

1450

Ground

Tail/Stop and Turn Signal Lamp - Left (without EXP)


Object Number: 1717007  Size: CH

Connector Part Information

  • OEM: 16530671
  • Service: Not Serviced
  • Description: 3-Way F Lamp Socket (D-GY)

Tail/Stop and Turn Signal Lamp - Left (without EXP)

Pin

Wire

Circuit

Function

A

0.8 D-BU

18

Left Rear Stop/Turn Lamp Control

B

0.8 BN

2509

Left Rear Park Lamp Control

G

0.8 BK

1450

Ground

0.8 BK

1450

Ground

Tail/Stop and Turn Signal Lamp - Right (without EXP)


Object Number: 1717007  Size: CH

Connector Part Information

  • OEM: 16530671
  • Service: Not Serviced
  • Description: 3-Way F Lamp Socket (D-GY)

Tail/Stop and Turn Signal Lamp - Right (without EXP)

Pin

Wire

Circuit

Function

A

0.8 D-BU

19

Right Rear Stop/Turn Lamp Control

B

0.5 BN

2509

Right Rear Park Lamp Control

G

0.8 BK

1550

Ground

0.8 BK

1550

Ground

Theft Deterrent Module (TDM)


Object Number: 1593355  Size: CH

Connector Part Information

  • OEM: 15383337
  • Service: 88988353
  • Description: 5-Way F SL Series (BK)

Terminal Part Information

  • Terminal/Tray: See Terminal Repair Kit
  • Core/Insulation Crimp: See Terminal Repair Kit
  • Release Tool/Test Probe: See Terminal Repair Kit

Theft Deterrent Module (TDM)

Pin

Wire

Circuit

Function

1

--

--

Not Used

2

0.35 PU

1807

Class 2 Serial Data

3

0.35 BK/WH

1151

Ground

4

0.35 YE

4

Ignition Voltage

5

0.35 OG

1740

Battery Positive Voltage

Throttle Body


Object Number: 1664617  Size: CH

Connector Part Information

  • OEM: 15355297
  • Service: 19115594
  • Description: 6-Way F GT 150 Series, Sealed (BK)

Terminal Part Information

  • Terminal/Tray: 15326427/5
  • Core/Insulation Crimp: E/A
  • Release Tool/Test Probe: 15315247/J-35616-2A (GY)

Throttle Body

Pin

Wire

Circuit

Function

A

0.5 BN

582

TAC Motor Control - 2

B

0.5 YE

581

TAC Motor Control - 1

C

0.35 BK

2752

Low Reference

D

0.35 D-GN

485

TP Sensor 1 Signal

E

0.35 GY

2701

5-Volt Reference

F

0.35 PU

486

TP Sensor 2 Signal

Torque Converter Clutch Pulse Width Modulated (TCC PWM) Solenoid Valve (M30)


Object Number: 168428  Size: CH

Connector Part Information

  • OEM: 15473845
  • Service: See Catalog
  • Description: 2-Way F Metri-Pack 150.2 Series (BU)

Terminal Part Information

  • Terminal/Tray: 12124075/5
  • Core/Insulation Crimp: E/C
  • Release Tool/Test Probe: 12180559-1/J-35616-14 (GN)

Torque Converter Clutch Pulse Width Modulated (TCC PWM) Solenoid Valve (M30)

Pin

Wire

Circuit

Function

A

0.5 RD

839

Ignition 1 Voltage

B

0.5 TN

418

TCC PWM Solenoid Valve Control

Trailer Connector (UY7 without EXP)


Object Number: 1566776  Size: CH

Connector Part Information

  • OEM: 11-894
  • Service: 88988703
  • Description: 7-Way F Socket (BK)

Terminal Part Information

  • Pins: 1, 4
  • Terminal/Tray: See Terminal Kit
  • Core/Insulation Crimp: See Terminal Kit
  • Release Tool/Test Probe: See Terminal Kit
  • Pin: 2
  • Terminal/Tray: 54001004/22
  • Core/Insulation Crimp: D/1
  • Release Tool/Test Probe: 12094429/J-35616-42 (RD)
  • Pins: 3-5
  • Terminal/Tray: 54001202/22
  • Core/Insulation Crimp: 2/D
  • Release Tool/Test Probe: 12094429/J-35616-4A (PU)
  • Pins: 6-7
  • Terminal/Tray: 54001807/22
  • Core/Insulation Crimp: 2/4
  • Release Tool/Test Probe: 12094429/J-35616-4A (PU)

Trailer Connector (UY7 without EXP)

Pin

Wire

Circuit

Function

1

1 YE

18

Left Rear Stop/Turn Lamp Control

2

5 WH

22

Trailer Ground

3

3 D-BU

47

Trailer Auxiliary Control

4

1 D-GN

19

Right Rear Stop/Turn Lamp Control

5

3 RD

742

Battery Positive Voltage

6

0.8 BN

2109

Trailer Park Lamps Control

7

0.8 L-GN

24

Backup Lamp Control

Trailer Connector (EXP with B16)


Object Number: 1866257  Size: CH

Connector Part Information

  • OEM: 380929
  • Service: See Catalog
  • Description: 13-Way F Socket (BK)

Terminal Part Information

  • Pins: 1, 13
  • Terminal/Tray: See Terminal Kit
  • Core/Insulation Crimp: See Terminal Kit
  • Release Tool/Test Probe: See Terminal Kit

Trailer Connector (EXP with B16)

Pin

Wire

Circuit

Function

1

1 YE/BK

618

Left Rear Stop/Turn Lamp Control

2

0.5 OG

122

Rear Fog Lamp Control

3

2 BK

1350

Ground

4

1 D-GN

619

Right Rear Stop/Turn Lamp Control

5

0.8 BN

2109

Trailer Park Lamps Control

6

2 D-BU

47

Trailer Auxiliary Control

7

0.8 BN

9

Park Lamp Control

8

0.8 L-GN

24

Backup Lamp Control

9

2 RD

742

Battery Positive Voltage

10

0.5 YE

543

Ignition Voltage

11

0.5 BK

1350

Ground

12

--

--

Not Used

13

2 WH

22

Trailer Ground

Transfer Case Encoder Motor


Object Number: 646372  Size: CH

Connector Part Information

  • OEM: 15326654
  • Service: 88986254
  • Description: 8-Way F GT 280 Series Sealed (BK)

Terminal Part Information

  • Pins: A-C, G-H
  • Terminal/Tray: 15304719/19
  • Core/Insulation Crimp: E/5
  • Release Tool/Test Probe: 15315247/J-35616-4A (PU)
  • Pins: D-E
  • Terminal/Tray: 15304720/19
  • Core/Insulation Crimp: 4/5
  • Release Tool/Test Probe: 15315247/J-35616-4A (PU)

Transfer Case Encoder Motor

Pin

Wire

Circuit

Function

A

0.5 BK/WH

1554

Low Reference

B

0.5 BN/WH

1555

Channel P Encoder Signal

C

0.5 RD/WH

1556

Channel C Encoder Signal

D

3 BK

1552

Motor Control B

E

3 RD

1553

Motor Control A

F

--

--

Not Used

G

0.5 YE/BK

1558

Channel B Encoder Signal

H

0.5 D-BU/WH

1557

Channel A Encoder Signal

Transfer Case Shift Control Module X1


Object Number: 744295  Size: CH

Connector Part Information

  • OEM: 12084944
  • Service: 12084944
  • Description: 16-Way F Micro-Pack 100 Series (BK)

Terminal Part Information

  • Pins: A1, A3-B6
  • Terminal/Tray: 12146447/3
  • Core/Insulation Crimp: E/C
  • Release Tool/Test Probe: 12031876-1/J-35616-6 (BN)
  • Pins: A2, B8
  • Terminal/Tray: 12146448/19
  • Core/Insulation Crimp: E/A
  • Release Tool/Test Probe: 12031876-1/J-35616-6 (BN)

Transfer Case Shift Control Module X1

Pin

Wire

Circuit

Function

A1

0.35 PU

1807

Class 2 Serial Data

A2

1 L-GN

2659

Rear Differential Lock High Control

A3

0.35 PK

1561

Differential Lock Indicator Control

A4

0.35 PU/WH

1565

4 LO LOCK Indicator Control

A5

0.35 TN/BK

1566

4 HI LOCK Indicator Control

A6

0.35 L-BU

1693

Switch Signal

A7

0.35 RD/WH

1556

Channel C Encoder Signal

A8

--

--

Not Used

B1

0.35 PU

1807

Class 2 Serial Data

B2

0.35 YE/BK

1558

Channel B Encoder Signal

B3

0.35 L-GN/BK

1563

4 HI Indicator Control

B4

0.35 BN

1560

Neutral Indicator Control

B5

0.35 GY/BK

1694

4WD Low Signal

B6

0.35 BN/WH

1555

Channel P Encoder Signal

B7

--

--

Not Used

B8

1 BK

1725

Low Reference

Transfer Case Shift Control Module X2


Object Number: 744296  Size: CH

Connector Part Information

  • OEM: 12110259
  • Service: 12110259
  • Description: 16-Way F Micro-Pack 100 Series (GN)

Terminal Part Information

  • Terminal/Tray: 12146447/3
  • Core/Insulation Crimp: E/C
  • Release Tool/Test Probe: 12031876-1/J-35616-6 (BN)

Transfer Case Shift Control Module X2

Pin

Wire

Circuit

Function

A1-A7

--

--

Not Used

A8

0.35 BK/WH

1554

Low Reference

B1-B5

--

--

Not Used

B6

0.35 D-BU/WH

1557

Channel A Encoder Signal

B7

--

--

Not Used

B8

0.35 GY

596

5-Volt Reference

Transfer Case Shift Control Module X3


Object Number: 62450  Size: CH

Connector Part Information

  • OEM: 12052856
  • Service: 12125636
  • Description: 4-Way F Metri-Pack 280 Series (BK)

Terminal Part Information

  • Terminal/Tray: 12015858/4
  • Core/Insulation Crimp: F/G
  • Release Tool/Test Probe: 12094430/J-35616-4A (PU)

Transfer Case Shift Control Module X3

Pin

Wire

Circuit

Function

A

3 BK

2050

Ground (LHD)

3 BK

850

Ground (RHD)

B

3 OG

1640

Battery Positive Voltage

C

3 RD

1553

Motor Control A

D

3 BK

1552

Motor Control B

Transmission Control Module (TCM) (M30)


Object Number: 1581650  Size: CH

Connector Part Information

  • OEM: 13589417
  • Service: See Catalog
  • Description: 49-Way F GT 280 Series Sealed (BK)

Terminal Part Information

  • Terminal/Tray: 15304719/19
  • Core/Insulation Crimp: E/5
  • Release Tool/Test Probe: 15315247/J-35616-4A (PU)

Transmission Control Module (TCM) (M30)

Pin

Wire

Circuit

Function

1

0.5 BN

418

TCC PWM Solenoid Valve Control

2

0.5 L-GN

1222

1-2 Shift Solenoid Valve Control

3

0.5 BN/WH

6254

Input Shaft Speed Sensor Signal

4-5

--

--

Not Used

6

0.5 TN

2501

GM High Speed LAN Serial Data -

7

0.5 TN/WH

2500

GM High Speed LAN Serial Data +

8-10

--

--

Not Used

11

0.5 BN

4

Ignition Voltage

12-13

--

--

Not Used

14

0.5 WH

687

3-2 Shift Solenoid Valve Control

15

--

--

Not Used

16

0.5 L-GN/BK

822

VSS Low Signal

17

0.5 L-BU/WH

1229

PC Solenoid Valve Low Control

18-19

--

--

Not Used

20

0.5 YE/BK

1223

2-3 Shift Solenoid Valve Control

21-22

--

--

Not Used

23

0.5 GY

773

Transmission Range Switch Signal C

24

0.5 PK

1224

Transmission Fluid Pressure Switch Signal A

25

0.5 TN/BK

422

TCC Solenoid Valve Control

26-28

--

--

Not Used

29

0.5 BK/WH

771

Transmission Range Switch Signal A

30

0.5 BK

452

Low Reference

31

0.5 PK

439

Ignition Voltage

32

0.5 OG

1540

Battery Positive Voltage

33

0.5 RD

1226

Transmission Fluid Pressure Switch Signal C

34

--

--

Not Used

35

0.5 YE/BK

1227

TFT Sensor Signal

36

--

--

Not Used

37

0.5 TN

2501

GM High Speed LAN Serial Data -

38

0.5 TN/WH

2500

GM High Speed LAN Serial Data +

39

0.5 WH

776

Transmission Range Switch Signal P

40

0.5 RD/BK

1228

PC Solenoid Valve High Control

41

0.5 PU/WH

821

VSS High Signal

42

0.5 L-BU

20

Stop Lamp Control

43

--

--

Not Used

44

0.5 D-BU

1225

Transmission Fluid Pressure Switch Signal B

45

0.5 D-BU

6253

Low Reference

46

0.5 YE

772

Transmission Range Switch Signal B

47-48

--

--

Not Used

49

0.5 BK/WH

451

Ground

Turn Signal Lamp - Left Front (EXP)


Object Number: 1717007  Size: CH

Connector Part Information

  • OEM: 16530672
  • Service: Not Serviced
  • Description: 3-Way F Lamp Socket (D-GY)

Terminal Part Information

  • Terminal/Tray: See Terminal Repair Kit
  • Core/Insulation Crimp: Terminal Repair Kit
  • Release Tool/Test Probe: Terminal Repair Kit

Turn Signal Lamp - Left Front (EXP)

Pin

Wire

Circuit

Function

A

0.5 D-BU

14

Left Turn Signal Lamp Control

B

--

--

Not Used

G

0.5 BK

850

Ground

Turn Signal Lamp - Left Rear (EXP)


Object Number: 1717007  Size: CH

Connector Part Information

  • OEM: 16530671
  • Service: Not Serviced
  • Description: 3-Way F Lamp Socket (D-GY)

Turn Signal Lamp - Left Rear (EXP)

Pin

Wire

Circuit

Function

A

0.5 D-BU

618

Left Rear Turn Signal Lamp Control

B

--

--

Not Used

G

0.5 BK

1450

Ground

Turn Signal Lamp - Right Front (EXP)


Object Number: 1717007  Size: CH

Connector Part Information

  • OEM: 16530672
  • Service: Not Serviced
  • Description: 3-Way F Lamp Socket (D-GY)

Terminal Part Information

  • Terminal/Tray: See Terminal Repair Kit
  • Core/Insulation Crimp: Terminal Repair Kit
  • Release Tool/Test Probe: Terminal Repair Kit

Turn Signal Lamp - Right Front (EXP)

Pin

Wire

Circuit

Function

A

0.5 D-BU

15

Right Turn Signal Lamp Control

B

--

--

Not Used

G

0.5 BK

850

Ground

Turn Signal Lamp - Right Rear (EXP)


Object Number: 1717007  Size: CH

Connector Part Information

  • OEM: 16530671
  • Service: Not Serviced
  • Description: 3-Way F Lamp Socket (D-GY)

Turn Signal Lamp - Right Rear (EXP)

Pin

Wire

Circuit

Function

A

0.35 D-BU

619

Right Rear Turn Signal Lamp Control

B

--

--

Not Used

G

0.35 BK

1450

Ground

Vehicle Communication Interface Module (VCIM) X1 (UE1)


Object Number: 697022  Size: CH

Connector Part Information

  • OEM: 917981-1
  • Service: 15306351
  • Description: 16-Way F 040/070 Hybrid (WH)

Terminal Part Information

  • Terminal/Tray: 175265-1/15
  • Core/Insulation Crimp: Pins 2-3, 6, 11: J/J, Pins 7, 16: K/K
  • Release Tool/Test Probe: 15315247/J35616-16 (L-GN)

Vehicle Communication Interface Module (VCIM) X1 (UE1)

Pin

Wire

Circuit

Function

1

--

--

Not Used

2

0.35 BN/WH

2517

Keypad Red LED Signal

3

0.35 YE/BK

2516

Keypad Green LED Signal

4-5

--

--

Not Used

6

0.35 L-GN/BK

2515

Keypad Control

7

0.35 BK/WH

1151

Ground

8-10

--

--

Not Used

11

0.35 D-GN/WH

2514

Keypad Signal

12-15

--

--

Not Used

16

0.8 OG

340

Battery Positive Voltage

Vehicle Communication Interface Module (VCIM) X2 (UE1)


Object Number: 697023  Size: CH

Connector Part Information

  • OEM: 917975-1
  • Service: 88952886
  • Description: 12-Way F 040 Hybrid (WH)

Terminal Part Information

  • Terminal/Tray: 175265-1/15
  • Core/Insulation Crimp: Pins 1-2, 5, 8: J/J, Pins 9-10: K/K
  • Release Tool/Test Probe: 15315247/J-35616-16 (L-GN)

Vehicle Communication Interface Module (VCIM) X2 (UE1)

Pin

Wire

Circuit

Function

1

0.35 PK/BK

2062

Remote Playback Device Audio Common Signal

2

0.35 OG/BK

2061

Remote Playback Device Left Audio Signal

3-4

--

--

Not Used

5

0.35 PU

1807

Class 2 Serial Data

6-7

--

--

Not Used

8

0.35 BARE

1792

Drain Wire

9

0.35 GY

655

Cellular Microphone Signal

10

0.35 BARE

1705

Drain Wire

11-12

--

--

Not Used

Vehicle Speed Sensor (VSS)


Object Number: 1538760  Size: CH

Connector Part Information

  • OEM: 15449028
  • Service: 88987993
  • Description: 2-Way F GT 150 Series Sealed (BK)

Terminal Part Information

  • Terminal/Tray: 15326267/19
  • Core/Insulation Crimp: E/4
  • Release Tool/Test Probe: 15315247/J-35616-2A

Vehicle Speed Sensor (VSS)

Pin

Wire

Circuit

Function

A

0.5 L-GN/BK

822

VSS Low Signal

B

0.5 PU/WH

821

VSS High Signal

Wheel Speed Sensor (WSS) - Left Front


Object Number: 635009  Size: CH

Connector Part Information

  • OEM: 12052641
  • Service: 12102747
  • Description: 2-Way F Metri-Pack 150 Series Sealed (BK)

Terminal Part Information

  • Terminal/Tray: 12048074/2
  • Core/Insulation Crimp: E/1
  • Release Tool/Test Probe: 12094429/J-35616-2A (GY)

Wheel Speed Sensor (WSS) - Left Front

Pin

Wire

Circuit

Function

A

0.5 YE

873

Low Reference

B

0.5 L-BU

830

Left Front Wheel Speed Sensor Signal

Wheel Speed Sensor (WSS) - Left Rear


Object Number: 635009  Size: CH

Connector Part Information

  • OEM: 12052641
  • Service: 12102747
  • Description: 2-Way F Metri-Pack 150 Series Sealed (BK)

Terminal Part Information

  • Terminal/Tray: 12048074/2
  • Core/Insulation Crimp: E/1
  • Release Tool/Test Probe: 12094429/J-35616-2A (GY)

Wheel Speed Sensor (WSS) - Left Rear

Pin

Wire

Circuit

Function

A

0.5 RD

885

Low Reference

B

0.5 BK

884

Left Rear Wheel Speed Sensor Signal

Wheel Speed Sensor (WSS) - Right Front


Object Number: 635009  Size: CH

Connector Part Information

  • OEM: 12052641
  • Service: 12102747
  • Description: 2-Way F Metri-Pack 150 Series Sealed (BK)

Terminal Part Information

  • Terminal/Tray: 12048074/2
  • Core/Insulation Crimp: E/1
  • Release Tool/Test Probe: 12094429/J-35616-2A (GY)

Wheel Speed Sensor (WSS) - Right Front

Pin

Wire

Circuit

Function

A

0.5 TN

833

Low Reference

B

0.5 D-GN

872

Right Front Wheel Speed Sensor Signal

Wheel Speed Sensor (WSS) - Right Rear


Object Number: 635009  Size: CH

Connector Part Information

  • OEM: 12052641
  • Service: 12102747
  • Description: 2-Way F Metri-Pack 150 Series Sealed (BK)

Terminal Part Information

  • Terminal/Tray: 12048074/2
  • Core/Insulation Crimp: E/1
  • Release Tool/Test Probe: 12094429/J-35616-2A (GY)

Wheel Speed Sensor (WSS) - Right Rear

Pin

Wire

Circuit

Function

A

0.5 WH

883

Low Reference

B

0.5 BN

882

Right Rear Wheel Speed Sensor Signal

Window Motor - Driver


Object Number: 684837  Size: CH

Connector Part Information

  • OEM: 12129487
  • Service: 88988609
  • Description: 2-Way F Metri-Pack 280 Series Flexlock, Sealed (GY)

Terminal Part Information

  • Terminal/Tray: 12129409/4
  • Core/Insulation Crimp: See Terminal Kit
  • Release Tool/Test Probe: See Terminal Kit

Window Motor - Driver

Pin

Wire

Circuit

Function

A

2 BN

165

Power Window Motor Left Front Down Control

B

2 D-BU

164

Power Window Motor Left Front Up Control

Window Motor - Left Rear


Object Number: 684837  Size: CH

Connector Part Information

  • OEM: 12129487
  • Service: 88988609
  • Description: 2-Way F Metri-Pack 280 Series Flexlock, Sealed (GY)

Terminal Part Information

  • Terminal/Tray: 12129409/4
  • Core/Insulation Crimp: See Terminal Kit
  • Release Tool/Test Probe: See Terminal Kit

Window Motor - Left Rear

Pin

Wire

Circuit

Function

A

2 D-BU

670

Power Window Motor Right Rear Up Control

B

2 BN

671

Power Window Motor Right Rear Down Control

Window Motor - Passenger


Object Number: 684837  Size: CH

Connector Part Information

  • OEM: 12129487
  • Service: 88988609
  • Description: 2-Way F Metri-Pack 280 Series Flexlock, Sealed (GY)

Terminal Part Information

  • Terminal/Tray: 12129409/4
  • Core/Insulation Crimp: See Terminal Kit
  • Release Tool/Test Probe: See Terminal Kit

Window Motor - Passenger

Pin

Wire

Circuit

Function

A

2 BN

667

Power Window Motor Right Front Down Control

B

2 D-BU

666

Power Window Motor Right Front Up Control

Window Motor - Right Rear


Object Number: 684837  Size: CH

Connector Part Information

  • OEM: 12129487
  • Service: 88988609
  • Description: 2-Way F Metri-Pack 280 Series Flexlock, Sealed (GY)

Terminal Part Information

  • Terminal/Tray: 12129409/4
  • Core/Insulation Crimp: See Terminal Kit
  • Release Tool/Test Probe: See Terminal Kit

Window Motor - Right Rear

Pin

Wire

Circuit

Function

A

2 D-BU

670

Power Window Motor Right Rear Up Control

B

2 BN

671

Power Window Motor Right Rear Down Control

Window Switch - Left Rear


Object Number: 1335541  Size: CH

Connector Part Information

  • OEM: 6240-5068
  • Service: 88987940
  • Description: 8-Way F 090 TS Series (BU)

Terminal Part Information

  • Pins: 1-2, 4-5
  • Terminal/Tray 8240-4882/22
  • Core/Insulation Crimp: E/C
  • Release Tool/Test Probe: 15315247/J-35616-18 (BK)
  • Pins: 3, 6-8
  • Terminal/Tray: 8240-4942/22
  • Core/Insulation Crimp: 2/1
  • Release Tool/Test Probe: 15315247/J-35616-18 (BK)

Window Switch - Left Rear

Pin

Wire

Circuit

Function

1

0.35 D-GN

168

Power Window Master Switch Left Rear Up Signal

2

--

--

Not Used

3

2 BK

1450

Ground

4

0.35 PU

169

Power Window Master Switch Left Rear Down Signal

5

0.35 D-BU

1307

Power Window Master Switch Lockout Signal

6

2 YE

643

Ignition Voltage

7

2 BN

671

Power Window Motor Right Rear Down Control

8

2 D-BU

670

Power Window Motor Right Rear Up Control

Window Switch - Right Rear


Object Number: 1335541  Size: CH

Connector Part Information

  • OEM: 6240-5068
  • Service: 88987940
  • Description: 8-Way F 090 TS Series (BU)

Terminal Part Information

  • Pins: 1-2, 4-5
  • Terminal/Tray: 8240-4882/22
  • Core/Insulation Crimp: E/C
  • Release Tool/Test Probe: 15315247/J-35616-18 (BK)
  • Pins: 3, 6-8
  • Terminal/Tray: 8240-4942/22
  • Core/Insulation Crimp: 2/1
  • Release Tool/Test Probe: 15315247/J-35616-18 (BK)

Window Switch - Right Rear

Pin

Wire

Circuit

Function

1

0.35 D-GN

168

Power Window Master Switch Right Rear Up Signal

2

--

--

Not Used

3

2 BK

1450

Ground

4

0.35 PU

169

Power Window Master Switch Right Rear Down Signal

5

0.35 D-BU

1307

Power Window Master Switch Lockout Signal

6

2 YE

443

Ignition Voltage

7

2 BN

671

Power Window Motor Right Rear Down Control

8

2 D-BU

670

Power Window Motor Right Rear Up Control

Windshield Washer Fluid Pump


Object Number: 523630  Size: CH

Connector Part Information

  • OEM: 15326801
  • Service: 15306156
  • Description: 2-Way F GT 150 Series Sealed (BK)

Terminal Part Information

  • Terminal/Tray: 12191818/8
  • Core/Insulation Crimp: See Terminal Kit
  • Release Tool/Test Probe: See Terminal Kit

Windshield Washer Fluid Pump

Pin

Wire

Circuit

Function

A

0.5 BK

2050

Ground (LHD)

0.5 RD

228

Windshield Washer Pump Control (RHD)

B

0.5 RD

228

Windshield Washer Pump Control (LHD)

0.5 BK

2050

Ground (RHD)

Windshield Wiper Motor (LHD)


Object Number: 1567053  Size: CH

Connector Part Information

  • OEM: 6189-0504
  • Service: 88988646
  • Description: 5-Way F 090 TS Series Sealed (GY)

Terminal Part Information

  • Pins: 1
  • Terminal/Tray: 8100-0460/6
  • Core/Insulation Crimp: E/1
  • Release Tool/Test Probe: 15315247/J-35616-2A (GY)
  • Pins: 3-5
  • Terminal/Tray: 8100-0461/6
  • Core/Insulation Crimp: 2/1
  • Release Tool/Test Probe: 15315247/J-35616-2A (GY)

Windshield Wiper Motor (LHD)

Pin

Wire

Circuit

Function

1

0.35 YE

196

Windshield Wiper Motor Park Switch Signal

2

--

--

Not Used

3

1 PU

92

Windshield Wiper Motor High Speed Control

4

1 BK

850

Ground

5

1 D-GN

95

Windshield Wiper Motor Low Speed Control

Windshield Wiper Motor (RHD)


Object Number: 1567053  Size: CH

Connector Part Information

  • OEM: 6189-0504
  • Service: 88988646
  • Description: 5-Way F 090 TS Series Sealed (GY)

Terminal Part Information

  • Pins: 3
  • Terminal/Tray: 8100-0460/6
  • Core/Insulation Crimp: E/1
  • Release Tool/Test Probe: 15315247/J-35616-2A (GY)
  • Pins: 1, 4, 5
  • Terminal/Tray: 8100-0461/6
  • Core/Insulation Crimp: 2/1
  • Release Tool/Test Probe: 15315247/J-35616-2A (GY)

Windshield Wiper Motor (RHD)

Pin

Wire

Circuit

Function

1

1 D-GN

95

Windshield Wiper Motor Low Speed Control

2

--

--

Not Used

3

0.35 YE

196

Windshield Wiper Motor Park Switch Signal

4

1 PU

92

Windshield Wiper Motor High Speed Control

5

1 BK

850

Ground

Yaw and Lateral Accelerometer Sensor


Object Number: 1566785  Size: CH

Connector Part Information

  • OEM: 6189-0551
  • Service: 15165777
  • Description: 4-Way F DL 040 Sealed (WH)

Terminal Part Information

  • Terminal/Tray: 8100-1466/6
  • Core/Insulation Crimp: 7/7
  • Release Tool/Test Probe: 15315247/J-35616-64A (L-BU)

Yaw and Lateral Accelerometer Sensor

Pin

Wire

Circuit

Function

1

0.35 BN

441

Ignition Voltage

2

0.35 D-BU

716

CAN HI

3

0.35 L-BU

2088

CAN LO

4

0.35 BK/WH

1151

Ground