GM Service Manual Online
For 1990-2009 cars only

Object Number: 1553846  Size: MF

Callout

Component Name

Preliminary Procedure

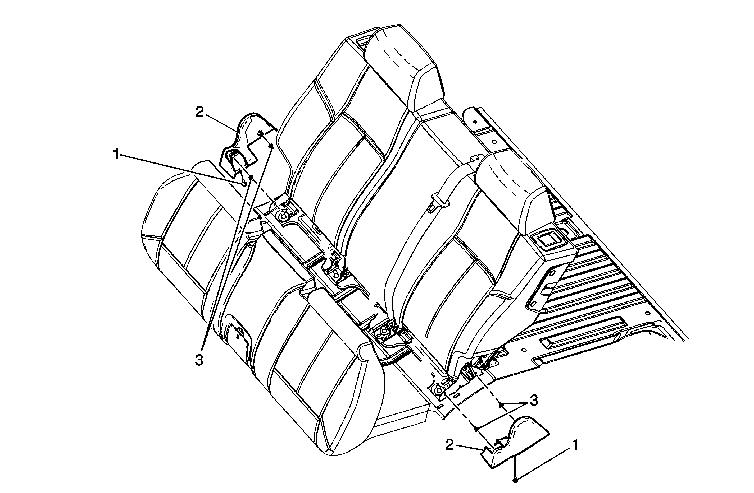
Remove the rear seat back. Refer to Rear Seat Back Replacement .

1

Rear Seat Hinge Finish Cover Screw (Qty: 2)

Notice: Refer to Fastener Notice in the Preface section.

Tighten
2 N·m (18 lb in)

2

Rear Seat Hinge Finish Cover (Qty: 2)

3

Rear Seat Hinge Finish Cover Retaining Clip (Qty: 4)