GM Service Manual Online
For 1990-2009 cars only
Connector 1: X101 Engine Harness to the Fuel Injector Jumper Harness (LLR)
Connector 2: X102 Engine Harness to the Body Harness
Connector 3: X115 Forward Lamp Harness to the Body Harness (without EXP)
Connector 4: X115 Forward Lamp Harness to the Body Harness (EXP)
Connector 5: X116 Forward Lamp Harness to the Left Headlamp Jumper Harness
Connector 6: X117 Forward Lamp Harness to the Right Headlamp Jumper Harness
Connector 7: X125 Engine Harness to the Body Harness
Connector 8: X130 Body Harness to the Battery Cable Harness (UE1/U2K)
Connector 9: X150 Chassis Harness to the Body Harness
Connector 10: X175 Engine Harness to Transmission Internal Harness (M30)
Connector 11: X200 I/P Harness to the Body Harness (LHD)
Connector 12: X200 I/P Harness to the Body Harness (RHD)
Connector 13: X201 Steering Column Harness to the I/P Harness
Connector 14: X203 I/P Harness to the Blower Motor Resistor Jumper Harness
Connector 15: X204 I/P Harness to the Body Harness
Connector 16: X205 I/P Harness to the HVAC Harness
Connector 17: X207 I/P Harness to the Body Harness (UQA)
Connector 18: X208 I/P Harness to the Body Harness
Connector 19: X275 Inflatable Restraint Steering Wheel Module Coil to the Body Harness
Connector 20: X307 Body Harness to the Driver Seat Harness (AG1/YC3)
Connector 21: X308 Body Harness to the Driver Seat Belt Switch Jumper Harness
Connector 22: X315 Body Harness to the Passenger Seat Harness
Connector 23: X318 Passenger Heater Element Jumper Harness to the Passenger Seat Harness (KA1)
Connector 24: X319 Driver Heater Element Jumper Harness to the Driver Seat Harness (KA1)
Connector 25: X320 Body Harness to the Passenger Seat Belt Switch Jumper Harness (KA1)
Connector 26: X320 Body Harness to the Passenger Seat Belt Switch Jumper Harness (without KA1)
Connector 27: X330 Sunroof Motor Jumper Harness to the Body Harness (CF5)
Connector 28: X335 Sunroof Switch/OnStar Jumper Harness to the Body Harness (CF5 or UE1)
Connector 29: X350 Dome Lamp Jumper Harness to the Body Harness
Connector 30: X410 Right Tail Lamp Jumper Harness to the Body Harness (without EXP)
Connector 31: X410 Right Tail Lamp Jumper Harness to the Body Harness (H3T)
Connector 32: X410 Right Tail Lamp Jumper Harness to the Body Harness (EXP)
Connector 33: X420 Chassis Harness to the License Lamp Jumper Harness (UY7 Except EXP)
Connector 34: X420 Chassis Harness to the License Lamp Jumper Harness (without UY7/EXP)
Connector 35: X420 Chassis Harness to the Trailer Tow Jumper Harness (EXP with UY7)
Connector 36: X430 Left Tail Lamp Jumper Harness to the Body Harness (without EXP)
Connector 37: X430 Right Tail Lamp Jumper Harness to the Body Harness (H3T)
Connector 38: X430 Left Tail Lamp Jumper Harness to the Body Harness (EXP)
Connector 39: X440 Chassis Harness to the License Lamp Jumper Harness (- UY7)
Connector 40: X440 Chassis Harness to the License Lamp Jumper Harness (H3T) (UY7)
Connector 41: X450 Swing Gate Harness to the Body Harness
Connector 42: X460 License Lamp Jumper Harness to the Rear Fog Lamp Jumper Harness (T79)
Connector 43: X500 Body Harness to the Driver Door Harness (Left Hand Drive)
Connector 44: X500 Body Harness to the Passenger Door Harness (Right Hand Drive)
Connector 45: X510 Driver Mirror Switch Jumper Harness to the Driver Door Harness
Connector 46: X600 Body Harness to the Passenger Door Harness (Left Hand Drive)
Connector 47: X600 Body Harness to the Driver Door Harness (Right Hand Drive)
Connector 48: X700 Body Harness to the Left Rear Door Harness
Connector 49: X800 Body Harness to the Right Rear Door Harness
Connector 50: X901 CHMSL and Rear Defogger Jumper Harness to the Swing Gate Harness (H3)

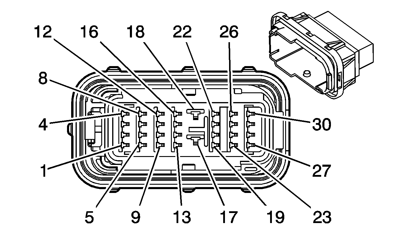
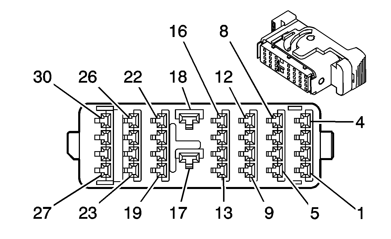
X101 Engine Harness to the Fuel Injector Jumper Harness (LLR)


Object Number: 886053  Size: CH

Object Number: 646396  Size: CH

Connector Part Information

  • OEM: 15326830
  • Service: 88953153
  • Description: 6-Way F GT 150 Series, Sealed (BK)

Connector Part Information

  • OEM: 15326833
  • Service: 15326833
  • Description: 6-Way M GT 150 Series, Sealed (BK)

Terminal Part Information

  • Terminal/Tray: 12191818/8
  • Core/Insulation Crimp: See Terminal Kit
  • Release Tool/Test Probe: See Terminal Kit

Terminal Part Information

  • Terminal/Tray: 15326269/19
  • Core/Insulation Crimp: E/4
  • Release Tool/Test Probe: 15315247/J-35616-3 (GY)

X101 Engine Harness to the Fuel Injector Jumper Harness (LLR)

Pin

Wire

Circuit

Function

Pin

Wire

Circuit

Function

A

0.5 PK

839

Ignition Voltage

A

0.5 PK

439

Ignition Voltage

B

0.5 L-BU/BK

844

Fuel Injector 4 Control

B

0.5 L-BU/BK

844

Fuel Injector 4 Control

C

0.5 BK/WH

845

Fuel Injector 5 Control

C

0.5 BK/WH

845

Fuel Injector 5 Control

D

0.5 BK

1744

Fuel Injector 1 Control

D

0.5 BK

1744

Fuel Injector 1 Control

E

0.5 L-GN/BK

1745

Fuel Injector 2 Control

E

0.5 L-GN/BK

1745

Fuel Injector 2 Control

F

0.5 PK/BK

1746

Fuel Injector 3 Control

F

0.5 PK/BK

1746

Fuel Injector 3 Control

X102 Engine Harness to the Body Harness


Object Number: 1566810  Size: CH

Object Number: 1566798  Size: CH

Connector Part Information

  • OEM: 6188-0798
  • Service: 15193801
  • Description: 16-Way F Sealed (BK)

Connector Part Information

  • OEM: 6189-6902
  • Service: 15193794
  • Description: 16-Way M Sealed (BK)

Terminal Part Information

  • Terminal/Tray: See Terminal Repair Kit
  • Core/Insulation Crimp: See Terminal Kit
  • Release Tool/Test Probe: See Terminal Kit

Terminal Part Information

  • Terminal/Tray: See Terminal Repair Kit
  • Core/Insulation Crimp: See Terminal Kit
  • Release Tool/Test Probe: See Terminal Kit

X102 Engine Harness to the Body Harness

Pin

Wire

Circuit

Function

Pin

Wire

Circuit

Function

1

0.5 GY

1524

Back-up Lamp Control

1

0.5 GY

1524

Back-up Lamp Control

2

0.35 BK/WH

1554

Low Reference

2

0.35 BK/WH

1554

Low Reference

3

0.35 BN/WH

1555

Channel P Encoder Signal

3

0.35 BN/WH

1555

Channel P Encoder Signal

4

0.35 PU

1807

Class 2 Serial Data

4

0.35 PU

1807

Class 2 Serial Data

5

0.35 RD/WH

1556

Channel C Encoder Signal

5

0.35 RD/WH

1556

Channel C Encoder Signal

6

0.35 D-BU/WH

1557

Channel A Encoder Signal

6

0.35 D-BU/WH

1557

Channel A Encoder Signal

7

0.35 YE/BK

1558

Channel B Encoder Signal

7

0.35 YE/BK

1558

Channel B Encoder Signal

8

3 BK

1552

Motor Control B

8

3 BK

1552

Motor Control B

9

3 RD

1553

Motor Control A

9

3 RD

1553

Motor Control A

10

0.8 L-BU

20

Stop Lamp Control (M30)

10

0.8 L-BU

20

Stop Lamp Control

11

0.5 BN

4

Ignition Voltage (M30)

11

0.5 BN

4

Ignition Voltage

12

0.5 TN/WH

2500

High Speed GMLAN Serial Data Bus +

12

0.5 TN/WH

2500

High Speed GMLAN Serial Data Bus +

13

0.5 TN

2501

High Speed GMLAN Serial Data Bus -

13

0.5 TN

2501

High Speed GMLAN Serial Data Bus -

14

1 GN/BK

7118

Low Reference (G93)

14

1 GN/BK

7118

Low Reference (G93)

15

1 BU/BK

7116

Front Differential Lock High Control (G93)

15

1 BU/BK

7116

Front Differential Lock High Control (G93)

16

--

--

Not Used

16

--

--

Not Used

X115 Forward Lamp Harness to the Body Harness (without EXP)


Object Number: 1566810  Size: CH

Object Number: 1566798  Size: CH

Connector Part Information

  • OEM: 6188-0798
  • Service: 15193801
  • Description: 16-Way F Sealed (BK)

Connector Part Information

  • OEM: 6189-6902
  • Service: 15193794
  • Description: 16-Way M Sealed (BK)

Terminal Part Information

  • Pins: 1, 8-9, 16
  • Terminal/Tray: 15304719/19
  • Core/Insulation Crimp: E/5
  • Release Tool/Test Probe: 15315247/J-35616-4A (PU)
  • Pins: 2-7, 10-15
  • Terminal/Tray: 12191819/8
  • Core/Insulation Crimp: E/A
  • Release Tool/Test Probe: 15315247/J-35616-2A (GY)

Terminal Part Information

  • Pins: 1, 8-9
  • Terminal/Tray: 15304730/8
  • Core/Insulation Crimp: See Terminal Kit
  • Release Tool/Test Probe: See Terminal Kit
  • Pins: 2-7, 10-15
  • Terminal/Tray: 15326269/19
  • Core/Insulation Crimp: E/4
  • Release Tool/Test Probe: 15315247/J-35616-3 (GY)
  • Pin: 16
  • Terminal/Tray: 15304731/19
  • Core/Insulation Crimp: 2/5
  • Release Tool/Test Probe: 15315247/J-35616-5 (PU)

X115 Forward Lamp Harness to the Body Harness (without EXP)

Pin

Wire

Circuit

Function

Pin

Wire

Circuit

Function

1

0.5 OG

640

Battery Positive Voltage

1

0.5 OG

640

Battery Positive Voltage

2

0.5 OG

740

Battery Positive Voltage

2

0.5 OG

740

Battery Positive Voltage

3

0.5 PK

1200

Headlamp High Beam Signal

3

0.5 PK

1200

Headlamp High Beam Signal

4

0.5 D-BU

1201

Headlamp Low Beam

4

0.5 D-BU

1201

Headlamp Low Beam

5

0.35 D-GN

1329

Horn Control

5

0.35 D-GN

1329

Horn Control

6

0.5 D-GN

1409

Electronic Frontal Sensor Signal - Right

6

0.5 D-GN

1409

Electronic Frontal Sensor Signal - Right

7

0.5 YE

1834

Electronic Frontal Sensor Voltage - Right

7

0.5 YE

1834

Electronic Frontal Sensor Voltage - Right

8

0.5 L-BU

14

Left Turn Signal Lamps Control

8

0.5 L-BU

14

Left Turn Signal Lamps Control

9

0.5 D-BU

15

Right Turn Signal Lamps Control

9

0.5 D-BU

15

Right Turn Signal Lamps Control

10

0.5 GY

349

Electronic Frontal Sensor Voltage - Left

10

0.5 GY

349

Electronic Frontal Sensor Voltage - Left

11

0.5 YE

354

Electronic Frontal Sensor Signal - Left

11

0.5 YE

354

Electronic Frontal Sensor Signal - Left

12

0.5 BN

9

Park Lamp Control

12

0.5 BN

9

Park Lamp Control

13

0.35 D-GN

61

Low Reference

13

0.35 D-GN

61

Low Reference

14

0.35 D-GN/WH

636

Ambient Air Temperature Sensor Signal

14

0.35 D-GN/WH

636

Ambient Air Temperature Sensor Signal

15

0.5 PU

34

Front Fog Lamp Control

15

0.5 PU

34

Front Fog Lamp Control

16

1 BK

850

Ground

16

1 BK

850

Ground

X115 Forward Lamp Harness to the Body Harness (EXP)


Object Number: 1552588  Size: CH

Object Number: 586335  Size: CH

Connector Part Information

  • OEM: 15366099
  • Service: 19153767
  • Description: 24-Way F GT 150 280 Sealed (BK)

Connector Part Information

  • OEM: 15336173
  • Service: 19167005
  • Description: 24-Way M GT 150/280 (Mixed)

Terminal Part Information

  • Pins: 1, 8-9, 16
  • Terminal/Tray: 15304719/19
  • Core/Insulation Crimp: E/5
  • Release Tool/Test Probe: 15315247/J-35616-4A (PU)
  • Pins: 2-7, 10-15
  • Terminal/Tray: 12191819/8
  • Core/Insulation Crimp: E/A
  • Release Tool/Test Probe: 15315247/J-35616-2A (GY)

Terminal Part Information

  • Pins: 1, 8-9
  • Terminal/Tray: 15304730/8
  • Core/Insulation Crimp: See Terminal Kit
  • Release Tool/Test Probe: See Terminal Kit
  • Pins: 2-7, 10-15
  • Terminal/Tray: 15326269/19
  • Core/Insulation Crimp: E/4
  • Release Tool/Test Probe: 15315247/J-35616-3 (GY)
  • Pin: 16
  • Terminal/Tray: 15304731/19
  • Core/Insulation Crimp: 2/5
  • Release Tool/Test Probe: 15315247/J-35616-5 (PU)

X115 Forward Lamp Harness to the Body Harness (EXP)

Pin

Wire

Circuit

Function

Pin

Wire

Circuit

Function

A1

0.35 D-BU

1201

Headlamp Low Beam

A1

0.35 D-BU

1201

Headlamp Low Beam

A2

0.35 OG

740

Battery Positive Voltage

A2

0.35 OG

740

Battery Positive Voltage

A3

0.35 PK

1200

Headlamp High Beam Signal

A3

0.35 PK

1200

Headlamp High Beam Signal

A4

0.35 OG

640

Battery Positive Voltage

A4

0.35 OG

640

Battery Positive Voltage

A5

0.35 L-BU

14

Left Turn Signal Lamps Control

A5

0.35 L-BU

14

Left Turn Signal Lamps Control

A6

0.35 D-GN

1409

Electronic Frontal Sensor Signal - Right

A6

0.35 D-GN

1409

Electronic Frontal Sensor Signal - Right

A7

0.35 YE

1834

Electronic Frontal Sensor Voltage - Right

A7

0.35 YE

1834

Electronic Frontal Sensor Voltage - Right

A8

0.35 GY

349

Electronic Frontal Sensor Voltage - Left

A8

0.35 GY

349

Electronic Frontal Sensor Voltage - Left

B1

--

--

Not Used

B1

--

--

Not Used

B2

0.35 YE

61

Low Reference

B2

0.35 D-GN

61

Low Reference

B3

0.35 D-GN/WH

636

Ambient Air Temperature Sensor Signal

B3

0.35 D-GN/WH

636

Ambient Air Temperature Sensor Signal

B4

0.35 D-BU

15

Right Turn Signal Lamps Control

B4

0.35 D-BU

15

Right Turn Signal Lamps Control

B5

--

--

Not Used

B5

--

--

Not Used

B6

0.35 PU

34

Front Fog Lamp Control

B6

0.35 PU

34

Front Fog Lamp Control

B7

0.35 BN

2309

Front Position Lamps Control

B7

0.35 BN

2309

Front Position Lamps Control

B8

0.35 YE

354

Electronic Frontal Sensor Signal - Left

B8

0.35 YE

354

Electronic Frontal Sensor Signal - Left

C1

0.35 YE

543

Ignition Voltage

C1

0.35 YE

543

Ignition Voltage

C2

0.35 D-GN

1329

Horn Control (LHD)

C2

0.35 D-GN

1329

Horn Control (LHD)

C3

0.35 L-BU/BK

747

Right Rear Door Ajar Switch Signal (NO4)

C3

0.35 L-BU/BK

747

Right Rear Door Ajar Switch Signal

C4

0.35 D-GN

1329

Horn Control (RHD)

C4

0.35 D-GN

1329

Horn Control (RHD)

C5

0.35 BK

850

Ground

C5

0.35 BK

850

Ground

C6

0.35 D-GN

189

Headlamp Leveling Motor Control

C6

0.35 D-GN

189

Headlamp Leveling Motor Control

C7

0.35 YE

543

Ignition Voltage

C7

0.35 YE

543

Ignition Voltage

C8

--

--

Not Used

C8

--

--

Not Used

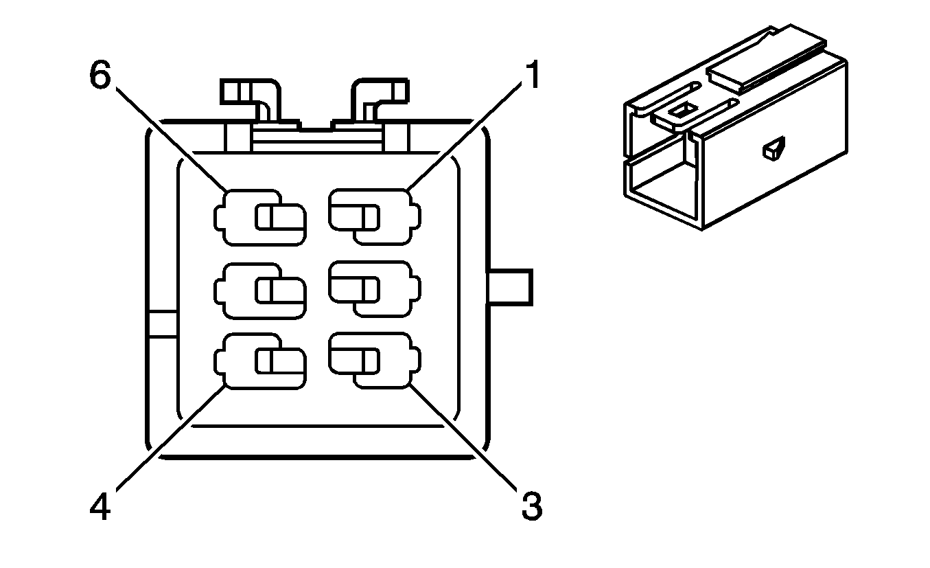
X116 Forward Lamp Harness to the Left Headlamp Jumper Harness


Object Number: 646400  Size: CH

Object Number: 684916  Size: CH

Connector Part Information

  • OEM: 15326835
  • Service: 88986452
  • Description: 8-Way F GT 150 Series, Sealed (BK)

Connector Part Information

  • OEM: 15326840
  • Service: See Catalog
  • Description: 8-Way M GT 150 Series, Sealed (BK)

Terminal Part Information

  • Terminal/Tray: 12191818/8
  • Core/Insulation Crimp: See Terminal Kit
  • Release Tool/Test Probe: See Terminal Kit

Terminal Part Information

  • Terminal/Tray: 15326269/19
  • Core/Insulation Crimp: E/4
  • Release Tool/Test Probe: 15315247/J-35616-3 (GY)

X116 Forward Lamp Harness to the Left Headlamp Jumper Harness

Pin

Wire

Circuit

Function

Pin

Wire

Circuit

Function

A

0.5 OG

740

Battery Positive Voltage

A

0.5 OG

740

Battery Positive Voltage

B

0.5 PK

1200

Headlamp High Beam Signal

B

0.5 PK

1200

Headlamp High Beam Signal

C

0.5 D-BU

1201

Headlamp Low Beam

C

0.5 D-BU

1201

Headlamp Low Beam

D

0.5 BN

9

Park Lamp Control (without EXP)

D

0.5 BN

9

Park Lamp Control (without EXP)

D

0.5 BN

2309

Front Position Lamps Control (EXP)

D

0.5 BN

2309

Front Position Lamps Control (EXP)

E

0.5 L-BU

14

Left Turn Signal Lamps Control

E

0.5 D-BU

14

Left Turn Signal Lamps Control

F

0.5 BK

850

Ground

F

0.5 BK

850

Ground

G

0.5 BK

850

Ground (without EXP)

G

0.5 BK

850

Ground (without EXP)

G

0.5 D-GN

189

Headlamp Leveling Motor Control (EXP)

G

0.5 D-GN

189

Headlamp Leveling Motor Control (EXP)

H

0.5 BN

9

Park Lamp Control (without EXP)

H

0.5 BN

9

Park Lamp Control (without EXP)

H

0.5 YE

543

Ignition Voltage (EXP)

H

0.5 YE

543

Ignition Voltage (EXP)

X117 Forward Lamp Harness to the Right Headlamp Jumper Harness


Object Number: 646400  Size: CH

Object Number: 684916  Size: CH

Connector Part Information

  • OEM: 15326835
  • Service: 88986452
  • Description: 8-Way F GT 150 Series, Sealed (BK)

Connector Part Information

  • OEM: 15326840
  • Service: See Catalog
  • Description: 8-Way M GT 150 Series, Sealed (BK)

Terminal Part Information

  • Terminal/Tray: 12191818/8
  • Core/Insulation Crimp: See Terminal Kit
  • Release Tool/Test Probe: See Terminal Kit

Terminal Part Information

  • Terminal/Tray: 15326269/19
  • Core/Insulation Crimp: E/4
  • Release Tool/Test Probe: 15315247/J-35616-3 (GY)

X117 Forward Lamp Harness to the Right Headlamp Jumper Harness

Pin

Wire

Circuit

Function

Pin

Wire

Circuit

Function

A

0.5 OG

640

Battery Positive Voltage

A

0.5 OG

640

Battery Positive Voltage

B

0.5 PK

1200

Headlamp High Beam Signal

B

0.5 PK

1200

Headlamp High Beam Signal

C

0.5 D-BU

1201

Headlamp Low Beam

C

0.5 D-BU

1201

Headlamp Low Beam

D

0.5 BN

9

Park Lamp Control (without EXP)

D

0.5 BN

9

Park Lamp Control (without EXP)

D

0.5 BN

2309

Front Position Lamps Control (EXP)

D

0.5 BN

2309

Front Position Lamps Control (EXP)

E

0.5 D-BU

15

Right Turn Signal Lamp Control

E

0.5 D-BU

15

Right Turn Signal Lamp Control

F

0.5 BK

850

Ground

F

0.5 BK

850

Ground

G

0.5 BK

850

Ground (without EXP)

G

0.5 BK

850

Ground (without EXP)

G

0.5 D-GN

189

Headlamp Leveling Motor Control (EXP)

G

0.5 D-GN

189

Headlamp Leveling Motor Control (EXP)

H

0.5 BN

9

Park Lamp Control (without EXP)

H

0.5 BN

9

Park Lamp Control (without EXP)

H

0.5 YE

543

Ignition Voltage (EXP)

H

0.5 YE

543

Ignition Voltage (EXP)

X125 Engine Harness to the Body Harness


Object Number: 1566810  Size: CH

Object Number: 1566798  Size: CH

Connector Part Information

  • OEM: 6189-6902
  • Service: 15193794
  • Description: 16-Way F Sealed (BK)

Connector Part Information

  • OEM: 6188-0798
  • Service: 15193801
  • Description: 16-Way M Sealed (BK)

Terminal Part Information

  • Pins: 2-5, 11-13
  • Terminal/Tray: 12191819/8
  • Core/Insulation Crimp: E/A
  • Release Tool/Test Probe: 15315247/J-35616-2A (GY)
  • Pins: 8-9
  • Terminal/Tray: 15304720/19
  • Core/Insulation Crimp: 4/5
  • Release Tool/Test Probe: 15315247/J-35616-4A (PU)

Terminal Part Information

  • Pins: 2-5, 11-13
  • Terminal/Tray: 15326269/19
  • Core/Insulation Crimp: E/4
  • Release Tool/Test Probe: 15315247/J-35616-3 (GY)
  • Pins: 8-9
  • Terminal/Tray: 15304732/8
  • Core/Insulation Crimp: A/5
  • Release Tool/Test Probe: 15315247/J-35616-5 (PU)

X125 Engine Harness to the Body Harness

Pin

Wire

Circuit

Function

Pin

Wire

Circuit

Function

1

--

--

Not Used

1

--

--

Not Used

2

0.5 OG/BK

463

Requested Torque Signal

2

0.5 OG/BK

463

Requested Torque Signal

3

0.5 PU

7446

Fuel Line Pressure Sensor Signal

3

0.5 PU

7446

Fuel Line Pressure Sensor Signal

4

0.5 D-BU

6306

Clutch Pedal Position Sensor Signal (MA5)

4

0.5 D-BU

6306

Clutch Pedal Position Sensor Signal

5

0.5 TN/BK

464

Delivered Torque Signal

5

0.5 TN/BK

464

Delivered Torque Signal

6

0.35 D-GN/WH

6294

Low Reference (MA5)

6

0.35 D-GN/WH

6294

Low Reference

7

0.5 OG

3040

Battery Positive Voltage

7

0.5 OG

3040

Battery Positive Voltage

8-9

--

--

Not Used

8

--

--

Not Used

10

PK/BK

415

Air Injection Reaction Solenoid Control (K18)

10

0.5 PK/BK

415

Air Injection Reaction Solenoid Control

11

0.35 OG

1540

Battery Positive Voltage (M30)

11

0.35 OG

1540

Battery Positive Voltage

12

0.5 GY

7447

Low Reference

12

0.5 GY

7447

Low Reference

13

0.5 BN

7445

5-Volt Reference

13

0.5 BN

7445

5-Volt Reference

14

0.5 PK

739

Ignition Voltage

14

0.5 PK

739

Ignition Voltage

15

0.5 D-GN

6293

5-Volt Reference (MA5)

15

0.5 D-GN

6293

5-Volt Reference

16

0.5 OG

3140

Battery Positive Voltage

16

0.5 OG

3140

Battery Positive Voltage

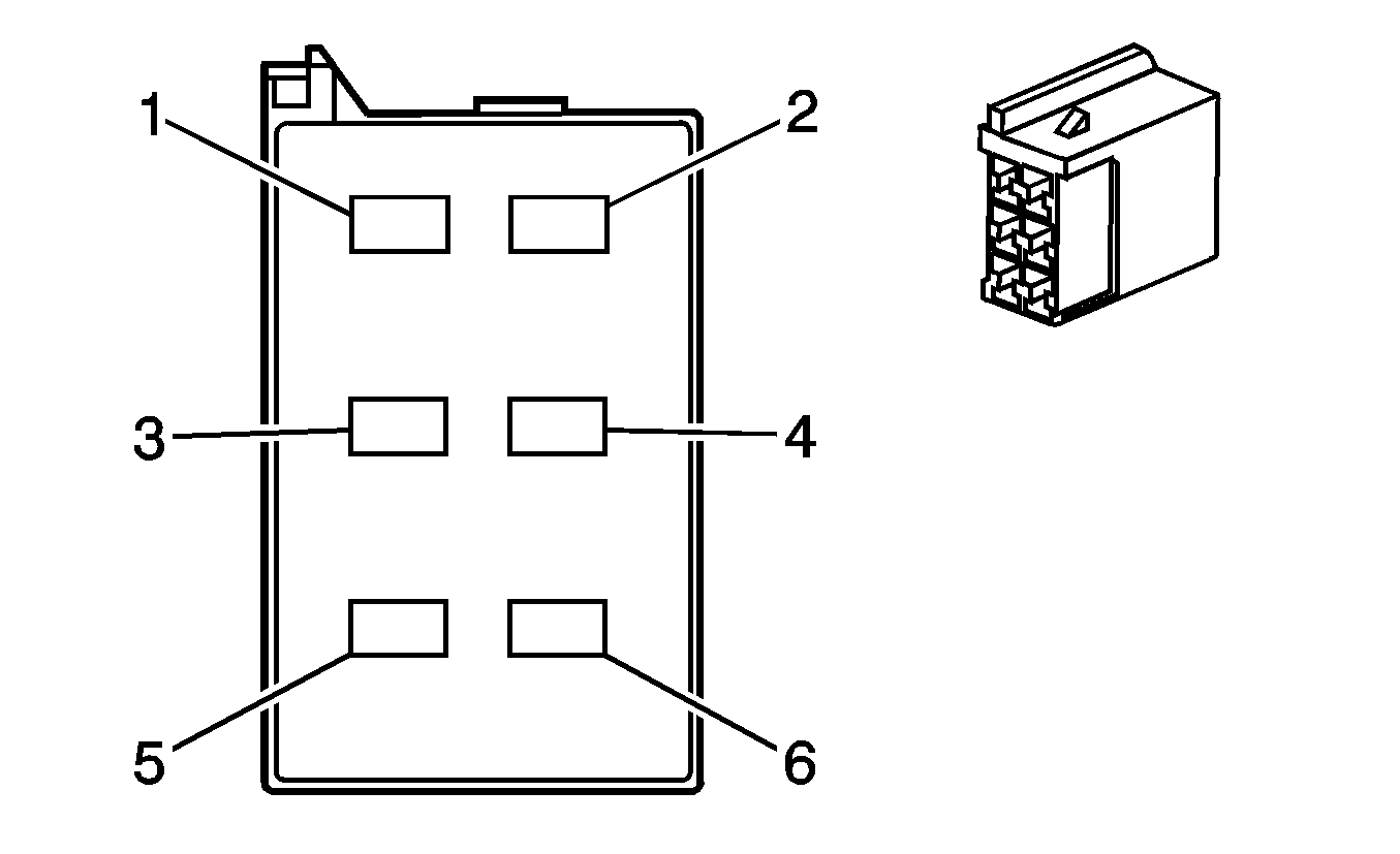
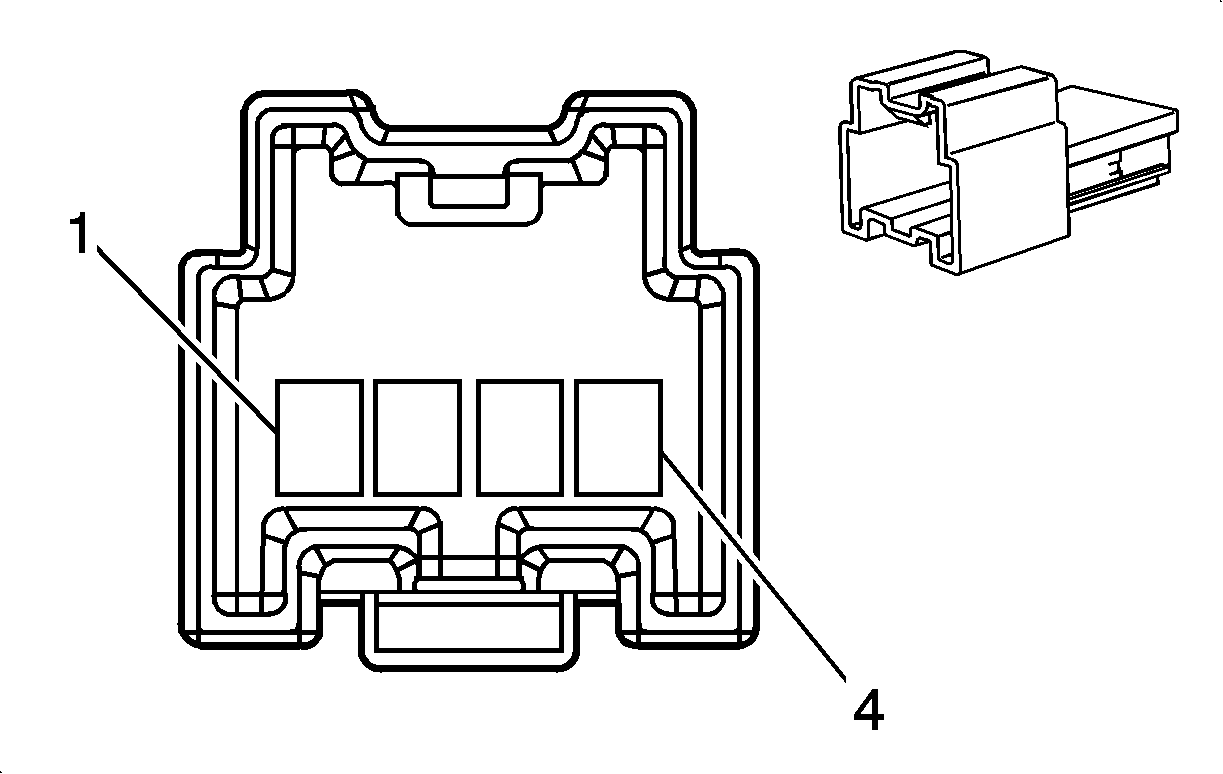
X130 Body Harness to the Battery Cable Harness (UE1/U2K)


Object Number: 684792  Size: CH

Object Number: 655682  Size: CH

Connector Part Information

  • OEM: 12052613
  • Service: 12085212
  • Description: 2-Way F Metri-Pack 480 Series, Sealed (BK)

Connector Part Information

  • OEM: 12065863
  • Service: 15306133
  • Description: 2-Way M Metri-Pack 480 Series, Sealed (BK)

Terminal Part Information

  • Terminal/Tray: 12048451/2
  • Core/Insulation Crimp: F/3
  • Release Tool/Test Probe: 12094430/J-35616-40 (BU)

Terminal Part Information

  • Terminal/Tray: 12065197/8
  • Core/Insulation Crimp: See Terminal Kit
  • Release Tool/Test Probe: See Terminal Kit

X130 Body Harness to the Battery Cable Harness (UE1/U2K)

Pin

Wire

Circuit

Function

Pin

Wire

Circuit

Function

A

1 OG

340

Battery Positive Voltage

A

1 OG

340

Battery Positive Voltage

B

--

--

Not Used

B

--

--

Not Used

X150 Chassis Harness to the Body Harness


Object Number: 1844787  Size: CH

Object Number: 1822201  Size: CH

Connector Part Information

  • OEM: 13586430
  • Service:
  • Description: 40-Way F Sealed (BK)

Connector Part Information

  • OEM: 13605375
  • Service:
  • Description: 40-Way M Sealed (BK)

Terminal Part Information

  • Terminal/Tray: 15304719/19
  • Core/Insulation Crimp: 2/5
  • Release Tool/Test Probe: 15315247/J-35616-4A (PU)

Terminal Part Information

  • Terminal/Tray: 15304731/19
  • Core/Insulation Crimp: 2/5
  • Release Tool/Test Probe: 15315247/J-35616-5 (PU)

X150 Chassis Harness to the Body Harness

Pin

Wire

Circuit

Function

Pin

Wire

Circuit

Function

1

0.35 PK

1439

Ignition Voltage

1

0.35 PK

1439

Ignition Voltage

2

3 RD

742

Battery Positive Voltage

2

3 RD

742

Battery Positive Voltage

3

3 D-BU

47

Trailer Auxiliary Control

3

3 D-BU

47

Trailer Auxiliary Control

4

1 L-GN

2659

Rear Differential Lock High Control (G94)

4

1 L-GN

2659

Rear Differential Lock High Control

5

0.35 PU

1589

Fuel Level Sensor Signal

5

0.35 PU

1589

Fuel Level Sensor Signal

6

0.8 BN

2509

Left Rear Park Lamp Control

6

0.8 BN

2509

Left Rear Park Lamp Control

7

--

--

Not Used

7

--

--

Not Used

8

0.35 BK

2759

Low Reference

8

0.35 BK

2759

Low Reference

9

0.5 GY

2709

5-Volt Reference

9

0.5 GY

2709

5-Volt Reference

10

0.5 D-GN

890

Fuel Tank Pressure Sensor Signal

10

0.5 D-GN

890

Fuel Tank Pressure Sensor Signal

11

0.35 OG

2440

Battery Positive Voltage

11

0.35 OG

2440

Battery Positive Voltage

12

0.5 WH

1310

EVAP Canister Vent Solenoid Control

12

0.5 WH

1310

EVAP Canister Vent Solenoid Control

13

0.8 L-GN

24

Backup Lamp Control

13

0.8 L-GN

24

Backup Lamp Control

14

0.8 BN

2109

Trailer Park Lamps Control

14

0.8 BN

2109

Trailer Park Lamps Control

15

1 YE

18

Left Rear Stop/Turn Lamp Control

15

1 YE

18

Left Rear Stop/Turn Lamp Control

16

1 D-GN

19

Right Rear Stop/Turn Lamp Control

16

1 D-GN

19

Right Rear Stop/Turn Lamp Control

17

0.5 BN/WH

2609

Right Rear Park Lamp Control

17

0.5 BN/WH

2609

Right Rear Park Lamp Control

18

1 BK

1725

Low Reference

18

1 BK

1725

Low Reference

19

0.5 RD

885

Low Reference

19

0.5 RD

885

Low Reference

20

0.5 BK

884

Left Rear Wheel Speed Sensor Signal

20

0.5 BK

884

Left Rear Wheel Speed Sensor Signal

21

0.5 WH

883

Low Reference

21

0.5 WH

883

Low Reference

22

0.5 BN

882

Right Rear Wheel Speed Sensor Signal

22

0.5 BN

882

Right Rear Wheel Speed Sensor Signal

23

0.8 GY

7069

Camera Shield Extension (UVC)

23

0.8 GY

7069

Camera Shield Extension (UVC)

24

0.5 PK

6972

Camera Signal + (UVC)

24

0.5 PK

6972

Camera Signal + (UVC)

25

0.5 L-BU

6973

Camera Signal - (UVC)

25

0.5 L-BU

6973

Camera Signal - (UVC)

26

0.5 PK

1339

Ignition Voltage

26

0.5 PK

1339

Ignition Voltage

27

0.5 BN

4

Ignition Voltage

27

0.5 BN

4

Ignition Voltage

28

0.35 D-GN/WH

465

Fuel Pump Relay Control

28

0.35 D-GN/WH

465

Fuel Pump Relay Control

29-30

--

--

Not Used

29-30

--

--

Not Used

31

0.5 PU

7446

Fuel Line Pressure Sensor Signal

31

0.5 PU

7446

Fuel Line Pressure Sensor Signal

32

0.5 GY

7447

Low Reference

32

0.5 GY

7447

Low Reference

33

0.5 BN

7445

5-Volt Reference

33

0.5 BN

7445

5-Volt Reference

34

0.5 TN/WH

2500

High Speed GMLAN Serial Data Bus+

34

0.5 TN/WH

2500

High Speed GMLAN Serial Data Bus+

35

0.5 TN

2501

High Speed GMLAN Serial Data Bus-

35

0.5 TN

2501

High Speed GMLAN Serial Data Bus-

36

--

--

Not Used

36

--

--

Not Used

37

0.35 L-GN

24

Backup Lamp Control

37

0.35 L-GN

24

Backup Lamp Control

38

--

--

Not Used

38

--

--

Not Used

39

3 RD/WH

1940

Battery Positive Voltage

39

3 RD/WH

1940

Battery Positive Voltage

40

0.35 L-BU

20

Stop Lamp Control

40

0.35 L-BU

20

Stop Lamp Control

X175 Engine Harness to Transmission Internal Harness (M30)


Object Number: 655729  Size: CH

Object Number: 808696  Size: CH

Connector Part Information

  • OEM: 15443074
  • Service: 12186609
  • Description: 20-Way F Micro-Pack 100W (GY)

Connector Part Information

  • OEM: 12160782
  • Service: 12160782
  • Description: 20-Way M Micro-Pack 100W (GY)

Terminal Part Information

  • Terminal/Tray: 12084913/5
  • Core/Insulation Crimp: W/W
  • Release Tool/Test Probe: 12122523/J-35616-6 (BN)

Terminal Part Information

  • Terminal/Tray:See Terminal Repair Kit
  • Core/Insulation Crimp:See Terminal Repair Kit
  • Release Tool/Test Probe:See Terminal Repair Kit

X175 Engine Harness to Transmission Internal Harness (M30)

Pin

Wire

Circuit

Function

Pin

Wire

Circuit

Function

A

0.5 L-GN

1222

Shift Solenoid 1 Valve Control

A

0.5 L-GN

1222

Shift Solenoid 1 Valve Control

B

0.5 YE/BK

1223

Shift Solenoid 2 Valve Control

B

0.5 YE/BK

1223

Shift Solenoid 2 Valve Control

C

0.5 RD/BK

1228

PC Solenoid Valve High Control

C

0.5 RD/BK

1228

PC Solenoid Valve High Control

D

0.5 L-BU/WH

1229

PC Solenoid Valve Low Control

D

0.5 L-BU/WH

1229

PC Solenoid Valve Low Control

E

0.5 PK

139

Ignition Voltage

E

0.5 PK

139

Ignition Voltage

F

0.5 BK/WH

771

Transmission Range Signal A

F

0.5 BK/WH

771

Transmission Range Signal A

G

0.5 YE

772

Transmission Range Signal B

G

0.5 YE

772

Transmission Range Signal B

H

0.5 GY

773

Transmission Range Signal C

H

0.5 GY

773

Transmission Range Signal C

J

0.5 WH

776

Transmission Range Signal P

J

0.5 WH

776

Transmission Range Signal P

K

0.5 OG/BK

1230

AT ISS High Signal

K

0.5 OG/BK

1230

AT ISS High Signal

L

0.5 YE/BK

1227

TFT Sensor Signal

L

0.5 YE/BK

1227

TFT Sensor Signal

M

0.5 BK

452

Low Reference

M

0.5 BK

452

Low Reference

N

0.5 BK/WH

451

Ground

N

0.5 BK/WH

451

Ground

P-S

--

--

Not Used

P-S

--

--

Not Used

T

0.5 TN/BK

422

TCC Solenoid Valve Control

T

0.5 TN/BK

422

TCC Solenoid Valve Control

U

0.5 BN

418

TCC PWM Solenoid Valve Control

U

0.5 BN

418

TCC PWM Solenoid Valve Control

V

0.5 D-BU/WH

1231

Transmission Turbine Speed Switch Low Reference

V

0.5 D-BU/WH

1231

Transmission Turbine Speed Switch Low Reference

W

0.5 OG/BK

1786

Ignition Lock Cylinder Control Actuator Signal

W

0.5 OG/BK

1786

Ignition Lock Cylinder Control Actuator Signal

X200 I/P Harness to the Body Harness (LHD)


Object Number: 1480294  Size: CH

Object Number: 1480297  Size: CH

Connector Part Information

  • OEM: 15448129
  • Service: 89046969
  • Description: 40-Way F GT 150/280 Series (BK)

Connector Part Information

  • OEM: 15475869
  • Service: 88988307
  • Description: 40-Way M GT 150/280 Series (BK)

Terminal Part Information

  • Pins: A1-A2, A7-A8, B1-B12, C1-C12, D1-D2, D7-D8
  • Terminal/Tray: 12191812/19
  • Core/Insulation Crimp: Pins A1-A2, A7, B1-B2, B5-B6, B8-B11, C1-C7, C9, C11-C12, D1-D2, D7-D8: E/C
  • Core/Insulation Crimp: Pins A8, B4, B7, B12, C8, C10, D7: C/A
  • Release Tool/Test Probe: 15315247/J-35616-2A (GY)
  • Pins: A3-A6, D5-D6
  • Terminal/Tray: 15304713/19
  • Core/Insulation Crimp: F/D
  • Release Tool/Test Probe: 15315247/J-35616-4A (PU)
  • Pins: D3-D4
  • Terminal/Tray: 15304711/8
  • Core/Insulation Crimp: E/A
  • Release Tool/Test Probe: 15315247/J-35616-4A (PU)

Terminal Part Information

  • Pins: A1-A2, A7-A8, B1-B12, C1-C12, D1-D2, D7-D8
  • Terminal/Tray: 15304702/19
  • Core/Insulation Crimp: Pins: A2, B5, B8-B10, C1-C2, C4-C7, C11, D1-D2: E/C
  • Core/Insulation Crimp: Pins: A1, A7, B1-B2, B6, B11, C3, C9, C12, D8: E/4
  • Core/Insulation Crimp: Pins: A8, B4, B7, B12, C8, C10, D7: 2/4
  • Release Tool/Test Probe: 15315247/J-35616-3 (GY)
  • Pins: A3-A6, D3-D6
  • Terminal/Tray: 15304724/8
  • Core/Insulation Crimp: Pins: A3-A6, D5-D6: A/D
  • Core/Insulation Crimp: Pins: D3-D4: 2/A
  • Release Tool/Test Probe: 15315247/J-35616-5 (PU)

X200 I/P Harness to the Body Harness (LHD)

Pin

Wire

Circuit

Function

Pin

Wire

Circuit

Function

A1

0.5 WH

393

Rear Window Wiper Delay 1 Signal (H3)

A1

0.5 WH

393

Rear Window Wiper Delay 1 Signal (H3)

A2

0.35 YE

1139

Ignition Voltage

A2

0.35 YE

1139

Ignition Voltage

A3

3 BN

141

Ignition Voltage

A3

3 BN

141

Ignition Voltage

A4

0.35 OG

6201

5-Volt Reference (UVC)

A4

0.35 OG

6201

5-Volt Reference (UVC)

0.5 TN

2501

High Speed GMLAN Serial Data Bus - (H3T)

0.5 TN

2501

High Speed GMLAN Serial Data Bus - (H3T)

A5

0.35 TN/BK

6202

Camera Ground (UVC)

A5

0.35 TN/BK

6202

Camera Ground (UVC)

0.5 TN/WH

2500

High Speed GMLAN Serial Data Bus + (H3T)

0.5 TN/WH

2500

High Speed GMLAN Serial Data Bus + (H3T)

A6

3 OG

1640

Battery Positive Voltage

A6

3 OG

1640

Battery Positive Voltage

A7

0.5 YE

343

Ignition Voltage (H3)

A7

0.5 YE

343

Ignition Voltage (H3)

A8

0.8 OG

40

Battery Positive Voltage

A8

0.8 OG

40

Battery Positive Voltage

B1

0.8 BN

199

Left Rear Speaker (+) (UQ3)

B1

0.8 BN

199

Left Rear Speaker (+) (UQ3)

B2

0.5 YE

116

Left Rear Speaker Signal (-) (UQ3)

B2

0.5 YE

116

Left Rear Speaker Signal (-) (UQ3)

B3

0.35 WH

6798

Camera Video Signal (UVC)

B3

0.35 WH

6798

Camera Video Signal (UVC)

B4

1 BK

1725

Ground

B4

1 BK

1725

Ground

B5

0.35 D-GN

2308

Passenger Air Bag Off Indicator Control

B5

0.35 D-GN

2308

Passenger Air Bag Off Indicator Control

B6

0.5 GY

391

Rear Window Wiper Delay 2 Signal (H3)

B6

0.5 GY

391

Rear Window Wiper Delay 2 Signal (H3)

B7

1 OG

1140

Battery Positive Voltage

B7

1 OG

1140

Battery Positive Voltage

B8

0.35 PK

339

Ignition Voltage

B8

0.35 PK

339

Ignition Voltage

B9

0.35 OG

1740

Battery Positive Voltage

B9

0.35 OG

1740

Battery Positive Voltage

B10

0.35 OG

1440

Battery Positive Voltage

B10

0.35 OG

1440

Battery Positive Voltage

B11

0.5 L-BU

20

Stop Lamp Control

B11

0.5 L-BU

20

Stop Lamp Control

B12

1 L-GN

2659

Rear Differential Lock High Control

B12

1 L-GN

2659

Rear Differential Lock High Control

C1

0.35 GY

91

Windshield Wiper Motor Relay Coil Control

C1

0.35 GY

91

Windshield Wiper Motor Relay Coil Control

C2

0.8 BARE

6799

Camera Shield (UVC)

C2

0.8 BARE

6799

Camera Shield (UVC)

C3

0.5 YE

243

Ignition Voltage

C3

0.5 YE

243

Ignition Voltage

C4

0.35 D-GN/WH

2514

Keypad Signal (UE1)

C4

0.35 D-BU

2514

Keypad Signal (UE1)

1 D-GN

189

Headlamp Leveling Motor Control (EXP)

1 D-GN

189

Headlamp Leveling Motor Control (EXP)

C5

0.35 L-GN/BK

2515

Keypad Control (UE1)

C5

0.35 BK

2515

Keypad Control (UE1)

0.35 YE

543

Ignition Voltage (EXP)

0.5 YE

543

Ignition Voltage (EXP)

C6

0.35 YE/BK

2516

Keypad Green LED Signal (UE1)

C6

0.35 GY

2516

Keypad Green LED Signal (UE1)

C7

0.35 BN/WH

2517

Keypad Red LED Signal (UE1)

C7

0.35 BN/WH

2517

Keypad Red LED Signal (UE1)

C8

0.8 OG

340

Battery Positive Voltage (UE1)

C8

0.8 OG

340

Battery Positive Voltage (UE1)

C9

0.5 GY

655

Cellular Microphone Signal (UE1)

C9

0.5 GY

655

Cellular Microphone Signal (UE1)

C10

0.8 BARE

1705

Drain Wire (UE1)

C10

0.8 BARE

1705

Drain Wire (UE1)

C11

0.35 BN

41

Ignition Voltage

C11

0.35 BN

41

Ignition Voltage

C12

0.5 YE

1996

Ignition Lock Cylinder Control Actuator Signal

C12

0.5 YE

1996

Ignition Lock Cylinder Control Actuator Signal

D1

0.35 BN

323

Shift Solenoid Control

D1

0.35 BN

323

Shift Solenoid Control

D2

0.35 D-BU

2307

Passenger Air Bag On Indicator Control

D2

0.35 D-BU

2307

Passenger Air Bag On Indicator Control

D3

0.5 TN

201

Left Front Speaker (+) (UQ3)

D3

0.5 TN

201

Left Front Speaker (+) (UQ3)

D4

0.5 GY

118

Left Front Speaker Signal (-) (UQ3)

D4

0.5 GY

118

Left Front Speaker Signal (-) (UQ3)

D5

3 RD

242

Battery Positive Voltage

D5

3 RD

242

Battery Positive Voltage

D6

3 D-BU

47

Trailer Auxiliary Control

D6

3 D-BU

47

Trailer Auxiliary Control

D7

1 BK/WH

1151

Ground

D7

1 BK/WH

1151

Ground

D8

0.5 BN

241

Ignition Voltage

D8

0.5 BN

241

Ignition Voltage

X200 I/P Harness to the Body Harness (RHD)


Object Number: 1480294  Size: CH

Object Number: 1480297  Size: CH

Connector Part Information

  • OEM: 15448129
  • Service: 89046969
  • Description: 40-Way F GT 150/280 Series (BK)

Connector Part Information

  • OEM: 15475869
  • Service: 88988307
  • Description: 40-Way M GT 150/280 Series (BK)

Terminal Part Information

  • Pins: A1-A2, A7-A8, B1-B12, C1-C12, D1-D2, D7-D8
  • Terminal/Tray: 12191812/19
  • Core/Insulation Crimp: Pins A1-A2, A7, B1-B2, B5-B6, B8-B11, C1-C7, C9, C11-C12, D1-D2, D7-D8: E/C
  • Core/Insulation Crimp: Pins A8, B4, B7, B12, C8, C10, D7: C/A
  • Release Tool/Test Probe: 15315247/J-35616-2A (GY)
  • Pins: A3-A6, D5-D6
  • Terminal/Tray: 15304713/19
  • Core/Insulation Crimp: F/D
  • Release Tool/Test Probe: 15315247/J-35616-4A (PU)
  • Pins: D3-D4
  • Terminal/Tray: 15304711/8
  • Core/Insulation Crimp: E/A
  • Release Tool/Test Probe: 15315247/J-35616-4A (PU)

Terminal Part Information

  • Pins: A1-A2, A7-A8, B1-B12, C1-C12, D1-D2, D7-D8
  • Terminal/Tray: 15304702/19
  • Core/Insulation Crimp: Pins: A2, B5, B8-B10, C1-C2, C4-C7, C11, D1-D2: E/C
  • Core/Insulation Crimp: Pins: A1, A7, B1-B2, B6, B11, C3, C9, C12, D8: E/4
  • Core/Insulation Crimp: Pins: A8, B4, B7, B12, C8, C10, D7: 2/4
  • Release Tool/Test Probe: 15315247/J-35616-3 (GY)
  • Pins: A3-A6, D3-D6
  • Terminal/Tray: 15304724/8
  • Core/Insulation Crimp: Pins: A3-A6, D5-D6: A/D
  • Core/Insulation Crimp: Pins: D3-D4: 2/A
  • Release Tool/Test Probe: 15315247/J-35616-5 (PU)

X200 I/P Harness to the Body Harness (RHD)

Pin

Wire

Circuit

Function

Pin

Wire

Circuit

Function

A1

0.5 WH

393

Rear Window Wiper Delay 1 Signal

A1

0.5 WH

393

Rear Window Wiper Delay 1 Signal

A2

0.5 YE

1139

Ignition Voltage

A2

0.5 YE

1139

Ignition Voltage

A3

0.5 BN

141

Ignition Voltage

A3

0.5 BN

141

Ignition Voltage

A4

0.5 BK

1552

Motor Control B

A4

0.5 BK

1552

Motor Control B

A5

0.5 RD

1553

Motor Control A

A5

0.5 RD

1553

Motor Control A

A6

0.5 OG

1640

Battery Positive Voltage

A6

0.5 OG

1640

Battery Positive Voltage

A7

0.5 YE

343

Ignition Voltage

A7

0.5 YE

343

Ignition Voltage

A8

0.5 OG

40

Battery Positive Voltage

A8

0.5 OG

40

Battery Positive Voltage

B1

0.5 BN

199

Left Rear Speaker (+) (UQ3)

B1

0.5 BN

199

Left Rear Speaker (+) (UQ3)

B2

0.5 YE

116

Left Rear Speaker Signal (-) (UQ3)

B2

0.5 YE

116

Left Rear Speaker Signal (-) (UQ3)

B3

0.5 BK/WH

1554

Low Reference

B3

0.5 BK/WH

1554

Low Reference

B4

0.5 BK

1725

Ground

B4

0.5 BK

1725

Ground

B5

0.5 D-GN

2308

Passenger Air Bag Off Indicator Control

B5

0.5 D-GN

2308

Passenger Air Bag Off Indicator Control

B6

0.5 GY

391

Rear Window Wiper Delay 2 Signal

B6

0.5 GY

391

Rear Window Wiper Delay 2 Signal

B7

0.5 OG

1140

Battery Positive Voltage

B7

0.5 OG

1140

Battery Positive Voltage

B8

0.5 PK

339

Ignition Voltage

B8

0.5 PK

339

Ignition Voltage

B9

0.5 OG

1740

Battery Positive Voltage

B9

0.5 OG

1740

Battery Positive Voltage

B10

0.5 OG

1440

Battery Positive Voltage

B10

0.5 OG

1440

Battery Positive Voltage

B11

0.5 L-BU

20

Stop Lamp Control

B11

0.5 L-BU

20

Stop Lamp Control

B12

0.5 L-GN

2659

Rear Differential Lock High Control

B12

0.5 L-GN

2659

Rear Differential Lock High Control

C1

0.5 GY

91

Windshield Wiper Motor Relay Coil Control

C1

0.5 GY

91

Windshield Wiper Motor Relay Coil Control

C2

0.5 BN/WH

1555

Channel P Encoder Signal

C2

0.5 BN/WH

1555

Channel P Encoder Signal

C3

0.5 YE

243

Ignition Voltage

C3

0.5 YE

243

Ignition Voltage

C4

0.5 D-GN

189

Headlamp Leveling Motor Feed

C4

0.5 D-GN

189

Headlamp Leveling Motor Feed

C5

0.5 YE

543

Ignition Voltage

C5

0.5 YE

543

Ignition Voltage

C6

0.5 TN

201

Left Front Speaker (+) (UQ3)

C6

0.5 TN

201

Left Front Speaker (+) (UQ3)

C6

0.5 TN

201

Left Front Speaker (+) (UQ3)

C7

0.5 GY

118

Left Front Speaker Signal (-) (UQ3)

C7

0.5 GY

118

Left Front Speaker Signal (-) (UQ3)

C7

0.5 GY

118

Left Front Speaker Signal (-) (UQ3)

C8-C9

--

--

Not Used

C8-C9

--

--

Not Used

C10

0.5 RD/WH

1556

Channel C Encoder Signal

C10

0.5 RD/WH

1556

Channel C Encoder Signal

C11

0.5 BN

41

Ignition Voltage

C11

0.5 BN

41

Ignition Voltage

C12

0.5 YE

1996

Ignition Lock Cylinder Control Actuator Signal

C12

0.5 YE

1996

Ignition Lock Cylinder Control Actuator Signal

D1

0.5 BN

323

Shift Solenoid Control

D1

0.5 BN

323

Shift Solenoid Control

D2

0.5 D-BU

2307

Passenger Air Bag On Indicator Control

D2

0.5 D-BU

2307

Passenger Air Bag On Indicator Control

D3

0.5 BK

850

Ground

D3

0.5 BK

850

Ground

D4

0.5 BK

850

Ground

D4

0.5 BK

850

Ground

D5

0.5 RD

242

Battery Positive Voltage

D5

0.5 RD

242

Battery Positive Voltage

D6

0.5 D-BU

47

Trailer Auxiliary Control

D6

0.5 D-BU

47

Trailer Auxiliary Control

D7

0.5 BK/WH

1151

Ground

D7

0.5 BK/WH

1151

Ground

D8

0.5 BN

241

Ignition Voltage

D8

0.5 BN

241

Ignition Voltage

X201 Steering Column Harness to the I/P Harness


Object Number: 655774  Size: CH

Object Number: 655773  Size: CH

Connector Part Information

  • OEM: 15317325
  • Service: 15317325
  • Description: 22-Way F GT 150/280 Series (L-GY)

Connector Part Information

  • OEM: 15317322
  • Service: 15317322
  • Description: 22-Way M GT 150/280 Series (L-GY)

Terminal Part Information

  • Pins: A1-A3, A10-A11, B1-B3, B9-B11
  • Terminal/Tray: 12191812/19
  • Core/Insulation Crimp: E/C
  • Release Tool/Test Probe: 15315247/J-35616-2A (GY)
  • Pins: A4-A8, B4-B8
  • Terminal/Tray: 15304711/8
  • Core/Insulation Crimp: E/A
  • Release Tool/Test Probe: 15315247/J-35616-4A (PU)

Terminal Part Information

  • Pins: A1-A3, A10-A11, B1-B3, B9-B11
  • Terminal/Tray: 15304702/19
  • Core/Insulation Crimp: E/C
  • Release Tool/Test Probe: 15315247/J-35616-3 (GY)
  • Pins: A4-A8, B4-B8
  • Terminal/Tray: 15304722/8
  • Core/Insulation Crimp: E/C
  • Release Tool/Test Probe: 15315247/J-35616-5 (PU)

X201 Steering Column Harness to the I/P Harness

Pin

Wire

Circuit

Function

Pin

Wire

Circuit

Function

A1

0.35 WH/BU

1390

Ignition Voltage

A1

0.35 WH

1390

Ignition Voltage

A2

0.35 WH/GN

338

Ignition Voltage

A2

0.35 D-BU

338

Ignition Voltage

A3

0.35 WH/RD

4

Ignition Voltage

A3

0.35 BN

4

Ignition Voltage

A4

0.5 GY

1996

Ignition Lock Cylinder Control Actuator Signal (M30)

A4

0.5 YE

1996

Ignition Lock Cylinder Control Actuator Signal

A5

0.5 BN

228

Windshield Washer Pump Control

A5

0.5 RD

228

Windshield Washer Pump Control

A6

0.35 D-BU/BK

91

Windshield Wiper Motor Relay Coil Control

A6

0.35 GY

91

Windshield Wiper Motor Relay Coil Control

A7

0.35 D-BU/RD

112

Windshield Wiper Switch Signal 1

A7

0.35 GY

112

Windshield Wiper Switch Signal 1

A8

0.35 YE

339

Ignition Voltage

A8

0.35 PK

339

Ignition Voltage

A9

--

--

Not Used

A9

--

--

Not Used

A10

0.35 D-BU/WH

1356

Flash-To-Pass Switch Signal

A10

0.35 BN

1356

Flash-To-Pass Switch Signal

A11

0.35 RD

524

Headlamp Dimmer Switch High Beam Signal

A11

0.35 PU

524

Headlamp Dimmer Switch High Beam Signal

B1

0.35 WH/YE

1073

Ignition Key Resistor Signal

B1

0.35 WH/BK

1073

Ignition Key Resistor Signal

B2

0.35 BK/WH

1151

Ground

B2

0.35 BK/WH

1151

Ground

B3

0.35 WH/BK

1740

Battery Positive Voltage

B3

0.35 OG

1740

Battery Positive Voltage

B4

0.5 D-BU

2050

Ground (M30)

B4

0.5 BK

2050

Ground

B5

0.35 PU

1508

Turn Signal Switch Signal

B5

0.35 L-BU

1508

Turn Signal Switch Signal

B6

0.35 PU

1807

Class 2 Serial Data

B6

0.35 PU

1807

Class 2 Serial Data

B7

0.5 BK

143

Ignition Voltage

B7

0.5 YE

243

Ignition Voltage

B8

0.35 WH

1884

Cruise Control Switch Signal

B8

0.35 GY

1884

Cruise Control Switch Signal

B9

0.35 D-GN

2050

Ground

B9

0.35 BK

2050

Ground

B10

0.35 PK

2050

Ground

B10

0.35 BK

2050

Ground

B11

0.35 L-GN

28

Horn Relay Control

B11

0.35 BK

28

Horn Relay Control

X203 I/P Harness to the Blower Motor Resistor Jumper Harness


Object Number: 1567051  Size: CH

Object Number: 1567089  Size: CH

Connector Part Information

  • OEM: 6098-4787
  • Service: 88988653
  • Description: 8-Way F (WH)

Connector Part Information

  • OEM: 6098-4905
  • Service: 88988651
  • Description: 8-Way M (WH)

Terminal Part Information

  • Pins: 1-3, 5-6
  • Terminal/Tray: 15304713/19
  • Core/Insulation Crimp: Pins 1-3: 4/4
  • Core/Insulation Crimp: Pins 5-6: F/D
  • Release Tool/Test Probe: 15315247/J-35616-4A (PU)
  • Pin: 4
  • Terminal/Tray: 15304711/8
  • Core/Insulation Crimp: E/A
  • Release Tool/Test Probe: 15315247/J-35616-4A (PU)

Terminal Part Information

  • Pins: 1-3, 5-6
  • Terminal/Tray: 15304724/8
  • Core/Insulation Crimp: Pins 1-3: C/D
  • Core/Insulation Crimp: Pins 5-6: A/D
  • Release Tool/Test Probe: 15315247/J-35616-5 (PU)
  • Pin: 4
  • Terminal/Tray: 15304722/8
  • Core/Insulation Crimp: E/C
  • Release Tool/Test Probe: 15315247/J-35616-5 (PU)

X203 I/P Harness to the Blower Motor Resistor Jumper Harness

Pin

Wire

Circuit

Function

Pin

Wire

Circuit

Function

1

2 YE

60

Blower Motor Low Control

1

2 YE

60

Blower Motor Low Control

2

2 TN

63

Blower Motor Medium 1 Control

2

2 TN

63

Blower Motor Medium 1 Control

3

2 L-BU

72

Blower Motor Medium 2 Control

3

2 L-BU

72

Blower Motor Medium 2 Control

4

0.5 OG

52

Blower Motor High Control

4

0.5 OG

52

Blower Motor High Control

5

3 BN

141

Ignition Voltage

5

3 BN

141

Ignition Voltage

6

3 BK

2050

Ground

6

3 BK

2050

Ground

7-8

--

--

Not Used

7-8

--

--

Not Used

X204 I/P Harness to the Body Harness


Object Number: 1480294  Size: CH

Object Number: 1480297  Size: CH

Connector Part Information

  • OEM: 15448129
  • Service: 89046969
  • Description: 40-Way F GT 150/280 Series (BK)

Connector Part Information

  • OEM: 15475869
  • Service: 88988307
  • Description: 40-Way M GT 150/280 Series (BK)

Terminal Part Information

  • Pins: A1-A2, A7-A8, B1-B12, C1-C12, D1-D2, D7-D8
  • Terminal/Tray: 12191812/19
  • Core/Insulation Crimp: Pins A1-A2, A7, B1-B2, B5-B6, B8-B11, C1-C7, C9, C11-C12, D1-D2, D7-D8: E/C
  • Core/Insulation Crimp: Pins A8, B4, B7, B12, C8, C10, D7: C/A
  • Release Tool/Test Probe: 15315247/J-35616-2A (GY)
  • Pins: A3-A6, D5-D6
  • Terminal/Tray: 15304713/19
  • Core/Insulation Crimp: F/D
  • Release Tool/Test Probe: 15315247/J-35616-4A (PU)
  • Pins: D3-D4
  • Terminal/Tray: 15304711/8
  • Core/Insulation Crimp: E/A
  • Release Tool/Test Probe: 15315247/J-35616-4A (PU)

Terminal Part Information

  • Pins: A1-A2, A7-A8, B1-B12, C1-C12, D1-D2, D7-D8
  • Terminal/Tray: 15304702/19
  • Core/Insulation Crimp: Pins: A2, B5, B8-B10, C1-C2, C4-C7, C11, D1-D2: E/C
  • Core/Insulation Crimp: Pins: A1, A7, B1-B2, B6, B11, C3, C9, C12, D8: E/4
  • Core/Insulation Crimp: Pins: A8, B4, B7, B12, C8, C10, D7: 2/4
  • Release Tool/Test Probe: 15315247/J-35616-3 (GY)
  • Pins: A3-A6, D3-D6
  • Terminal/Tray: 15304724/8
  • Core/Insulation Crimp: Pins: A3-A6, D5-D6: A/D
  • Core/Insulation Crimp: Pins: D3-D4: 2/A
  • Release Tool/Test Probe: 15315247/J-35616-5 (PU)

X204 I/P Harness to the Body Harness

Pin

Wire

Circuit

Function

Pin

Wire

Circuit

Function

A1

0.35 BN/WH

419

Malfunction Indicator Lamp (MIL) Control

A1

0.35 BN/WH

419

Malfunction Indicator Lamp (MIL) Control

A2

0.35 GY/BK

1694

4WD Low Signal

A2

0.35 GY/BK

1694

4WD Low Signal

A3

3 BK

2050

Ground

A3

3 BK

2050

Ground

A4

0.5 D-GN

117

Right Front Speaker Output (-) (UQ3)

A4

0.5 D-GN

117

Right Front Speaker Output (-) (UQ3)

0.5 D-GN

117

Right Front Speaker Output (-) (UQ3)

A5

0.5 L-GN

200

Right Front Speaker Output (+) (UQ3)

A5

0.5 L-GN

200

Right Front Speaker Output (+) (UQ3)

0.5 L-GN

200

Right Front Speaker Output (+) (UQ3)

A6

3 BK

1552

Motor Control A

A6

3 BK

1552

Motor Control A

A7

0.35 BK/WH

1554

Low Reference

A7

0.35 BK/WH

1554

Low Reference

A8

0.35 D-GN/WH

817

Vehicle Speed Signal (VSS) (UQA)

A8

0.35 D-GN/WH

817

Vehicle Speed Signal (VSS)

B1

0.35 D-GN/WH

762

A/C Request Signal

B1

0.35 D-GN/WH

762

A/C Request Signal

B2

0.35 GY

8

Instrument Panel Lamp Dimmer Switch Signal (CF5)

B2

0.35 GY

8

Instrument Panel Lamp Dimmer Switch Signal (CF5)

B3

0.35 BN/WH

1555

Channel P Encoder Signal

B3

0.35 BN/WH

1555

Channel P Encoder Signal

B4

0.5 D-BU

46

Right Rear Speaker Output (+) (UB0)

B4

0.5 D-BU

46

Right Rear Speaker Output (+) (UB0)

0.35 PK

314

Radio On Signal (UC6)

0.35 PK

314

Radio On Signal (UC6)

B5

0.5 L-BU

115

Right Rear Speaker Output (-) (UB0)

B5

0.5 L-BU

115

Right Rear Speaker Output (-) (UB0)

0.35 OG

5748

Radio Mute Signal (UC6)

0.35 OG

5748

Radio Mute Signal (UC6)

B6

0.5 D-GN

392

Rear Window Washer Switch Signal (H3)

B6

0.5 D-GN

392

Rear Window Washer Switch Signal (H3)

0.35 BK

1946

Right Rear Low Level Audio Signal (-) (UC6)

0.35 BK

1946

Right Rear Low Level Audio Signal (-) (UC6)

B7

0.5 TN/WH

2500

High Speed GMLAN Serial Data Bus (+) (H3)

B7

0.5 TN/WH

2500

High Speed GMLAN Serial Data Bus (+) (H3)

B8

0.5 TN

2501

High Speed GMLAN Serial Data Bus (-) (H3)

B8

0.5 TN

2501

High Speed GMLAN Serial Data Bus (-) (H3)

B9

0.35 RD/WH

1556

Channel C Encoder Signal

B9

0.35 RD/WH

1556

Channel C Encoder Signal

B10

0.35 D-BU/WH

1557

Channel A Encoder Signal

B10

0.35 D-BU/WH

1557

Channel A Encoder Signal

B11

0.35 YE/BK

1558

Channel B Encoder Signal

B11

0.35 YE/BK

1558

Channel B Encoder Signal

B12

0.35 GY

1884

Cruise Control On Switch Signal

B12

0.35 GY

1884

Cruise Control On Switch Signal

C1

0.35 PK

1339

Ignition Voltage (UVC)

C1

0.35 PK

1339

Ignition Voltage (UVC)

C2

0.5 L-GN

24

Back-Up Lamp Control (UVC)

C2

0.5 L-GN

24

Back-Up Lamp Control (UVC)

C3

0.8 GY

6974

Drain Wire (UVC)

C3

0.8 BARE

1974

Drain Wire (UVC)

C4

0.35 PK

6972

Camera Signal + (UVC)

C4

0.35 PK

6972

Camera Signal + (UVC)

C5

0.35 L-BU

6973

Camera Signal - (UVC)

C5

0.35 L-BU

6973

Camera Signal - (UVC)

C6

0.35 D-BU

546

Right Rear Low Level Audio Signal (+) (H3T)

C6

0.35 D-BU

546

Right Rear Low Level Audio Signal (+) (H3T)

C7

1 GN/BK

7118

Low Reference (G93)

C7

1 GN/BK

7118

Low Reference (G93)

C8

1 BU/BK

7116

Front Differential Lock High Control (G93)

C8

1 BU/BK

7116

Front Differential Lock High Control (G93)

C9

0.5 PK

2216

A/C Recirculation Request Signal (H3)

C9

0.5 PK

2216

A/C Recirculation Request Signal (H3)

C10

0.35 TN

511

Left Front Low Level Audio Signal (+) (H3T)

C10

0.35 TN

511

Left Front Low Level Audio Signal (+) (H3T)

C11

0.35 D-GN

1947

Left Front Low Level Audio Signal (-) (H3T)

C11

0.35 D-GN

1947

Left Front Low Level Audio Signal (-) (H3T)

C12

0.35 BN

599

Left Rear Low Level Audio Signal (+) (H3T)

C12

0.35 BN

599

Left Rear Low Level Audio Signal (+) (H3T)

D1

0.35 D-GN/WH

1547

Left Rear Low Level Audio Signal (-) (H3T)

D1

0.35 D-GN/WH

1547

Left Rear Low Level Audio Signal (-) (H3T)

D2

0.8 BARE

2011

Drain Wire (H3T)

D2

0.8 BARE

2011

Drain Wire (H3T)

D3

0.8 OG

240

Battery Positive Voltage

D3

0.8 OG

240

Battery Postive Voltage (H3)

0.8 OG

240

Battery Postive Voltage

D4

3 BK

2050

Ground

D4

3 BK

2050

Ground

D5

3 RD

1553

Motor Control A

D5

3 RD

1553

Motor Control A

D6

3 BK

2050

Ground

D6

3 BK

2050

Ground

D7

0.35 L-GN

512

Right Front Low Level Audio Signal (+) (H3T)

D7

0.35 L-GN

512

Right Front Low Level Audio Signal (+) (H3T)

D8

0.35 OG/BK

1546

Right Front Low Level Audio Signal (-) (H3T)

D8

0.35 OG/BK

1546

Right Front Low Level Audio Signal (-) (H3T)

X205 I/P Harness to the HVAC Harness


Object Number: 1566808  Size: CH

Object Number: 1566801  Size: CH

Connector Part Information

  • OEM: 6098-4789
  • Service: 15193800
  • Description: 12-Way F (WH)

Connector Part Information

  • OEM: 6098-4614
  • Service: 15193797
  • Description: 12-Way M (WH)

Terminal Part Information

  • Pins: 1, 6-7, 12
  • Terminal/Tray: 15304711/8
  • Core/Insulation Crimp: E/A
  • Release Tool/Test Probe: 15315247/J-35616-4A (PU)
  • Pins: 2-5, 8-11
  • Terminal/Tray: 12191812/19
  • Core/Insulation Crimp: E/C
  • Release Tool/Test Probe: 15315247/J-35616-2A (GY)

Terminal Part Information

  • Pins: 1, 6-7, 12
  • Terminal/Tray: 15304722/8
  • Core/Insulation Crimp: E/C
  • Release Tool/Test Probe: 15315247/J-35616-5 (PU)
  • Pins: 2-5, 8-11
  • Terminal/Tray: 15304702/19
  • Core/Insulation Crimp: Pins 2-4, 9-11: E/C
  • Core/Insulation Crimp: Pins 5-8: E/4
  • Release Tool/Test Probe: 15315247/J-35616-3 (GY)

X205 I/P Harness to the HVAC Harness

Pin

Wire

Circuit

Function

Pin

Wire

Circuit

Function

1

0.35 TN/BK

2274

Recirculation Door Control B

1

0.35 TN/BK

2274

Recirculation Door Control B

2

0.35 D-GN

1614

Recirculation Door Control A

2

0.35 D-BU

1614

Recirculation Door Control A

3

0.35 D-BU

1646

Right Air Temperature Door Position Signal

3

0.35 D-BU

1646

Right Air Temperature Door Position Signal

4

0.35 L-GN

2275

Mode Door Control B

4

0.35 L-GN

2275

Mode Door Control B

5

0.35 L-GN/BK

1647

Air Temperature Door Control A

5

0.35 L-GN/BK

1647

Air Temperature Door Control A

6

0.35 L-BU/BK

1688

5-Volt Reference

6

0.35 L-BU/BK

1688

5-Volt Reference

7

0.35 L-GN/BK

2276

Mode Door Position Signal

7

0.35 L-GN/BK

2276

Mode Door Position Signal

8

0.35 TN

2273

Mode/Right Air Temperature Door Control B

8

0.35 TN

2273

Mode/Right Air Temperature Door Control B

9

0.35 D-BU

1199

Left Air Temperature Door Control B

9

0.35 D-BU

1199

Left Air Temperature Door Control B

10

0.35 L-BU

733

Left Air Temperature Door Position Signal

10

0.35 L-BU

733

Left Air Temperature Door Position Signal

11

0.35 GY

6137

Evaporative Temperature Sensor Signal

11

0.35 GY

6137

Evaporative Temperature Sensor Signal

12

0.35 YE

1791

Low Reference

12

0.35 YE

1791

Low Reference

X207 I/P Harness to the Body Harness (UQA)


Object Number: 1566808  Size: CH

Object Number: 1566801  Size: CH

Connector Part Information

  • OEM: 6098-4789
  • Service: 15193800
  • Description: 12-Way F (WH)

Connector Part Information

  • OEM: 6098-4900
  • Service: 15193797
  • Description: 12-Way M (WH)

Terminal Part Information

  • Pins: 1, 6-7, 12
  • Terminal/Tray: 15304711/8
  • Core/Insulation Crimp: E/A
  • Release Tool/Test Probe: 15315247/J-35616-4A (PU)
  • Pins: 2-5, 8-11
  • Terminal/Tray: 12191812/19
  • Core/Insulation Crimp: Pins 2-5, 8, 11: E/C
  • Core/Insulation Crimp: Pins 9: C/A
  • Release Tool/Test Probe: 15315247/J-35616-2A (GY)

Terminal Part Information

  • Pins: 1, 6-7, 12
  • Terminal/Tray: 15304722/8
  • Core/Insulation Crimp: E/C
  • Release Tool/Test Probe: 15315247/J-35616-5 (PU)
  • Pins: 2-5, 8-11
  • Terminal/Tray: 15304702/19
  • Core/Insulation Crimp: Pins 2-5, 8, 11: E/C
  • Core/Insulation Crimp: Pins 9: 2/4
  • Release Tool/Test Probe: 15315247/J-35616-3 (GY)

X207 I/P Harness to the Body Harness (UQA)

Pin

Wire

Circuit

Function

Pin

Wire

Circuit

Function

1

0.35 TN

511

Left Front Low Level Audio Signal (+)

1

0.35 TN

511

Left Front Low Level Audio Signal (+)

2

0.35 D-GN

1947

Left Front Low Level Audio Signal (-)

2

0.35 D-GN

1947

Left Front Low Level Audio Signal (-)

3

0.35 BN

599

Left Rear Low Level Audio Signal (+)

3

0.35 BN

599

Left Rear Low Level Audio Signal (+)

4

0.35 D-GN/WH

1547

Left Rear Low Level Audio Signal (-)

4

0.35 D-GN/WH

1547

Left Rear Low Level Audio Signal (-)

5

0.35 L-GN

512

Right Front Low Level Audio Signal (+)

5

0.35 L-GN

512

Right Front Low Level Audio Signal (+)

6

0.35 OG/BK

1546

Right Front Low Level Audio Signal (-)

6

0.35 OG/BK

1546

Right Front Low Level Audio Signal (-)

7

0.35 D-BU

546

Right Rear Low Level Audio Signal (+)

7

0.35 D-BU

546

Right Rear Low Level Audio Signal (+)

8

0.35 BK

1946

Right Rear Low Level Audio Signal (-)

8

0.35 BK

1946

Right Rear Low Level Audio Signal (-)

9

0.8 BARE

2011

Drain Wire

9

0.8 BARE

2011

Drain Wire

10

--

--

Not Used

10

--

--

Not Used

11

0.35 PK

314

Radio On Signal

11

0.35 PK

314

Radio On Signal

12

0.35 OG

5748

Radio Mute Signal

12

0.35 OG

5748

Radio Mute Signal

X208 I/P Harness to the Body Harness


Object Number: 1335535  Size: CH

Object Number: 1334480  Size: CH

Connector Part Information

  • OEM: 15424638
  • Service: 88987926
  • Description: 4-Way F Metri-Pack 280 Series (YE)

Connector Part Information

  • OEM: 15424636
  • Service: 88987842
  • Description: 4-Way M Metri-Pack 280 Series (YE)

Terminal Part Information

  • Terminal/Tray: 12034046/2
  • Core/Insulation Crimp: E/A
  • Release Tool/Test Probe: 12094430/J-35616-4A (PU)

Terminal Part Information

  • Terminal/Tray: 12034047/2
  • Core/Insulation Crimp: E/A
  • Release Tool/Test Probe: 12094430/J-35616-5 (PU)

X208 I/P Harness to the Body Harness

Pin

Wire

Circuit

Function

Pin

Wire

Circuit

Function

A1

0.5 OG

3024

I/P Module - Stage 1 - Low Control

A1

0.5 OG

3024

I/P Module - Stage 1 - Low Control

A2

0.5 YE

3025

I/P Module - Stage 1 - High Control

A2

0.5 YE

3025

I/P Module - Stage 1 - High Control

B1

0.5 GY

3027

I/P Module - Stage 2 - High Control

B1

0.5 GY

3027

I/P Module - Stage 2 - High Control

B2

0.5 PU

3026

I/P Module - Stage 2 - Low Control

B2

0.5 PU

3026

I/P Module - Stage 2 - Low Control

X275 Inflatable Restraint Steering Wheel Module Coil to the Body Harness


Object Number: 594473  Size: CH

Object Number: 684931  Size: CH

Connector Part Information

  • OEM: 15336479
  • Service: 15306186
  • Description: 4-Way F Metri-Pack 280 Series (YE)

Connector Part Information

  • OEM: 15336476
  • Service: 15306363
  • Description: 4-Way M Metri-Pack 280 Series (YE)

Terminal Part Information

  • Terminal/Tray: 12034046/2
  • Core/Insulation Crimp: E/A
  • Release Tool/Test Probe: 12094430/J-35616-4A (PU)

Terminal Part Information

  • Terminal/Tray: 12034047/2
  • Core/Insulation Crimp: E/A
  • Release Tool/Test Probe: 12094430/J-35616-5 (PU)

X275 Inflatable Restraint Steering Wheel Module Coil to the Body Harness

Pin

Wire

Circuit

Function

Pin

Wire

Circuit

Function

A1

0.5 YE

3021

Steering Wheel Module - Stage 1 - High Control

A1

0.5 TN

3021

Steering Wheel Module - Stage 1 - High Control

A2

0.5 BN

3020

Steering Wheel Module - Stage 1 - Low Control

A2

0.5 BN

3020

Steering Wheel Module - Stage 1 - Low Control

B1

0.5 RD

3023

Steering Wheel Module - Stage 2 - High Control

B1

0.5 WH

3023

Steering Wheel Module - Stage 1 - High Control

B2

0.5 WH

3022

Steering Wheel Module - Stage 2 - Low Control

B2

0.5 PK

3022

Steering Wheel Module - Stage 2 - Low Control

X307 Body Harness to the Driver Seat Harness (AG1/YC3)


Object Number: 1567051  Size: CH

Object Number: 1567089  Size: CH

Connector Part Information

  • OEM: 6098-4787
  • Service: 88988653
  • Description: 8-Way F (WH)

Connector Part Information

  • OEM: 6098-4905
  • Service: 88988651
  • Description: 8-Way M (WH)

Terminal Part Information

  • Pins: 1, 7
  • Terminal/Tray: 15304713/19
  • Core/Insulation Crimp: Pins 1: 4/4Core/Insulation Crimp: Pins 7: F/D
  • Release Tool/Test Probe: 15315247/J-35616-4A (PU)
  • Pins: 2-5
  • Terminal/Tray: 15304711/8
  • Core/Insulation Crimp: 2/A
  • Release Tool/Test Probe: 15315247/J-35616-4A (PU)

Terminal Part Information

  • Pins: 1-2
  • Terminal/Tray: 15304722/8
  • Core/Insulation Crimp: E/C
  • Release Tool/Test Probe: 15315247/J-35616-5 (PU)
  • Pins: 3-7
  • Terminal/Tray: 15304724/8
  • Core/Insulation Crimp: Pins 3, 5: 2/A
  • Core/Insulation Crimp: Pin 7: A/D
  • Release Tool/Test Probe: 15315247/J-35616-5 (PU)

X307 Body Harness to the Driver Seat Harness (AG1/YC3)

Pin

Wire

Circuit

Function

Pin

Wire

Circuit

Function

1

0.8 OG

2240

Battery Positive Voltage (KA1)

1

0.8 OG

2240

Battery Positive Voltage (KA1)

0.8 OG

2240

Battery Positive Voltage (KA1)

2

0.35 BN

341

Ignition Voltage (YC3)

2

0.35 BN

341

Ignition Voltage (YC3)

0.35 BN

341

Ignition Voltage (YC3)

3

1 OG

1040

Battery Positive Voltage (YC3)

3

1 OG

1040

Battery Positive Voltage (YC3)

4

--

--

Not Used

4

--

--

Not Used

5

1 BK

1450

Ground (YC3)

5

1 BK

2050

Ground (YC3)

6

--

--

Not Used

6

--

--

Not Used

7

3 OG

1840

Battery Positive Voltage (YC3)

7

3 OG

1840

Battery Positive Voltage (YC3)

8

--

--

Not Used

8

--

--

Not Used

X308 Body Harness to the Driver Seat Belt Switch Jumper Harness


Object Number: 1566800  Size: CH

Object Number: 1566804  Size: CH

Connector Part Information

  • OEM: 6098-4793
  • Service: 88988640
  • Description: 4-Way F (WH)

Connector Part Information

  • OEM: 6098-4903
  • Service: 88988639
  • Description: 4-Way M (WH)

Terminal Part Information

  • Terminal/Tray: 12191812/19
  • Core/Insulation Crimp: E/C
  • Release Tool/Test Probe: 15315247/J-35616-2A (GY)

Terminal Part Information

  • Terminal/Tray: 15304702/19
  • Core/Insulation Crimp: E/C
  • Release Tool/Test Probe: 15315247/J-35616-3 (GY)

X308 Body Harness to the Driver Seat Belt Switch Jumper Harness

Pin

Wire

Circuit

Function

Pin

Wire

Circuit

Function

1

0.35 BK/WH

238

Seat Belt Switch - Left

1

0.35 BK/WH

238

Seat Belt Switch - Left

2

0.35 L-GN/WH

2638

Driver Seat Position Sensor - High

2

0.35 L-GN/WH

2638

Driver Seat Position Sensor - High

3

0.35 BK/WH

2644

Seat Position Sensor Return

3

0.35 BK/WH

2644

Seat Position Sensor Return

4

0.35 BK/WH

2151

Ground

4

0.35 BK/WH

2151

Ground

X315 Body Harness to the Passenger Seat Harness


Object Number: 1566808  Size: CH

Object Number: 1566801  Size: CH

Connector Part Information

  • OEM: 6098-4789
  • Service: 15193800
  • Description: 12-Way F (WH)

Connector Part Information

  • OEM: 6098-4600
  • Service: 15193797
  • Description: 12-Way M (WH)

Terminal Part Information

  • Pins: 1, 6-7, 12
  • Terminal/Tray: 15304711/8
  • Core/Insulation Crimp: Pins 1, 7, 12: 2/A
  • Core/Insulation Crimp: Pin 6: E/A
  • Release Tool/Test Probe: 15315247/J-35616-4A (PU)
  • Pins: 2, 8-11
  • Terminal/Tray: 12191812/19
  • Core/Insulation Crimp: E/C
  • Release Tool/Test Probe: 15315247/J-35616-2A (GY)

Terminal Part Information

  • Pins: 1, 12
  • Terminal/Tray: 15304724/8
  • Core/Insulation Crimp: 2/A
  • Release Tool/Test Probe: 15315247/J-35616-5 (PU)
  • Pins: 2-5, 8-11
  • Terminal/Tray: 15304702/19
  • Core/Insulation Crimp: Pins 2-5, 8-10: E/C
  • Core/Insulation Crimp: Pin 11: E/4
  • Release Tool/Test Probe: 15315247/J-35616-3 (GY)
  • Pins: 6-7
  • Terminal/Tray: 15304722/8
  • Core/Insulation Crimp: E/C
  • Release Tool/Test Probe: 15315247/J-35616-5 (PU)

X315 Body Harness to the Passenger Seat Harness

Pin

Wire

Circuit

Function

Pin

Wire

Circuit

Function

1

1 OG

1040

Battery Positive Voltage (YC3)

1

1 OG

1040

Battery Positive Voltage (YC3)

2

0.35 PK

2306

Serial Data Link (ASF)

2

0.35 PK

2306

Serial Data Link

3-5

--

--

Not Used

3

--

--

Not Used

4

0.35 L-BU

2179

Seat Belt Switch - Right (YC3)

5

--

--

Not Used

6

0.35 BK/WH

2151

Ground

6

0.35 BK/WH

2151

Ground

7

0.8 OG

2240

Battery Positive Voltage (KA1)

7

0.8 OG

2240

Battery Positive Voltage (KA1)

8

0.35 D-BU

2307

Passenger Air Bag On Indicator Control

8

0.35 D-BU

2307

Passenger Air Bag On Indicator Control

9

0.35 D-GN

2308

Passenger Air Bag Off Indicator Control

9

0.35 D-GN

2308

Passenger Air Bag Off Indicator Control

10

0.35 RD

1362

Passenger Seat Belt Switch Signal

10

0.35 BN

341

Ignition Voltage (KA1)

11

0.35 YE

1139

Ignition Voltage

11

0.35 YE

1139

Ignition Voltage

12

1 BK

1450

Ground (YC3)

12

1 BK

2050

Ground (YC3)

X318 Passenger Heater Element Jumper Harness to the Passenger Seat Harness (KA1)


Object Number: 39660  Size: CH

Object Number: 39661  Size: CH

Connector Part Information

  • OEM: 12047785
  • Service: 12102900
  • Description: 4-Way F Metri-Pack 150 Series (BK)

Connector Part Information

  • OEM: 12047786
  • Service: 12085536
  • Description: 4-Way M Metri-Pack 150 Series (BK)

Terminal Part Information

  • Pins: A-B
  • Terminal/Tray: 12047767/2
  • Core/Insulation Crimp: E/A
  • Release Tool/Test Probe: 12094429/J-35616-2A (GY)
  • Pin: C
  • Terminal/Tray: 12064971/5
  • Core/Insulation Crimp: E/C
  • Release Tool/Test Probe: 12094429/J-35616-2A (GY)

Terminal Part Information

  • Terminal/Tray: 12047581/2
  • Core/Insulation Crimp: Pins A-B: E/A
  • Core/Insulation Crimp: Pin C: E/C
  • Release Tool/Test Probe: 12094429/J-35616-3 (GY)

X318 Passenger Heater Element Jumper Harness to the Passenger Seat Harness (KA1)

Pin

Wire

Circuit

Function

Pin

Wire

Circuit

Function

A

0.8 RD

2240

Battery Positive Voltage

A

0.8 OG

2240

Battery Positive Voltage

B

0.8 BK

2050

Ground

B

0.8 BK

2050

Ground

C

0.5 WH

1501

Passenger Heated Seat High/Low Signal

C

0.5 PK

1501

Passenger Heated Seat High/Low Signal

D

--

--

Not Used

D

--

--

Not Used

X319 Driver Heater Element Jumper Harness to the Driver Seat Harness (KA1)


Object Number: 39660  Size: CH

Object Number: 39661  Size: CH

Connector Part Information

  • OEM: 12047785
  • Service: 12102900
  • Description: 4-Way F Metri-Pack 150 Series (BK)

Connector Part Information

  • OEM: 12047786
  • Service: 12085536
  • Description: 4-Way M Metri-Pack 150 Series (BK)

Terminal Part Information

  • Pins: A-B
  • Terminal/Tray: 12047767/2
  • Core/Insulation Crimp: E/A
  • Release Tool/Test Probe: 12094429/J-35616-2A (GY)
  • Pin: C
  • Terminal/Tray: 12064971/5
  • Core/Insulation Crimp: E/C
  • Release Tool/Test Probe: 12094429/J-35616-2A (GY)

Terminal Part Information

  • Terminal/Tray: 12047581/2
  • Core/Insulation Crimp: Pins A-B: E/A
  • Core/Insulation Crimp: Pin C: E/C
  • Release Tool/Test Probe: 12094429/J-35616-3 (GY)

X319 Driver Heater Element Jumper Harness to the Driver Seat Harness (KA1)

Pin

Wire

Circuit

Function

Pin

Wire

Circuit

Function

A

0.8 RD

2240

Battery Positive Voltage

A

0.8 OG

2240

Battery Positive Voltage

B

0.8 BK

2050

Ground

B

0.8 BK

2050

Ground

C

0.5 WH

1501

Driver Heated Seat High/Low Signal

C

0.5 PK

1501

Driver Heated Seat High/Low Signal

D

--

--

Not Used

D

--

--

Not Used

X320 Body Harness to the Passenger Seat Belt Switch Jumper Harness (KA1)


Object Number: 1567051  Size: CH

Object Number: 1567089  Size: CH

Connector Part Information

  • OEM: 6098-4787
  • Service: 88988653
  • Description: 8-Way F (WH)

Connector Part Information

  • OEM: 6098-4905
  • Service: 88988651
  • Description: 8-Way M (WH)

Terminal Part Information

  • Terminal/Tray: 15304711/8
  • Core/Insulation Crimp: E/A
  • Release Tool/Test Probe: 15315247/J-35616-4A (PU)

Terminal Part Information

  • Terminal/Tray: 15304722/8
  • Core/Insulation Crimp: E/C
  • Release Tool/Test Probe: 15315247/J-35616-5 (PU)

X320 Body Harness to the Passenger Seat Belt Switch Jumper Harness (KA1)

Pin

Wire

Circuit

Function

Pin

Wire

Circuit

Function

1

0.35 RD

2484

Seat Belt Switch - Right

1

0.35 BK/WH

2484

Seat Belt Switch - Right

2-3

--

--

Not Used

2-3

--

--

Not Used

4

0.35 BK/WH

2151

Ground

4

0.35 BK/WH

2151

Ground

5

0.35 RD

1362

Passenger Seat Belt Switch Signal

5

0.35 RD

1362

Passenger Seat Belt Switch Signal

6

0.35 BN

341

Ignition Voltage

6

0.35 BN

341

Ignition Voltage

7-8

--

--

Not Used

7-8

--

--

Not Used

X320 Body Harness to the Passenger Seat Belt Switch Jumper Harness (without KA1)


Object Number: 1566800  Size: CH

Object Number: 1566804  Size: CH

Connector Part Information

  • OEM: 6098-4793
  • Service: 88988640
  • Description: 4-Way F (WH)

Connector Part Information

  • OEM: 6098-4903
  • Service: 88988639
  • Description: 4-Way M (WH)

Terminal Part Information

  • Terminal/Tray: 12191812/19
  • Core/Insulation Crimp: E/C
  • Release Tool/Test Probe: 15315247/J-35616-2A (GY)

Terminal Part Information

  • Terminal/Tray: 15304702/19
  • Core/Insulation Crimp: E/C
  • Release Tool/Test Probe: 15315247/J-35616-3 (GY)

X320 Body Harness to the Passenger Seat Belt Switch Jumper Harness (without KA1)

Pin

Wire

Circuit

Function

Pin

Wire

Circuit

Function

1

0.35 RD

2484

Seat Belt Switch - Right

1

0.35 BK/WH

2484

Seat Belt Switch - Right

2-3

--

--

Not Used

2-3

--

--

Not Used

4

0.35 BK/WH

2151

Ground

4

0.35 BK/WH

2151

Ground

X330 Sunroof Motor Jumper Harness to the Body Harness (CF5)


Object Number: 1567051  Size: CH

Object Number: 1567089  Size: CH

Connector Part Information

  • OEM: 6098-4787
  • Service: 88988653
  • Description: 8-Way F (WH)

Connector Part Information

  • OEM: 6098-4905
  • Service: 88988651
  • Description: 8-Way M (WH)

Terminal Part Information

  • Pins: 1-3
  • Terminal/Tray: 15304711/8
  • Core/Insulation Crimp: E/A
  • Release Tool/Test Probe: 15315247/J-35616-4A (PU)
  • Pins: 4-5
  • Terminal/Tray: 15304713/19
  • Core/Insulation Crimp: 4/4
  • Release Tool/Test Probe: 15315247/J-35616-4A (PU)

Terminal Part Information

  • Pins: 1-3
  • Terminal/Tray: 15304722/8
  • Core/Insulation Crimp: E/C
  • Release Tool/Test Probe: 15315247/J-35616-5 (PU)
  • Pins: 4-5
  • Terminal/Tray: 15304724/8
  • Core/Insulation Crimp: C/D
  • Release Tool/Test Probe: 15315247/J-35616-5 (PU)

X330 Sunroof Motor Jumper Harness to the Body Harness (CF5)

Pin

Wire

Circuit

Function

Pin

Wire

Circuit

Function

1

0.35 BN

100

Sunroof Switch Close Signal

1

0.35 BN

100

Sunroof Switch Close Signal

2

0.35 OG

110

Sunroof Switch Open Signal

2

0.35 OG

110

Sunroof Switch Open Signal

3

0.5 YE

243

Ignition Voltage (LHD)

3

0.5 YE

243

Ignition Voltage (LHD)

2 PK

339

Ignition Voltage (RHD)

2 PK

339

Ignition Voltage (RHD)

4

2 OG

2140

Battery Positive Voltage

4

2 OG

2140

Battery Positive Voltage

5

2 BK

850

Ground

5

2 BK

850

Ground

6-8

--

--

Not Used

6-8

--

--

Not Used

X335 Sunroof Switch/OnStar Jumper Harness to the Body Harness (CF5 or UE1)


Object Number: 1566739  Size: CH

Object Number: 1566759  Size: CH

Connector Part Information

  • OEM: 6240-5118
  • Service: 88988647
  • Description: 6-Way F TS Series (WH)

Connector Part Information

  • OEM: 6249-1243
  • Service: 88988648
  • Description: 6-Way M TS Series (WH)

Terminal Part Information

  • Pins: 1, 6
  • Terminal/Tray: 8240-4892/22
  • Core/Insulation Crimp: E/C
  • Release Tool/Test Probe: 15315247/J-35616-18 (BK)
  • Pins: 2-5
  • Terminal/Tray: 8240-4882/22
  • Core/Insulation Crimp: E/C
  • Release Tool/Test Probe: 15315247/J-35616-18 (BK)

Terminal Part Information

  • Pins: 1, 6
  • Terminal/Tray: 8230-4502/26
  • Core/Insulation Crimp: A/A
  • Release Tool/Test Probe: 15315247/J-35616-19 (BK)
  • Pins: 2-5
  • Terminal/Tray: 8230-4492/26
  • Core/Insulation Crimp: J/J
  • Release Tool/Test Probe: 15315247/J-35616-19 (BK)

X335 Sunroof Switch/OnStar Jumper Harness to the Body Harness (CF5 or UE1)

Pin

Wire

Circuit

Function

Pin

Wire

Circuit

Function

1

0.35 BK

850

Ground (CF5)

1

0.35 BK

850

Ground

0.35 BK

850

Ground (CF5)

2

0.5 GY

655

Cellular Microphone Signal (UE1)

2

0.5 GY

655

Cellular Microphone Signal (UE1)

3

0.35 GY

8

Instrument Panel Lamp Dimmer Switch Signal (CF5)

3

0.35 GY

8

Instrument Panel Lamp Dimmer Switch Signal

4

0.35 BN

100

Sunroof Switch Close Signal (CF5)

4

0.35 BN

100

Sunroof Switch Close Signal

5

0.35 OG

110

Sunroof Switch Open Signal (CF5)

5

0.35 OG

110

Sunroof Switch Open Signal

6

0.8 BARE

1705

Drain Wire (UE1)

6

0.8 BARE

1705

Drain Wire (UE1)

X350 Dome Lamp Jumper Harness to the Body Harness


Object Number: 1566739  Size: CH

Object Number: 1566759  Size: CH

Connector Part Information

  • OEM: 6240-5118
  • Service: 88988647
  • Description: 6-Way F TS Series (WH)

Connector Part Information

  • OEM: 6249-1243
  • Service: 88988648
  • Description: 6-Way M TS Series (WH)

Terminal Part Information

  • Terminal/Tray: 8240-4882/22
  • Core/Insulation Crimp: E/C
  • Release Tool/Test Probe: 15315247/J-35616-18 (BK)

Terminal Part Information

  • Terminal/Tray: 8230-4492/26
  • Core/Insulation Crimp: J/J
  • Release Tool/Test Probe: 15315247/J-35616-19 (BK)

X350 Dome Lamp Jumper Harness to the Body Harness

Pin

Wire

Circuit

Function

Pin

Wire

Circuit

Function

1

0.5 OG

1732

Inadvertent Power Control

1

0.5 OG

1732

Inadvertent Power Control

2

0.5 WH

156

Courtesy Lamp Low Control

2

0.5 WH

156

Courtesy Lamp Low Control

3

0.5 BK

2050

Ground

3

0.5 BK

2050

Ground

4

0.5 L-BU

20

Stop Lamp Feed (H3T)

4

0.5 L-BU

20

Stop Lamp Feed (H3T)

5

1 WH/BK

158

Cargo Lamp Switch Signal (H3T)

5

1 WH/BK

158

Cargo Lamp Switch Signal (H3T)

6

--

--

Not Used

6

--

--

Not Used

X410 Right Tail Lamp Jumper Harness to the Body Harness (without EXP)


Object Number: 1566800  Size: CH

Object Number: 1566804  Size: CH

Connector Part Information

  • OEM: 6098-4793
  • Service: 88988640
  • Description: 4-Way F (BK)

Connector Part Information

  • OEM: 6098-4903
  • Service: 88988639
  • Description: 4-Way M (BK)

Terminal Part Information

  • Terminal/Tray: 12191812/19
  • Core/Insulation Crimp: E/C
  • Release Tool/Test Probe: 15315247/J-35616-2A (GY)

Terminal Part Information

  • Terminal/Tray: 15304702/19
  • Core/Insulation Crimp: E/C
  • Release Tool/Test Probe: 15315247/J-35616-3 (GY)

X410 Right Tail Lamp Jumper Harness to the Body Harness (without EXP)

Pin

Wire

Circuit

Function

Pin

Wire

Circuit

Function

1

1 D-GN

19

Right Rear Stop/Turn Lamp Control

1

1 D-BU

19

Right Rear Stop/Turn Lamp Control

2

0.5 BN/WH

2609

Right Rear Park Lamp Control

2

0.5 BN

2609

Right Rear Park Lamp Control

3

1 BK

1550

Ground

3

1 BK

1550

Ground

4

0.5 L-GN

24

Backup Lamp Control

4

0.5 L-GN

24

Backup Lamp Control

X410 Right Tail Lamp Jumper Harness to the Body Harness (H3T)


Object Number: 374045  Size: CH

Object Number: 524411  Size: CH

Connector Part Information

  • OEM: 15317305
  • Service: 88988640
  • Description: 4-Way F (BK)

Connector Part Information

  • OEM: 15326789
  • Service:
  • Description: 4-Way M (BK)

Terminal Part Information

  • Terminal/Tray: 12191812/19
  • Core/Insulation Crimp: E/C
  • Release Tool/Test Probe: 15315247/J-35616-2A (GY)

Terminal Part Information

  • Terminal/Tray: 15304702/19
  • Core/Insulation Crimp: E/C
  • Release Tool/Test Probe: 15315247/J-35616-3 (GY)

X410 Right Tail Lamp Jumper Harness to the Body Harness (H3T)

Pin

Wire

Circuit

Function

Pin

Wire

Circuit

Function

A

1 D-GN

19

Right Rear Stop/Turn Lamp Control

A

1 D-BU

19

Right Rear Stop/Turn Lamp Control

B

--

--

Not Used

B

--

--

Not Used

C

1 BK

1350

Ground

C

1 BK

1350

Ground

D

--

--

Not Used

D

--

--

Not Used

E

0.5 BN

2609

Right Rear Park Lamp Control

E

0.5 BN

2609

Right Rear Park Lamp Control

F

0.8 L-GN

24

Backup Lamp Control

F

0.8 L-GN

24

Backup Lamp Control

H

0.5 L-BU

20

Stop Lamp Control

H

0.5 L-BU

20

Stop Lamp Control

X410 Right Tail Lamp Jumper Harness to the Body Harness (EXP)


Object Number: 1527223  Size: CH

Object Number: 1814325  Size: CH

Connector Part Information

  • OEM: 15396848
  • Service: See Catalog
  • Description: 6-Way F Metri-Pack 150 Series (BK)

Connector Part Information

  • OEM: 15396849
  • Service: 88988297
  • Description: 6-Way M Metri-Pack 150 Series (BK)

Terminal Part Information

  • Terminal/Tray: 12191812/19
  • Core/Insulation Crimp: E/C
  • Release Tool/Test Probe: 15315247/J-35616-2A (GY)

Terminal Part Information

  • Terminal/Tray: 15304702/19
  • Core/Insulation Crimp: E/C
  • Release Tool/Test Probe: 15315247/J-35616-3 (GY)

X410 Right Tail Lamp Jumper Harness to the Body Harness (EXP)

Pin

Wire

Circuit

Function

Pin

Wire

Circuit

Function

1

0.5 D-GN

619

Right Rear Stop/Turn Lamp Control

1

0.5 D-GN

619

Right Rear Stop/Turn Lamp Control

2

0.5 BN/WH

2609

Right Rear Park Lamp Control

2

0.5 BN

2609

Right Rear Park Lamp Control

3

0.5 BK

1550

Ground

3

0.5 BK

1550

Ground

4

0.5 L-GN

24

Backup Lamp Control

4

0.5 L-GN

24

Backup Lamp Control

5

0.5 L-BU

20

Stop Lamp Feed

5

0.5 L-BU

20

Stop Lamp Feed

6

--

--

Not Used

6

--

--

Not Used

X420 Chassis Harness to the License Lamp Jumper Harness (UY7 Except EXP)


Object Number: 1566810  Size: CH

Object Number: 1566798  Size: CH

Connector Part Information

  • OEM: 6189-1259
  • Service: 15193794
  • Description: 16-Way F Sealed (BK)

Connector Part Information

  • OEM: 6188-0798
  • Service: 15193801
  • Description: 16-Way M Sealed (BK)

Terminal Part Information

  • Pins: 1-7, 10-15
  • Terminal/Tray: 12191819/8
  • Core/Insulation Crimp: Pins 1-7, 10-14: 2/A
  • Core/Insulation Crimp: Pin 15: E/A
  • Release Tool/Test Probe: 15315247/J-35616-2A (GY)
  • Pins: 9, 16
  • Terminal/Tray: 15304720/19
  • Core/Insulation Crimp: 4/5
  • Release Tool/Test Probe: 15315247/J-35616-4A (PU)

Terminal Part Information

  • Pin: 1
  • Terminal/Tray: 15304731/19
  • Core/Insulation Crimp: 2/5
  • Release Tool/Test Probe: 15315247/J-35616-5 (PU)
  • Pins: 2-7, 10-15
  • Terminal/Tray: 15326269/19
  • Core/Insulation Crimp: Pins 6-7, 10, 14: E/1
  • Core/Insulation Crimp: Pin 15: E/4
  • Release Tool/Test Probe: 15315247/J-35616-3 (GY)
  • Pins: 9, 16
  • Terminal/Tray: 15304732/8
  • Core/Insulation Crimp: A/5
  • Release Tool/Test Probe: 15315247/J-35616-5 (PU)

X420 Chassis Harness to the License Lamp Jumper Harness (UY7 Except EXP)

Pin

Wire

Circuit

Function

Pin

Wire

Circuit

Function

1

1 BK

1350

Ground

1

1 BK

1350

Ground

2

0.35 GY

7069

Drain Wire (UVC)

2

0.35 GY

7069

Drain Wire (UVC)

3

0.35 OG

6201

Camera Control (UVC)

3

0.35 OG

6201

Camera Control (UVC)

4

0.35 TN/BK

6202

Camera Ground (UVC)

4

0.35 TN/BK

6202

Camera Ground (UVC)

5

0.35 WH

6798

Camera Video Signal (UVC)

5

0.35 WH

6798

Camera Video Signal (UVC)

6

0.8 L-GN

24

Backup Lamp Control

6

0.8 L-GN

24

Backup Lamp Control

7

1 YE

18

Left Rear Stop/Turn Lamp Control

7

1 YE

18

Left Rear Stop/Turn Lamp Control

8

--

--

Not Used

8

--

--

Not Used

9

3 RD

742

Battery Positive Voltage

9

3 RD

742

Battery Positive Voltage

10

1 D-GN

19

Right Rear Stop/Turn Lamp Control

10

1 D-GN

19

Right Rear Stop/Turn Lamp Control

11-13

--

--

Not Used

11-13

--

--

Not Used

14

0.8 BN

2109

Trailer Park Lamps Control

14

0.8 BN

2109

Trailer Park Lamps Control

15

0.5 BN/WH

2609

Right Rear Park Lamps Control

15

0.5 BN/WH

2609

Right Rear Park Lamps Control

16

3 D-BU

47

Trailer Auxiliary Control

16

3 D-BU

47

Trailer Auxiliary Control

X420 Chassis Harness to the License Lamp Jumper Harness (without UY7/EXP)


Object Number: 646400  Size: CH

Object Number: 684916  Size: CH

Connector Part Information

  • OEM: 15326835
  • Service: 88986452
  • Description: 8-Way F GT 150 Series, Sealed (BK)

Connector Part Information

  • OEM: 15326840
  • Service: See Catalog
  • Description: 8-Way M GT 150 Series, Sealed (BK)

Terminal Part Information

  • Terminal/Tray: 12191818/8
  • Core/Insulation Crimp: See Terminal Kit
  • Release Tool/Test Probe: See Terminal Kit

Terminal Part Information

  • Terminal/Tray: 15326269/19
  • Core/Insulation Crimp: E/4
  • Release Tool/Test Probe: 15315247/J-35616-3 (GY)

X420 Chassis Harness to the License Lamp Jumper Harness (without UY7/EXP)

Pin

Wire

Circuit

Function

Pin

Wire

Circuit

Function

A

0.5 BN/WH

2609

Right Rear Park Lamp Control

A

0.5 BN/WH

2609

Right Rear Park Lamp Control

B

0.35 GY

7069

Drain Wire (UVC)

B

0.35 GY

7069

Drain Wire (UVC)

C

0.35 OG

6201

Camera Control (UVC)

C

0.35 OG

6201

Camera Control (UVC)

D

0.35 TN/BK

6202

Camera Ground (UVC)

D

0.35 TN/BK

6202

Camera Ground (UVC)

E

0.35 WH

6798

Camera Video Signal (UVC)

E

0.35 WH

6798

Camera Video Signal (UVC)

F

0.5 BK

1350

Ground

F

0.5 BK

1350

Ground

G-H

--

--

Not Used

G-H

--

--

Not Used

X420 Chassis Harness to the Trailer Tow Jumper Harness (EXP with UY7)


Object Number: 1566798  Size: CH

Object Number: 1566810  Size: CH

Connector Part Information

  • OEM: 6188-0798
  • Service: 15193801
  • Description: 16-Way M Sealed (BK)

Connector Part Information

  • OEM: 6189-6902
  • Service: 15193794
  • Description: 16-Way F Sealed (BK)

Terminal Part Information

  • Pins: 1-7, 10-15
  • Terminal/Tray: 12191819/8
  • Core/Insulation Crimp: Pins 1-7, 10-14: 2/A
  • Core/Insulation Crimp: Pin 15: E/A
  • Release Tool/Test Probe: 15315247/J-35616-2A (GY)
  • Pins: 9, 16
  • Terminal/Tray: 15304720/19
  • Core/Insulation Crimp: 4/5
  • Release Tool/Test Probe: 15315247/J-35616-4A (PU)

Terminal Part Information

  • Pin: 1
  • Terminal/Tray: 15304731/19
  • Core/Insulation Crimp: 2/5
  • Release Tool/Test Probe: 15315247/J-35616-5 (PU)
  • Pins: 6-7, 10-15
  • Terminal/Tray: 15326269/19
  • Core/Insulation Crimp: Pins 6-7, 10, 14: E/1
  • Core/Insulation Crimp: Pin 15: E/4
  • Release Tool/Test Probe: 15315247/J-35616-3 (GY)
  • Pins: 9, 16
  • Terminal/Tray: 15304732/8
  • Core/Insulation Crimp: A/5
  • Release Tool/Test Probe: 15315247/J-35616-5 (PU)

X420 Chassis Harness to the Trailer Tow Jumper Harness (EXP with UY7)

Pin

Wire

Circuit

Function

Pin

Wire

Circuit

Function

1

1 BK

1350

Ground

1

1 BK

1350

Ground

2

--

--

Not Used

2

--

--

Not Used

3

0.5 OG

122

Rear Fog Lamp Control

3

0.5 OG

122

Rear Fog Lamp Control

4

0.5 BN

9

Park Lamp Control

4

0.5 BN

9

Park Lamp Control

5

0.5 YE

543

Ignition Voltage

5

0.5 YE

543

Ignition Voltage

6

0.5 L-GN

24

Backup Lamp Control

6

0.5 L-GN

24

Backup Lamp Control

7

0.5 YE

618

Left Rear Stop/Turn Lamp Control

7

0.5 YE

618

Left Rear Stop/Turn Lamp Control

8

0.5 WH

22

Trailer Ground

8

0.5 WH

22

Trailer Ground

9

0.5 RD

742

Battery Positive Voltage

9

0.5 RD

742

Battery Positive Voltage

10

0.5 D-GN

619

Right Rear Stop/Turn Lamp Control

10

0.5 D-GN

619

Right Rear Stop/Turn Lamp Control

11

0.5 BK

1350

Ground

11

0.5 BK

1350

Ground

12

--

--

Not Used

12

--

--

Not Used

13

--

--

Not Used

13

--

--

Not Used

14

0.5 BN

2109

Trailer Park Lamps Control

14

0.5 BN

2109

Trailer Park Lamps Control

15

--

--

Not Used

15

--

--

Not Used

16

0.5 D-BU

47

Trailer Auxiliary Control

16

0.5 D-BU

47

Trailer Auxiliary Control

X430 Left Tail Lamp Jumper Harness to the Body Harness (without EXP)


Object Number: 1566800  Size: CH

Object Number: 1566804  Size: CH

Connector Part Information

  • OEM: 6098-4793
  • Service: 88988640
  • Description: 4-Way F (WH)

Connector Part Information

  • OEM: 15193796
  • Service: 88988639
  • Description: 4-Way M (WH)

Terminal Part Information

  • Terminal/Tray: 12191812/19
  • Core/Insulation Crimp: E/C
  • Release Tool/Test Probe: 15315247/J-35616-2A (GY)

Terminal Part Information

  • Terminal/Tray: 15304702/19
  • Core/Insulation Crimp: E/C
  • Release Tool/Test Probe: 15315247/J-35616-3 (GY)

X430 Left Tail Lamp Jumper Harness to the Body Harness (without EXP)

Pin

Wire

Circuit

Function

Pin

Wire

Circuit

Function

1

1 D-BU

18

Left Rear Stop/Turn Lamp Control

1

1 YE

18

Left Rear Stop/Turn Lamp Control

2

0.5 BN

2509

Left Rear Park Lamp Control

2

0.5 BN

2509

Left Rear Park Lamp Control

3

1 BK

1450

Ground

3

1 BK

1450

Ground

4

0.5 L-GN

24

Backup Lamp Control

4

0.5 L-GN

24

Backup Lamp Control

X430 Right Tail Lamp Jumper Harness to the Body Harness (H3T)


Object Number: 374045  Size: CH

Object Number: 524411  Size: CH

Connector Part Information

  • OEM: 15317305
  • Service: 88988640
  • Description: 4-Way F (BK)

Connector Part Information

  • OEM: 15326789
  • Service:
  • Description: 4-Way M (BK)

Terminal Part Information

  • Terminal/Tray: 12191812/19
  • Core/Insulation Crimp: E/C
  • Release Tool/Test Probe: 15315247/J-35616-2A (GY)

Terminal Part Information

  • Terminal/Tray: 15304702/19
  • Core/Insulation Crimp: E/C
  • Release Tool/Test Probe: 15315247/J-35616-3 (GY)

X430 Right Tail Lamp Jumper Harness to the Body Harness (H3T)

Pin

Wire

Circuit

Function

Pin

Wire

Circuit

Function

A

1 D-GN

18

Left Rear Stop/Turn Lamp Control

A

1 D-BU

19

Left Rear Stop/Turn Lamp Control

B

--

--

Not Used

B

--

--

Not Used

C

1 BK

1350

Ground

C

1 BK

1350

Ground

D

--

--

Not Used

D

--

--

Not Used

E

0.5 BN

2509

Left Rear Park Lamp Control

E

0.5 BN

2609

Left Rear Park Lamp Control

F

0.8 L-GN

24

Backup Lamp Control

F

0.8 L-GN

24

Backup Lamp Control

H

0.5 L-BU

20

Stop Lamp Control

H

0.5 L-BU

20

Stop Lamp Control

X430 Left Tail Lamp Jumper Harness to the Body Harness (EXP)


Object Number: 1527223  Size: CH

Object Number: 1814325  Size: CH

Connector Part Information

  • OEM: 15396848
  • Service: See Catalog
  • Description: 6-Way F Metri-Pack 150 Series (BK)

Connector Part Information

  • OEM: 15396849
  • Service: 88988297
  • Description: 6-Way M Metri-Pack 150 Series (BK)

Terminal Part Information

  • Terminal/Tray: 12191812/19
  • Core/Insulation Crimp: E/C
  • Release Tool/Test Probe: 15315247/J-35616-2A (GY)

Terminal Part Information

  • Terminal/Tray: 15304702/19
  • Core/Insulation Crimp: E/C
  • Release Tool/Test Probe: 15315247/J-35616-3 (GY)

X430 Left Tail Lamp Jumper Harness to the Body Harness (EXP)

Pin

Wire

Circuit

Function

Pin

Wire

Circuit

Function

1

0.5 D-GN

618

Left Rear Stop/Turn Lamp Control

1

0.5 D-GN

618

Left Rear Stop/Turn Lamp Control

2

0.5 BN

2509

Left Rear Park Lamp Control

2

0.5 BN

2509

Left Rear Park Lamp Control

3

0.5 BK

1450

Ground

3

0.5 BK

1450

Ground

4

0.5 L-GN

24

Backup Lamp Control

4

0.5 L-GN

24

Backup Lamp Control

5

0.5 L-GN

20

Stop Lamp Feed

5

0.5 L-GN

20

Stop Lamp Feed

6

--

--

Not Used

6

--

--

Not Used

X440 Chassis Harness to the License Lamp Jumper Harness (- UY7)


Object Number: 1566796  Size: CH

Object Number: 1566794  Size: CH

Connector Part Information

  • OEM: 6189-6901
  • Service: 88988644
  • Description: 4-Way F Sealed (BK)

Connector Part Information

  • OEM: 6188-0793
  • Service: 88988641
  • Description: 4-Way M Sealed (BK)

Terminal Part Information

  • Terminal/Tray: 12191812/19
  • Core/Insulation Crimp: E/C
  • Release Tool/Test Probe: 15315247/J-35616-2A (GY)

Terminal Part Information

  • Terminal/Tray: 15304702/19
  • Core/Insulation Crimp: E/C
  • Release Tool/Test Probe: 15315247/J-35616-3 (GY)

X440 Chassis Harness to the License Lamp Jumper Harness (- UY7)

Pin

Wire

Circuit

Function

Pin

Wire

Circuit

Function

1

0.5 BN/WH

2609

Right Rear Park Lamps Control

1

0.5 BN/WH

2609

Right Rear Park Lamps Control

2

0.5 BK

1350

Ground

2

0.5 BK

1350

Ground

3

0.5 OG

122

Rear Fog Lamp Control (EXP)

3

0.5 OG

122

Rear Fog Lamp Control (EXP)

4

--

--

Not Used

4

--

--

Not Used

X440 Chassis Harness to the License Lamp Jumper Harness (H3T) (UY7)


Object Number: 1566810  Size: CH

Object Number: 1566798  Size: CH

Connector Part Information

  • OEM: 6188-0798
  • Service: 15193801
  • Description: 16-Way F Sealed (BK)

Connector Part Information

  • OEM: 6189-6902
  • Service: 15193794
  • Description: 16-Way M Sealed (BK)

Terminal Part Information

  • Terminal/Tray: See Terminal Repair Kit
  • Core/Insulation Crimp: See Terminal Kit
  • Release Tool/Test Probe: See Terminal Kit

Terminal Part Information

  • Terminal/Tray: See Terminal Repair Kit
  • Core/Insulation Crimp: See Terminal Kit
  • Release Tool/Test Probe: See Terminal Kit

X440 Chassis Harness to the License Lamp Jumper Harness (H3T) (UY7)

Pin

Wire

Circuit

Function

Pin

Wire

Circuit

Function

1

1 BK

1350

Ground

1

1 BK

1350

Ground

2

0.35 GY

7069

Drain Wire (UVC)

2

0.35 GY

7069

Drain Wire (UVC)

3

0.5 PK

6972

Camera Signal + (UVC)

3

0.5 PK

6972

Camera Signal + (UVC)

4

0.5 L-BU

6973

Camera Signal - (UVC)

4

0.5 L-BU

6973

Camera Signal - (UVC)

5

0.5 PK

1339

Ignition Voltage

5

0.5 PK

1339

Ignition Voltage

6

0.35 L-GN

24

Backup Lamp Control

6

0.35 L-GN

24

Backup Lamp Control

7

1 YE

18

Left Rear Stop/Turn Lamp Control

7

1 YE

18

Left Rear Stop/Turn Lamp Control

8

0.5 L-GN

20

Stop Lamp Feed

8

0.5 L-GN

20

Stop Lamp Feed

9

3 RD

742

Battery Positive Voltage

9

3 RD

742

Battery Positive Voltage

10

1 D-GN

19

Right Rear Stop/Turn Lamp Control

10

1 D-GN

19

Right Rear Stop/Turn Lamp Control

11

1 BK

1350

Ground

11

1 BK

1350

Ground

12

1 BK

1350

Ground

12

1 BK

1350

Ground

13

--

--

Not Used

13

--

--

Not Used

14

0.8 BN

2109

Trailer Park Lamps Control

14

0.8 BN

2109

Trailer Park Lamps Control

15

0.5 BN/WH

2609

Right Rear Park Lamps Control

15

0.5 BN/WH

2609

Right Rear Park Lamps Control

16

3 D-BU

47

Not Used

16

3 D-BU

47

Not Used

X450 Swing Gate Harness to the Body Harness


Object Number: 1566808  Size: CH

Object Number: 1566801  Size: CH

Connector Part Information

  • OEM: 6098-4789
  • Service: 15193800
  • Description: 12-Way F (WH)

Connector Part Information

  • OEM: 6098-4900
  • Service: 15193797
  • Description: 12-Way M (WH)

Terminal Part Information

  • Pins: 2-5, 8-10
  • Terminal/Tray: 12191812/19
  • Core/Insulation Crimp: Pins 2-5: E/A
  • Core/Insulation Crimp: Pins 8-11: C/A
  • Release Tool/Test Probe: 15315247/J-35616-2A (GY)
  • Pins: 6-7
  • Terminal/Tray: 15304713/19
  • Core/Insulation Crimp: F/D
  • Release Tool/Test Probe: 15315247/J-35616-4A (PU)

Terminal Part Information

  • Pins: 2-5, 8-10
  • Terminal/Tray: 15304709/19
  • Core/Insulation Crimp: Pins 2-5: E/4
  • Core/Insulation Crimp: Pins 8-10: 2/4
  • Release Tool/Test Probe: 15315247/J-35616-3 (GY)
  • Pins: 6-7
  • Terminal/Tray: 15304724/8
  • Core/Insulation Crimp: A/D
  • Release Tool/Test Probe: 15315247/J-35616-5 (PU)

X450 Swing Gate Harness to the Body Harness

Pin

Wire

Circuit

Function

Pin

Wire

Circuit

Function

1

--

--

Not Used

1

--

--

Not Used

2

0.5 GY

391

Rear Window Wiper Delay 2 Signal

2

0.5 GY

391

Rear Window Wiper Delay 2 Signal

3

0.5 WH

393

Rear Window Wiper Delay 1 Signal

3

0.5 WH

393

Rear Window Wiper Delay 1 Signal

4

0.5 D-GN

392

Rear Window Washer Switch Signal

4

0.5 D-GN

392

Rear Window Washer Switch Signal

5

0.5 L-BU

20

Stop Lamp Control

5

0.5 L-BU

20

Stop Lamp Control

6

3 BK

1450

Ground

6

3 BK

1450

Ground

7

3 BK

293

Rear Defog Element Control

7

3 BK

293

Rear Defog Element Control

8

0.8 TN

294

Door Lock Actuator Unlock Control

8

0.8 TN

294

Door Lock Actuator Unlock Control

9

0.8 GY

295

Door Lock Actuator Lock Control

9

0.8 GY

295

Door Lock Actuator Lock Control

10

1 YE

143

Ignition Voltage

10

1 YE

143

Ignition Voltage

11-12

--

--

Not Used

11-12

--

--

Not Used

X460 License Lamp Jumper Harness to the Rear Fog Lamp Jumper Harness (T79)


Object Number: 632351  Size: CH

Object Number: 681875  Size: CH

Connector Part Information

  • OEM: 13510085
  • Service: 19179278
  • Description: 2-Way F GT 150 Series, Sealed (BK)

Connector Part Information

  • OEM: 13510099
  • Service: 19151499
  • Description: 2-Way M GT 150 Series, Sealed (BK)

Terminal Part Information

  • Terminal/Tray: 12191812/19
  • Core/Insulation Crimp: E/C
  • Release Tool/Test Probe: 15315247/J-35616-2A (GY)

Terminal Part Information

  • Terminal/Tray: 15304702/19
  • Core/Insulation Crimp: E/C
  • Release Tool/Test Probe: 15315247/J-35616-3 (GY)

X460 License Lamp Jumper Harness to the Rear Fog Lamp Jumper Harness (T79)

Pin

Wire

Circuit

Function

Pin

Wire

Circuit

Function

A

0.8 OG

122

Rear Fog Lamp Control

A

0.8 OG

122

Rear Fog Lamp Control

B

0.8 BK

1350

Ground

B

0.8 BK

1350

Ground

X500 Body Harness to the Driver Door Harness (Left Hand Drive)


Object Number: 1566802  Size: CH

Object Number: 1566799  Size: CH

Connector Part Information

  • OEM: 6098-4626
  • Service: 88988707
  • Description: 30-Way F (BK)

Connector Part Information

  • OEM: 6098-4932
  • Service: 15193795
  • Description: 30-Way M (WH)

Terminal Part Information

  • Pins: 1-16, 19-26
  • Terminal/Tray: 12191812/19
  • Core/Insulation Crimp: Pins 1-2, 6-16, 19-20 (UQ3), 23-26: E/C
  • Core/Insulation Crimp: Pins 3-5, 19-20 (UQA): C/A
  • Release Tool/Test Probe: 15315247/J-35616-2A (GY)
  • Pins: 17-18
  • Terminal/Tray: 15304713/19
  • Core/Insulation Crimp: 4/4
  • Release Tool/Test Probe: 15315247/J-35616-4A (PU)

Terminal Part Information

  • Pins: 1-16, 19-26
  • Terminal/Tray: 15304702/19
  • Core/Insulation Crimp: Pins 1-2, 6-12, 15-16, 24-26: E/C
  • Core/Insulation Crimp: Pins 13-14, 19-20 (UQ3), 23: E/4
  • Core/Insulation Crimp: Pins 3-5, 19-20 (UQA): 2/4
  • Release Tool/Test Probe: 15315247/J-35616-3 (GY)
  • Pins: 17-18
  • Terminal/Tray: 15304724/8
  • Core/Insulation Crimp: C/D
  • Release Tool/Test Probe: 15315247/J-35616-5 (PU)

X500 Body Harness to the Driver Door Harness (Left Hand Drive)

Pin

Wire

Circuit

Function

Pin

Wire

Circuit

Function

1

0.35 BN

9

Park Lamp Control

1

0.35 BN

9

Park Lamp Control

2

0.35 D-BU

1307

Power Window Master Switch Lockout Signal

2

0.35 D-BU

1307

Power Window Master Switch Lockout Signal

3

0.8 GY

295

Door Lock Actuator Lock Control

3

0.8 GY

295

Door Lock Actuator Lock Control

4

0.8 TN

294

Door Lock Actuator Unlock Control

4

0.8 TN

294

Door Lock Actuator Unlock Control

5

0.8 OG

1240

Battery Positive Voltage

5

0.8 OG

1240

Battery Positive Voltage

6

0.35 TN

167

Power Window Master Switch Right Front Down Signal

6

0.35 TN

167

Power Window Master Switch Right Front Down Signal

7

0.35 D-GN

168

Power Window Master Switch Left Rear Up Signal

7

0.35 D-GN

168

Power Window Master Switch Left Rear Up Signal

8

0.35 L-BU

166

Power Window Master Switch Right Front Up Signal

8

0.35 L-BU

166

Power Window Master Switch Right Front Up Signal

9

0.35 L-GN

170

Power Window Master Switch Right Rear Up Signal

9

0.35 L-GN

170

Power Window Master Switch Right Rear Up Signal

10

0.35 PU

169

Power Window Master Switch Left Rear Down Signal

10

0.35 PU

169

Power Window Master Switch Left Rear Down Signal

11

0.35 WH

194

Door Unlock Control

11

0.35 WH

194

Door Unlock Control

12

0.35 L-BU

244

Passenger Door Lock Switch Lock Control

12

0.35 L-BU

244

Passenger Door Lock Switch Lock Control

13

0.5 YE

2161

Side Impact Sensor - Left - Voltage (ASF)

13

0.5 YE

2161

Side Impact Sensor - Left - Voltage (ASF)

14

0.5 WH

2162

Side Impact Sensor - Left - Signal (ASF)

14

0.5 WH

2162

Side Impact Sensor - Left - Signal (ASF)

15

0.35 D-BU

245

Passenger Door Lock Switch Unlock Control

15

0.35 D-BU

245

Passenger Door Lock Switch Unlock Control

16

0.35 PU

171

Power Window Master Switch Right Rear Down Signal

16

0.35 PU

171

Power Window Master Switch Right Rear Down Signal

17

2 YE

643

Ignition Voltage

17

2 YE

643

Ignition Voltage

18

2 BK

1450

Ground

18

2 BK

1450

Ground

19

0.5 TN

201

Left Front Speaker Output (+)

19

0.5 TN

201

Left Front Speaker Output (+)

20

0.5 GY

118

Left Front Speaker Output (-)

20

0.5 GY

118

Left Front Speaker Output (-)

21-22

--

--

Not Used

21-22

--

--

Not Used

23

0.5 OG

1732

Inadvertent Power Control

23

0.5 OG

1732

Inadvertent Power Control

24

0.35 BN/WH

1498

Passenger Mirror Motor Up Control

24

0.35 BN/WH

1498

Passenger Mirror Motor Up Control

25

0.35 RD/WH

881

Passenger Mirror Motor Right Control

25

0.35 RD/WH

881

Passenger Mirror Motor Right Control

26

0.35 GY

90

Passenger Mirror Motor Left/Down Control

26

0.35 GY

90

Passenger Mirror Motor Left/Down Control

27-30

--

--

Not Used

27-30

--

--

Not Used

X500 Body Harness to the Passenger Door Harness (Right Hand Drive)


Object Number: 1566802  Size: CH

Object Number: 1566799  Size: CH

Connector Part Information

  • OEM: 6098-4626
  • Service: 88988707
  • Description: 30-Way F (BK)

Connector Part Information

  • OEM: 6098-4932
  • Service: 15193795
  • Description: 30-Way M (WH)

Terminal Part Information

  • Pins: 1-16, 19-26
  • Terminal/Tray: 12191812/19
  • Core/Insulation Crimp: Pins 1-2, 6-16, 19-20 (UQ3), 23-26: E/C
  • Core/Insulation Crimp: Pins 3-5, 19-20 (UQA): C/A
  • Release Tool/Test Probe: 15315247/J-35616-2A (GY)
  • Pins: 17-18
  • Terminal/Tray: 15304713/19
  • Core/Insulation Crimp: 4/4
  • Release Tool/Test Probe: 15315247/J-35616-4A (PU)

Terminal Part Information

  • Pins: 1-16, 19-26
  • Terminal/Tray: 15304702/19
  • Core/Insulation Crimp: Pins 1-2, 6-12, 15-16, 24-26: E/C
  • Core/Insulation Crimp: Pins 13-14, 19-20 (UQ3), 23: E/4
  • Core/Insulation Crimp: Pins 3-5, 19-20 (UQA): 2/4
  • Release Tool/Test Probe: 15315247/J-35616-3 (GY)
  • Pins: 17-18
  • Terminal/Tray: 15304724/8
  • Core/Insulation Crimp: C/D
  • Release Tool/Test Probe: 15315247/J-35616-5 (PU)

X500 Body Harness to the Passenger Door Harness (Right Hand Drive)

Pin

Wire

Circuit

Function

Pin

Wire

Circuit

Function

1

0.5 BN

9

Park Lamp Control

1

0.5 BN

9

Park Lamp Control

2

0.5 D-BU

1307

Power Window Master Switch Lockout Signal

2

0.5 D-BU

1307

Power Window Master Switch Lockout Signal

3

0.5 GY

295

Door Lock Actuator Lock Control

3

0.5 GY

295

Door Lock Actuator Lock Control

4

0.5 TN

294

Door Lock Actuator Unlock Control

4

0.5 TN

294

Door Lock Actuator Unlock Control

5

--

--

Not Used

5

0.5 OG

1240

Battery Positive Voltage

6

0.5 TN

167

Power Window Master Switch Right Front Down Signal

6

0.5 TN

167

Power Window Master Switch Right Front Down Signal

7

--

--

Not Used

7

0.5 D-GN

168

Power Window Master Switch Left Rear Up Signal

8

0.5 L-BU

166

Power Window Master Switch Right Front Up Signal

8

0.5 L-BU

166

Power Window Master Switch Right Front Up Signal

9

--

--

Not Used

9

0.5 L-GN

170

Power Window Master Switch Right Rear Up Signal

10

--

--

Not Used

10

0.5 PU

169

Power Window Master Switch Left Rear Down Signal

11

--

--

Not Used

11

0.5 WH

194

Door Unlock Control

12

0.5 L-BU

244

Passenger Door Lock Switch Lock Control

12

0.5 L-BU

244

Passenger Door Lock Switch Lock Control

13

0.5 YE

2161

Side Impact Sensor - Left - Voltage (ASF)

13

0.5 YE

2161

Side Impact Sensor - Left - Voltage (ASF)

14

0.5 WH

2162

Side Impact Sensor - Left - Signal (ASF)

14

0.5 WH

2162

Side Impact Sensor - Left - Signal (ASF)

15

0.5 D-BU

245

Passenger Door Lock Switch Unlock Control

15

0.5 D-BU

245

Passenger Door Lock Switch Unlock Control

16

--

--

Not Used

16

0.5 PU

171

Power Window Master Switch Right Rear Down Signal

17

0.5 YE

643

Ignition Voltage

17

0.5 YE

643

Ignition Voltage

18

0.5 BK

1450

Ground

18

0.5 BK

1450

Ground

19

0.5 TN

201

Left Front Speaker Output (+)

19

0.5 TN

201

Left Front Speaker Output (+)

20

0.5 GY

118

Left Front Speaker Output (-)

20

0.5 GY

118

Left Front Speaker Output (-)

21-22

--

--

Not Used

21-22

--

--

Not Used

23

--

--

Not Used

23

0.5 OG

1732

Inadvertent Power Control

24

0.5 BN/WH

1498

Passenger Mirror Motor Up Control

24

0.5 BN/WH

1498

Passenger Mirror Motor Up Control

25

0.5 RD/WH

881

Passenger Mirror Motor Right Control

25

0.5 RD/WH

881

Passenger Mirror Motor Right Control

26

0.5 GY

90

Passenger Mirror Motor Left/Down Control

26

0.5 GY

90

Passenger Mirror Motor Left/Down Control

27-30

--

--

Not Used

27-30

--

--

Not Used

X510 Driver Mirror Switch Jumper Harness to the Driver Door Harness


Object Number: 1566763  Size: CH

Object Number: 1566768  Size: CH

Connector Part Information

  • OEM: 6098-2208
  • Service: 88988650
  • Description: 8-Way F DL Series (WH)

Connector Part Information

  • OEM: 6098-2206
  • Service: 88988649
  • Description: 8-Way M DL Series (WH)

Terminal Part Information

  • Terminal/Tray: 8100-1710/6
  • Core/Insulation Crimp: E/C
  • Release Tool/Test Probe: 15315247/J-35616-16 (L-GN)

Terminal Part Information

  • Terminal/Tray: 8100-2512/6
  • Core/Insulation Crimp: E/2
  • Release Tool/Test Probe: 15315247/J-35616-17 (L-GN)

X510 Driver Mirror Switch Jumper Harness to the Driver Door Harness

Pin

Wire

Circuit

Function

Pin

Wire

Circuit

Function

1

0.5 OG

1732

Inadvertent Power Control

1

0.5 OG

1732

Inadvertent Power Control

2

0.5 BN/WH

1498

Passenger Mirror Motor Up Control

2

0.5 BN/WH

1498

Passenger Mirror Motor Up Control

3

0.5 RD/WH

881

Passenger Mirror Motor Right Control

3

0.5 RD/WH

881

Passenger Mirror Motor Right Control

4

0.5 GY

90

Driver/Passenger Mirror Motor Left/Down Control

4

0.5 GY

90

Driver/Passenger Mirror Motor Left/Down Control

5

0.5 YE

88

Driver Mirror Motor Up Control

5

0.5 YE

88

Driver Mirror Motor Up Control

6

0.5 WH

81

Driver Mirror Motor Right Control

6

0.5 WH

81

Driver Mirror Motor Right Control

7

0.5 BK

1450

Ground

7

0.5 BK

1450

Ground

8

--

--

Not Used

8

--

--

Not Used

X600 Body Harness to the Passenger Door Harness (Left Hand Drive)


Object Number: 1566802  Size: CH

Object Number: 1566799  Size: CH

Connector Part Information

  • OEM: 6098-4626
  • Service: 88988707
  • Description: 30-Way F (BK)

Connector Part Information

  • OEM: 6098-4932
  • Service: 15193795
  • Description: 30-Way M (WH)

Terminal Part Information

  • Pins: 1-15, 19-26
  • Terminal/Tray: 12191812/19
  • Core/Insulation Crimp: Pins 1-2, 6, 8, 12-15, 19-20 (UQ3), 24-26: E/C
  • Core/Insulation Crimp: Pins 3-4, 19-20 (UQA): C/A
  • Release Tool/Test Probe: 15315247/J-35616-2A (GY)
  • Pins: 17-18
  • Terminal/Tray: 15304713/19
  • Core/Insulation Crimp: 4/4
  • Release Tool/Test Probe: 15315247/J-35616-4A (PU)

Terminal Part Information

  • Pins: 1-15, 19-26
  • Terminal/Tray: 15304702/19
  • Core/Insulation Crimp: Pins 1-2, 6, 8, 12, 15, 24-26: E/C
  • Core/Insulation Crimp: Pins 13-14, 19-20 (UQ3): E/4
  • Core/Insulation Crimp: Pins 3-4, 19-20 (UQA): 2/4
  • Release Tool/Test Probe: 15315247/J-35616-3 (GY)
  • Pins: 17-18
  • Terminal/Tray: 15304724/8
  • Core/Insulation Crimp: C/D
  • Release Tool/Test Probe: 15315247/J-35616-5 (PU)

X600 Body Harness to the Passenger Door Harness (Left Hand Drive)

Pin

Wire

Circuit

Function

Pin

Wire

Circuit

Function

1

0.35 BN

9

Park Lamp Control

1

0.35 BN

9

Park Lamp Control

2

0.35 D-BU

1307

Power Window Master Switch Lockout Control

2

0.35 D-BU

1307

Power Window Master Switch Lockout Control

3

0.8 GY

295

Door Lock Actuator Lock Control

3

0.8 GY

295

Door Lock Actuator Lock Control

4

0.8 TN

294

Door Lock Actuator Unlock Control

4

0.8 TN

294

Door Lock Actuator Unlock Control

5

--

--

Not Used

5

--

--

Not Used

6

0.35 TN

167

Power Window Master Switch Right Front Down Signal

6

0.35 TN

167

Power Window Master Switch Right Front Down Signal

7

--

--

Not Used

7

--

--

Not Used

8

0.35 L-BU

166

Power Window Master Switch Right Front Up Signal

8

0.35 L-BU

166

Power Window Master Switch Right Front Up Signal

9-11

--

--

Not Used

9-11

--

--

Not Used

12

0.35 L-BU

244

Passenger Door Lock Switch Lock Control

12

0.35 L-BU

244

Passenger Door Lock Switch Lock Control

13

0.5 TN

2163

Side Impact Sensor - Right - Voltage (ASF)

13

0.5 TN

2163

Side Impact Sensor - Right - Voltage (ASF)

14

0.5 D-GN

2164

Side Impact Sensor - Right - Signal (ASF)

14

0.5 D-GN

2164

Side Impact Sensor - Right - Signal (ASF)

15

0.35 D-BU

245

Passenger Door Lock Switch Unlock Control

15

0.35 D-BU

245

Passenger Door Lock Switch Unlock Control

16

--

--

Not Used

16

--

--

Not Used

17

2 YE

443

Ignition Voltage

17

2 YE

443

Ignition Voltage

18

2 BK

1550

Ground

18

2 BK

1550

Ground

19

0.5 L-GN

200

Right Front Speaker Output (+)

19

0.5 L-GN

200

Right Front Speaker Output (+)

20

0.5 D-GN

117

Right Front Speaker Output (-)

20

0.5 D-GN

117

Right Front Speaker Output (-)

21-23

--

--

Not Used

21-23

--

--

Not Used

24

0.35 BN/WH

1498

Passenger Mirror Motor Up Control

24

0.35 BN/WH

1498

Passenger Mirror Motor Up Control

25

0.35 RD/WH

881

Passenger Mirror Motor Right Control

25

0.35 RD/WH

881

Passenger Mirror Motor Right Control

26

0.35 GY

90

Passenger Mirror Motor Left/Down Control

26

0.35 GY

90

Passenger Mirror Motor Left/Down Control

27-30

--

--

Not Used

27-30

--

--

Not Used

X600 Body Harness to the Driver Door Harness (Right Hand Drive)


Object Number: 1566802  Size: CH

Object Number: 1566799  Size: CH

Connector Part Information

  • OEM: 6098-4626
  • Service: 88988707
  • Description: 30-Way F (BK)

Connector Part Information

  • OEM: 6098-4932
  • Service: 15193795
  • Description: 30-Way M (WH)

Terminal Part Information

  • Pins: 1-15, 19-26
  • Terminal/Tray: 12191812/19
  • Core/Insulation Crimp: Pins 1-2, 6, 8, 12-15, 19-20 (UQ3), 24-26: E/C
  • Core/Insulation Crimp: Pins 3-4, 19-20 (UQA): C/A
  • Release Tool/Test Probe: 15315247/J-35616-2A (GY)
  • Pins: 17-18
  • Terminal/Tray: 15304713/19
  • Core/Insulation Crimp: 4/4
  • Release Tool/Test Probe: 15315247/J-35616-4A (PU)

Terminal Part Information

  • Pins: 1-15, 19-26
  • Terminal/Tray: 15304702/19
  • Core/Insulation Crimp: Pins 1-2, 6, 8, 12, 15, 24-26: E/C
  • Core/Insulation Crimp: Pins 13-14, 19-20 (UQ3): E/4
  • Core/Insulation Crimp: Pins 3-4, 19-20 (UQA): 2/4
  • Release Tool/Test Probe: 15315247/J-35616-3 (GY)
  • Pins: 17-18
  • Terminal/Tray: 15304724/8
  • Core/Insulation Crimp: C/D
  • Release Tool/Test Probe: 15315247/J-35616-5 (PU)

X600 Body Harness to the Driver Door Harness (Right Hand Drive)

Pin

Wire

Circuit

Function

Pin

Wire

Circuit

Function

1

0.5 BN

9

Park Lamp Control

1

0.5 BN

9

Park Lamp Control

2

0.5 D-BU

1307

Power Window Master Switch Lockout Control

2

0.5 D-BU

1307

Power Window Master Switch Lockout Control

3

0.5 GY

295

Door Lock Actuator Lock Control

3

0.5 GY

295

Door Lock Actuator Lock Control

4

0.5 TN

294

Door Lock Actuator Unlock Control

4

0.5 TN

294

Door Lock Actuator Unlock Control

5

0.5 OG

1240

Battery Positive Voltage

5

--

--

Not Used

6

0.5 TN

167

Power Window Master Switch Right Front Down Signal

6

0.5 TN

167

Power Window Master Switch Right Front Down Signal

7

0.5 D-GN

168

Power Window Master Switch Left Rear Up Signal

7

--

--

Not Used

8

0.5 L-BU

166

Power Window Master Switch Right Front Up Signal

8

0.5 L-BU

166

Power Window Master Switch Right Front Up Signal

9

0.5 L-GN

170

Power Window Master Switch Right Rear Up Signal

9

--

--

Not Used

10

0.5 PU

169

Power Window Master Switch Left Rear Down Signal

10

--

--

Not Used

11

0.5 WH

194

Door Unlock Control

11

--

--

Not Used

12

0.5 L-BU

244

Passenger Door Lock Switch Lock Control

12

0.5 L-BU

244

Passenger Door Lock Switch Lock Control

13

0.5 TN

2163

Side Impact Sensor - Right - Voltage (ASF)

13

0.5 TN

2163

Side Impact Sensor - Right - Voltage (ASF)

14

0.5 D-GN

2164

Side Impact Sensor - Right - Signal (ASF)

14

0.5 D-GN

2164

Side Impact Sensor - Right - Signal (ASF)

15

0.5 D-BU

245

Passenger Door Lock Switch Unlock Control

15

0.5 D-BU

245

Passenger Door Lock Switch Unlock Control

16

0.5 PU

171

Power Window Master Switch Right Rear Down Signal

16

--

--

Not Used

17

0.5 YE

443

Ignition Voltage

17

0.5 YE

443

Ignition Voltage

18

0.5 BK

1550

Ground

18

0.5 BK

1550

Ground

19

0.5 L-GN

200

Right Front Speaker Output (+)

19

0.5 L-GN

200

Right Front Speaker Output (+)

20

0.5 D-GN

117

Right Front Speaker Output (-)

20

0.5 D-GN

117

Right Front Speaker Output (-)

21-22

--

--

Not Used

21-22

--

--

Not Used

23

0.5 OG

1732

Inadvertent Power Control

23

--

--

Not Used

24

0.5 BN/WH

1498

Passenger Mirror Motor Up Control

24

0.5 BN/WH

1498

Passenger Mirror Motor Up Control

25

0.5 RD/WH

881

Passenger Mirror Motor Right Control

25

0.5 RD/WH

881

Passenger Mirror Motor Right Control

26

0.5 GY

90

Passenger Mirror Motor Left/Down Control

26

0.5 GY

90

Passenger Mirror Motor Left/Down Control

27-30

--

--

Not Used

27-30

--

--

Not Used

X700 Body Harness to the Left Rear Door Harness


Object Number: 1566808  Size: CH

Object Number: 1566801  Size: CH

Connector Part Information

  • OEM: 6098-4789
  • Service: 15193800
  • Description: 12-Way F (WH)

Connector Part Information

  • OEM: 6098-4900
  • Service: 15193797
  • Description: 12-Way M (WH)

Terminal Part Information

  • Pins: 2-5, 8-11
  • Terminal/Tray: 12191812/19
  • Core/Insulation Crimp: Pins 2-3 (UQA), 4-5: C/A
  • Core/Insulation Crimp: Pins 2-3 (UQ3), 8-11: E/C
  • Release Tool/Test Probe: 15315247/J-35616-2A (GY)
  • Pins: 6-7
  • Terminal/Tray: 15304713/19
  • Core/Insulation Crimp: 4/4
  • Release Tool/Test Probe: 15315247/J-35616-4A (PU)

Terminal Part Information

  • Pins: 2-5, 8-11
  • Terminal/Tray: 15304702/19
  • Core/Insulation Crimp: Pins 2-3 (UQA), 4-5: 2/4
  • Core/Insulation Crimp: Pins 2-3 (UQ3): E/4
  • Core/Insulation Crimp: Pins 8-11: E/C
  • Release Tool/Test Probe: 15315247/J-35616-5 (PU)
  • Pins: 6-7
  • Terminal/Tray: 15304724/8
  • Core/Insulation Crimp: C/D
  • Release Tool/Test Probe: 15315247/J-35616-5 (PU)

X700 Body Harness to the Left Rear Door Harness

Pin

Wire

Circuit

Function

Pin

Wire

Circuit

Function

1

0.8 D-BU/WH

346

Left Rear Subwoofer Speaker (+) (H3T)

1

0.8 D-BU/WH

346

Left Rear Subwoofer Speaker (+) (H3T)

2

0.5 YE

116

Left Rear Speaker Output (-)

2

0.5 YE

116

Left Rear Speaker Output (-)

3

0.5 BN

199

Left Rear Speaker Output (+)

3

0.5 BN

199

Left Rear Speaker Output (+)

4

0.8 TN

294

Door Lock Actuator Unlock Control

4

0.8 TN

294

Door Lock Actuator Unlock Control

5

0.8 GY

295

Door Lock Actuator Lock Control

5

0.8 GY

295

Door Lock Actuator Lock Control

6

2 BK

1450

Ground

6

2 BK

1450

Ground

7

2 YE

643

Ignition Voltage

7

2 YE

643

Ignition Voltage

8

0.35 BN

9

Park Lamp Control (H3)

8

0.35 BN

9

Park Lamp Control (H3)

9

0.35 D-BU

1307

Power Window Master Switch Lockout Signal

9

0.35 D-BU

1307

Power Window Master Switch Lockout Signal

10

0.35 D-GN

168

Power Window Master Switch Left Rear Up Signal

10

0.35 D-GN

168

Power Window Master Switch Left Rear Up Signal

11

0.35 PU

169

Power Window Master Switch Left Rear Down Signal

11

0.35 PU

169

Power Window Master Switch Left Rear Down Signal

12

0.8 L-GN/BK

1794

Left Rear Subwoofer Speaker (-) (H3T)

12

0.8 L-GN/BK

1794

Left Rear Subwoofer Speaker (-) (H3T)

X800 Body Harness to the Right Rear Door Harness


Object Number: 1566808  Size: CH

Object Number: 1566801  Size: CH

Connector Part Information

  • OEM: 6098-4789
  • Service: 15193800
  • Description: 12-Way F (WH)

Connector Part Information

  • OEM: 6098-4900
  • Service: 15193797
  • Description: 12-Way M (WH)

Terminal Part Information

  • Pins: 2-5, 8-11
  • Terminal/Tray: 12191812/19
  • Core/Insulation Crimp: Pins 2-3 (UQA), 4-5: C/A
  • Core/Insulation Crimp: Pins 2-3 (UQ3), 8-11: E/C
  • Release Tool/Test Probe: 15315247/J-35616-2A (GY)
  • Pins: 6-7
  • Terminal/Tray: 15304713/19
  • Core/Insulation Crimp: 4/4
  • Release Tool/Test Probe: 15315247/J-35616-4A (PU)

Terminal Part Information

  • Pins: 2-5, 8-11
  • Terminal/Tray: 15304702/19
  • Core/Insulation Crimp: Pins 2-3 (UQA), 4-5: 2/4
  • Core/Insulation Crimp: Pins 2-3 (UQ3): E/4
  • Core/Insulation Crimp: Pins 8-11: E/C
  • Release Tool/Test Probe: 15315247/J-35616-5 (PU)
  • Pins: 6-7
  • Terminal/Tray: 15304724/8
  • Core/Insulation Crimp: C/D
  • Release Tool/Test Probe: 15315247/J-35616-5 (PU)

X800 Body Harness to the Right Rear Door Harness

Pin

Wire

Circuit

Function

Pin

Wire

Circuit

Function

1

0.8 D-GN

1795

Right Rear Subwoofer Speaker (+) (H3T)

1

0.8 D-GN

1795

Right Rear Subwoofer Speaker (+) (H3T)

2

0.5 L-BU

115

Right Rear Speaker Output (-)

2

0.5 YE

116

Right Rear Speaker Output (-)

3

0.5 D-BU

46

Right Rear Speaker Output (+)

3

0.5 BN

199

Right Rear Speaker Output (+)

4

0.8 TN

294

Door Lock Actuator Unlock Control

4

0.8 TN

294

Door Lock Actuator Unlock Control

5

0.8 GY

295

Door Lock Actuator Lock Control

5

0.8 GY

295

Door Lock Actuator Lock Control

6

2 BK

1550

Ground

6

2 BK

1450

Ground

7

2 YE

443

Ignition Voltage

7

2 YE

643

Ignition Voltage

8

0.35 BN

9

Park Lamp Control (H3)

8

0.35 BN

9

Park Lamp Control (H3)

9

0.35 D-BU

1307

Power Window Master Switch Lockout Signal

9

0.35 D-BU

1307

Power Window Master Switch Lockout Signal

10

0.35 L-GN

170

Power Window Master Switch Right Rear Up Signal

10

0.35 D-GN

168

Power Window Master Switch Right Rear Up Signal

11

0.35 PU

171

Power Window Master Switch Right Rear Down Signal

11

0.35 PU

169

Power Window Master Switch Right Rear Down Signal

12

0.8 L-BU/BK

315

Right Rear Subwoofer Speaker (-) (H3T)

12

0.8 L-BU/BK

315

Right Rear Subwoofer Speaker (-) (H3T)

X901 CHMSL and Rear Defogger Jumper Harness to the Swing Gate Harness (H3)


Object Number: 1566808  Size: CH

Object Number: 1566801  Size: CH

Connector Part Information

  • OEM: 6098-4789
  • Service: 15193800
  • Description: 12-Way F (WH)

Connector Part Information

  • OEM: 6098-4614
  • Service: 15193797
  • Description: 12-Way M (WH)

Terminal Part Information

  • Pins: 1, 6
  • Terminal/Tray: 15304713/19
  • Core/Insulation Crimp: F/D
  • Release Tool/Test Probe: 15315247/J-35616-4A (PU)
  • Pins: 3-4
  • Terminal/Tray: 12191812/19
  • Core/Insulation Crimp: E/C
  • Release Tool/Test Probe: 15315247/J-35616-2A (GY)

Terminal Part Information

  • Pins: 1, 6
  • Terminal/Tray: 15304724/8
  • Core/Insulation Crimp: A/D
  • Release Tool/Test Probe: 15315247/J-35616-5 (PU)
  • Pins: 3-4
  • Terminal/Tray: 15304702/19
  • Core/Insulation Crimp: E/4
  • Release Tool/Test Probe: 15315247/J-35616-3 (GY)

X901 CHMSL and Rear Defogger Jumper Harness to the Swing Gate Harness (H3)

Pin

Wire

Circuit

Function

Pin

Wire

Circuit

Function

1

BK

3 293

Rear Defog Element Control

1

BK

3 293

Rear Defog Element Control

2

--

--

Not Used

2

--

--

Not Used

3

L-BU

0.5 20

Stop Lamp Control

3

L-BU

0.5 20

Stop Lamp Control

4

0.5 BK

1450

Ground

4

0.5 BK

1450

Ground

5

--

--

Not Used

5

--

--

Not Used

6

3 BK

1450

Ground

6

3 BK

1450

Ground

7-12

--

--

Not Used

7-12

--

--

Not Used