GM Service Manual Online
For 1990-2009 cars only

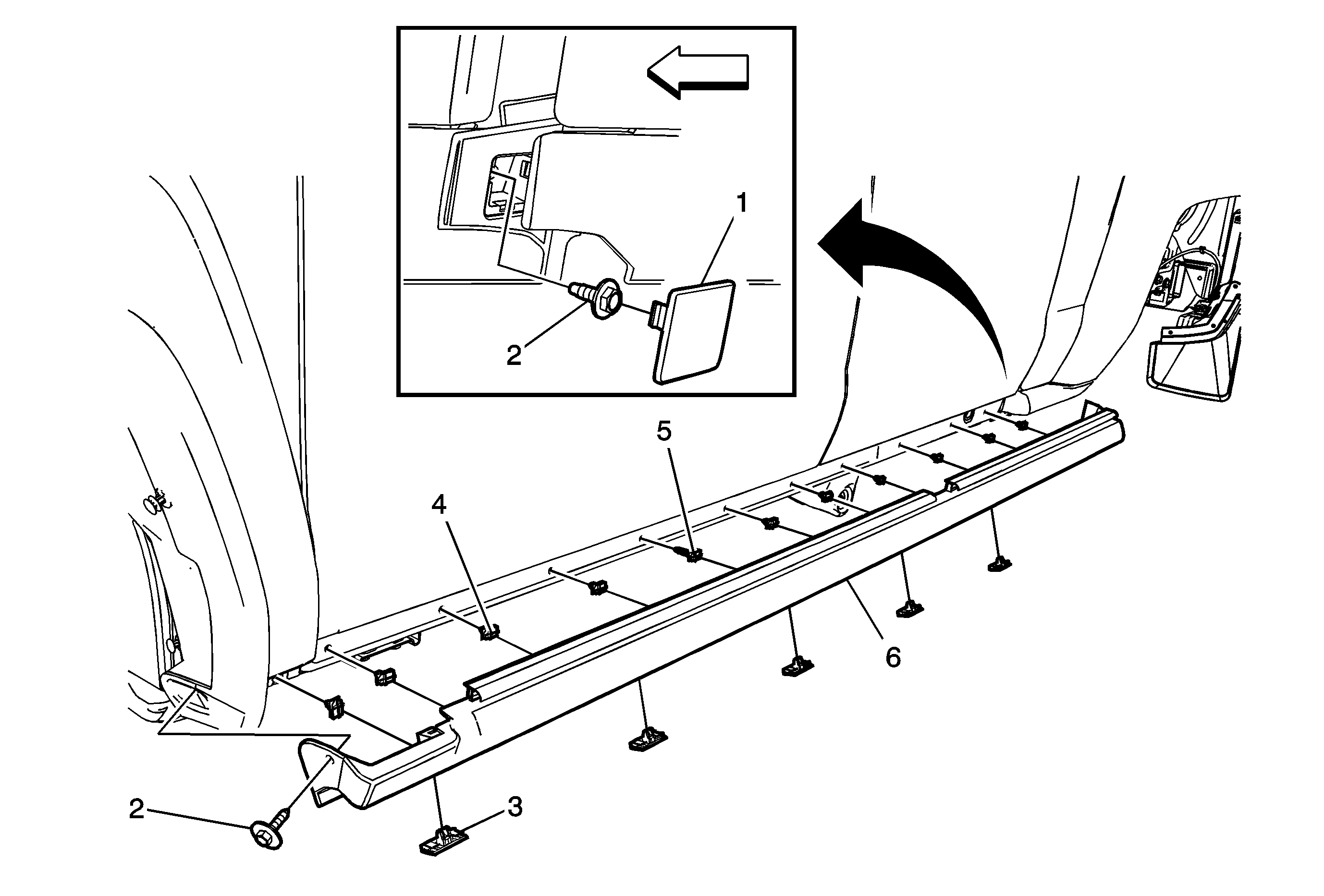
Rocker Panel Front Molding Replacement H3T


Object Number: 2087164  Size: MF

Callout

Component Name

Preliminary Procedure

Open both doors on the side the lower front rocker panel will be serviced.

1

Rocker Panel Molding Font End Cap

Tip
Using a small flat-bladed tool, release the cap from the end of the front rocker panel molding.

2

Rocker Panel Front Molding Screw (Qty: 2)

Caution: Refer to Fastener Caution in the Preface section.

Tighten
7 N·m(62 lb in)

3

Rocker Panel Front Molding Clip (Qty: 5)

Tip
Disengage the clips from the rocker panel.

4

Rocker Panel Front Molding Clip (Qty: 11)

Tip
Replace any damaged or broken clip.

5

Rocker Panel Center Alignment Clip

Tip
Position the rocker panel molding alignment clip to the rocker panel and secure the upper clips working outward in both directions.

6

Rocker Panel Front Molding