GM Service Manual Online
For 1990-2009 cars only
Table 1: Accelerator Pedal Position (APP) Sensor (LY7/L98)
Table 2: Accelerator Pedal Position (APP) Sensor (LS2) (HSV Maloo)
Table 3: A/C Refrigerant Pressure Sensor (L98)
Table 4: A/C Refrigerant Pressure Sensor (LS2) (HSV Maloo)
Table 5: A/C Refrigerant Pressure Sensor (LY7)
Table 6: Air Mix Actuator
Table 7: Ambient Light Sensor
Table 8: Automatic Transmission Shift Lever
Table 9: Automatic Transmission (4L60/4L65)
Table 10: Automatic Transmission (6L80E)
Table 11: Auxiliary Power Outlet - Console
Table 12: Backup Lamp Switch (L98)
Table 13: Backup Lamp Switch (LS2) (HSV Maloo)
Table 14: Backup Lamp Switch (LY7)
Table 15: Battery Current Sensor
Table 16: Battery Negative
Table 17: Battery Positive
Table 18: Battery Remote Positive Terminal (L98)
Table 19: Blower Motor (RHD)
Table 20: Bluetooth Connector
Table 21: Bluetooth Microphone
Table 22: Bluetooth Module
Table 23: Body Control Module (BCM) -X1
Table 24: Body Control Module (BCM) -X2
Table 25: Body Control Module (BCM) -X3
Table 26: Body Control Module (BCM) -X4
Table 27: Body Control Module (BCM) -X5
Table 28: Body Control Module (BCM) -X6
Table 29: Body Control Module (BCM) - X7
Table 30: Brake Fluid Level Switch
Table 31: Brake Pedal Position (BPP) Sensor
Table 32: Camshaft Position (CMP) Exhaust Sensor - 1 (LY7)
Table 33: Camshaft Position (CMP) Exhaust Sensor - 2 (LY7)
Table 34: Camshaft Position (CMP) Exhaust Solenoid - 1 (LY7)
Table 35: Camshaft Position (CMP) Exhaust Solenoid - 2 (LY7)
Table 36: Camshaft Position (CMP) Intake Sensor - 1 (LY7)
Table 37: Camshaft Position (CMP) Intake Sensor - 2 (LY7)
Table 38: Camshaft Position (CMP) Intake Solenoid - 1
Table 39: Camshaft Position (CMP) Intake Solenoid - 2
Table 40: Camshaft Position (CMP) Sensor (L98)
Table 41: Camshaft Position (CMP) Sensor (LS2) (HSV Maloo)
Table 42: Center High Mounted Stop Lamp
Table 43: Cigar Lighter-Front Console
Table 44: Clutch Cruise Switch
Table 45: Clutch Safety Switch
Table 46: Clutch Start Switch V6
Table 47: Clutch Start Switch V8
Table 48: Crankshaft Position (CKP) Sensor
Table 49: Crankshaft Position (CKP) Sensor (L98)
Table 50: Crankshaft Position (CKP) Sensor (LS2) (HSV Maloo)
Table 51: Cruise Control Switch (Part of the Turn Signal Multifunction Switch)
Table 52: Data Link Connector (DLC)
Table 53: Dome Lamp
Table 54: Door Latch Assembly - LF
Table 55: Door Latch Assembly - RF
Table 56: Driving Lamp - Left (HSV Maloo)
Table 57: Driving Lamp - Right (HSV Maloo)
Table 58: Driving Lamp - HSVDR-1 (HSV Maloo)
Table 59: Electronic Brake Control Module (EBCM) - (JL4)
Table 60: Electronic Control Valve Displacement (ECVD)
Table 61: Engine Control Module - X1 (L98)
Table 62: Engine Control Module - X1 (LS2) (HSV Maloo)
Table 63: Engine Control Module - X1(LY7)
Table 64: Engine Control Module - X2 (L98)
Table 65: Engine Control Module - X2 (LS2) (HSV Maloo)
Table 66: Engine Control Module - X2 (LY7)
Table 67: Engine Coolant Temperature (ECT) Sensor (L98)
Table 68: Engine Coolant Temperature (ECT) Sensor (LS2) (HSV Maloo)
Table 69: Engine Coolant Temperature (ECT) Sensor (LY7)
Table 70: Engine Cooling Fan - Left
Table 71: Engine Cooling Fan - Right
Table 72: Engine Oil Level/Temperature Sensor (L98)
Table 73: Engine Oil Level/Temperature Sensor (LS2) (HSV Maloo)
Table 74: Engine Oil Level/Temperature Sensor (LY7)
Table 75: Engine Oil Pressure (EOP) Sensor (L98)
Table 76: Engine Oil Pressure (EOP) Sensor (LS2) (HSV Maloo)
Table 77: Engine Oil Pressure (EOP) Sensor (LY7)
Table 78: Evaporative Emission (EVAP) Canister Purge Solenoid Valve (L98)
Table 79: Evaporative Emission (EVAP) Canister Purge Solenoid Valve (LS2) (HSV Maloo)
Table 80: Evaporative Emission (EVAP) Canister Purge Solenoid Valve (LY7)
Table 81: Express Down Window Module
Table 82: Fog Lamp - Left
Table 83: Fog Lamp - Right
Table 84: Fuel Filler Door Latch
Table 85: Fuel Injector - 1 (L98)
Table 86: Fuel Injector - 1 (LS2) (HSV Maloo)
Table 87: Fuel Injector - 1 (LY7)
Table 88: Fuel Injector - 2 (L98)
Table 89: Fuel Injector - 2 (LS2) (HSV Maloo)
Table 90: Fuel Injector - 2 (LY7)
Table 91: Fuel Injector - 3 (L98)
Table 92: Fuel Injector - 3 (LS2) (HSV Maloo)
Table 93: Fuel Injector - 3 (LY7)
Table 94: Fuel Injector - 4 (L98)
Table 95: Fuel Injector - 4 (LS2) (HSV Maloo)
Table 96: Fuel Injector - 4 (LY7)
Table 97: Fuel Injector - 5 (L98)
Table 98: Fuel Injector - 5 (LS2) (HSV Maloo)
Table 99: Fuel Injector - 5 (LY7)
Table 100: Fuel Injector - 6 (L98)
Table 101: Fuel Injector - 6 (LS2) (HSV Maloo)
Table 102: Fuel Injector - 6 (LY7)
Table 103: Fuel Injector - 7 (L98)
Table 104: Fuel Injector - 7 (LS2) (HSV Maloo)
Table 105: Fuel Injector - 8 (L98)
Table 106: Fuel Injector - 8 (LS2) (HSV Maloo)
Table 107: Fuel Level Sensor - Secondary
Table 108: Fuel Level Sensor - Secondary (HSV Maloo)
Table 109: Fuel Pump and Sender Assembly
Table 110: Fuse Block - Instrument Panel
Table 111: Fuse Block - Underhood - X1 (134)
Table 112: Fuse Block - Underhood - X2 (132)
Table 113: Fuse Block - Underhood - X3 (130)
Table 114: Generator
Table 115: Headlamp and Dimmer Panel Switch
Table 116: Headlamp Assembly - Left
Table 117: Headlamp Assembly - Right
Table 118: Heated Oxygen Sensor (HO2S) Bank 1 Sensor 1 (L98)
Table 119: Heated Oxygen Sensor (HO2S) Bank 1 Sensor 1 (LS2) (HSV Maloo)
Table 120: Heated Oxygen Sensor (HO2S) Bank 1 Sensor 1 (LY7)
Table 121: Heated Oxygen Sensor (HO2S) Bank 1 Sensor 2 (L98)
Table 122: Heated Oxygen Sensor (HO2S) Bank 1 Sensor 2 (LS2) (HSV Maloo)
Table 123: Heated Oxygen Sensor (HO2S) Bank 1 Sensor 2 (LY7)
Table 124: Heated Oxygen Sensor (HO2S) Bank 2 Sensor 1 (L98)
Table 125: Heated Oxygen Sensor (HO2S) Bank 2 Sensor 1 (LS2) (HSV Maloo)
Table 126: Heated Oxygen Sensor (HO2S) Bank 2 Sensor 1 (LY7)
Table 127: Heated Oxygen Sensor (HO2S) Bank 2 Sensor 2 (L98)
Table 128: Heated Oxygen Sensor (HO2S) Bank 2 Sensor 2 (LS2) (HSV Maloo)
Table 129: Heated Oxygen Sensor (HO2S) Bank 2 Sensor 2 (LY7)
Table 130: Hood Ajar Switch
Table 131: Horn - Left X1
Table 132: Horn - Left X2
Table 133: Horn - Right X1
Table 134: Horn - Right X2
Table 135: HVAC Control Module - X1
Table 136: HVAC Control Module - X2
Table 137: HVAC Control Module - X3-C1
Table 138: Ignition Coil - 1 (L98)
Table 139: Ignition Coil - 1 (LS2) (HSV Maloo)
Table 140: Ignition Coil - 1 (LY7)
Table 141: Ignition Coil - 2 (L98)
Table 142: Ignition Coil - 2 (LS2) (HSV Maloo)
Table 143: Ignition Coil - 2 (LY7)
Table 144: Ignition Coil - 3 (L98)
Table 145: Ignition Coil - 3 (LS2) (HSV Maloo)
Table 146: Ignition Coil - 3 (LY7)
Table 147: Ignition Coil - 4 (L98)
Table 148: Ignition Coil - 4 (LS2) (HSV Maloo)
Table 149: Ignition Coil - 4 (LY7)
Table 150: Ignition Coil - 5 (L98)
Table 151: Ignition Coil - 5 (LS2) (HSV Maloo)
Table 152: Ignition Coil - 5 (LY7)
Table 153: Ignition Coil - 6 (L98)
Table 154: Ignition Coil - 6 (LS2) (HSV Maloo)
Table 155: Ignition Coil - 6 (LY7)
Table 156: Ignition Coil - 7 (L98)
Table 157: Ignition Coil - 7 (LS2) (HSV Maloo)
Table 158: Ignition Coil - 8 (L98)
Table 159: Ignition Coil - 8 (LS2) (HSV Maloo)
Table 160: Ignition Key Cylinder Lamp
Table 161: Ignition Switch
Table 162: Inflatable Restraint Front Sensor - RF
Table 163: Inflatable Restraint Front Sensor - LF
Table 164: Inflatable Restraint I/P Module - X1
Table 165: Inflatable Restraint I/P Module - X2
Table 166: Inflatable Restraint Seat Position Sensor (SPS) - Driver
Table 167: Inflatable Restraint Sensing and Diagnostic Module - X1
Table 168: Inflatable Restraint Sensing and Diagnostic Module - X2
Table 169: Inflatable Restraint Steering Wheel Module - X1
Table 170: Inflatable Restraint Steering Wheel Module - X2
Table 171: Inflatable Restraint Steering Wheel Module Coil - X1
Table 172: Inflatable Restraint Steering Wheel Module Coil - X1
Table 173: Inflatable Restraint Steering Wheel Module Coil - X2
Table 174: Inflatable Restraint Steering Wheel Module Coil - X2
Table 175: Instrument Panel Cluster (IPC)
Table 176: Instrument Panel Data Link Connector
Table 177: I/P Compartment Lamp - X1
Table 178: I/P Compartment Lamp - X2
Table 179: I/P Compartment Lamp Switch - X1
Table 180: I/P Compartment Lamp Switch - X2
Table 181: Knock Sensor (KS) Bank 1 (LY7)
Table 182: Knock Sensor (KS) Bank 2 (LY7)
Table 183: Knock Sensor (KS) Left (L98)
Table 184: Knock Sensor (KS) Left (LS2) (HSV Maloo)
Table 185: Knock Sensor (KS) Right (L98)
Table 186: Knock Sensor (KS) Right (LS2) (HSV Maloo)
Table 187: License Lamp - Unit
Table 188: Load Compartment Light (HSV Maloo)
Table 189: Manifold Absolute Pressure (MAP) Sensor (L98)
Table 190: Manifold Absolute Pressure (MAP) Sensor (LS2) (HSV Maloo)
Table 191: Mass Air Flow (MAF)/Intake Air Temperature (IAT) Sensor (LY7/L98)
Table 192: Mass Air Flow (MAF)/Intake Air Temperature (IAT) Sensor (LY7/LS2) (HSV Maloo)
Table 193: Mode Actuator - 1
Table 194: Mode Actuator - 2
Table 195: Navigation Gateway Module
Table 196: Navigation Unit - X1
Table 197: Navigation Module - X2
Table 198: Navigation Module - X3
Table 199: Navigation Module - X4
Table 200: Navigation Module - X5
Table 201: Navigation Module - X6
Table 202: Navigation Module - X7
Table 203: Object Alarm Sensor - LR Corner (HSV Maloo)
Table 204: Object Alarm Sensor - LR Middle (HSV Maloo)
Table 205: Object Alarm Sensor - RR Corner (HSV Maloo)
Table 206: Object Alarm Sensor - RR Middle (HSV Maloo)
Table 207: Oil Pressure Gauge (HSV Maloo)
Table 208: Oil Temperature Gauge (HSV Maloo)
Table 209: Outside Rear View Mirror - Left
Table 210: Outside Rear View Mirror - Right
Table 211: Park Brake Switch
Table 212: Park/Neutral Position (PNP) Switch (4L60E)
Table 213: Radio - X1 (Type A, B, C and D Infotainment System)
Table 214: Radio - X2
Table 215: Radio - X4
Table 216: Radio - X5 AM/FM Antenna
Table 217: Rear Object Alarm Module - X1 (HSV Maloo)
Table 218: Rear Object Alarm Module - X2 (HSV Maloo)
Table 219: Rear Object Alarm (HSV Maloo)
Table 220: Rear Window Defogger Grid - X1
Table 221: Rear Window Defogger Grid - X2
Table 222: Recirculation Actuator
Table 223: Remote Function Actuator
Table 224: Repeater Lamp - Left
Table 225: Repeater Lamp - Right
Table 226: Reverse Lockout Solenoid (L98)
Table 227: Reverse Lockout Solenoid (LS2) (HSV Maloo)
Table 228: Seat Adjuster Switch - Driver
Table 229: Seat Belt Pretensioner - LF
Table 230: Seat Belt Pretensioner - RF
Table 231: Seat Rear Vertical Motor - Driver
Table 232: Secondary Information Center (SIC) Module - X1
Table 233: Speaker - Center X1 (Type B and C Infotainment System)
Table 234: Speaker - Center X2 (Type B and C Infotainment System)
Table 235: Speaker - LF Door (Infotainment System)
Table 236: Speaker - LF Tweeter (Type F Infotainment System)
Table 237: Speaker - RF Door
Table 238: Speaker - RF Tweeter (Type F Infotainment System)
Table 239: Starter
Table 240: Starter
Table 241: Steering Angle Sensor
Table 242: Steering Angle Sensor (HSV Maloo)
Table 243: Steering Wheel Controls Switch Assembly
Table 244: Sunshade - Left (HSV Maloo)
Table 245: Sunshade - Right (HSV Maloo)
Table 246: Tail Lamp Assembly - Left
Table 247: Tail Lamp Assembly - Right
Table 248: Theft Deterrent Control Module
Table 249: Theft Horn X1
Table 250: Theft Horn X2
Table 251: Throttle Body (L98)
Table 252: Throttle Body (LS2) (HSV Maloo)
Table 253: Throttle Body (LY7)
Table 254: Transmission Control Module (TCM) - 5L40E
Table 255: Turn Signal Multifunction Switch
Table 256: Variable Intake Manifold (VIM) Solenoid (LY7)
Table 257: Wheel Speed Sensor (WSS) - LF
Table 258: Wheel Speed Sensor (WSS) - LR
Table 259: Wheel Speed Sensor (WSS) - RF
Table 260: Wheel Speed Sensor (WSS) - RR
Table 261: Window/Door Lock/Outside Rear-view Mirror Switch - X1
Table 262: Window/Door Lock/Outside Rear-view Mirror Switch - X2
Table 263: Window Motor - LF
Table 264: Window Motor - RF
Table 265: Windshield Washer Fluid Pump
Table 266: Windshield Wiper Motor
Table 267: Windshield Wiper/Washer Switch
Table 268: Yaw Rate and Lateral Acceleration Sensor

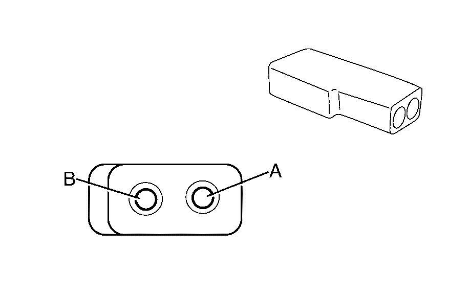
Accelerator Pedal Position (APP) Sensor (LY7/L98)


Object Number: 1989286  Size: CH

Connector Part Information

 

Pin

Wire Colour

Circuit Number

Function

1

BN/YE

1274

5-Volt Reference

2

WH/BK

1165

5-Volt Reference

3

BU/WH

116

APP Sensor 1 Signal

4

BN

1271

Low Reference

5

PU

1272

Low Reference

6

L-BU

1162

APP Sensor 2 Signal

Accelerator Pedal Position (APP) Sensor (LS2) (HSV Maloo)


Object Number: 1989286  Size: CH

Connector Part Information

 

Pin

Wire Colour

Wire Size

Function

1

BN/YE

0.5

5-Volt Reference

2

WH/BK

0.5

5-Volt Reference

3

BU/WH

0.5

APP Sensor 1 Signal

4

BN

0.5

Low Reference

5

PU

0.5

Low Reference

6

L-BU

0.5

APP Sensor 2 Signal

A/C Refrigerant Pressure Sensor (L98)


Object Number: 1989348  Size: CH

Connector Part Information

 

Pin

Wire Colour

Circuit Number

Function

1

BN/D-GN

2759

Low Reference

2

GY

2709

5-Volt Reference

3

OG/BK

380

A/C Refrigerant Pressure Sensor Signal

A/C Refrigerant Pressure Sensor (LS2) (HSV Maloo)


Object Number: 1989348  Size: CH

Connector Part Information

 

Pin

Wire Colour

Wire Size

Function

1

BN/D-GN

0.5

Low Reference

2

GY

0.5

5-Volt Reference

3

OG/BK

0.5

A/C Refrigerant Pressure Sensor Signal

A/C Refrigerant Pressure Sensor (LY7)


Object Number: 1989593  Size: CH

Connector Part Information

 

Pin

Wire Colour

Circuit Number

Function

1

BN/GN

2759

Low Reference

2

GY

2709

5-Volt Reference

3

OG/BK

380

A/C Refrigerant Pressure Sensor Signal

Air Mix Actuator


Object Number: 1989413  Size: CH

Connector Part Information

 

Pin

Wire Colour

Circuit Number

Function

1

WH

2778

Air Mix Actuator Power

2

YE

1236

Air Mix Actuator - Control

3

BK/RD

719

Low Reference

4

BK/YE

1646

Air Mix Actuator Feedback

5

BK/WH

598

5-Volt Reference

Ambient Light Sensor


Object Number: 1989649  Size: CH

Connector Part Information

 

Pin

Wire Colour

Circuit Number

Function

A

L-GN/BK

1137

DRL Ambient Light Sensor Signal

B

BK

850

Ground

Automatic Transmission Shift Lever


Object Number: 1989513  Size: CH

Connector Part Information

 

Pin

Wire Colour

Circuit Number

Function

1

PU

1375

Transmission Cruise Switch Reference

2

--

--

Not Used

3

BK

850

Ground

4

PU/RD

5526

Transmission Range Select Reference

5

--

--

Not Used

6

--

--

Not Used

7

--

--

Not Used

8

--

--

Not Used

Automatic Transmission (4L60/4L65)


Object Number: 1989508  Size: CH

Connector Part Information

 

Pin

Wire Colour

Circuit Number

Function

A

L-GN

1222

Shift Solenoid A Valve Control

B

YE/BK

1223

Shift Solenoid B Valve Control

C

OG/BK

1228

PC Solenoid Valve High Control

D

L-BU/WH

1229

PC Solenoid Valve Low Control

E

PK

439

Ignition 1 Voltage

F

--

--

Not Used

G

--

--

Not Used

H

--

--

Not Used

I

--

--

Not Used

J

--

--

Not Used

K

OG

1983

Transmission Turbine Speed Switch Signal

L

YE/BK

1227

TFT Sensor Signal

M

TN

2762

Low Reference

N

PK

1224

Transmission Fluid Pressure Switch Signal A

O

--

--

Not Used

P

OG

1226

Transmission Fluid Pressure Switch Signal C

Q

--

--

Not Used

R

D-BU

1225

Transmission Fluid Pressure Switch Signal B

S

WH/GN

687

3-2 Shift Solenoid Valve Control

T

BN/OG

422

TCC Solenoid Valve Control

U

BN

418

TCC PWM Solenoid Valve Control

V

L-BU

1984

Transmission Turbine Speed Switch Low Reference

Automatic Transmission (6L80E)


Object Number: 1989628  Size: CH

Connector Part Information

 

Pin

Wire Colour

Circuit Number

Function

1

OG/YE

3634

Battery Positive Voltage

2

BK

450

Ground

3

OG/BK

1786

Park/Neutral Signal

4

OG/YE

3640

Battery Positive Voltage

5

BK

450

Ground

6

WH/BU

17

Stop Lamp Switch Signal

7

--

--

Not Used

8

--

--

Not Used

9

D-BU

5985

TCM Accessory Signal

10

BN/BK

2500

High Speed GMLAN Serial Data Bus+

11

BN

2501

High Speed GMLAN Serial Data Bus-

12

PK

439

Ignition 1 Voltage

13

BN

2501

High Speed GMLAN Serial Data Bus-

14

BN/BK

2500

High Speed GMLAN Serial Data Bus+

15

--

--

Not Used

16

--

--

Not Used

Auxiliary Power Outlet - Console


Object Number: 1989567  Size: CH

Connector Part Information

 

Pin

Wire Colour

Circuit Number

Function

A

BN/WH

243

Accessory Voltage

B

BK

2050

Ground

Backup Lamp Switch (L98)


Object Number: 1989579  Size: CH

Connector Part Information

 

Pin

Wire Colour

Circuit Number

Function

A

L-GN

5007

Backup Lamp Switch Signal

B

BK

450

Ground

Backup Lamp Switch (LS2) (HSV Maloo)


Object Number: 1989579  Size: CH

Connector Part Information

 

Pin

Wire Colour

Wire Size

Function

A

L-GN

0.5

Backup Lamp Switch Signal

B

BK

0.5

Ground

Backup Lamp Switch (LY7)


Object Number: 1989579  Size: CH

Connector Part Information

 

Pin

Wire Colour

Circuit Number

Function

1

L-GN

5007

Backup Lamp Switch Signal

2

BK

450

Ground

Battery Current Sensor


Object Number: 1989591  Size: CH

Connector Part Information

 

Pin

Wire Colour

Circuit Number

Function

A

PK

5076

5-Volt Reference

B

BN

5077

Low Reference

C

WH/GN

5075

Battery Current Signal

Battery Negative


Object Number: 1989390  Size: CH

Connector Part Information

 

Pin

Wire Colour

Circuit Number

Function

1

BK

50

Ground


Battery Positive


Object Number: 1989393  Size: CH

Connector Part Information

 

Pin

Wire Colour

Circuit Number

Function

J1

RD

50

Battery Positive

J2

RD

1242

Battery Positive

J3

RD/BK

1042

Battery Positive

Battery Remote Positive Terminal (L98)

 

Connector Part Information

Positive Jump Start Terminal

Pin

Wire Color

Circuit Number

Function

1

RD

1

Battery Positive Voltage

Blower Motor (RHD)


Object Number: 1989417  Size: CH

Connector Part Information

 

Pin

Wire Colour

Circuit Number

Function

A

GN

442

Battery Positive Voltage

B

OG

5987

HVAC Blower Motor Control Circuit

Bluetooth Connector


Object Number: 1989266  Size: CH

Connector Part Information

 

Pin

Wire Colour

Circuit Number

Function

X1-1

OG/WH

2340

Battery Positive Voltage

X1-2

PK/BU

1339

Ignition 1 Voltage

X1-3

L-GN

24

Backup Lamp Supply Voltage

X1-4

D-GN

5060

Low Speed GMLAN Serial Data

X1-5

BN

443

Accessory Voltage

X1-6

BU

7148

Bluetooth Connector

X1-7

OG/BK

1406

Remote Playback Device Left Audio Signal

X1-8

L-BU

1405

Telephone Audio Signal (+)

X1-9

WH

700

Mute Signal

X1-10

BK

1050

Ground

X1-11

D-BU

658

Cellular Telephone Voice Signal

X1-12

L-BU/BK

659

Cellular Telephone Voice Low Reference

X1-13

YE/BK

693

Cellular Telephone Mute Signal

X1-14

GY

118

Left Front Speaker Output (-)

X1-15

TN

201

Left Front Speaker Output (+)

X1-16

--

--

Not Used

Bluetooth Microphone


Object Number: 1989273  Size: CH

Connector Part Information

 

Pin

Wire Colour

Circuit Number

Function

1

GY/BK

7043

Microphone Signal

2

--

--

Not Used

3

--

--

Not Used

4

PK/BK

7044

Microphone Return

Bluetooth Module


Object Number: 1989278  Size: CH

Connector Part Information

 

Pin

Wire Colour

Circuit Number

Function

X1-1

L-BU/BK

659

Cellular Telephone Voice Low Reference

X1-2

--

--

Not Used

X1-3

--

--

Not Used

X1-4

BU

7148

Blue Tooth Signal

X1-5

BU

7043

Microphone Signal

X1-6

YE/BK

693

Cellular Telephone Mute Signal

X1-7

BN

443

Accessory Voltage

X1-8

--

--

Not Used

X1-9

D-BU

658

Cellular Telephone Voice Signal

X1-10

--

--

Not Used

X1-11

--

--

Not Used

X1-12

PK/BK

7044

Microphone Return

X1-13

--

--

Not Used

X1-14

--

--

Not Used

X1-15

BK

1050

Ground

X1-16

OG/WH

2340

Battery Positive Voltage

Body Control Module (BCM) -X1


Object Number: 1989630  Size: CH

Connector Part Information

 

Pin

Wire Colour

Circuit Number

Function

X1-1

--

--

Not Used

X1-2

WH

1390

Ignition Key Resistor Low Reference

X1-3

GY

1884

Cruise Control Switch Signal

X1-4

WH/BK

1073

Ignition Key Resistor Signal

X1-5

L-GN

1715

Windshield Wiper Switch High Signal

X1-6

--

--

Not Used

X1-7

--

--

Not Used

X1-8

BK/WH

1251

Wiper Switch Low Reference

X1-9

L-BU

1714

Windshield Wiper Switch Low Signal

X1-10

--

--

Not Used

X1-11

--

--

Not Used

X1-12

--

--

Not Used

X1-13

--

--

Not Used

X1-14

PK

3

Run/Crank Voltage

X1-15

L-BU/WH

1414

Left Turn Signal Switch Signal

X1-16

D-BU/WH

1416

Right Turn Signal Switch Signal

X1-17

PU

1375

Steering Wheel Control Supply Voltage

X1-18

PU/YE

524

Headlamp Dimmer Switch High Beam Signal

X1-19

--

--

Not Used

X1-20

PU/RD

5526

Transmission Electronic Range Select Signal

X1-21

BN

4

Ignition 1 Voltage

X1-22

--

--

Not Used

X1-23

--

--

Not Used

X1-24

OG

94

Windshield Washer Switch Signal

X1-25

BN/RD

1356

Flash To Pass Switch Signal

X1-26

--

--

Not Used

X1-27

--

--

Not Used

Body Control Module (BCM) -X2


Object Number: 1989633  Size: CH

Connector Part Information

 

Pin

Wire Colour

Circuit Number

Function

X2-1

OG

1732

Inadvertent Power Supply Voltage

X2-2

OG/BU

1240

Battery Positive Voltage

X2-3

GY

8

Instrument Panel Lamp Supply Voltage

X2-4

--

--

Not Used

X2-5

D-BU/WH

149

Courtesy Lamp Supply Voltage

X2-6

--

--

Not Used

X2-7

--

--

Not Used

X2-8

BN/WH

301

Park Lamp Switch On Signal

X2-9

--

--

Not Used

X2-10

--

--

Not Used

X2-11

L-GN/BK

1137

DRL Ambient Light Sensor Signal

X2-12

WH

103

Headlamp Switch Headlamps On Signal

X2-13

--

--

Not Used

X2-14

--

--

Not Used

X2-15

--

--

Not Used

X2-16

--

--

Not Used

X2-17

D-GN

306

Headlamp Switch Headlamps Off Signal

X2-18

PK/BK

1597

Courtesy Lamps Switch Signal

X2-19

--

--

Not Used

X2-20

L-BU

553

Tow/Haul Switch Signal

X2-21

BN/OG

1571

Traction Control Switch Signal

X2-22

--

--

Not Used

X2-23

--

--

Not Used

X2-24

--

--

Not Used

X2-25

PU

328

Interior Lamp Switch Signal

Body Control Module (BCM) -X3


Object Number: 1989634  Size: CH

Connector Part Information

 

Pin

Wire Colour

Circuit Number

Function

X3-1

BK

850

Ground

X3-2

OG/YE

1640

Battery Positive Voltage

X3-3

OG/RD

2740

Battery Positive Voltage

X3-4

--

--

Not Used

X3-5

BK

850

Ground

X3-6

--

--

Not Used

X3-7

GY

728

Security Indicator Control

X3-8

BN/BK

2500

High Speed GMLAN Serial Data Bus+

X3-9

BN

2501

High Speed GMLAN Serial Data Bus-

X3-10

D-GN

5060

Low Speed GMLAN Serial Data

X3-11

--

--

Not Used

X3-12

--

--

Not Used

X3-13

L-GN

526

Stop Lamp Switch Signal

X3-14

BN/RD

552

Low Reference

X3-15

GY

598

5-Volt Reference

X3-16

BN/BK

2500

High Speed GMLAN Serial Data Bus+

X3-17

BN

2501

High Speed GMLAN Serial Data Bus-

X3-18

YE

6817

LED Backlight Dimming Control

X3-19

PU/WH

5727

Communication Enable Relay Control

X3-20

--

--

Not Used

X3-21

OG

192

Fog Lamp Switch

X3-22

--

--

Not Used

X3-23

--

--

Not Used

X3-24

--

--

Not Used

X3-25

--

--

Not Used

Body Control Module (BCM) -X4


Object Number: 1989636  Size: CH

Connector Part Information

 

Pin

Wire Colour

Circuit Number

Function

X4-1

OG/RD

340

Battery Positive Voltage

X4-2

OG

240

Battery Positive Voltage

X4-3

GN

440

Battery Positive Voltage

X4-4

OG/PU

2140

Battery Positive Voltage

X4-5

D-BU/WH

1315

Right Front Turn Signal Lamp Supply Voltage

X4-6

--

--

Not Used

X4-7

YE

196

Windshield Wiper Motor Park Switch Signal

X4-8

--

--

Not Used

X4-9

BK

1650

Ground

X4-10

OG/BU

2440

Battery Positive Voltage

X4-11

D-GN/WH

1317

Fog Lamp Relay - Coil - Output

X4-12

--

--

Not Used

X4-13

--

--

Not Used

X4-14

--

--

Not Used

X4-15

OG

2286

Washer Fluid Pump Relay Control

X4-16

BN/YE

1969

Headlamp High Beam Relay Control

X4-17

PK/BK

109

Hood Ajar Switch Signal

X4-18

--

--

Not Used

X4-19

D-BU

5985

TCM Accessory Signal

X4-20

--

--

Not Used

X4-21

PK

1439

Run/Crank Control

X4-22

--

--

Not Used

X4-23

--

--

Not Used

X4-24

D-GN

646

Backup Lamp Relay Control

X4-25

--

--

Not Used

Body Control Module (BCM) -X5


Object Number: 1989638  Size: CH

Connector Part Information

 

Pin

Wire Colour

Circuit Number

Function

X5-1

YE/BK

1334

Left Rear Turn Signal Lamp Supply Voltage

X5-2

D-GN/WH

1335

Right Rear Turn Signal Lamp Supply Voltage

X5-3

--

--

Not Used

X5-4

L-BU/WH

1314

Left Front Turn Signal Lamp Supply

X5-5

--

--

Not Used

X5-6

WH/BU

17

Stop Lamp Switch Signal

X5-7

--

--

Not Used

X5-8

PK

5076

5-Volt Reference

X5-9

WH/GN

5075

Battery Current Signal

X5-10

BN

5077

Low Reference

X5-11

BN/YE

707

RAP Relay Coil Supply Voltage

X5-12

--

--

Not Used

X5-13

--

--

Not Used

X5-14

YE

43

Accessory Power Relay Control

X5-15

PU

5531

Hood Closed Switch Signal

X5-16

OG/BK

233

Park Brake Switch Signal

X5-17

--

--

Not Used

X5-18

BN/BK

28

Horn Relay Control

X5-19

--

--

Not Used

X5-20

GY

91

Windshield Wiper Switch Signal 2

X5-21

BN/RD

860

Front Windshield Wiper Switch High Signal

X5-22

--

--

Not Used

X5-23

PK/WH

1970

Headlamp Low Beam Relay Control

X5-24

WH/YE

1080

Park Lamp Relay Control

X5-25

--

--

Not Used

Body Control Module (BCM) -X6


Object Number: 1989640  Size: CH

Connector Part Information

 

Pin

Wire Colour

Circuit Number

Function

X6-1

--

--

Not Used

X6-2

L-BU

20

Stop Lamp Supply Voltage

X6-3

--

--

Not Used

X6-4

--

--

Not Used

X6-5

--

--

Not Used

X6-6

--

--

Not Used

X6-7

--

--

Not Used

X6-8

BN/WH

746

Passenger Front Door Ajar Switch Signal

X6-9

--

--

Not Used

X6-10

GY/BK

745

Driver Door Ajar Switch Signal

X6-11

--

--

Not Used

X6-12

--

--

Not Used

X6-13

--

--

Not Used

X6-14

--

--

Not Used

X6-15

--

--

Not Used

X6-16

--

--

Not Used

X6-17

--

--

Not Used

X6-18

--

--

Not Used

X6-19

--

--

Not Used

X6-20

PK

781

Driver Door Lock Switch Unlock Signal

X6-21

--

--

Not Used

X6-22

--

--

Not Used

X6-23

PK/BK

780

Driver Door Lock Switch Lock Signal

X6-24

--

--

Not Used

X6-25

--

--

Not Used

Body Control Module (BCM) - X7


Object Number: 2026050  Size: CH

Connector Part Information

 

Pin

Wire Colour

Circuit Number

Function

X7-1

--

--

Not Used

X7-2

--

--

Not Used

X7-3

--

--

Not Used

X7-4

--

--

Not Used

X7-5

--

--

Not Used

X7-6

L-BU

5921

Driver Door / Fuel Door Unlock Control

X7-7

BU/WH

195

Door Lock Relay Control

X7-8

--

--

Not Used

X7-9

WH

194

Door Unlock Control

X7-10

GY/BU

7388

Dimmer Control Up Signal

X7-11

BN/BK

254

Rear Door Lock Switch Unlock Signal

X7-12

GY/BK

255

Rear Door Lock Switch Lock Signal

X7-13

--

--

Not Used

X7-14

--

--

Not Used

X7-15

--

--

Not Used

X7-16

--

--

Not Used

X7-17

--

--

Not Used

X7-18

--

--

Not Used

X7-19

--

--

Not Used

X7-20

--

--

Not Used

X7-21

--

--

Not Used

X7-22

--

--

Not Used

X7-23

--

--

Not Used

X7-24

GY/WH

7389

Dimmer Control Down Signal

X7-25

--

--

Not Used

X7-26

--

--

Not Used

X7-27

--

--

Not Used

X7-28

--

--

Not Used

Brake Fluid Level Switch


Object Number: 1989576  Size: CH

Connector Part Information

 

Pin

Wire Colour

Circuit Number

Function

1

BN/WH

33

Brake Warning Indicator Control

2

BK

350

Ground

Brake Pedal Position (BPP) Sensor


Object Number: 2026052  Size: CH

Connector Part Information

 

Pin

Wire Colour

Circuit Number

Function

A

GY

598

5-Volt Reference

B

L-GN

526

Stop Lamp Switch Signal

C

BN/RD

552

Low Reference

Camshaft Position (CMP) Exhaust Sensor - 1 (LY7)


Object Number: 1989582  Size: CH

Connector Part Information

 

Pin

Wire Colour

Circuit Number

Function

1

PK/BK

632

Low Reference

2

D-GN

5273

CMP Sensor Signal - Exhaust Bank 1

3

GY

705

5-Volt Reference

Camshaft Position (CMP) Exhaust Sensor - 2 (LY7)


Object Number: 1989582  Size: CH

Connector Part Information

 

Pin

Wire Colour

Circuit Number

Function

1

PK/BK

632

Low Reference

2

PU

5274

CMP Sensor Signal - Exhaust Bank 2

3

GY

705

5-Volt Reference

Camshaft Position (CMP) Exhaust Solenoid - 1 (LY7)


Object Number: 1989584  Size: CH

Connector Part Information

 

Pin

Wire Colour

Circuit Number

Function

1

PK/BU

5293

Ignition 1 Voltage

2

L-GN

5282

CMP Actuator Solenoid Control - Exhaust Bank 1

Camshaft Position (CMP) Exhaust Solenoid - 2 (LY7)


Object Number: 1989584  Size: CH

Connector Part Information

 

Pin

Wire Colour

Circuit Number

Function

1

PK/BU

5293

Ignition 1 Voltage

2

WH/BK

5283

CMP Actuator Solenoid Control - Exhaust Bank 2

Camshaft Position (CMP) Intake Sensor - 1 (LY7)


Object Number: 1989582  Size: CH

Connector Part Information

 

Pin

Wire Colour

Circuit Number

Function

1

PK/BK

632

Low Reference

2

OG/BU

5275

CMP Sensor Signal - Intake Bank 1

3

GY

705

5-Volt Reference

Camshaft Position (CMP) Intake Sensor - 2 (LY7)


Object Number: 1989582  Size: CH

Connector Part Information

 

Pin

Wire Colour

Circuit Number

Function

1

PK/BK

632

Low Reference

2

YE/RD

5276

CMP Sensor Signal - Intake Bank 2

3

GY

705

5-Volt Reference

Camshaft Position (CMP) Intake Solenoid - 1


Object Number: 1989584  Size: CH

Connector Part Information

 

Pin

Wire Colour

Circuit Number

Function

1

PK/BU

5293

Ignition 1 Voltage

2

PU

5284

CMP Actuator Solenoid Control - Intake Bank 1

Camshaft Position (CMP) Intake Solenoid - 2


Object Number: 1989584  Size: CH

Connector Part Information

 

Pin

Wire Colour

Circuit Number

Function

1

PK/BU

5293

Ignition 1 Voltage

2

OG/BK

5272

CMP Actuator Solenoid Control - Intake Bank 2

Camshaft Position (CMP) Sensor (L98)


Object Number: 1989349  Size: CH

Connector Part Information

 

Pin

Wire Colour

Circuit Number

Function

A

OG

631

5-Volt Reference

B

PK/BK

632

Low Reference

C

BN/WH

633

CMP Sensor Signal

Camshaft Position (CMP) Sensor (LS2) (HSV Maloo)


Object Number: 1989349  Size: CH

Connector Part Information

Metri-Pack 150 Series, Sealed

Pin

Wire Colour

Wire Size

Function

A

OG

0.5

5-Volt Reference

B

PK/BK

0.5

Low Reference

C

BN/WH

0.5

CMP Sensor Signal

Center High Mounted Stop Lamp


Object Number: 2026053  Size: CH

Connector Part Information

 

Pin

Wire Colour

Circuit Number

Function

A

L-BU

20

Stop Lamp Supply Voltage

B

BK

1650

Ground

Cigar Lighter-Front Console


Object Number: 1989571  Size: CH

Connector Part Information

 

Pin

Wire Colour

Circuit Number

Function

X1-A

GY

8

Instrument Panel Lamp Supply Voltage

X1-B

BN/YE

143

Accessory Voltage

X1-C

BK

850

Ground

Clutch Cruise Switch


Object Number: 1989292  Size: CH

Connector Part Information

 

Pin

Wire Colour

Circuit Number

Function

1

OG/YE

6109

Clutch Position Sensor Reference

2

--

--

Not Used

3

YE

6111

Clutch Position Sensor Signal

4

BN/YE

6110

Clutch Position Sensor Return

Clutch Safety Switch


Object Number: 1989292  Size: CH

Connector Part Information

 

Pin

Wire Colour

Circuit Number

Function

1

OG/YE

6109

Clutch Position Sensor Reference

2

--

--

Not Used

3

YE

6111

Clutch Position Sensor Signal

4

BN/YE

6110

Clutch Position Sensor Return

Clutch Start Switch V6


Object Number: 1989292  Size: CH

Connector Part Information

 

Pin

Wire Colour

Circuit Number

Function

1

OG/YE

6109

Clutch Position Sensor Reference

2

--

--

Not Used

3

YE

6111

Clutch Position Sensor Signal

4

BN/YE

6110

Clutch Position Sensor Return

Clutch Start Switch V8


Object Number: 1989292  Size: CH

Connector Part Information

 

Pin

Wire Colour

Circuit Number

Function

1

OG/YE

6109

Clutch Position Sensor Reference

2

--

--

Not Used

3

YE

6111

Clutch Position Sensor Signal

4

BN/YE

6110

Clutch Position Sensor Return

Crankshaft Position (CKP) Sensor


Object Number: 1989587  Size: CH

Connector Part Information

 

Pin

Wire Colour

Circuit Number

Function

1

PU

574

Low Reference

2

YE/BU

573

CKP Sensor Signal

3

PU/WH

605

5-Volt Reference

Crankshaft Position (CKP) Sensor (L98)


Object Number: 1989351  Size: CH

Connector Part Information

 

Pin

Wire Colour

Circuit Number

Function

A

D-BU/WH

1869

CKP Sensor Signal

B

YE/BK

1868

Low Reference

C

L-GN

1867

5-Volt Reference

Crankshaft Position (CKP) Sensor (LS2) (HSV Maloo)


Object Number: 1989351  Size: CH

Connector Part Information

Metri-Pack 150 Series, Sealed

Pin

Wire Colour

Wire Size

Function

A

D-BU/WH

0.5

CKP Sensor Signal

B

YE/BK

0.5

Low Reference

C

L-GN

0.5

5-Volt Reference

Cruise Control Switch (Part of the Turn Signal Multifunction Switch)


Object Number: 1989295  Size: CH

Connector Part Information

 

Pin

Wire Colour

Circuit Number

Function

1

BK

850

Ground

2

BN/RD

1356

Flash To Pass Switch Signal

3

PU/YE

524

Headlamp Dimmer Switch High Beam Signal

4

BK

850

Ground

5

GY

1884

Cruise Control Switch Signal

6

PU

1375

5-Volt Reference

7

D-BU/WH

1450

Right Turn Signal Switch Signal

8

L-BU/WH

1414

Left Turn Signal Switch Signal

Data Link Connector (DLC)


Object Number: 1989641  Size: CH

Connector Part Information

 

Pin

Wire Colour

Circuit Number

Function

1

D-GN

5060

Low Speed GMLAN Serial Data

2

--

--

Not Used

3

--

--

Not Used

4

BK

850

Ground

5

BK

850

Ground

6

BN/WH

2500

High Speed GMLAN Serial Data Bus+

7

--

--

Not Used

8

--

--

Not Used

9

--

--

Not Used

10

--

--

Not Used

11

--

--

Not Used

12

--

--

Not Used

13

--

--

Not Used

14

BN

2501

High Speed GMLAN Serial Data Bus-

15

--

--

Not Used

16

OG/WH

1840

Battery Positive Voltage

Dome Lamp


Object Number: 1989320  Size: CH

Connector Part Information

 

Pin

Wire Colour

Circuit Number

Function

1

BK/WH

851

Ground

2

PK/BK

1597

Courtesy Lamp Switch on Signal

3

PU

328

Interior Lamp Supply Voltagel

4

D-BU/WH

149

Courtesy Lamp Supply Voltage

Door Latch Assembly - LF


Object Number: 1989610  Size: CH

Connector Part Information

 

Pin

Wire Colour

Circuit Number

Function

1

--

--

Not Used

2

BN/RD

294

Door Lock Actuator Unlock Control

3

GN/WH

295

Door Lock Actuator Lock Control

4

--

--

Not Used

5

--

--

Not Used

6

BN/WH

746

Passenger Door Ajar Switch Signal

7

--

--

Not Used

8

BK

2050

Ground

9

--

--

Not Used

10

--

--

Not Used

Door Latch Assembly - RF


Object Number: 1989610  Size: CH

Connector Part Information

 

Pin

Wire Colour

Circuit Number

Function

1

GY/BK

745

Right Front Door Ajar Switch Signal

2

--

--

Not Used

3

BK

1350

Ground

4

PK

781

Driver Door Lock Switch Unlock Signal

5

--

--

Not Used

6

--

--

Not Used

7

BN/RD

694

Driver Door Lock Actuator Unlock Control

8

GN/WH

295

Door Lock Actuator Lock Control

9

PK/BK

780

Driver Door Lock Switch Lock Signal

10

--

--

Not Used

Driving Lamp - Left (HSV Maloo)


Object Number: 1989643  Size: CH

Connector Part Information

 

Pin

Wire Colour

Wire Size

Function

A

PU

0.75

Front Driving Lamp Relay Supply Voltage

B

BK

0.75

Ground

Driving Lamp - Right (HSV Maloo)


Object Number: 1989643  Size: CH

Connector Part Information

 

Pin

Wire Colour

Wire Size

Function

A

PU

0.75

Front DrivingLamp Relay Supply Voltage

B

BK

0.75

Ground

Driving Lamp - HSVDR-1 (HSV Maloo)


Object Number: 1989648  Size: CH

Connector Part Information

Male

Pin

Wire Colour

Wire Size

Function

1

BL

0.3

Ground

2

RE / BL

0.3

Voltage Supply

Electronic Brake Control Module (EBCM) - (JL4)


Object Number: 1989569  Size: CH

Connector Part Information

 

Pin

Wire Colour

Circuit Number

Function

1

BK

350

Ground

2

RD/BK

142

Battery Positive Voltage

3

OG

3540

Battery Positive Voltage

4

BK

350

Ground

5

L-BU

830

Left Front Wheel Speed Sensor Signal

6

GY

7127

Left Rear Wheel Speed Sensor Supply Voltage

7

GY

7128

Right Rear Wheel Speed Sensor Supply Voltage

8

BN

882

Right Rear Wheel Speed Sensor Signal

9

GY

7065

Right Front Wheel Speed Sensor Supply Voltage

10

D-GN

872

Right Front Wheel Speed Sensor Signal

11

--

--

Not Used

12

--

--

Not Used

13

--

--

Not Used

14

BN

2501

High Speed GMLAN Serial Data Bus-

15

BK/BU

2088

Steering Wheel Position Low Refernce

16

BN/WH

2086

Yaw Rate Sensor Test Control

17

--

--

Not Used

18

D-GN

2087

Steering Wheel Sensor 5 Volt Reference

19

--

--

Not Used

20

PU/WH

1699

Combined Vehicle Sensor Signal (LAT/LONG)

21

--

--

Not Used

22

--

--

Not Used

23

--

--

Not Used

24

--

--

Not Used

25

BN

2501

High Speed GMLAN Serial Data Bus-

26

GY

7064

Left Front Wheel Speed Sensor Supply Voltage

27

BN/BK

884

Left Rear Wheel Speed Sensor Signal

28

L-BU

5986

Communication Enable Relay Supply Voltage

29

--

--

Not Used

30

--

--

Not Used

31

--

--

Not Used

32

--

--

Not Used

33

--

--

Not Used

34

--

--

Not Used

35

BN/BK

2500

High Speed GMLAN Serial Data Bus+

36

--

--

Not Used

37

L-GN/BK

5352

Yaw Rate Sensor Test Control

38

--

--

Not Used

39

--

--

Not Used

40

--

--

Not Used

41

--

--

Not Used

42

--

--

Not Used

43

--

--

Not Used

44

--

--

Not Used

45

BN/BK

2500

High Speed GMLAN Serial Data Bus+

46

--

--

Not Used

Electronic Control Valve Displacement (ECVD)


Object Number: 1989420  Size: CH

Connector Part Information

 

Pin

Wire Colour

Circuit Number

Function

1

D-BU

7393

A/C Compressor Low Reference

2

D-GN

7392

A/C Compressor Supply Voltage

Engine Control Module - X1 (L98)


Object Number: 1989343  Size: CH

Connector Part Information

 

Pin

Wire Colour

Circuit Number

Function

X1-1

OG/BK

1876

Park/Neutral Signal

X1-2

--

--

Not Used

X1-3

--

--

Not Used

X1-4

--

--

Not Used

X1-5

--

--

Not Used

X1-6

--

--

Not Used

X1-7

--

--

Not Used

X1-8

L-GN

5007

Backup Lamp Switch Signal

X1-9

WH/BU

17

Stop Lamp Switch Signal

X1-10

PU/WH

1668

HO2S High Signal (Bank 1 Sensor 2)

X1-11

BN/WH

1669

HO2S Low Signal (Bank 1 Sensor 2)

X1-12

OG/BK

380

A/C Refrigerant Pressure Sensor Signal

X1-13

BN/D-GN

2759

Low Reference

X1-14

--

--

Not Used

X1-15

--

--

Not Used

X1-16

PU

1589

Fuel Level Sensor Signal (Primary)

X1-17

D-BU/BK

473

High Speed Cooling Fan Relay Control

X1-18

D-BU

5985

TCM Accessory Signal

X1-19

PK

439

Ignition 1 Voltage

X1-20

OG/BK

540

Battery Positive Voltage

X1-21

--

--

Not Used

X1-22

--

--

Not Used

X1-23

PU

1272

Low Reference

X1-24

--

--

Not Used

X1-25

--

--

Not Used

X1-26

YE

6111

Sensor Clutch Position Signal

X1-27

BN

2501

High Speed GMLAN Serial Data Bus-

X1-28

BN/BK

2500

High Speed GMLAN Serial Data Bus+

X1-29

BU/WH

1161

APP Sensor 1 Signal

X1-30

BN

1271

Low Reference

X1-31

BN/YE

452

Low Reference

X1-32

L-BU

1162

APP Sensor 2 Signal

X1-33

--

--

Not Used

X1-34

GY

2709

5-Volt Reference

X1-35

--

--

Not Used

X1-36

BN/YE

1274

5-Volt Reference

X1-37

BN/RD

472

IAT Sensor Signal

X1-38

BN/WH

2760

Low Reference

X1-39

--

--

Not Used

X1-40

--

--

Not Used

X1-41

YE

492

MAF Sensor Signal

X1-42

BN/YE

6110

Sensor Clutch Position Return

X1-43

--

--

Not Used

X1-44

--

--

Not Used

X1-45

--

--

Not Used

X1-46

--

--

Not Used

X1-47

PK/BU

5290

Ignition 1 Voltage

X1-48

--

--

Not Used

X1-49

BN/WH

1671

HO2S Low Signal (Bank 2 Sensor 2)

X1-50

D-GN/WH

465

Fuel Pump Relay Control (Primary)

X1-51

--

--

Not Used

X1-52

YE

447

Starter Relay Coil Control

X1-53

--

--

Not Used

X1-54

OG/YE

6109

Clutch Pedal Position Sensor Reference

X1-55

--

--

Not Used

X1-56

WH/BK

1164

5-Volt Reference

X1-57

--

--

Not Used

X1-58

D-GN

335

Low Speed Cooling Fan Relay Control

X1-59

BN

5069

Main Relay Control

X1-60

--

--

Not Used

X1-61

--

--

Not Used

X1-62

--

--

Not Used

X1-63

--

--

Not Used

X1-64

OG/WH

3223

HO2S Heater Low Control (Bank 2 Sensor 2)

X1-65

BN

3122

HO2S Heater Low Control (Bank 1 Sensor 2)

X1-66

--

--

Not Used

X1-67

--

--

Not Used

X1-68

BN/WH

419

MIL Control

X1-69

PU

1670

HO2S High Signal (Bank 2 Sensor 2)

X1-70

L-BU

1937

Fuel Level Sensor Signal (Secondary)

X1-71

--

--

Not Used

X1-72

--

--

Not Used

X1-73

BK

450

Ground

Engine Control Module - X1 (LS2) (HSV Maloo)


Object Number: 1989343  Size: CH

Connector Part Information

 

Pin

Wire Colour

Wire Size

Function

X1-1

OG/BK

0.5

Park/Neutral Signal

X1-2

--

--

--

X1-3

--

--

--

X1-4

--

--

--

X1-5

--

--

--

X1-6

BN/WH

0.5

Cruise Control Disable Clutch Switch Signal

X1-7

--

--

--

X1-8

L-GN

0.5

Backup Lamp Switch Signal

X1-9

WH/BU

0.5

Stop Lamp Switch Signal

X1-10

PU/WH

0.5

HO2S High Signal (Bank 1 Sensor 2)

X1-11

BN/WH

0.5

HO2S Low Signal (Bank 1 Sensor 2)

X1-12

OG/BK

0.5

A/C Refrigerant Pressure Sensor Signal

X1-13

BN/D-GN

0.5

Low Reference

X1-14

--

--

--

X1-15

--

--

--

X1-16

PU

0.5

Fuel Level Sensor Signal (Primary)

X1-17

D-BU

0.5

High Speed Cooling Fan Relay Control

X1-18

D-BU

0.5

TCM Accessory Signal

X1-19

PK

0.5

Ignition 1 Voltage

X1-20

OG/BK

0.75

Battery Positive Voltage

X1-21

--

--

--

X1-22

--

--

--

X1-23

PU

0.5

Low Reference

X1-24

--

--

--

X1-25

--

--

--

X1-26

--

--

--

X1-27

BN

0.5

High Speed GMLAN Serial Data Bus-

X1-28

BN/BK

0.5

High Speed GMLAN Serial Data Bus+

X1-29

BU/WH

0.5

APP Sensor 1 Signal

X1-30

BN

0.5

Low Reference

X1-31

BN/YE

0.5

Low Reference

X1-32

L-BU

0.5

APP Sensor 2 Signal

X1-33

--

--

--

X1-34

GY

0.5

5-Volt Reference

X1-35

--

--

--

X1-36

BN/YE

0.5

5-Volt Reference

X1-37

BN/RD

0.5

IAT Sensor Signal

X1-38

BN/WH

0.5

Low Reference

X1-39

--

--

--

X1-40

--

--

--

X1-41

YE

0.5

MAF Sensor Signal

X1-42

--

--

--

X1-43

--

--

--

X1-44

XX

XX

High Speed Cooling Fan Relay Control

X1-45

--

--

--

X1-46

--

--

--

X1-47

BK

0.75

Ignition 1 Voltage

X1-48

--

--

--

X1-49

BN/WH

0.5

HO2S Low Signal (Bank 2 Sensor 2)

X1-50

D-GN/WH

0.5

Fuel Pump Relay Control (Primary)

X1-51

--

--

--

X1-52

YE

0.5

Starter Relay Coil Control

X1-53

--

--

--

X1-54

--

--

--

X1-55

--

--

--

X1-56

WH/BK

0.5

5-Volt Reference

X1-57

--

--

--

X1-58

D-GN

0.5

Low Speed Cooling Fan Relay Control

X1-59

BN

0.5

Main Relay Control

X1-60

--

--

--

X1-61

--

--

--

X1-62

--

--

--

X1-63

--

--

--

X1-64

OG/WH

0.5

HO2S Heater Low Control (Bank 2 Sensor 2)

X1-65

BN

0.5

HO2S Heater Low Control (Bank 1 Sensor 2)

X1-66

--

--

--

X1-67

--

--

--

X1-68

BN/WH

0.5

MIL Control

X1-69

PU

0.5

HO2S High Signal (Bank 2 Sensor 2)

X1-70

L-BU

0.5

Fuel Level Sensor Signal (Secondary)

X1-71

--

--

--

X1-72

--

--

--

X1-73

BK

2.0

Ground

Engine Control Module - X1(LY7)


Object Number: 1989334  Size: CH

Connector Part Information

 

Pin

Wire Colour

Circuit Number

Function

X1-1

L-GN

5282

Cam Phaser Exhaust 1 Signal

X1-2

PU

5284

Cam Phaser Intake 1 Signal

X1-3

--

--

Not Used

X1-4

YE/BK

846

Fuel Injector 6 Control

X1-5

D-GN/WH

428

EVAP Canister Purge Solenoid Control

X1-6

--

--

Not Used

X1-7

OG/BU

5275

Intake 1 Cam Position Sensor Signal

X1-8

--

--

Not Used

X1-9

PU

5274

Exhaust 2 Cam Position Sensor Signal

X1-10

OG/WH

225

Generator Turn On Signal

X1-11

BN

1174

Oil Level Switch Signal

X1-12

--

--

Not Used

X1-13

PK

6414

Low Reference

X1-14

BN

1997

Ether Solenoid - Feed

X1-15

GY

705

5-Volt Reference

X1-16

--

--

Not Used

X1-17

--

--

Not Used

X1-18

--

--

Not Used

X1-19

--

--

Not Used

X1-20

--

--

Not Used

X1-21

--

--

Not Used

X1-22

--

--

Not Used

X1-23

--

--

Not Used

X1-24

YE

581

TAC Motor Control - 1

X1-25

WH/BK

5283

Cam Phaser Exhaust 2 Signal

X1-26

PK/BK

1746

Fuel Injector 3 Control

X1-27

--

--

Not Used

X1-28

BN/WH

845

Fuel Injector 5 Control

X1-29

--

--

Not Used

X1-30

PU/WH

23

Generator Field Duty Cycle Signal

X1-31

--

--

Not Used

X1-32

--

--

Not Used

X1-33

YE/RD

5276

Intake 2 Cam Position Sensor Signal

X1-34

D-GN

5273

Exhaust 1 Cam Position Sensor Signal

X1-35

YE/BU

573

CKP Sensor 1 Signal

X1-36

--

--

Not Used

X1-37

--

--

Not Used

X1-38

--

--

Not Used

X1-39

GY

2701

5-Volt Reference

X1-40

GY

596

5-Volt Reference

X1-41

PK/BK

632

Low Reference

X1-42

--

--

Not Used

X1-43

BN/RD

470

Low Reference

X1-44

BK

2755

Low Reference

X1-45

PU/WH

605

5-Volt Reference

X1-46

PU

574

Low Reference

X1-47

--

--

Not Used

X1-48

BN

582

TAC Motor Control - 2

X1-49

OG/BK

5272

Cam Phaser Intake 2 Signal

X1-50

L-BU/BK

844

Fuel Injector 4 Control

X1-51

BN/BK

1744

Fuel Injector 1 Control

X1-52

L-GN/BK

1745

Fuel Injector 2 Control

X1-53

--

--

Not Used

X1-54

--

--

Not Used

X1-55

PU

2121

IC 1 Control

X1-56

L-BU

2123

IC 3 Control

X1-57

GN/RD

2125

IC 5 Control

X1-58

--

--

Not Used

X1-59

D-BU

496

Knock Sensor 1 Signal

X1-60

BN

407

Low Reference

X1-61

BN/WH

331

Oil Pressure Sensor Signal

X1-62

--

--

Not Used

X1-63

--

--

Not Used

X1-64

--

--

Not Used

X1-65

--

--

Not Used

X1-66

--

--

Not Used

X1-67

BN/YE

1664

HO2S Low Signal (Bank 1 Sensor 1)

X1-68

--

--

Not Used

X1-69

--

--

Not Used

X1-70

PU

1666

HO2S High Signal (Bank 2 Sensor 1)

X1-71

--

--

Not Used

X1-72

L-GN

3212

HO2S Low Signal (Bank 2 Sensor 1)

X1-73

--

--

Not Used

X1-74

--

--

Not Used

X1-75

--

--

Not Used

X1-76

--

--

Not Used

X1-77

--

--

Not Used

X1-78

PU

6413

Low Reference

X1-79

OG/WH

2122

IC 2 Control

X1-80

D-GN/WH

2124

IC 4 Control

X1-81

L-BU/WH

2126

IC 6 Control

X1-82

YE/GN

410

ECT Sensor Signal

X1-83

GY

1716

Low Reference

X1-84

L-BU

1876

Knock Sensor 2 Signal

X1-85

GN/YE

357

Oil Temperature Sensor Signal

X1-86

--

--

Not Used

X1-87

--

--

Not Used

X1-88

BN/BK

2752

Low Reference

X1-89

PU

486

TP Sensor 2 Signal

X1-90

D-GN

485

TP Sensor 1 Signal

X1-91

--

--

Not Used

X1-92

PU/WH

1665

HO2S High Signal (Bank 1 Sensor 1)

X1-93

BN/RD

1667

HO2S Low Signal (Bank 2 Sensor 1)

X1-94

--

--

Not Used

X1-95

--

--

Not Used

X1-96

GY/WH

3113

HO2S Heater Low Control (Bank 1 Sensor 1)

Engine Control Module - X2 (L98)


Object Number: 1989647  Size: CH

Connector Part Information

 

Pin

Wire Colour

Wire Size

Function

X2-1

--

--

Not Used

X2-2

L-GN

0.5

5-Volt Reference

X2-3

GY

0.5

5-Volt Reference

X2-4

--

--

Not Used

X2-5

BN

0.75

TAC Motor Control - 2

X2-6

YE

0.75

TAC Motor Control - 1

X2-7

--

--

Not Used

X2-8

D-GN/WH

0.5

EVAP Canister Purge Solenoid Control

X2-9

--

--

Not Used

X2-10

--

--

Not Used

X2-11

L-GN

0.75

Reverse Lockout Solenoid Control

X2-12

GY/WH

0.5

HO2S Heater Low Control (Bank 1 Sensor 1)

X2-13

L-GN

0.5

HO2S Heater Low Control (Bank 2 Sensor 1)

X2-14

--

--

Not Used

X2-15

--

--

Not Used

X2-16

--

--

Not Used

X2-17

D-BU/WH

0.75

Fuel Injector 8 Control

X2-18

BN/WH

0.75

Fuel Injector 5 Control

X2-19

YE/BK

0.75

Fuel Injector 6 Control

X2-20

BN/BK

0.75

Fuel Injector 1 Control

X2-21

YE/D-GN

0.5

ECT Sensor Signal

X2-22

BN/WH

0.5

Low Reference

X2-23

D-GN/YE

0.5

Oil Temperature Sensor Signal

X2-24

BN/RD

0.5

Low Reference

X2-25

--

--

Not Used

X2-26

D-BU

0.5

Knock Sensor 1 Signal

X2-27

GY

0.5

Low Reference

X2-28

--

--

Not Used

X2-29

L-BU

0.5

Knock Sensor 2 Signal

X2-30

TN

0.5

Low Reference

X2-31

--

--

Not Used

X2-32

PU/WH

0.5

Generator Field Duty Cycle Signal

X2-33

BN

0.5

Oil Level Switch Signal

X2-34

BK

0.5

Low Reference

X2-35

BN/BK

0.5

Low Reference

X2-36

--

--

Not Used

X2-37

L-GN/BK

0.75

Fuel Injector 2 Control

X2-38

PK/BK

0.75

Fuel Injector 3 Control

X2-39

L-BU/BK

0.75

Fuel Injector 4 Control

X2-40

OG/BK

0.75

Fuel Injector 7 Control

X2-41

GY

0.5

5-Volt Reference

X2-42

--

--

Not Used

X2-43

GY

0.5

5-Volt Reference

X2-44

OG

0.5

5-Volt Reference

X2-45

--

--

Not Used

X2-46

--

--

Not Used

X2-47

--

--

Not Used

X2-48

--

--

Not Used

X2-49

--

--

Not Used

X2-50

BN/WH

0.5

Oil Pressure Sensor Signal

X2-51

--

--

Not Used

X2-52

--

--

Not Used

X2-53

OG/BK

0.5

Low Reference

X2-54

--

--

Not Used

X2-55

--

--

Not Used

X2-56

BN/YE

0.5

HO2S Low Signal (Bank 1 Sensor 1)

X2-57

PU/WH

0.5

HO2S High Signal (Bank 1 Sensor 1)

X2-58

L-GN

0.5

MAP Sensor Signal

X2-59

PU

0.5

HO2S High Signal (Bank 2 Sensor 1)

X2-60

BN/RD

0.5

HO2S Low Signal (Bank 2 Sensor 1)

X2-61

OG/WH

0.5

Generator Turn On Signal

X2-62

--

--

Not Used

X2-63

PU

0.5

TP Sensor 2 Signal

X2-64

BN/WH

0.5

CMP Sensor Signal

X2-65

D-GN

0.5

TP Sensor 1 Signal

X2-66

PK/BK

0.5

Low Reference

X2-67

--

--

Not Used

X2-68

D-BU/WH

0.5

CKP Sensor Signal

X2-69

YE/BK

0.5

Low Reference

X2-70

PU

0.5

IC 1 Control

X2-71

PU/WH

0.5

IC 8 Control

X2-72

OG

0.5

IC 7 Control

X2-73

OG/WH

0.5

IC 2 Control

X2-74

L-BU/WH

0.5

IC 6 Control

X2-75

D-GN/RD

0.5

IC 5 Control

X2-76

D-GN/WH

0.5

IC 4 Control

X2-77

L-BU

0.5

IC 3 Control

X2-78

BN

0.5

Low Reference

X2-79

BN/WH

0.5

Low Reference

X2-80

--

--

Not Used

Engine Control Module - X2 (LS2) (HSV Maloo)


Object Number: 1989647  Size: CH

Connector Part Information

 

Pin

Wire Colour

Wire Size

Function

X2-1

--

--

--

X2-2

L-GN

0.5

12-Volt Reference

X2-3

GY

0.5

5-Volt Reference

X2-4

--

--

--

X2-5

BN

0.75

TAC Motor Control - 2

X2-6

YE

0.75

TAC Motor Control - 1

X2-7

--

--

--

X2-8

D-GN/WH

0.75

EVAP Canister Purge Solenoid Control

X2-9

--

--

--

X2-10

--

--

--

X2-11

L-GN

0.75

Reverse Lockout Solenoid Control

X2-12

GY/WH

0.5

HO2S Heater Low Control (Bank 1 Sensor 1)

X2-13

L-GN

0.5

HO2S Heater Low Control (Bank 2 Sensor 1)

X2-14

--

--

--

X2-15

--

--

--

X2-16

--

--

--

X2-17

D-BU/WH

0.75

Fuel Injector 8 Control

X2-18

BN/WH

0.75

Fuel Injector 5 Control

X2-19

YE/BK

0.75

Fuel Injector 6 Control

X2-20

BN/BK

0.75

Fuel Injector 1 Control

X2-21

YE/D-GN

0.5

ECT Sensor Signal

X2-22

BN/WH

0.5

Low Reference

X2-23

D-GN/YE

0.5

Oil Temperature Sensor Signal

X2-24

BN/RD

0.5

Low Reference

X2-25

--

--

--

X2-26

D-BU

0.5

Knock Sensor 1 Signal

X2-27

GY

0.5

Low Reference

X2-28

--

--

--

X2-29

L-BU

0.5

Knock Sensor 2 Signal

X2-30

TN

0.5

Low Reference

X2-31

--

--

--

X2-32

PU/WH

0.5

Generator Field Duty Cycle Signal

X2-33

BN

0.5

Oil Level Switch Signal

X2-34

BK

0.5

Low Reference

X2-35

BN/BK

0.5

Low Reference

X2-36

--

--

--

X2-37

L-GN/BK

0.75

Fuel Injector 2 Control

X2-38

PK/BK

0.75

Fuel Injector 3 Control

X2-39

L-BU/BK

0.75

Fuel Injector 4 Control

X2-40

OG/BK

0.75

Fuel Injector 7 Control

X2-41

GY

0.5

5-Volt Reference

X2-42

--

--

--

X2-43

GY

0.5

5-Volt Reference

X2-44

OG

0.35

12-Volt Reference

X2-45

--

--

--

X2-46

--

--

--

X2-47

--

--

--

X2-48

--

--

--

X2-49

--

--

--

X2-50

BN/WH

0.5

Oil Pressure Sensor Signal

X2-51

--

--

--

X2-52

--

--

--

X2-53

OG/BK

0.5

Low Reference

X2-54

--

--

--

X2-55

--

--

--

X2-56

BN/YE

0.5

HO2S Low Signal (Bank 1 Sensor 1)

X2-57

PU/WH

0.5

HO2S High Signal (Bank 1 Sensor 1)

X2-58

L-GN

0.5

MAP Sensor Signal

X2-59

PU

0.5

HO2S High Signal (Bank 2 Sensor 1)

X2-60

BN/RD

0.5

HO2S Low Signal (Bank 2 Sensor 1)

X2-61

OG/WH

0.5

Generator Turn On Signal

X2-62

--

--

--

X2-63

PU

0.5

TP Sensor 2 Signal

X2-64

BN/WH

0.5

CMP Sensor Signal

X2-65

D-GN

0.5

TP Sensor 1 Signal

X2-66

PK/BK

0.5

Low Reference

X2-67

--

--

--

X2-68

D-BU/WH

0.5

CKP Sensor Signal

X2-69

YE/BK

0.5

Low Reference

X2-70

PU

0.5

IC 1 Control

X2-71

PU/WH

0.5

IC 8 Control

X2-72

OG

0.5

IC 7 Control

X2-73

OG/WH

0.5

IC 2 Control

X2-74

L-BU/WH

0.5

IC 6 Control

X2-75

D-GN/RD

0.5

IC 5 Control

X2-76

D-GN/WH

0.5

IC 4 Control

X2-77

L-BU

0.5

IC 3 Control

X2-78

BN

0.5

Low Reference

X2-79

BN/WH

0.5

Low Reference

X2-80

--

--

--

Engine Control Module - X2 (LY7)


Object Number: 1989339  Size: CH

Connector Part Information

 

Pin

Wire Colour

Circuit Number

Function

X2-1

BK

450

Ground

X2-2

BK

450

Ground

X2-3

PK/BU

5290

Ignition 1 Voltage

X2-4

BK

450

Ground

X2-5

PK/BK

5290

Ignition 1 Voltage

X2-6

PK/BU

5290

Ignition 1 Voltage

X2-7

GY/WH

3122

HO2S Heater Low Control (Bank 1 Sensor 2)

X2-8

--

--

Not Used

X2-9

BN/YE

452

Low Reference

X2-10

D-GN/WH

465

Fuel Pump Relay Control (Primary)

X2-11

BN/GN

2759

Low Reference

X2-12

--

--

Not Used

X2-13

YE

492

MAF Sensor Signal

X2-14

--

--

Not Used

X2-15

BU/WH

1161

APP Sensor 1 Signal

X2-16

YE

6111

Sensor Clutch Position Signal

X2-17

OG/BK

1786

Park/Neutral/Clutch Safety Switch Signal

X2-18

L-GN

5007

Backup Lamp Switch Signal

X2-19

--

--

Not Used

X2-20

OG/WH

3223

HO2S Heater Low Control (Bank 2 Sensor 2)

X2-21

BN/WH

419

MIL Control

X2-22

BN/WH

2760

Low Reference

X2-23

BN/GN

3121

HO2S Low Signal (Bank 1 Sensor 2)

X2-24

BN/RD

3221

HO2S Low Signal (Bank 2 Sensor 2)

X2-25

L-BU

1162

APP Sensor 2 Signal

X2-26

L-BU

1937

Fuel Level Sensor Signal (1)

X2-27

--

--

Not Used

X2-28

--

--

Not Used

X2-29

--

--

Not Used

X2-30

--

--

Not Used

X2-31

--

--

Not Used

X2-32

--

--

Not Used

X2-33

--

--

Not Used

X2-34

BN

1271

Low Reference

X2-35

GY

2709

5-Volt Reference

X2-36

PU

1589

Fuel Level Sensor Signal (2)

X2-37

--

--

Not Used

X2-38

PU

3120

HO2S High Signal (Bank 1 Sensor 2)

X2-39

OG/BK

380

A/C Refrigerant Pressure Sensor Signal

X2-40

--

--

Not Used

X2-41

D-BU

5985

Ignition Switch Wake Up Signal

X2-42

BN/BK

2500

High Speed GMLAN Serial Data Bus+

X2-43

--

--

Not Used

X2-44

--

--

Not Used

X2-45

BU/BK

473

High Speed Cooling Fan Relay Control

X2-46

D-GN

335

Low Speed Cooling Fan Relay Control

X2-47

PU

1272

Low Reference

X2-48

BN/YE

1274

5-Volt Reference

X2-49

WH/BK

1164

5-Volt Reference

X2-50

BN/RD

472

IAT Sensor Signal

X2-51

PU

3220

HO2S High Signal (Bank 2 Sensor 2)

X2-52

WH/BU

17

Stop Lamp Switch Signal

X2-53

--

--

Not Used

X2-54

PK

439

Ignition 1 Voltage

X2-55

BN

2501

High Speed GMLAN Serial Data Bus-

X2-56

OG/BK

540

Battery Positive Voltage

X2-57

YE

447

Starter Relay Coil Control

X2-58

BN

5069

Main Relay Control

Engine Coolant Temperature (ECT) Sensor (L98)


Object Number: 1989346  Size: CH

Connector Part Information

 

Pin

Wire Colour

Circuit Number

Function

A

BN/WH

2761

Low Reference

B

YE/D-GN

410

ECT Sensor Signal

Engine Coolant Temperature (ECT) Sensor (LS2) (HSV Maloo)


Object Number: 1989346  Size: CH

Connector Part Information

 

Pin

Wire Colour

Wire Size

Function

A

BN/WH

0.5

Low Reference

B

YE/D-GN

0.5

ECT Sensor Signal

Engine Coolant Temperature (ECT) Sensor (LY7)


Object Number: 1989588  Size: CH

Connector Part Information

 

Pin

Wire Colour

Circuit Number

Function

1

YE/GN

410

ECT Sensor Signal

2

BK

2755

Low Reference

Engine Cooling Fan - Left


Object Number: 1989387  Size: CH

Connector Part Information

 

Pin

Wire Colour

Circuit Number

Function

A

BK

250

Ground

B

BU

409

Left Cooling Fan Motor Supply Voltage

Engine Cooling Fan - Right


Object Number: 1989387  Size: CH

Connector Part Information

 

Pin

Wire Colour

Circuit Number

Function

A

GY

532

Right Cooling Fan Motor Low Reference

B

WH

504

Right Cooling Fan Motor Supply Voltage

Engine Oil Level/Temperature Sensor (L98)


Object Number: 1989591  Size: CH

Connector Part Information

 

Pin

Wire Colour

Circuit Number

Function

A

BN

1174

Oil Level Switch Signal

B

D-GN/YE

357

Oil Temperature Sensor Signal

C

BN/RD

470

Low Reference

Engine Oil Level/Temperature Sensor (LS2) (HSV Maloo)


Object Number: 1989591  Size: CH

Connector Part Information

GT 150 Sealed 4.5

Pin

Wire Colour

Wire Size

Function

A

BN

0.5

Oil Level Switch Signal

B

YE

0.5

Oil Temperature Sensor Signal

C

BN/RD

0.5

Low Reference

Engine Oil Level/Temperature Sensor (LY7)


Object Number: 1989591  Size: CH

Connector Part Information

 

Pin

Wire Colour

Circuit Number

Function

A

BN

1174

Oil Level Switch Signal

B

GN/YE

357

Oil Temperature Sensor Signal

C

BK

2755

Low Reference

Engine Oil Pressure (EOP) Sensor (L98)


Object Number: 1989593  Size: CH

Connector Part Information

 

Pin

Wire Colour

Circuit Number

Function

1

BK

2755

Low Reference

2

GY

2705

5-Volt Reference

3

BN/WH

331

Oil Pressure Sensor Signal

Engine Oil Pressure (EOP) Sensor (LS2) (HSV Maloo)


Object Number: 1989593  Size: CH

Connector Part Information

GT 150 Series, Sealed

Pin

Wire Colour

Wire Size

Function

1

BK

0.5

Low Reference

2

GY

0.5

5-Volt Reference

3

BN/WH

0.5

Oil Pressure Sensor Signal

Engine Oil Pressure (EOP) Sensor (LY7)


Object Number: 1989593  Size: CH

Connector Part Information

 

Pin

Wire Colour

Circuit Number

Function

1

BN/RD

470

Low Reference

2

GY

596

5-Volt Reference

3

BN/WH

331

Oil Pressure Sensor Signal

Evaporative Emission (EVAP) Canister Purge Solenoid Valve (L98)


Object Number: 2026054  Size: CH

Connector Part Information

 

Pin

Wire Colour

Circuit Number

Function

1

PK/BK

5293

Ignition 1 Voltage

2

D-GN/WH

428

EVAP Canister Purge Solenoid Control

Evaporative Emission (EVAP) Canister Purge Solenoid Valve (LS2) (HSV Maloo)


Object Number: 1989355  Size: CH

Connector Part Information

Metri-Pack 150 Series, Sealed

Pin

Wire Colour

Wire Size

Function

A

PK/BU

0.75

Ignition 1 Voltage

B

D-GN/WH

0.75

EVAP Canister Purge Solenoid Control

Evaporative Emission (EVAP) Canister Purge Solenoid Valve (LY7)


Object Number: 1989595  Size: CH

Connector Part Information

 

Pin

Wire Colour

Circuit Number

Function

A

PK/BU

5293

Ignition 1 Voltage

B

D-GN/WH

428

EVAP Canister Purge Solenoid Control

Express Down Window Module


Object Number: 1989613  Size: CH

Connector Part Information

 

Pin

Wire Colour

Circuit Number

Function

1

BU/WH

666

Power Window Motor Right Front Up Control

2

BN/OG

165

Power Window Motor Left Front Down Control

3

L-BU

166

Power Window Master Switch Right Front Up Signal

4

--

--

Not Used

5

BK

1350

Ground

6

BN

1300

Power Window Master Switch Left Front Up Signal

7

--

--

Not Used

8

D-GN/BK

1001

RAP Supply Voltage

9

GN/BK

167

Power Window Master Switch Right Front Down Signal

10

BN

667

Power Window Motor Right Front Down Control

11

D-BU

164

Power Window Motor Left Front Up Control

12

GY/BU

1136

Power Window Motor Left Front Down Control

Fog Lamp - Left


Object Number: 1989643  Size: CH

Connector Part Information

 

Pin

Wire Colour

Circuit Number

Function

A

PU

34

Front Fog Lamp Relay Supply Voltage

B

BK

350

Ground

Fog Lamp - Right


Object Number: 1989643  Size: CH

Connector Part Information

 

Pin

Wire Colour

Circuit Number

Function

A

PU

34

Front Fog Lamp Relay Supply Voltage

B

BK

350

Ground

Fuel Filler Door Latch


Object Number: 1989614  Size: CH

Connector Part Information

 

Pin

Wire Colour

Circuit Number

Function

1

GN/WH

295

Door Lock Actuator Lock Control

2

BN/RD

694

Driver Door Lock Actuator Unlock Control

Fuel Injector - 1 (L98)


Object Number: 1989360  Size: CH

Connector Part Information

 

Pin

Wire Colour

Circuit Number

Function

A

PK/BU

5291

Ignition 1 Voltage

B

BN/BK

1744

Fuel Injector 1 Control

Fuel Injector - 1 (LS2) (HSV Maloo)


Object Number: 1989360  Size: CH

Connector Part Information

 

Pin

Wire Colour

Wire Size

Function

A

PK/BU

0.75

Ignition 1 Voltage

B

BN/BK

0.75

Fuel Injector 1 Control

Fuel Injector - 1 (LY7)


Object Number: 1989598  Size: CH

Connector Part Information

 

Pin

Wire Colour

Circuit Number

Function

A

PK/BU

5291

Ignition 1 Voltage

B

BN/BK

1744

Fuel Injector 1 Control

Fuel Injector - 2 (L98)


Object Number: 1989360  Size: CH

Connector Part Information

 

Pin

Wire Colour

Circuit Number

Function

A

PK

5292

Ignition 1 Voltage

B

L-GN/BK

1745

Fuel Injector 2 Control

Fuel Injector - 2 (LS2) (HSV Maloo)


Object Number: 1989360  Size: CH

Connector Part Information

 

Pin

Wire Colour

Wire Size

Function

A

PK

0.75

Ignition 1 Voltage

B

L-GN/BK

0.75

Fuel Injector 2 Control

Fuel Injector - 2 (LY7)


Object Number: 1989598  Size: CH

Connector Part Information

 

Pin

Wire Colour

Circuit Number

Function

A

PK

5292

Ignition 1 Voltage

B

L-GN/BK

1745

Fuel Injector 2 Control

Fuel Injector - 3 (L98)


Object Number: 1989360  Size: CH

Connector Part Information

 

Pin

Wire Colour

Circuit Number

Function

A

PK/BU

5291

Ignition 1 Voltage

B

PK/BK

1746

Fuel Injector 3 Control

Fuel Injector - 3 (LS2) (HSV Maloo)


Object Number: 1989360  Size: CH

Connector Part Information

 

Pin

Wire Colour

Wire Size

Function

A

PK/BU

0.75

Ignition 1 Voltage

B

PK/BK

0.75

Fuel Injector 3 Control

Fuel Injector - 3 (LY7)


Object Number: 1989598  Size: CH

Connector Part Information

 

Pin

Wire Colour

Circuit Number

Function

A

PK/BU

5291

Ignition 1 Voltage

B

PK/BK

1746

Fuel Injector 3 Control

Fuel Injector - 4 (L98)


Object Number: 1989360  Size: CH

Connector Part Information

 

Pin

Wire Colour

Circuit Number

Function

A

PK

5292

Ignition 1 Voltage

B

L-BU/BK

844

Fuel Injector 4 Control

Fuel Injector - 4 (LS2) (HSV Maloo)


Object Number: 1989360  Size: CH

Connector Part Information

 

Pin

Wire Colour

Wire Size

Function

A

PK

0.75

Ignition 1 Voltage

B

L-BU/BK

0.75

Fuel Injector 4 Control

Fuel Injector - 4 (LY7)


Object Number: 1989598  Size: CH

Connector Part Information

 

Pin

Wire Colour

Circuit Number

Function

A

PK

5292

Ignition 1 Voltage

B

L-BU/BK

844

Fuel Injector 4 Control

Fuel Injector - 5 (L98)


Object Number: 1989360  Size: CH

Connector Part Information

 

Pin

Wire Colour

Circuit Number

Function

A

PK/BU

5291

Ignition 1 Voltage

B

BN/WH

845

Fuel Injector 5 Control

Fuel Injector - 5 (LS2) (HSV Maloo)


Object Number: 1989360  Size: CH

Connector Part Information

 

Pin

Wire Colour

Wire Size

Function

A

PK/BU

0.75

Ignition 1 Voltage

B

BN/WH

0.75

Fuel Injector 5 Control

Fuel Injector - 5 (LY7)


Object Number: 1989598  Size: CH

Connector Part Information

 

Pin

Wire Colour

Circuit Number

Function

A

PK/BU

5291

Ignition 1 Voltage

B

BN/WH

845

Fuel Injector 5 Control

Fuel Injector - 6 (L98)


Object Number: 1989360  Size: CH

Connector Part Information

 

Pin

Wire Colour

Circuit Number

Function

A

PK

5292

Ignition 1 Voltage

B

YE/BK

846

Fuel Injector 6 Control

Fuel Injector - 6 (LS2) (HSV Maloo)


Object Number: 1989360  Size: CH

Connector Part Information

 

Pin

Wire Colour

Wire Size

Function

A

PK

0.75

Ignition 1 Voltage

B

YE/BK

0.75

Fuel Injector 6 Control

Fuel Injector - 6 (LY7)


Object Number: 1989598  Size: CH

Connector Part Information

 

Pin

Wire Colour

Circuit Number

Function

A

PK

5292

Ignition 1 Voltage

B

YE/BK

846

Fuel Injec tor 6 Control

Fuel Injector - 7 (L98)


Object Number: 1989360  Size: CH

Connector Part Information

 

Pin

Wire Colour

Circuit Number

Function

A

PK/BU

5291

Ignition 1 Voltage

B

OG/BK

877

Fuel Injector 7 Control

Fuel Injector - 7 (LS2) (HSV Maloo)


Object Number: 1989360  Size: CH

Connector Part Information

 

Pin

Wire Colour

Wire Size

Function

A

PK/BU

0.75

Ignition 1 Voltage

B

OG/BK

0.75

Fuel Injector 7 Control

Fuel Injector - 8 (L98)


Object Number: 1989360  Size: CH

Connector Part Information

 

Pin

Wire Colour

Circuit Number

Function

A

PK

5292

Ignition 1 Voltage

B

D-BU/WH

878

Fuel Injector 8 Control

Fuel Injector - 8 (LS2) (HSV Maloo)


Object Number: 1989360  Size: CH

Connector Part Information

 

Pin

Wire Colour

Wire Size

Function

A

PK

0.75

Ignition 1 Voltage

B

D-BU/WH

0.75

Fuel Injector 8 Control

Fuel Level Sensor - Secondary


Object Number: 1989600  Size: CH

Connector Part Information

 

Pin

Wire Colour

Circuit Number

Function

1

--

--

Not Used

2

L-BU

1937

Fuel Level Signal Signal (Secondary)

3

BN/YE

452

Low Reference

4

--

--

Not Used

5

--

--

Not Used

Fuel Level Sensor - Secondary (HSV Maloo)


Object Number: 1989600  Size: CH

Connector Part Information

 

Pin

Wire Colour

Wire Size

Function

Z-1

BN/YE

0.3

Fuel Level Signal (Secondary)

Z-2

L-BU

0.5

Low Reference

Z-3

--

--

--

Z-4

--

--

--

Z-5

--

--

--

Fuel Pump and Sender Assembly


Object Number: 1989603  Size: CH

Connector Part Information

 

Pin

Wire Colour

Circuit Number

Function

1

BN/YE

452

Low Reference

2

PU

1589

Fuel Level Sensor Signal [- Primary]

3

--

--

Not Used

4

BK

1350

Ground

5

GY

120

Fuel Pump Supply Voltage

Fuse Block - Instrument Panel


Object Number: 1989407  Size: CH

Connector Part Information

 

Pin

Wire Colour

Circuit Number

Function

B1-A

RD

242

Battery Positive Voltage

B1-B

OG/BU

1540

Battery Positive Voltage

B2-A

D-GN

801

RAP Supply Voltage

B2-B

D-GN

1001

RAP Supply Voltage

B3-A

RD

242

Battery Positive Voltage

B3-B

OG

1140

Battery Positive Voltage

F1-B

OG/YE

1340

Battery Positive Voltage

F2-A

RD

242

Battery Positive Voltage

F2-B

--

--

Not Used

F3-B

OG/RD

3240

Battery Positive Voltage

F4-B

OG/YE

1640

Battery Positive Voltage

F5-B

OG

240

Battery Positive Voltage

F6-A

RD/BK

642

Battery Positive Voltage

F6-B

OG/GN

440

Battery Positive Voltage

F7-B

--

--

Spare Fuse

F8-B

OG/RD

340

Battery Positive Voltage

F9-B

OG/RD

2740

Battery Positive Voltage

F10-A

RD/YE

642

Battery Positive Voltage

F10-B

OG/PU

2140

Battery Positive Voltage

F11-B

OG/BU

1240

Battery Positive Voltage

F12-B

OG/BK

1040

Battery Positive Voltage

F13-B

BN/YE

143

Accessory Voltage

F14-A

YE

643

Accessory Voltage

F14-B

BN/WH

243

Accessory Voltage

F15-B

BN/BU

343

Accessory Voltage

F16-B

BN

443

Accessory Voltage

F17-A

--

--

Not Used

F17-B

--

--

Not Used

F23-A

YE

6817

LED Backlight Dimming Control

F23-B

PU/WH

7005

I/P Dimming Control

F24-A

D-GN

801

RAP Supply Voltage

F24-B

D-GN

1301

RAP Supply Voltage

R1-30

RD

242

Battery Positive Voltage

R1-85

BN/YE

707

RAP Relay Control

R1-86

BK

850

Ground

R1-87

D-GN

801

RAP Supply Voltage

R2-30

GN/WH

295

Door Lock Actuator Lock Control

R2-85

BK

1450

Ground

R2-86

L-BU

195

Door Lock Relay Control

R2-87

OG/RD

3240

Battery Positive Voltage

R2-87A

BK

1450

Ground

R3-30

BN/RD

294

Door Lock Actuator Unlock Control

R3-85

WH

194

Door Unlock Control

R3-86

OG/RD

3240

Battery Positive Voltage

R3-87

OG/RD

3240

Battery Positive Voltage

R3-87A

BK

1450

Ground

R5-30

--

--

Not Used

R5-85

--

--

Not Used

R5-86

--

--

Not Used

R5-87

--

--

Not Used

R6-30

BN/RD

694

Driver Door Lock Actuator Unlock Control

R6-85

L-BU

5921

Driver Door/Fuel Door Unlock Control

R6-86

OG/RD

3240

Battery Positive Voltage

R6-87

OG/RD

3240

Battery Positive Voltage

R6-87A

BK

1450

Ground

R8-30

RD/BK

642

Battery Positive Voltage

R8-85

YE

43

Accessory Voltage

R8-86

BK

1450

Ground

R8-87

YE

643

Accessory Voltage

R12-30

GY

120

Fuel Pump Supply Voltage

R12-85

D-GN/WH

465

Fuel Pump Relay Control

R12-86

BK

1450

Ground

R12-87

OG/GN

2840

Battery Positive Voltage

Fuse Block - Underhood - X1 (134)


Object Number: 1989411  Size: CH

Connector Part Information

 

Pin

Wire Colour

Circuit Number

Function

1

PK/D-BU

5294

Ignition 1 Voltage

2

--

--

Not Used

3

D-GN

335

Low Speed Cooling Fan Relay Control

4

--

--

Not Used

5

PK

439

Ignition 1 Voltage

6

--

--

Not Used

7

YE

447

Starter Relay Coil Control

8

PU

293

Rear Defog Element Supply Voltage

9

PU

6

Starter Solenoid Crank Voltage

10

--

--

Not Used

11

--

--

Not Used

12

--

--

Not Used

13

--

--

Not Used

14

--

--

Not Used

15

--

--

Not Used

16

--

--

Not Used

17

--

--

Not Used

18

--

--

Not Used

19

--

--

Not Used

20

OG

3540

Battery Positive Voltage

21

--

--

Not Used

22

YE

712

Left Headlamp Low Beam Supply Voltage

23

D-BU/BK

473

High Speed Cooling Fan Relay Control

24

D-BU

5985

TCM Accessory Signal

25

PK/D-BU

5293

Ignition 1 Voltage

26

--

--

Not Used

27

--

--

Not Used

28

--

--

Not Used

29

--

--

Not Used

30

--

--

Not Used

31

OG/YE

3640

Battery Positive Voltage

32

BK

350

Ground

33

--

--

Not Used

34

WH/D-BU

17

Stop Lamp Switch Signal

35

--

--

Not Used

36

D-BU

5985

TCM Accessory Signal

37

--

--

Not Used

38

--

--

Not Used

39

--

--

Not Used

40

--

--

Not Used

41

PK/D-BU

5290

Ignition 1 Voltage

42

--

--

Not Used

43

--

--

Not Used

44

--

--

Not Used

45

BK

350

Ground

46

BK

350

Ground

47

PK

5292

Ignition 1 Voltage

48

--

--

Not Used

49

BN

5069

Main Relay Control

50

--

--

Not Used

51

PK/BU

5291

Ignition 1 Voltage

52

--

--

Not Used

53

--

--

Not Used

54

--

--

Not Used

Fuse Block - Underhood - X2 (132)


Object Number: 1989414  Size: CH

Connector Part Information

 

Pin

Wire Colour

Circuit Number

Function

1

--

--

Not Used

2

--

--

Not Used

3

--

--

Not Used

4

--

--

Not Used

5

D-GN

442

Battery Positive Voltage

6

RD/BK

642

Battery Positive Voltage

7

--

842

Spare Battery Positive Voltage

8

PU

293

Rear Defog Element Supply Voltage

9

--

542

Spare Battery Positive Voltage

10

--

--

Not Used

11

--

--

Not Used

12

--

--

Not Used

13

L-BU

5986

Communication Enable Relay Supply Voltage

14

--

--

Not Used

15

WH/YE

1080

Park Lamp Relay Control

16

--

--

Not Used

17

PK/BU

339

Ignition 1 Voltage

18

PU

34

Fog Lamps Supply Voltage

19

--

--

Not Used

20

--

--

Not Used

21

--

--

Not Used

22

--

--

Not Used

23

PU

709

Left Park Lamp Supply Voltage

24

WH/D-BU

193

Rear Defog Relay Control

25

PK/WH

1970

Headlamp Low Beam Relay Control

26

BN/RD

860

Front Windshield Wiper Switch High Signal

27

D-GN/WH

317

Fog Lamps Relay Control

28

BN/YE

1969

Headlamp High Beam Relay Control

29

BN/BK

28

Horn Relay Control

30

--

--

Not Used

31

OG

2268

Washer Fluid Pump Relay Control

32

PK

1439

Run Crank Control

33

--

--

Not Used

34

--

--

Not Used

35

--

--

Not Used

36

--

--

Not Used

37

--

--

Not Used

38

--

--

Not Used

39

--

--

Not Used

40

D-BU/WH

1315

Right Front Turn Signal Lamp Supply Voltage

41

L-GN

24

Backup Lamp Supply Voltage

42

--

--

Not Used

43

WH/BU

17

Stop Lamp Switch Signal

44

--

--

Not Used

45

D-BU

5985

TCM Accessory Signal

46

--

--

Not Used

47

--

--

Not Used

48

--

--

Not Used

49

--

--

Not Used

50

--

--

Not Used

51

--

--

Not Used

52

L-BU/WH

1314

Left Front Turn Signal Lamp Supply Voltage

53

--

--

Not Used

54

PU/WH

5727

Communication Enable Relay Control

55

D-GN

646

Reverse Relay Control

56

GY

91

Windshield Wiper Switch Signal 2

57

--

--

Not Used

58

--

--

Not Used

59

OG/GN

2240

Battery Positive Voltage

60

D-GN

1149

Theft Deterrent Horn Fuse Supply Voltage

61

--

--

Not Used

62

--

--

Not Used

63

--

--

Not Used

64

--

--

Not Used

65

BN/WH

309

Lamp Supply Voltage

66

--

--

Not Used

67

--

--

Not Used

68

PK/BU

1339

Ignition 1 Voltage

69

PU

5531

Hood Closed Switch Signal

70

PK/BK

109

Hood Ajar Switch Signal

71

--

--

Not Used

72

--

--

Not Used

73

--

--

Not Used

74

BN/WH

74

Windshield Wiper Motor High Speed

75

--

--

Not Used

76

--

--

Not Used

77

--

--

Not Used

78

RD/BU

2640

Battery Positive Voltage

79

--

--

Not Used

80

RD

242

Battery Positive Voltage

81

--

--

Not Used

82

--

--

Not Used

83

D-GN

96

Windshield Wiper Motor Low Speed

84

--

--

Not Used

Fuse Block - Underhood - X3 (130)


Object Number: 1989418  Size: CH

Connector Part Information

 

Pin

Wire Colour

Circuit Number

Function

1

WH

504

Cooling Fan Low Reference

2

--

--

Not Used

3

--

--

Not Used

4

BK

250

Ground

5

--

--

Not Used

6

OG

228

Windshield Washer Pump Control

7

--

--

Not Used

8

D-GN/WH

711

Left Headlamp High Beam Supply Voltage

9

PK/BK

109

Hood Ajar Switch Signal

10

PU

709

Left Park Lamp Supply Voltage

11

--

--

Not Used

12

--

--

Not Used

13

--

--

Not Used

14

L-BU/WH

1314

Left Front Turn Signal Lamp Supply Voltage

15

D-BU/WH

1315

Right Front Turn Signal Lamp Supply Voltage

16

--

--

Not Used

17

--

--

Not Used

18

BN/WH

309

Right Park Lamp Supply Voltage

19

--

--

Not Used

20

PU

5531

Hood Closed Switch Signal

21

BN/BK

312

Right Headlamp Low Beam Supply Voltage

22

YE

712

Left Headlamp Low Beam Supply Voltage

23

L-GN/BK

311

Right Headlamp High Beam Supply Voltage

24

--

--

Not Used

25

D-GN

1329

Horn Fuse Supply Voltage

26

--

--

Not Used

27

--

--

Not Used

28

--

--

Not Used

29

GY

532

Cooling Fan Low Reference

30

--

--

Not Used

31

--

--

Not Used

32

BU

409

Cooling Fan Motor Supply Voltage

Generator


Object Number: 1989397  Size: CH

Connector Part Information

 

Pin

Wire Colour

Circuit Number

Function

1

OG/WH

225

Generator Turn On Signal

2

PU/WH

23

Generator Field Duty Cycle Signal

Headlamp and Dimmer Panel Switch


Object Number: 1989297  Size: CH

Connector Part Information

 

Pin

Wire Colour

Circuit Number

Function

1

WH

103

Headlamp Switch Headlamps On Signal

2

--

--

Not Used

3

D-GN

306

Headlamp Switch Headlamps Off Signal/Automatic Headlamp Low Control

4

BK

850

Ground

5

BN/WH

301

Park Lamp Switch Signal

6

OG

192

Front Fog Lamp Switch Signal

7

GY/WH

7389

Dimmer Control Down Signal

8

YE

6817

LED Backlight Dimming Control

9

--

--

Not Used

10

PK/BU

1339

Ignition 1 Voltage

11

--

--

Not Used

12

GY/BU

7388

Dimmer Control Up Signal

Headlamp Assembly - Left


Object Number: 1989300  Size: CH

Connector Part Information

 

Pin

Wire Colour

Circuit Number

Function

1

BK

250

Ground

2

BK

250

Ground

3

BK

250

Ground

4

--

--

Not Used

5

--

--

Not Used

6

PU

709

Left Park Lamp Supply Voltage

7

YE

712

Left Headlamp Low Beam Supply Voltage

8

D-GN/WH

711

Left Headlamp High Beam Supply Voltage

9

L-BU/WH

1314

Left Front Turn Signal Lamp Supply Voltage

10

--

--

Not Used

Headlamp Assembly - Right


Object Number: 1989300  Size: CH

Connector Part Information

 

Pin

Wire Colour

Circuit Number

Function

1

BK

250

Ground

2

BK

250

Ground

3

BK

250

Ground

4

--

--

Not Used

5

--

--

Not Used

6

BN/WH

309

Right Park Lamp Supply Voltage

7

BN/BK

312

Right Headlamp Low Beam Supply Voltage

8

L-GN/WH

0.5

Right Headlamp High Beam Supply Voltage

9

D-BU/WH

1315

Right Front Turn Signal Lamp Supply Voltage

10

--

--

Not Used

Heated Oxygen Sensor (HO2S) Bank 1 Sensor 1 (L98)


Object Number: 1989364  Size: CH

Connector Part Information

 

Pin

Wire Colour

Circuit Number

Function

A

BN/YE

1664

HO2S Low Signal (Bank 1 Sensor 1)

B

PU/WH

1665

HO2S High Signal (Bank 1 Sensor 1)

C

GY/WH

3113

HO2S Heater Low Control (Bank 1 Sensor 1)

D

PK/BU

5293

Ignition 1 Voltage

Heated Oxygen Sensor (HO2S) Bank 1 Sensor 1 (LS2) (HSV Maloo)


Object Number: 1989364  Size: CH

Connector Part Information

 

Pin

Wire Colour

Wire Size

Function

A

BN/RD

0.5

HO2S Low Signal (Bank 1 Sensor 1)

B

PU/WH

0.5

HO2S High Signal (Bank 1 Sensor 1)

C

GY/WH

0.5

HO2S Heater Low Control (Bank 1 Sensor 1)

D

PK/BK

0.5

Ignition 1 Voltage

Heated Oxygen Sensor (HO2S) Bank 1 Sensor 1 (LY7)


Object Number: 2026055  Size: CH

Connector Part Information

 

Pin

Wire Colour

Circuit Number

Function

1

PK/BU

5293

Ignition 1 Voltage

2

GY/WH

3113

HO2S Heater Low Control (Bank 1 Sensor 1)

3

BN/YE

1664

HO2S Low Signal (Bank 1 Sensor 1)

4

PU/WH

1665

HO2S High Signal (Bank 1 Sensor 1)

Heated Oxygen Sensor (HO2S) Bank 1 Sensor 2 (L98)


Object Number: 1989368  Size: CH

Connector Part Information

 

Pin

Wire Colour

Circuit Number

Function

A

BN/WH

1669

HO2S Low Signal (Bank 1 Sensor 2)

B

PU/WH

1668

HO2S High Signal (Bank 1 Sensor 2)

C

BN

3122

HO2S Heater Low Control (Bank 1 Sensor 2)

D

PK/D-BU

5294

Ignition 1 Voltage

Heated Oxygen Sensor (HO2S) Bank 1 Sensor 2 (LS2) (HSV Maloo)


Object Number: 1989368  Size: CH

Connector Part Information

Metri-Pack 150 Sealed

Pin

Wire Colour

Wire Size

Function

A

BN/WH

0.5

HO2S Low Signal (Bank 1 Sensor 2)

B

PU/WH

0.5

HO2S High Signal (Bank 1 Sensor 2)

C

BN

0.5

HO2S Heater Low Control (Bank 1 Sensor 2)

D

PK/D-BU

0.75

Ignition 1 Voltage

Heated Oxygen Sensor (HO2S) Bank 1 Sensor 2 (LY7)


Object Number: 1989609  Size: CH

Connector Part Information

 

Pin

Wire Colour

Circuit Number

Function

1

PK/D-BU

5294

Ignition 1 Voltage

2

BN

3122

HO2S Heater Low Control (Bank 1 Sensor 2)

3

BN/GN

3121

HO2S Low Signal (Bank 1 Sensor 2)

4

PU

3120

HO2S High Signal (Bank 1 Sensor 2)

Heated Oxygen Sensor (HO2S) Bank 2 Sensor 1 (L98)


Object Number: 1989364  Size: CH

Connector Part Information

 

Pin

Wire Colour

Circuit Number

Function

A

BN/RD

1667

HO2S Low Signal (Bank 2 Sensor 1)

B

PU

1666

HO2S High Signal (Bank 2 Sensor 1)

C

L-GN

3212

HO2S Heater Low Control (Bank 2 Sensor 1)

D

PK/BU

5293

Ignition 1 Voltage

Heated Oxygen Sensor (HO2S) Bank 2 Sensor 1 (LS2) (HSV Maloo)


Object Number: 1989605  Size: CH

Connector Part Information

 

Pin

Wire Colour

Wire Size

Function

A

BN/RD

0.5

HO2S Low Signal (Bank 2 Sensor 1)

B

PU

0.5

HO2S High Signal (Bank 2 Sensor 1)

C

L-GN

0.5

HO2S Heater Low Control (Bank 2 Sensor 1)

D

PK/BK

0.5

Ignition 1 Voltage

Heated Oxygen Sensor (HO2S) Bank 2 Sensor 1 (LY7)


Object Number: 2026055  Size: CH

Connector Part Information

 

Pin

Wire Colour

Circuit Number

Function

1

PK/BU

5293

Ignition 1 Voltage

2

L-GN

3212

HO2S Low Signal (Bank 2 Sensor 1)

3

L-GN

1667

HO2S Heater Low Control (Bank 2 Sensor 1)

4

PU

1666

HO2S High Signal (Bank 2 Sensor 1)

Heated Oxygen Sensor (HO2S) Bank 2 Sensor 2 (L98)


Object Number: 1989368  Size: CH

Connector Part Information

 

Pin

Wire Colour

Circuit Number

Function

A

BN/WH

1671

HO2S Low Signal (Bank 2 Sensor 2)

B

PU

1670

HO2S High Signal (Bank 2 Sensor 2)

C

OG/WH

3223

HO2S Heater Low Control (Bank 2 Sensor 2)

D

PK/D-BU

5294

Ignition 1 Voltage

Heated Oxygen Sensor (HO2S) Bank 2 Sensor 2 (LS2) (HSV Maloo)


Object Number: 1989368  Size: CH

Connector Part Information

Metri-Pack 150 Sealed

Pin

Wire Colour

Wire Size

Function

A

BN/WH

0.5

HO2S Low Signal (Bank 2 Sensor 2)

B

PU

0.5

HO2S High Signal (Bank 2 Sensor 2)

C

OG/WH

0.5

HO2S Heater Low Control (Bank 2 Sensor 2)

D

PK/D-BU

0.75

Battery 1 Voltage

Heated Oxygen Sensor (HO2S) Bank 2 Sensor 2 (LY7)


Object Number: 1989609  Size: CH

Connector Part Information

 

Pin

Wire Colour

Circuit Number

Function

1

PK/D-BU

5294

Battery 1 Voltage

2

OG/WH

3223

HO2S Heater Low Control (Bank 2 Sensor 2)

3

BN/RD

3221

HO2S Low Signal (Bank 2 Sensor 2)

4

PU

3220

HO2S High Signal (Bank 2 Sensor 2)

Hood Ajar Switch


Object Number: 1989615  Size: CH

Connector Part Information

 

Pin

Wire Colour

Circuit Number

Function

A

PK/BK

109

Hood Ajar Switch Signal

B

PU

5531

Hood Closed Switch Signal

C

BK

250

Ground

Horn - Left X1


Object Number: 1989629  Size: CH

Connector Part Information

 

Pin

Wire Colour

Circuit Number

Function

X1-A

D-GN

1329

Content Left Horn Control

Horn - Left X2


Object Number: 1989629  Size: CH

Connector Part Information

 

Pin

Wire Colour

Circuit Number

Function

X2-A

BK

250

Ground

Horn - Right X1


Object Number: 1989629  Size: CH

Connector Part Information

 

Pin

Wire Colour

Circuit Number

Function

X1-A

D-GN

1329

Content Right Horn Control

Horn - Right X2


Object Number: 1989629  Size: CH

Connector Part Information

 

Pin

Wire Colour

Circuit Number

Function

X2-A

BK

250

Ground

HVAC Control Module - X1


Object Number: 1989423  Size: CH

Connector Part Information

 

Pin

Wire Colour

Circuit Number

Function

X1-1

OG

5987

HVAC Blower Motor Control Circuit

X1-2

BK

1450

Ground

HVAC Control Module - X2


Object Number: 1989426  Size: CH

Connector Part Information

 

Pin

Wire Colour

Circuit Number

Function

X2-1

--

--

Not Used

X2-2

--

--

Not Used

X2-3

--

--

Not Used

X2-4

--

--

Not Used

X2-5

--

--

Not Used

X2-6

WH/BU

193

Rear Defog Relay Control

X2-7

--

--

Not Used

X2-8

--

--

Not Used

X2-9

--

--

Not Used

X2-10

D-GN

5060

Low Speed GMLAN Serial Data

X2-11

--

--

Not Used

X2-12

D-BU

7393

AC Compressor Low Reference

X2-13

D-GN

7392

AC Compressor Supply Voltage

X2-14

OG/GN

2240

Battery Positive Voltage

HVAC Control Module - X3-C1


Object Number: 1989429  Size: CH

Connector Part Information

 

Pin

Wire Colour

Circuit Number

Function

X3C1-1

BK

119

Mode Actuator 1 - Control

X3C1-2

BN

2273

Mode Actuator 1 - Power

X3C1-3

GY

2275

Mode Actuator 1 - Feedback

X3C1-4

RD

1199

Mode Actuator 2 - Feedback

X3C1-5

BK/YE

1646

Air Mix Actuator - Feedback

X3C1-6

WH/RD

1838

Recirculation Actuator - Feedback

X3C1-7

BK

732

Evaporator Temperature Sensor Signal

X3C1-8

BK

731

Evaporator Temperature Sensor Low Reference

X3C1-9

BU/BK

718

Low Reference

X3C1-10

BK/RD

719

Low Reference

X3C1-11

L-GN

2210

Mode Actuator 2 - Power

X3C1-12

OG

1791

Mode Actuator 2 - Control

X3C1-13

WH

2778

Air Mix Actuator - Power

X3C1-14

YE

1236

Air Mix Actuator - Control

X3C1-15

WH/BK

2274

Recirculation Actuator - Power

X3C1-16

WH/BU

1614

Recirculation Actuator - Control

X3C1-17

GN

474

5-Volt Reference

X3C1-18

PK

1236

5-Volt Reference

X3C1-19

BK/WH

598

5-Volt Reference

X3C1-20

WH/GN

597

5-Volt Reference

X3C1-21

BU

1791

Low Reference

X3C1-22

L-BU

720

Low Reference

Ignition Coil - 1 (L98)


Object Number: 1989371  Size: CH

Connector Part Information

 

Pin

Wire Colour

Circuit Number

Function

A

BK

2450

Ground

B

BN

2129

Low Reference

C

PU

2121

IC 1 Control

D

PK/BK

5291

Ignition 1 Voltage

Ignition Coil - 1 (LS2) (HSV Maloo)


Object Number: 1989371  Size: CH

Connector Part Information

Metri-Pack 150 Series, Sealed

Pin

Wire Colour

Wire Size

Function

A

BK

0.85

Ground

B

BN

0.85

Low Reference

C

PU

0.8

IC 1 Control

D

PK/BK

0.85

Ignition 1 Voltage

Ignition Coil - 1 (LY7)


Object Number: 1989651  Size: CH

Connector Part Information

 

Pin

Wire Colour

Circuit Number

Function

A

BK

2550

Ground

B

PU

6413

Low Reference

C

PU

2121

IC 1 Control

D

PK/BU

5291

Ignition 1 Voltage

Ignition Coil - 2 (L98)


Object Number: 1989371  Size: CH

Connector Part Information

 

Pin

Wire Colour

Circuit Number

Function

A

BK

2650

Ground

B

BN/WH

2130

Low Reference

C

OG/WH

2122

IC 2 Control

D

PK/BK

5292

Ignition 1 Voltage

Ignition Coil - 2 (LS2) (HSV Maloo)


Object Number: 1989371  Size: CH

Connector Part Information

Metri-Pack 150 Series, Sealed

Pin

Wire Colour

Wire Size

Function

A

BK

0.85

Ground

B

BN/WH

0.85

Low Reference

C

OG/WH

0.5

IC 2 Control

D

PK/BK

0.85

Ignition 1 Voltage

Ignition Coil - 2 (LY7)


Object Number: 1989651  Size: CH

Connector Part Information

 

Pin

Wire Colour

Circuit Number

Function

A

BK

2650

Ground

B

PK

6413

Low Reference

C

OG/WH

2122

IC 2 Control

D

PK

5292

Ignition 1 Voltage

Ignition Coil - 3 (L98)


Object Number: 1989371  Size: CH

Connector Part Information

 

Pin

Wire Colour

Circuit Number

Function

A

BK

2450

Ground

B

BN

2129

Low Reference

C

L-BU

2123

IC 3 Control

D

PK/BK

5291

Ignition 1 Voltage

Ignition Coil - 3 (LS2) (HSV Maloo)


Object Number: 1989371  Size: CH

Connector Part Information

Metri-Pack 150 Series, Sealed

Pin

Wire Colour

Wire Size

Function

A

BK

0.85

Ground

B

BN

0.85

Low Reference

C

L-BU

0.8

IC 3 Control

D

PK/BK

0.85

Ignition 1 Voltage

Ignition Coil - 3 (LY7)


Object Number: 1989651  Size: CH

Connector Part Information

 

Pin

Wire Colour

Circuit Number

Function

A

BK

2550

Ground

B

PU

6413

Low Reference

C

L-BU

2123

IC 3 Control

D

PK/BU

5291

Ignition 1 Voltage

Ignition Coil - 4 (L98)


Object Number: 1989371  Size: CH

Connector Part Information

 

Pin

Wire Colour

Circuit Number

Function

A

BK

2650

Ground

B

BN/WH

2130

Low Reference

C

D-GN/WH

2124

IC 4 Control

D

PK/BK

5292

Ignition 1 Voltage

Ignition Coil - 4 (LS2) (HSV Maloo)


Object Number: 1989371  Size: CH

Connector Part Information

Metri-Pack 150 Series, Sealed

Pin

Wire Colour

Wire Size

Function

A

BK

0.85

Ground

B

BN/WH

0.85

Low Reference

C

D-GN/WH

0.5

IC 4 Control

D

PK/BK

0.85

Ignition 1 Voltage

Ignition Coil - 4 (LY7)


Object Number: 1989651  Size: CH

Connector Part Information

 

Pin

Wire Colour

Circuit Number

Function

A

BK

2650

Ground

B

PK

6414

Low Reference

C

D-GN/WH

2124

IC 4 Control

D

PK

5292

Ignition 1 Voltage

Ignition Coil - 5 (L98)


Object Number: 1989371  Size: CH

Connector Part Information

 

Pin

Wire Colour

Circuit Number

Function

A

BK

2450

Ground

B

BN

2129

Low Reference

C

D-GN

2125

IC 5 Control

D

PK/BK

5291

Ignition 1 Voltage

Ignition Coil - 5 (LS2) (HSV Maloo)


Object Number: 1989371  Size: CH

Connector Part Information

Metri-Pack 150 Series, Sealed

Pin

Wire Colour

Wire Size

Function

A

BK

0.85

Ground

B

BN

0.85

Low Reference

C

D-GN

0.8

IC 5 Control

D

PK/BK

0.85

Ignition 1 Voltage

Ignition Coil - 5 (LY7)


Object Number: 1989651  Size: CH

Connector Part Information

 

Pin

Wire Colour

Circuit Number

Function

A

BK

2550

Ground

B

PU

6413

Low Reference

C

GN/RD

2125

IC 5 Control

D

PK/BU

0.75

Ignition 1 Voltage

Ignition Coil - 6 (L98)


Object Number: 1989371  Size: CH

Connector Part Information

 

Pin

Wire Colour

Circuit Number

Function

A

BK

2650

Ground

B

BN/WH

2130

Low Reference

C

L-BU/WH

2126

IC 6 Control

D

PK/BK

5292

Ignition 1 Voltage

Ignition Coil - 6 (LS2) (HSV Maloo)


Object Number: 1989371  Size: CH

Connector Part Information

Metri-Pack 150 Series, Sealed

Pin

Wire Colour

Wire Size

Function

A

BK

0.85

Ground

B

BN/WH

0.85

Low Reference

C

L-BU/WH

0.5

Left Front Door Open Switch Signal

D

PK/BK

0.85

Ignition 1 Voltage

Ignition Coil - 6 (LY7)


Object Number: 1989651  Size: CH

Connector Part Information

 

Pin

Wire Colour

Circuit Number

Function

A

BK

2650

Ground

B

PK

6414

Low Reference

C

L-BU/WH

2126

IC 6 Control

D

PK

5292

Ignition 1 Voltage

Ignition Coil - 7 (L98)


Object Number: 1989371  Size: CH

Connector Part Information

 

Pin

Wire Colour

Circuit Number

Function

A

BK

2450

Ground

B

BN

2129

Low Reference

C

OG

2127

IC 7 Control

D

PK/BK

5291

Ignition 1 Voltage

Ignition Coil - 7 (LS2) (HSV Maloo)


Object Number: 1989371  Size: CH

Connector Part Information

Metri-Pack 150 Series, Sealed

Pin

Wire Colour

Wire Size

Function

A

BK

0.85

Ground

B

BN

0.85

Low Reference

C

OG

0.8

IC 7 Control

D

PK/BK

0.85

Ignition 1 Voltage

Ignition Coil - 8 (L98)


Object Number: 1989371  Size: CH

Connector Part Information

 

Pin

Wire Colour

Circuit Number

Function

A

BK

2650

Ground

B

BN/WH

2130

Low Reference

C

PU/WH

2128

IC 8 Control

D

PK/BK

5292

Ignition 1 Voltage

Ignition Coil - 8 (LS2) (HSV Maloo)


Object Number: 1989371  Size: CH

Connector Part Information

Metri-Pack 150 Series, Sealed

Pin

Wire Colour

Wire Size

Function

A

BK

0.85

Ground

B

BN/WH

0.85

Low Reference

C

PU/WH

0.5

IC 8 Control

D

PK/BK

0.85

Ignition 1 Voltage

Ignition Key Cylinder Lamp


Object Number: 1989305  Size: CH

Connector Part Information

 

Pin

Wire Colour

Circuit Number

Function

A

D-BU/WH

149

Courtesy Lamp Supply Voltage

B

BK

850

Ground

Ignition Switch


Object Number: 1989421  Size: CH

Connector Part Information

 

Pin

Wire Colour

Circuit Number

Function

1

PK

3

Run/Crank Voltage

2

OG/BK

1040

Battery Positive Voltage

3

BN

4

Accessory Voltage

4

WH

390

Ignition Key Resistor Low Reference

5

--

--

Not Used

6

WH/BK

1073

Ignition Key Resistor Signal

Inflatable Restraint Front Sensor - RF


Object Number: 1989463  Size: CH

Connector Part Information

 

Pin

Wire Colour

Circuit Number

Function

1

YE

354

Discriminating Sensor - Signal

2

BN/YE

5045

Discriminating Sensor - Low Reference

Inflatable Restraint Front Sensor - LF


Object Number: 1989463  Size: CH

Connector Part Information

 

Pin

Wire Colour

Circuit Number

Function

1

D-GN

1409

Discriminating Sensor - Signal

2

GY

5600

Discriminating Sensor - Low Reference

Inflatable Restraint I/P Module - X1


Object Number: 1989466  Size: CH

Connector Part Information

 

Pin

Wire Colour

Circuit Number

Function

X1-1

BU

3024

I/P Module - Stage 1 - Low Control

X1-2

YE

3025

I/P Module - Stage 1 - High Control

Inflatable Restraint I/P Module - X2


Object Number: 1989468  Size: CH

Connector Part Information

 

Pin

Wire Colour

Circuit Number

Function

X2-1

PU

3026

I/P Module - Stage 2 - Low Control

X2-2

D-GN

3027

I/P Module - Stage 2 - High Control

Inflatable Restraint Seat Position Sensor (SPS) - Driver


Object Number: 2026057  Size: CH

Connector Part Information

 

Pin

Wire Colour

Circuit Number

Function

A

PK/BU

5055

Seat Position Sensor - Right Front - Signal

B

PU/WH

1363

Seat Belt Switch - Right Front - Low Reference

Inflatable Restraint Sensing and Diagnostic Module - X1


Object Number: 1989457  Size: CH

Connector Part Information

 

Pin

Wire Colour

Circuit Number

Function

X1-1

BN

3020

Steering Wheel Module - Stage1 - Low Control

X1-2

BN/RD

3021

Steering Wheel Module - Stage1 - High Control

X1-3

WH

3023

Steering Wheel Module - Stage2 - High Control

X1-4

PK

3022

Steering Wheel Module - Stage2 - Low Control

X1-5

--

--

Not Used

X1-6

--

--

Not Used

X1-7

--

--

Not Used

X1-8

--

--

Not Used

X1-9

--

--

Not Used

X1-10

--

--

Not Used

X1-11

--

--

Not Used

X1-12

--

--

Not Used

X1-13

--

--

Not Used

X1-14

--

--

Not Used

X1-15

--

--

Not Used

X1-16

--

--

Not Used

X1-17

--

--

Not Used

X1-18

--

--

Not Used

X1-19

GY

5600

Discriminating Sensor - Low Reference

X1-20

D-GN

1409

Discriminating Sensor - Signal

X1-21

PK/BU

339

Ignition 1 Voltage

X1-22

OG/YE

1340

Battery Positive Voltage

X1-23

--

--

Not Used

X1-24

BK/WH

1751

Ground

Inflatable Restraint Sensing and Diagnostic Module - X2


Object Number: 1989461  Size: CH

Connector Part Information

 

Pin

Wire Colour

Circuit Number

Function

X2-1

--

--

Not Used

X2-2

--

--

Not Used

X2-3

--

--

Not Used

X2-4

--

--

Not Used

X2-5

--

--

Not Used

X2-6

--

--

Not Used

X2-7

PU

3026

I/P Module - Stage 2 - Low Control

X2-8

D-GN

3027

I/P Module - Stage 2 - High Control

X2-9

YE

3025

I/P Module - Stage 1 - High Control

X2-10

BU

3024

I/P Module - Stage 1 - Low Control

X2-11

--

--

Not Used

X2-12

--

--

Not Used

X2-13

--

--

Not Used

X2-14

--

--

Not Used

X2-15

BK/WH

2118

Seat Belt Pretensioner - High Control

X2-16

OG/BK

2119

Seat Belt Pretensioner - Low Control

X2-17

OG

2117

Seat Belt Pretensioner - Low Control

X2-18

L-GN

2116

Seat Belt Pretensioner - High Control

X2-19

--

--

Not Used

X2-20

--

--

Not Used

X2-21

--

--

Not Used

X2-22

--

--

Not Used

X2-23

YE

354

Discriminating Sensor - Signal

X2-24

BN/YE

5045

Discriminating Sensor - Low Reference

X2-25

--

--

Not Used

X2-26

--

--

Not Used

X2-27

--

--

Not Used

X2-28

--

--

Not Used

X2-29

--

--

Not Used

X2-30

--

--

Not Used

X2-31

--

--

Not Used

X2-32

--

--

Not Used

X2-33

--

--

Not Used

X2-34

--

--

Not Used

X2-35

L-GN

5055

Seat Position Sensor - Right Front - Signal

X2-36

BK/WH

238

Seat Belt Switch - Right Front

X2-37

--

--

Not Used

X2-38

D-BU

1363

Seat Belt Switch - Right Front - Low Reference

X2-39

--

--

Not Used

X2-40

D-GN

5060

Low Speed GMLAN Serial Data

Inflatable Restraint Steering Wheel Module - X1


Object Number: 1989472  Size: CH

Connector Part Information

 

Pin

Wire Colour

Circuit Number

Function

X1-1

BN

3020

Steering Wheel Module - Stage1 - Low Control

X1-2

TN

3021

Steering Wheel Module - Stage1 - High Control

Inflatable Restraint Steering Wheel Module - X2


Object Number: 1989476  Size: CH

Connector Part Information

 

Pin

Wire Colour

Circuit Number

Function

X2-1

PK

3022

Steering Wheel Module - Stage2 - Low Control

X2-2

WH

3023

Steering Wheel Module - Stage2 - High Control

Inflatable Restraint Steering Wheel Module Coil - X1


Object Number: 2026058  Size: CH

Connector Part Information

 

Pin

Wire Colour

Circuit Number

Function

X1-A

GY/BU

7367

Steering Wheel Resistor Ladder Right Signal #2

X1-B

BN/GN

7364

Steering Wheel Resistor Ladder Right Signal #1

X1-C

BN

7312

Steering Wheel Resistor Ladder Left Signal #1

X1-D

L-BU

7313

Steering Wheel Resistor Ladder Left Signal #2

X1-E

BN/WH

897

DIC Switch Low Reference

X1-F

OG/BK

5201

Steering Wheel Controls Signal

X1-G

BK

850

Ground

X1-H

PU/WH

7005

I/P Dimming Control

X1-I

--

--

Not Used

X1-J

BN/BK

28

Horn Relay Control

X1-K

--

--

Not Used

Inflatable Restraint Steering Wheel Module Coil - X1


Object Number: 2026047  Size: CH

Connector Part Information

 

Pin

Wire Colour

Circuit Number

Function

X1-A

GY/BU

7367

Steering Wheel Resistor Ladder Right Signal #2

X1-B

YE

7364

Steering Wheel Resistor Ladder Right Signal #1

X1-C

BN

7312

Steering Wheel Resistor Ladder Left Signal #1

X1-D

L-BU

7313

Steering Wheel Resistor Ladder Left Signal #2

X1-E

GN

897

DIC Switch Low Reference

X1-F

OG/BK

5201

Steering Wheel Controls Signal

X1-G

BK

850

Ground

X1-H

PU

7005

I/P Dimming Control

X1-J

BK/WH

28

Horn Relay Control

X1-K

--

--

Not Used

Inflatable Restraint Steering Wheel Module Coil - X2


Object Number: 1989332  Size: CH

Connector Part Information

 

Pin

Wire Colour

Circuit Number

Function

A-1

TN

3021

Steering Wheel Module - Stage1 - High Control

A-2

BN

3020

Steering Wheel Module - Stage1 - Low Control

B-1

WH

3023

Steering Wheel Module - Stage2 - High Control

B-2

PK

3022

Steering Wheel Module - Stage2 - Low Control

Inflatable Restraint Steering Wheel Module Coil - X2


Object Number: 1989326  Size: CH

Connector Part Information

 

Pin

Wire Colour

Circuit Number

Function

A-1

BN/RD

3021

Steering Wheel Module - Stage1 - High Control

A-2

BN

3020

Steering Wheel Module - Stage1 - Low Control

B-1

WH

3023

Steering Wheel Module - Stage2 - High Control

B-2

PK

3022

Steering Wheel Module - Stage2 - Low Control

Instrument Panel Cluster (IPC)


Object Number: 1989639  Size: CH

Connector Part Information

 

Pin

Wire Colour

Circuit Number

Function

1

OG/WH

1840

Battery Positive Voltage

2

GY

728

Security Indicator Control

3

BU

7148

Bluetooth Signal

4

--

--

Not Used

5

--

--

Not Used

6

BN

7312

Steering Wheel Resistor Ladder Left Signal #1

7

GY/BU

7367

Steering Wheel Resistor Ladder Right SIgnal #2

8

BN/GN

7364

Steering Wheel Resistor Ladder Right Signal #1

9

BK

850

Ground

10

PK

3

Ignition 1 Voltage

11

BN/WH

419

MIL Control

12

OG/BK

5201

Steering Wheel Controls Signal

13

BN/WH

33

Brake Warning Indicator Control

14

--

--

Not Used

15

D-GN

5060

Low Speed GMLAN Serial Data

16

--

--

Not Used

17

L-BU

7313

Steering Wheel Resistor Ladder Left Signal #2

18

BN/WH

897

DIC Switch Low Reference

Instrument Panel Data Link Connector


Object Number: 2026059  Size: CH

Connector Part Information

 

Pin

Wire Colour

Circuit Number

Function

1

D-GN

5060

Low Speed GMLAN Serial Data

2

D-GN

5060

Low Speed GMLAN Serial Data

3

D-GN

5060

Low Speed GMLAN Serial Data

4

D-GN

5060

Low Speed GMLAN Serial Data

5

D-GN

5060

Low Speed GMLAN Serial Data

6

D-GN

5060

Low Speed GMLAN Serial Data

7

--

--

Not Used

8

D-GN

5060

Low Speed GMLAN Serial Data

9

--

--

Not Used

10

--

--

Not Used

11

D-GN

5060

Low Speed GMLAN Serial Data

12

D-GN

5060

Low Speed GMLAN Serial Data

I/P Compartment Lamp - X1


Object Number: 1989629  Size: CH

Connector Part Information

 

Pin

Wire Colour

Circuit Number

Function

X1-A

OG

1732

Glovebox Courtesy Lamp Supply Voltage

I/P Compartment Lamp - X2


Object Number: 1989629  Size: CH

Connector Part Information

 

Pin

Wire Colour

Circuit Number

Function

X2-A

PU

175

Glove Box Lamp Control

I/P Compartment Lamp Switch - X1


Object Number: 1989274  Size: CH

Connector Part Information

 

Pin

Wire Colour

Circui Number

Function

X1-A

PU

175

Glove Box Lamp Control

I/P Compartment Lamp Switch - X2


Object Number: 1989274  Size: CH

Connector Part Information

 

Pin

Wire Colour

Circuit Number

Function

X2-A

BK

1450

Ground

Knock Sensor (KS) Bank 1 (LY7)


Object Number: 1989588  Size: CH

Connector Part Information

 

Pin

Wire Colour

Circuit Number

Function

1

D-BU

496

Knock Sensor 1 Signal

2

GY

1716

Low Reference Knock Sensor Signal Return

Knock Sensor (KS) Bank 2 (LY7)


Object Number: 1989588  Size: CH

Connector Part Information

 

Pin

Wire Colour

Circuit Number

Function

1

L-BU

1876

Knock Sensor 2 Signal

2

BN

407

Low Reference Knock Sensor Signal Return

Knock Sensor (KS) Left (L98)


Object Number: 1989375  Size: CH

Connector Part Information

 

Pin

Wire Colour

Circuit Number

Function

1

D-BU

496

Knock Sensor 1 Signal

2

GY

1716

Low Reference Knock Sensor Signal Return

Knock Sensor (KS) Left (LS2) (HSV Maloo)


Object Number: 1989375  Size: CH

Connector Part Information

GT 150 Sealed

Pin

Wire Colour

Wire Size

Function

1

D-BU

0.5

Knock Sensor 1 Signal

2

GY

0.5

Low Reference Knock Sensor Signal Return

Knock Sensor (KS) Right (L98)


Object Number: 1989375  Size: CH

Connector Part Information

 

Pin

Wire Colour

Circuit Number

Function

1

L-BU

1876

Knock Sensor 2 Signal

2

TN

407

Low Reference Knock Sensor S ignal Return

Knock Sensor (KS) Right (LS2) (HSV Maloo)


Object Number: 1989375  Size: CH

Connector Part Information

GT 150 Sealed

Pin

Wire Colour

Wire Size

Function

1

L-BU

0.5

Knock Sensor 2 Signal

2

TN

0.5

Low Reference Knock Sensor Signal Return

License Lamp - Unit


Object Number: 1989307  Size: CH

Connector Part Information

 

Pin

Wire Colour

Circuit Number

Function

1

BN/WH

309

Lamp Supply Voltage

2

BK

1850

Ground

Load Compartment Light (HSV Maloo)


Object Number: 2034920  Size: CH

Connector Part Information

 

Pin

Wire Colour

Circuit Number

Function

1

OR

1732

Courtesy Lamps Supply Voltage

2

BK

0737

Ground

Manifold Absolute Pressure (MAP) Sensor (L98)


Object Number: 1989351  Size: CH

Connector Part Information

 

Pin

Wire Colour

Circuit Number

Function

1

GY

2704

5-Volt Reference

2

OG/BK

469

Low Reference

3

L-GN

432

MAP Sensor Signal

Manifold Absolute Pressure (MAP) Sensor (LS2) (HSV Maloo)


Object Number: 1989351  Size: CH

Connector Part Information

Metri-Pack 150 Series, Sealed

Pin

Wire Colour

Wire Size

Function

A

OG/BK

0.5

Low Reference

B

L-GN

0.5

MAP Sensor Signal

C

GY

0.5

5-Volt Reference

Mass Air Flow (MAF)/Intake Air Temperature (IAT) Sensor (LY7/L98)


Object Number: 1989316  Size: CH

Connector Part Information

 

Pin

Wire Colour

Circuit Number

Function

A

YE

492

MAF Sensor Signal

B

PK

439

Ignition 1 Voltage

C

BK

450

Ground

D

BN/RD

472

IAT Sensor Signal

E

BN/WH

2760

Low Reference

Mass Air Flow (MAF)/Intake Air Temperature (IAT) Sensor (LY7/LS2) (HSV Maloo)


Object Number: 1989316  Size: CH

Connector Part Information

GT 150 Sealed 4.0

Pin

Wire Colour

Wire Size

Function

A

YE

0.5

MAF Sensor Signal

B

PK

0.5

Ignition 1 Voltage

C

BK

0.5

Ground

D

BN/RD

0.5

IAT Sensor Signal

E

BN/WH

0.5

Low Reference

Mode Actuator - 1


Object Number: 1989413  Size: CH

Connector Part Information

 

Pin

Wire Colour

Circuit Number

Function

1

BN

2273

Mode Actuator 1 - Power

2

BK

119

Mode Actuator 1 - Control

3

BU

1791

Low Reference

4

GY

2275

Mode Actuator 1 - Feedback

5

GN

474

5-Volt Reference

Mode Actuator - 2


Object Number: 1989413  Size: CH

Connector Part Information

 

Pin

Wire Colour

Circuit Number

Function

1

L-GN

2210

Mode Actuator 2 - Power

2

OG

1791

Mode Actuator 2 - Control

3

L-BU

720

Low Reference

4

RD

1199

Mode Actuator 2 - Feedback

5

PK

1236

5-Volt Reference

Navigation Gateway Module


Object Number: 1989506  Size: CH

Connector Part Information

 

Pin

Wire Colour

Wire Size

Function

1

BN

0.3

Navigation Display Serial Data High

2

OG

0.3

Navigation Display Serial Data High

3

OG

0.85

Mute Signal

4

--

--

Not Used

5

L-GN

0.5

Low Speed GMLAN Serial Data

6

OG/WH

0.85

Battery Positive Voltage

7

YE

0.3

Navigation Display Serial Data Low

8

YE

0.3

Backlight Lamps Control

9

--

--

Not Used

10

--

--

Not Used

11

--

--

Not Used

12

BK/WH

0.5

Ground

Navigation Unit - X1


Object Number: 1989512  Size: CH

Connector Part Information

 

Pin

Wire Colour

Wire Size

Function

X1-A1

--

--

Not Used

X1-A2

--

--

Not Used

X1-A3

--

--

Not Used

X1-A4

OG/WH

0.85

Battery Positive Voltage

X1-A6

YE

0.3

Backlight Lamps Control

X1-A7

OG

0.3

Navigation Control Signal

X1-A8

BK/WH

0.85

Ground

Navigation Module - X2


Object Number: 1989517  Size: CH

Connector Part Information

 

Pin

Wire Colour

Wire Size

Function

X2-A1

--

--

Not Used

X2-A2

--

--

Not Used

X2-A3

--

--

Not Used

X2-A4

--

--

Not Used

X2-A5

PK/BK

0.3

Navigation Mono Audio Signal (+)

X2-A6

OG/BK

0.3

Navigation Mono Audio Signal (-)

X2-A7

--

--

Not Used

X2-A8

--

--

Not Used

Navigation Module - X3


Object Number: 1989520  Size: CH

Connector Part Information

 

Pin

Wire Colour

Wire Size

Function

X3-C1

--

--

Not Used

X3-C2

--

--

Not Used

X3-C3

--

--

Not Used

X3-C4

--

--

Not Used

X3-C4

--

--

Not Used

X3-C5

--

--

Not Used

X3-C6

--

--

Not Used

X3-C7

BN

0.3

Navigation Display Serial Data High

X3-C8

YE

0.3

Navigation Display Serial Data Low

X3-C9

--

--

Not Used

X3-C10

--

--

Not Used

X3-C11

--

--

Not Used

X3-C12

--

--

Not Used

X3-C13

--

--

Not Used

X3-C14

--

--

Not Used

X3-C15

--

--

Not Used

X3-C16

--

--

Not Used

X3-C17

--

--

Not Used

X3-C18

--

--

Not Used

X3-C19

--

--

Not Used

X3-C20

--

--

Not Used

Navigation Module - X4


Object Number: 1989524  Size: CH

Connector Part Information

 

Pin

Wire Colour

Wire Size

Function

X4-A1

--

--

Not Used

X4-A2

--

--

Not Used

X4-A3

--

--

Not Used

X4-A4

OG

0.85

Mute Signal

X4-A5

--

--

Not Used

X4-A6

--

--

Not Used

X4-A7

--

--

Not Used

X4-A8

--

--

Not Used

X4-A9

--

--

Not Used

X4-A10

--

--

Not Used

Navigation Module - X5


Object Number: 1989526  Size: CH

Connector Part Information

 

Pin

Wire Colour

Wire Size

Function

X5-A

OG

0.5

Antenna Signal

X5-B

GY

0.5

Drain Wire

Navigation Module - X6


Object Number: 1989528  Size: CH

Connector Part Information

 

Pin

Wire Colour

Wire Size

Function

X6-1

RD

0.3

Video Connector - R

X6-2

GN

0.3

Video Connector - G

X6-3

WH

0.3

Video Connector - B

X6-4

BK

0.3

Ground

X6-5

YE

0.3

Video Connector - Sync

X6-6

BK

0.3

Drain Wire

Navigation Module - X7


Object Number: 2005132  Size: CH

Connector Part Information

 

Pin

Wire Colour

Wire Size

Function

X7-1

WH

0.3

Video Connector - B

X7-2

--

--

Not Used

X7-3

RD

0.3

Video Connector - R

X7-4

--

--

Not Used

X7-5

--

--

Not Used

X7-6

--

--

Not Used

X7-7

--

--

Not Used

X7-8

--

--

Not Used

X7-9

--

--

Not Used

X7-10

BK

0.3

Ground

X7-11

GN

0.3

Video Connector - G

X7-12

--

--

Not Used

X7-13

YE

0.3

Video Connector - Sync

X7-14

--

--

Not Used

X7-15

--

--

Not Used

X7-16

--

--

Not Used

X7-17

--

--

Not Used

X7-18

--

--

Not Used

Object Alarm Sensor - LR Corner (HSV Maloo)


Object Number: 2034492  Size: CH

Connector Part Information

 

Pin

Wire Colour

Wire Size

Function

1

RD

0.5

Object Sensor Supply Voltage

2

BK

0.5

Object Sensor Low Reference

3

YE

0.5

LR Corner Object Sensor Signal

Object Alarm Sensor - LR Middle (HSV Maloo)


Object Number: 2034492  Size: CH

Connector Part Information

 

Pin

Wire Colour

Wire Size

Function

1

RD

0.5

Object Sensor Supply Voltage

2

BK

0.5

Object Sensor Low Reference

3

OG

0.5

LR Middle Object Sensor Signal

Object Alarm Sensor - RR Corner (HSV Maloo)


Object Number: 2034492  Size: CH

Connector Part Information

 

Pin

Wire Colour

Wire Size

Function

1

RD

0.5

Object Sensor Supply Voltage

2

BK

0.5

Object Sensor Low Reference

3

PU

0.5

RR Corner Object Sensor Signal

Object Alarm Sensor - RR Middle (HSV Maloo)


Object Number: 2034492  Size: CH

Connector Part Information

 

Pin

Wire Colour

Wire Size

Function

1

RD

0.5

Object Sensor Supply Voltage

2

BK

0.5

Object Sensor Low Reference

3

D-GN

0.5

RR Middle Object Sensor Signal

Oil Pressure Gauge (HSV Maloo)


Object Number: 1989635  Size: CH

Connector Part Information

Male

Pin

Wire Colour

Wire Size

Function

3

YE

0.3

Low Speed GMLAN Serial Data

2

BU

0.3

Ground

1

BU / RE

0.3

Battery Positive Voltage

4

YE

0.3

Low Speed GMLAN Serial Data

5

BU

0.3

Ground

6

BU / RE

0.3

Battery Positive Voltage

Oil Temperature Gauge (HSV Maloo)


Object Number: 1989635  Size: CH

Connector Part Information

Male

Pin

Wire Colour

Wire Size

Function

1

YE

0.3

Low Speed GMLAN Serial Data

2

BU

0.3

Ground

3

BU / RE

0.3

Battery Positive Voltage

4

YE

0.3

Low Speed GMLAN Serial Data

5

BU

0.3

Ground

6

BU / RE

0.3

Battery Positive Voltage

Outside Rear View Mirror - Left


Object Number: 1989622  Size: CH

Connector Part Information

 

Pin

Wire Colour

Circuit Number

Function

1

WH/BU

7391

Left Mirror Motor Up/Left Control

2

WH/BK

81

Left Mirror Motor Right Control

3

--

--

Not Used

4

L-GN/BK

89

Left Mirror Motor Down Control

5

--

--

Not Used

6

--

--

Not Used

Outside Rear View Mirror - Right


Object Number: 1989622  Size: CH

Connector Part Information

 

Pin

Wire Colour

Circuit Number

Function

1

WH/BU

7391

Right Mirror Motor Up/Left Control

2

OG/WH

881

Right Mirror Motor Right Control

3

--

--

Not Used

4

PU/WH

889

Right Mirror Motor Down Control

5

--

--

Not Used

6

--

--

Not Used

Park Brake Switch


Object Number: 1989578  Size: CH

Connector Part Information

 

Pin

Wire Colour

Circuit Number

Function

B

OG/BK

233

Park Brake Switch Signal

Park/Neutral Position (PNP) Switch (4L60E)


Object Number: 1989516  Size: CH

Connector Part Information

 

Pin

Wire Colour

Circuit Number

Function

1

--

--

Not Used

2

--

--

Not Used

3

OG/BK

1786

Park Neutral Signal

4

YE

772

Transmission Range Switch Signal B

5

BN/YE

771

Transmission Range Switch Signal A

6

GY

773

Transmission Range Switch Signal C

7

BK

450

Ground

8

WH

776

Transmission Range Switch Signal P

Radio - X1 (Type A, B, C and D Infotainment System)


Object Number: 1989342  Size: CH

Connector Part Information

 

Pin

Wire Colour

Circuit Number

Function

X1-1

--

--

Not Used

X1-2

D-GN

117

Right Front Speaker Output (-)

X1-3

GY

118

Left Front Speaker Output (-)

X1-4

--

--

Not Used

X1-5

--

--

Not Used

X1-6

L-GN

200

Right Front Speaker Output (+)

X1-7

BN

201

Left Front Speaker Output (+)

X1-8

--

--

Not Used

Radio - X2


Object Number: 1989354  Size: CH

Connector Part Information

 

Pin

Wire Colour

Circuit Number

Function

X2-9

--

--

Not Used

X2-10

OG/BU

4340

Battery Positive Voltage

X2-11

--

--

Not Used

X2-12

BK

1050

Ground

X2-13

--

--

Not Used

X2-14

OG/BU

4340

Battery Positive Voltage

X2-15

OG/BU

4340

Battery Positive Voltage

X2-16

BK

1050

Ground

Radio - X4


Object Number: 2026063  Size: CH

Connector Part Information

 

Pin

Wire Colour

Circuit Number

Function

X4-1

L-BU

1405

Telephone Audio Signal (-)

X4-2

--

--

Not Used

X4-3

--

--

Not Used

X4-4

--

--

Not Used

X4-5

WH

700

Telephone Audio Signal Mute

X4-6

D-GN

5060

Low Speed GMLAN Serial Data

X4-7

OG/BK

1405

Telephone Audio Signal (+)

X4-8

--

--

Not Used

X4-9

--

--

Not Used

X4-10

--

--

Not Used

X4-11

--

--

Not Used

X4-12

--

--

Not used

Radio - X5 AM/FM Antenna


Object Number: 1989481  Size: CH

Connector Part Information

 

Pin

Wire Colour

Circuit Number

Function

C

GY

6001

Radio Antenna Post

S

Bare

6015

Radio Antenna Shield

Rear Object Alarm Module - X1 (HSV Maloo)


Object Number: 2034927  Size: CH

Connector Part Information

 

Pin

Wire Colour

Wire Size

Function

X1-1

OG/PU

0.85

Battery Positive Voltage

X1-2

YE

0.3

Object Detection Alarm Signal A

X1-3

--

--

--

X1-4

--

--

--

X1-5

GY

0.3

Object Detection Alarm Signal B

X1-6

D-GN

0.3

Low Speed GMLAN Serial Data

X1-7

BK

0.5

Ground

X1-8

--

--

--

X1-9

--

--

--

X1-10

--

--

--

X1-11

--

--

--

X1-12

--

--

--

Rear Object Alarm Module - X2 (HSV Maloo)


Object Number: 2034488  Size: CH

Connector Part Information

 

Pin

Wire Colour

Wire Size

Function

X2-1

PU

0.3

RR Corner Object Sensor Signal

X2-2

D-GN

0.3

RR Middle Object Sensor Signal

X2-3

OG

0.3

LR Middle Object Sensor Signal

X2-4

D-BU

0.3

Object Sensor Supply Voltage

X2-5

YE

0.3

LR Corner Object Sensor Signal

X2-6

--

--

--

X2-7

--

--

--

X2-8

GY

0.3

Object Sensor Low Reference

Rear Object Alarm (HSV Maloo)


Object Number: 2034490  Size: CH

Connector Part Information

 

Pin

Wire Colour

Wire Size

Function

1

YE

0.3

Object Detection Alarm Signal A

2

GY

0.3

Object Detection Alarm Signal B

Rear Window Defogger Grid - X1


Object Number: 1989382  Size: CH

Connector Part Information

 

Pin

Wire Colour

Circuit Number

Function

X1-A

PU

293

Rear Defog Element Supply Voltage

Rear Window Defogger Grid - X2


Object Number: 1989382  Size: CH

Connector Part Information

 

Pin

Wire Colour

Circuit Number

Function

X2-A

BK

1650

Ground

Recirculation Actuator


Object Number: 1989413  Size: CH

Connector Part Information

 

Pin

Wire Colour

Circuit Number

Function

1

WH/BU

1614

Recirculation Actuator - Control

2

WH/BK

2274

Recirculation Actuator - Power

3

BU/BK

718

Low Reference

4

WH/RD

1838

Recirculation Actuator - Feedback

5

WH/GN

597

5-Volt Reference

Remote Function Actuator


Object Number: 1989497  Size: CH

Connector Part Information

 

Pin

Wire Colour

Circuit Number

Function

1

OG/WH

1840

Battery Positive Voltage

2

D-GN

5060

Low Speed GMLAN Serial Data

3

--

--

Not Used

4

BK

1650

Ground

Repeater Lamp - Left


Object Number: 1989310  Size: CH

Connector Part Information

 

Pin

Wire Colour

Circuit Number

Function

1

BK

2050

Ground

2

YE/BK

1334

Left Rear Turn Signal Lamp Supply Voltage

Repeater Lamp - Right


Object Number: 1989310  Size: CH

Connector Part Information

 

Pin

Wire Colour

Circuit Number

Function

1

BK

1850

Ground

2

D-GN/WH

1335

Right Rear Turn Signal Lamp Supply Voltage

Reverse Lockout Solenoid (L98)


Object Number: 1989380  Size: CH

Connector Part Information

 

Pin

Wire Colour

Circuit Number

Function

A

L-GN

1652

Reverse Lockout Solenoid Control

B

PK/BK

5705

Reverse Lockout Solenoid Battery Power

Reverse Lockout Solenoid (LS2) (HSV Maloo)


Object Number: 1989380  Size: CH

Connector Part Information

Metri-Pack 150 Sealed

Pin

Wire Colour

Wire Size

Function

A

L-GN

07.5

Reverse Lockout Solenoid Control

B

PK/BK

0.75

RAP [X] Fuse Supply Voltage

Seat Adjuster Switch - Driver


Object Number: 2026065  Size: CH

Connector Part Information

 

Pin

Wire Colour

Circuit Number

Function

X1-1

BN

--

--

X1-2

D-BU

--

--

X1-3

GN/YE

--

--

X1-4

D-BU/RD

--

--

X1-5

--

--

--

X1-6

BK

--

--

X1-7

RD

--

--

X1-8

--

--

--

Seat Belt Pretensioner - LF


Object Number: 1989514  Size: CH

Connector Part Information

 

Pin

Wire Colour

Circuit Number

Function

1

L-GN

2116

Seat Belt Pretensioner - Passenger - High Control

2

OG

2117

Seat Belt Pretensioner - Passenger - Low Control

Seat Belt Pretensioner - RF


Object Number: 1989514  Size: CH

Connector Part Information

 

Pin

Wire Colour

Circuit Number

Function

1

BK/WH

2118

Seat Belt Pretensioner - Driver - High Control

2

OG/BK

2119

Seat Belt Pretensioner - Driver - Low Control

Seat Rear Vertical Motor - Driver


Object Number: 1989601  Size: CH

Connector Part Information

 

Pin

Wire Colour

Circuit Number

Function

X1

YE

282

Driver Seat Rear Vertical Motor Up Control

X2

L-BU

283

Driver Seat Rear Vertical Motor Down Control

Secondary Information Center (SIC) Module - X1


Object Number: 1989632  Size: CH

Connector Part Information

 

Pin

Wire Colour

Circuit Number

Function

1

D-GN

5060

Low Speed GMLAN Serial Data

2

--

--

--

3

--

--

--

4

RD/WH

1840

Battery Positive Voltage

5

--

--

--

6

--

--

--

7

--

--

--

8

BK

1450

Ground

Speaker - Center X1 (Type B and C Infotainment System)


Object Number: 1989453  Size: CH

Connector Part Information

 

Pin

Wire Colour

Circuit Number

Function

X1-A

GY

201

Left Front Speaker Output (+)

X1-B

BN

118

Left Front Speaker Output (-)

Speaker - Center X2 (Type B and C Infotainment System)


Object Number: 2026061  Size: CH

Connector Part Information

 

Pin

Wire Colour

Circuit Number

Function

X2-A

D-GN

117

Right Front Speaker Output (-)

X2-B

L-GN

200

Right Front Speaker Output (+)

Speaker - LF Door (Infotainment System)


Object Number: 1989453  Size: CH

Connector Part Information

 

Pin

Wire Colour

Circuit Number

Function

1

GY

118

Left Front Speaker Output (-)

2

BN

201

Left Front Speaker Output (+)

Speaker - LF Tweeter (Type F Infotainment System)


Object Number: 1989422  Size: CH

Connector Part Information

 

Pin

Wire Colour

Circuit Number

Function

1

GY

118

Left Front Speaker Output (-)

2

BN

201

Left Front Speaker Output (+)

Speaker - RF Door


Object Number: 1989453  Size: CH

Connector Part Information

 

Pin

Wire Colour

Circuit Number

Function

1

D-GN

117

Right Front Speaker Output (-)

2

L-GN

200

Right Front Speaker Output (+)

Speaker - RF Tweeter (Type F Infotainment System)


Object Number: 1989422  Size: CH

Connector Part Information

 

Pin

Wire Colour

Circuit Number

Function

1

D-GN

117

Right Front Speaker Output (-)

2

L-GN

200

Right Front Speaker Output (+)

Starter


Object Number: 1989270  Size: CH

Connector Part Information

 

Pin

Wire Colour

Circuit Number

Function

X1-A

PU

6

Starter Solenoid Crank Voltage


Starter


Object Number: 2026066  Size: CH

Connector Part Information

 

Pin

Wire Colour

Circuit Number

Function

X2-A

RD

1

Battery Voltage

Steering Angle Sensor


Object Number: 2026067  Size: CH

Connector Part Information

 

Pin

Wire Colour

Circuit Number

Function

1

PU

2501

High Speed GMLAN Serial Data Bus-

2

D-BU

2501

High Speed GMLAN Serial Data Bus-

3

GY

2500

High Speed GMLAN Serial Data Bus+

4

BN

2500

High Speed GMLAN Serial Data Bus+

5

L-GN

5986

Communication Enable Relay Supply Voltage

6

OG

2688

Steering Wheel Position Sensor Low Reference

Steering Angle Sensor (HSV Maloo)


Object Number: 1989572  Size: CH

Connector Part Information

Female

Pin

Wire Colour

Wire Size

Function

1

BN

0.35

High Speed GMLAN Serial Data Bus-

2

BN

0.35

High Speed GMLAN Serial Data Bus-

3

BN/BK

0.35

High Speed GMLAN Serial Data Bus+

4

BN/BK

0.35

High Speed GMLAN Serial Data Bus+

5

L-BU

0.5

Communication Enable Relay Supply Voltage

6

BK/BU

0.5

Steering Wheel Position Sensor Low Reference

Steering Wheel Controls Switch Assembly


Object Number: 1989283  Size: CH

Connector Part Information

 

Pin

Wire Colour

Circuit Number

Function

X1-1

GY/BU

7367

Steering Wheel Resistor Ladder Right Signal #2

X1-2

YE

7364

Steering Wheel Resistor Ladder Right Signal #1

X1-3

BN

7312

Steering Wheel Resistor Ladder Left Signal #1

X1-4

L-BU

7313

Steering Wheel Resistor Ladder Left Signal #2

X1-5

GN

897

Steering Wheel Controls Low Reference

X1-6

OG/BK

5201

Steering Wheel Controls Signal

X1-7

BK

850

Ground

X1-8

PU

7005

I/P Dimming Control

Sunshade - Left (HSV Maloo)


Object Number: 1989449  Size: CH

Connector Part Information

Metri-Pack 150 Series

Pin

Wire Colour

Wire Size

Function

1

BK/WH

0.5

Ground

2

OG

0.5

Courtesy Lamps Supply Voltage

Sunshade - Right (HSV Maloo)


Object Number: 1989449  Size: CH

Connector Part Information

Metri-Pack 150 Series

Pin

Wire Colour

Wire Size

Function

1

BK/WH

0.5

Ground

2

OG

0.5

Courtesy Lamps Supply Voltage

Tail Lamp Assembly - Left


Object Number: 2026068  Size: CH

Connector Part Information

 

Pin

Wire Colour

Circuit Number

Function

1

BK/WH

1851

Ground

2

BK

1850

Ground

3

PU

709

Left Park Lamp Supply Voltage

4

L-BU

20

Stop Lamp Switch Signal

5

L-GN

24

Backup Lamp Supply Voltage

6

YE/BK

1334

Left Rear Turn Signal Lamp Supply Voltage

Tail Lamp Assembly - Right


Object Number: 2026068  Size: CH

Connector Part Information

 

Pin

Wire Colour

Circuit Number

Function

1

BK/WH

1851

Ground

2

BK

1850

Ground

3

BN/WH

309

Right Park Lamp Supply Voltage

4

L-BU

20

Stop Lamp Switch Signal

5

L-GN

24

Backup Lamp Supply Voltage

6

D-GN/WH

1335

Right Rear Turn Signal Lamp Supply Voltage

Theft Deterrent Control Module


Object Number: 1989590  Size: CH

Connector Part Information

 

Pin

Wire Colour

Circuit Number

Function

1

OG/BK

1040

Battery Positive Voltage

2

BN

4

Ignition 1 Voltage

3

BK

850

Ground

4

--

--

Not Used

5

D-GN

5060

Low Speed GMLAN Serial Data

Theft Horn X1


Object Number: 1989274  Size: CH

Connector Part Information

 

Pin

Wire Colour

Circuit Number

Function

X1-A

D-GN

1149

Content Theft Horn Control

Theft Horn X2


Object Number: 1989274  Size: CH

Connector Part Information

 

Pin

Wire Colour

Circuit Number

Function

X2-A

BK

1250

Ground

Throttle Body (L98)


Object Number: 1989327  Size: CH

Connector Part Information

 

Pin

Wire Colour

Circuit Number

Function

A

BN

582

TAC Motor Control - 2

B

YE

581

TAC Motor Control - 1

C

BN/BK

2752

Low Reference

D

D-GN

485

TP Sensor 1 Signal

E

GY

2701

5-Volt Reference

F

PU

486

TP Sensor 2 Signal

Throttle Body (LS2) (HSV Maloo)


Object Number: 1989327  Size: CH

Connector Part Information

GT 150 Series, Sealed

Pin

Wire Colour

Wire Size

Function

A

BN

0.75

TAC Motor Control - 2

B

YE

0.75

TAC Motor Control - 1

C

BN/BK

0.5

Low Reference

D

D-GN

0.5

TP Sensor 1 Signal

E

GY

0.5

5-Volt Reference

F

PU

0.5

TP Sensor 2 Signal

Throttle Body (LY7)


Object Number: 1989327  Size: CH

Connector Part Information

 

Pin

Wire Colour

Circuit Number

Function

A

BN

582

TAC Motor Control - 2

B

YE

581

TAC Motor Control - 1

C

BN/BK

2752

Low Reference

D

D-GN

485

TP Sensor 1 Signal

E

GY

2701

5-Volt Reference

F

PU

486

TP Sensor 2 Signal

Transmission Control Module (TCM) - 5L40E


Object Number: 1989625  Size: CH

Connector Part Information

 

Pin

Wire Colour

Circuit Number

Function

1

L-GN/BK

822

VSS Low Signal

2

OG/BK

1786

Park/Neutral Signal

3

PU/WH

821

VSS High Signal

4

BN

418

TCC PWM Solenoid Valve Control

5

D-BU

5985

TCM Accessory Signal

6

BK

450

Ground

7

--

--

Not Used

8

OG

1525

Clutch Pressure Control Solenoid Valve 1 High Control

9

PK

439

Ignition 1 Voltage

10

OG

1983

Transmission Turbine Speed Switch Signal

11

L-BU

1984

Transmission Turbine Speed Switch Low Reference

12

--

--

Not Used

13

--

--

Not Used

14

--

--

Not Used

15

YE/BK

1227

TFT Sensor Signal

16

--

--

Not Used

17

--

--

Not Used

18

YE/BK

1223

Shift Solenoid B Valve Control

19

WH

898

Shift Solenoid C Valve Control

20

BN/BK

2500

High Speed GMLAN Serial Data Bus+

21

BN

2501

High Speed GMLAN Serial Data Bus-

22

--

--

Not Used

23

--

--

Not Used

24

YE

772

Transmission Range Switch Signal B

25

GY

773

Transmission Range Switch Signal C

26

BN/WH

2762

Low Reference

27

OG/YE

3640

Battery Positive Voltage

28

--

--

Not Used

29

L-BU/WH

1229

PC Solenoid Valve Low Control

30

L-GN

1222

Shift Solenoid A Valve Control

31

--

--

Not Used

32

BN/BK

2500

High Speed GMLAN Serial Data Bus+

33

BN

2501

High Speed GMLAN Serial Data Bus-

34

--

--

Not Used

35

--

--

Not Used

36

BN/YE

771

Transmission Range Switch Signal A

37

WH

776

Transmission Range Switch Signal P

38

WH/BU

17

Stop Lamp Switch Signal

39

--

--

Not Used

40

--

--

Not Used

41

--

--

Not Used

42

--

--

Not Used

Turn Signal Multifunction Switch


Object Number: 1989295  Size: CH

Connector Part Information

 

Pin

Wire Colour

Circuit Number

Function

1

BK

1850

Ground

2

BN/RD

1356

Flash To Pass Switch Signal

3

PU/YE

524

Headlamp Dimmer Switch High Beam Signal

4

BK

850

Ground

5

GY

1884

Cruise Control Switch Signal

6

PU

1317

Steering Wheel Control Supply Voltage

7

D-BU/WH

1415

Right Front Turn Signal Switch Signal

8

L-BU/WH

1414

Left Front Turn Signal Switch Signal

Variable Intake Manifold (VIM) Solenoid (LY7)


Object Number: 1989331  Size: CH

Connector Part Information

 

Pin

Wire Colour

Circuit Number

Function

1

PU/BU

5293

Ignition 1 Voltage

2

BN

1997

1997 Ether Solenoid - Feed

Wheel Speed Sensor (WSS) - LF


Object Number: 1989573  Size: CH

Connector Part Information

 

Pin

Wire Colour

Circuit Number

Function

1

BN

830

Wheel Speed Sensor Signal Left Front

2

BK

7064

Wheel Speed Sensor Supply Voltage Left Front

Wheel Speed Sensor (WSS) - LR


Object Number: 1989573  Size: CH

Connector Part Information

 

Pin

Wire Colour

Circuit Number

Function

1

BN/BK

884

Wheel Speed Sensor Signal Left Rear

2

GY

7127

Wheel Speed Sensor Supply Voltage Left Rear

Wheel Speed Sensor (WSS) - RF


Object Number: 1989573  Size: CH

Connector Part Information

 

Pin

Wire Colour

Circuit Number

Function

1

BN

872

Wheel Speed Sensor Signal Right Front

2

BK

7065

Wheel Speed Sensor Supply Voltage Right Front

Wheel Speed Sensor (WSS) - RR


Object Number: 1989573  Size: CH

Connector Part Information

 

Pin

Wire Colour

Circuit Number

Function

1

BN

882

Wheel Speed Sensor Signal Right Rear

2

GY

7128

Wheel Speed Sensor Supply Voltage Right Rear

Window/Door Lock/Outside Rear-view Mirror Switch - X1


Object Number: 1989620  Size: CH

Connector Part Information

 

Pin

Wire Colour

Circuit Number

Function

X1-1

--

--

Not Used

X1-2

--

--

Not Used

X1-3

--

--

Not Used

X1-4

--

--

Not Used

X1-5

--

--

Not Used

X1-6

--

--

Not Used

X1-7

--

--

Not Used

X1-8

--

--

Not Used

X1-9

--

--

Not Used

X1-10

D-GN

1001

RAP [X] Fuse Supply Voltage

X1-11

BK

1307

Power Window Master Switch Lockout Control

X1-12

--

--

Not Used

X1-13

--

--

Not Used

Window/Door Lock/Outside Rear-view Mirror Switch - X2


Object Number: 1989621  Size: CH

Connector Part Information

 

Pin

Wire Colour

Circuit Number

Function

X2-1

D-GN

1301

RAP [X] Fuse Supply Voltage

X2-2

BN

1300

Power Window Master Switch Left Front Up Signal

X2-3

GY/BU

1136

Power Window Master Switch Left Front Down Signal

X2-4

BK

2050

Ground

X2-5

BN/BK

254

Power Door Unlock Fuse Supply Voltage

X2-6

WH/BK

81

Left Mirror Switch Right Signal

X2-7

L-GN/BK

89

Left Mirror Motor Down Control

X2-8

WH/BU

7391

Mirror Motor up/left Control

X2-9

L-BU

166

Power Window Master Switch Right Front Up Signal

X2-10

GN/BK

167

Power Window Master Switch Right Front Down Signal

X2-11

YE

6817

LED Backlight Dimming Control

X2-12

PU/WH

889

Right Mirror Motor Down Control

X2-13

OG/WH

881

Right Mirror Motor Right Control

X2-14

BK

2050

Ground

X2-15

GY/BK

255

Power Door Lock Fuse Supply Voltage

X2-16

BN/BU

343

Switch Voltage

Window Motor - LF


Object Number: 1989616  Size: CH

Connector Part Information

 

Pin

Wire Colour

Circuit Number

Function

A

BN/OG

165

Power Window Motor Left Front Down Control

B

D-BU

164

Power Window Motor Left Front Up Control

Window Motor - RF


Object Number: 1989616  Size: CH

Connector Part Information

 

Pin

Wire Colour

Circuit Number

Function

A

BN

667

Power Window Motor Right Front Down Control

B

BU/WH

666

Power Window Motor Right Front Up Control

Windshield Washer Fluid Pump


Object Number: 1989400  Size: CH

Connector Part Information

 

Pin

Wire Colour

Circuit Number

Function

1

OG

228

Windshield Washer Pump Control

2

BK

250

Ground

Windshield Wiper Motor


Object Number: 1989404  Size: CH

Connector Part Information

 

Pin

Wire Colour

Circuit Number

Function

1

YE

196

Windshield Wiper Motor Park Switch Signal

2

BK

250

Ground

3

BN/WH

92

Windshield Wiper Motor High Speed

4

D-GN

95

Windshield Wiper Motor Low Speed

Windshield Wiper/Washer Switch


Object Number: 1989391  Size: CH

Connector Part Information

 

Pin

Wire Colour

Circuit Number

Function

1

--

--

Not Used

2

--

--

Not Used

3

--

--

Not Used

4

L-GN

1715

Windshield Wiper Switch High Signal

5

--

--

Not Used

6

OG

94

Windshield Wa sher Switch Signal

7

L-BU

1714

Windshield Wiper Switch Low Signal

8

BK/WH

2151

Ground

Yaw Rate and Lateral Acceleration Sensor


Object Number: 1989575  Size: CH

Connector Part Information

 

Pin

Wire Colour

Circuit Number

Function

1

D-GN

2087

5-V Reference

2

L-GN/BK

5352

Yaw Rate Sensor Test Control

3

L-BU

5986

Communication Enable Relay Supply Voltage

4

BN/WH

2086

Yaw Rate Signal

5

PU/WH

1699

Combined Vehicle Inertial Sensor Signal (Lat/Long Rate)

6

BK/BU

2088

Low Reference