GM Service Manual Online
For 1990-2009 cars only
Makes
🢒
Isuzu
🢒
2003
🢒
Ascender - 2WD
🢒
Brakes
🢒
Hydraulic Brakes
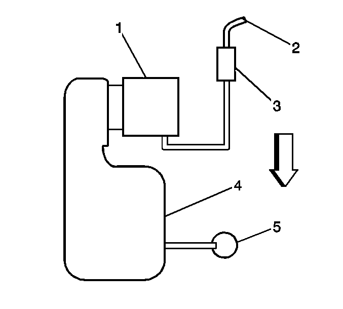
🢒 Emission Hose Routing Diagram
(1)
Throttle Body
(2)
To EVAP canister
(3)
EVAP canister purge valve
(4)
Preplenum resonator
(5)
Fuel pressure regulator