GM Service Manual Online
For 1990-2009 cars only

Removal Procedure

  1. Partially remove the left rear quarter trim panel to access the switch retaining tabs located behind the panel. Refer to Rear Quarter Trim Panel Replacement - Left Side .

  2. Object Number: 1200035  Size: SH
  3. Disconnect the electrical connector to the switch.
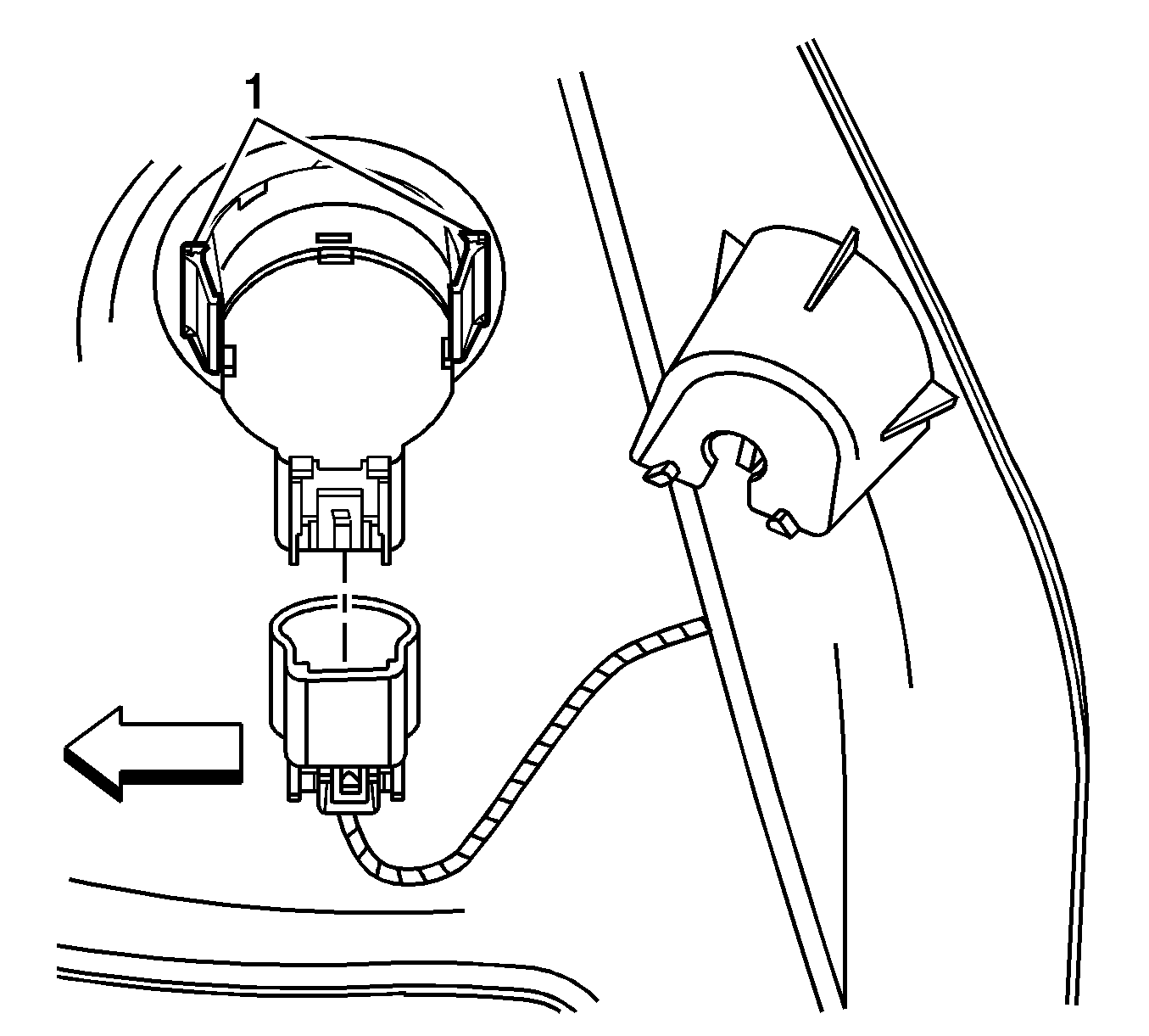
  4. Release the tabs (1) retaining the switch to the panel.

  5. Object Number: 1200032  Size: SH
  6. Remove the switch from the vehicle.

Installation Procedure


    Object Number: 1200032  Size: SH
  1. Position and index the switch to the panel.

  2. Object Number: 1200035  Size: SH
  3. Install the switch to the panel ensuring the retaining tabs (1) are fully seated.
  4. Connect the electrical connector to the switch.
  5. Install the rear quarter trim panel. Refer to Rear Quarter Trim Panel Replacement - Left Side .