GM Service Manual Online
For 1990-2009 cars only
Figure 1:

Front of Vehicle (Z88/Z89)


Object Number: 1550918  Size: MF
(1)Headlamp - Low Beam - Right
(2)Headlamp - High Beam - Right
(3)Cellular Antenna (UE1)
(4)Headlamp - High Beam - Left
(5)Headlamp - Low Beam - Left
(6)Outside Rearview Mirror - Driver
(7)Marker Lamp - LF
(8)Park/Turn Signal Lamp - LF
(9)Cornering Lamp - Left (T87)
(10)Fog Lamp - LF (T96)
(11)Fog Lamp - RF (T96)
(12)Cornering Lamp - Right (T87)
(13)Park/Turn Signal Lamp - RF
(14)Marker Lamp - RF
(15)Radio Antenna
(16)Outside Rearview Mirror - Passenger
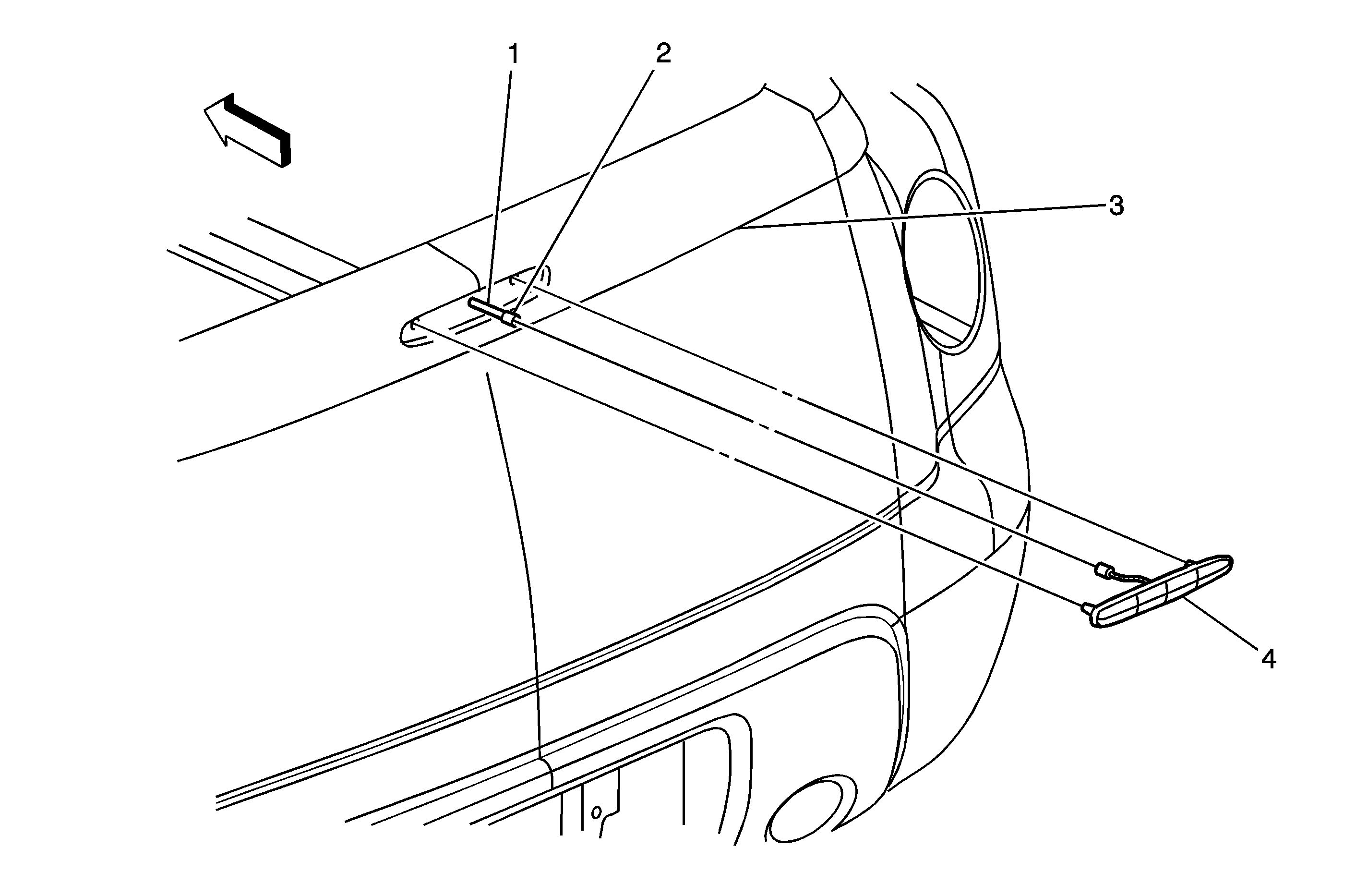
Figure 2:

Front of Vehicle (X88)


Object Number: 1550922  Size: MF
(1)Radio Antenna
(2)Headlamp - High Beam - Right
(3)Headlamp - Low Beam - Right
(4)Headlamp - Low Beam - Left
(5)Cellular Antenna (UE1)
(6)Headlamp - High Beam - Left
(7)Outside Rearivew Mirror - Driver
(8)Marker Lamp - LF
(9)Park/Turn Signal lamp - LF
(10)Fog Lamp - LF (T96)
(11)Fog Lamp - RF (T96)
(12)Park/Turn Signal lamp - RF
(13)Marker Lamp - RF
(14)Outside Rearivew Mirror - Passenger
Figure 3:

Front of Vehicle (W49)


Object Number: 1550923  Size: MF
(1)Radio Antenna
(2)Digital Radio Antenna
(3)Cellular Antenna
(4)Outside Rearview Mirror - Driver
(5)Park Lamp - LF
(6)Park Lamp - LF
(7)Headlamp - High Beam - Left
(8)Marker Lamp - LF
(9)Cornering Lamp - Left (T87)
(10)Fog Lamp - LF (T96)
(11)Headlamp - Low Beam - Left
(12)Turn Signal Lamp - LF
(13)Turn Signal Lamp - RF
(14)Headlamp - Low Beam - Right
(15)Fog Lamp - RF (T96)
(16)Cornering Lamp - Right (T87)
(17)Marker Lamp - RF
(18)Headlamp - High Beam - Right
(19)Park Lamp - RF
(20)Park Lamp - RF
(21)Outside Rearview Mirror - Passenger
Figure 4:

Behind Left Headlamp


Object Number: 1487940  Size: MF
(1)Headlamp Leveling Actuator - Left (TR6)
(2)Hood Ajar Switch (UA2)
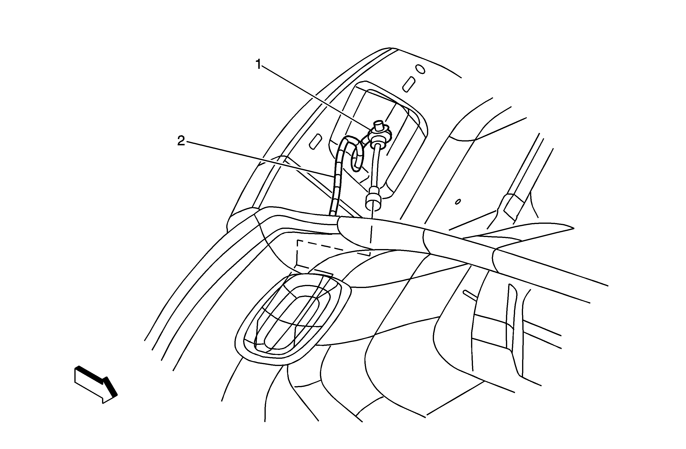
Figure 5:

Behind Right Headlamp


Object Number: 1487942  Size: MF
(1)Headlamp Leveling Actuator - Right (TR6)
Figure 6:

Vanity Mirror Lamp -- Left (DH2)


Object Number: 1228674  Size: MF
(1)Vanity Mirror Lamp - Left
Figure 7:

Overhead Console (Except XUV)


Object Number: 1550991  Size: MF
(1)Courtesy/Reading Lamp - Front
(2)Sunroof Switch (CF5)
(3)Garage Door Opener (UG1)
Figure 8:

Vanity Mirror Lamp -- Right (DH2)


Object Number: 1488533  Size: MF
(1)Vanity Mirror Lamp - Right
Figure 9:

Headlamp Switch


Object Number: 1488290  Size: MF
(1)Headlamp Switch
(2)Headlamp Switch C1
(3)Instrument Panel Harness
(4)Headlamp Switch C2
Figure 10:

Dash Panel


Object Number: 1486698  Size: MF
(1)Speaker - LF I/P (UQA)
(2)Ambient Light Sensor (CJ3)/Ambient Light/Sunload Sensor Assembly (CJ2)
(3)Speaker - RF I/P (UQA)
Figure 11:

Steering Wheel and Column


Object Number: 856748  Size: LF
(1)Steering Wheel Control Switch Assembly - Upper Left (STW)
(2)Passlock Sensor Connector
(3)Ignition Key Alarm Switch
(4)Ignition Lock Cylinder Control Actuator
(5)Ignition Lock Cylinder Control Actuator Connector
(6)Ignition Switch
(7)Ignition Key Cylinder
(8)Steering Wheel Control Switch Assembly - Upper Right (STW)
(9)Horn Switch
(10)Steering Wheel Control Switch Assembly - Lower Right (STW)
(11)C277
(12)Steering Wheel Control Switch Assembly - Lower Left (STW)
(13)Turn Signal/Multifunction Switch
Figure 12:

Lower Left of the I/P


Object Number: 1488411  Size: MF
(1)Turn Signal/Hazard Flasher Module
(2)Instrument Panel Harness
(3)Data Link Connector (DLC)
(4)Splice Pack SP205
Figure 13:

Accelerator and Brake Pedals


Object Number: 1488336  Size: MF
(1)Instrument Panel Harness
(2)Accelerator Pedal Position (APP) Sensor
(3)Accelerator Pedal
(4)Brake Pedal
(5)Stop Lamp Switch
Figure 14:

Headliner (Short Wheel Base)


Object Number: 1550971  Size: MF
(1)Cargo Lamp
(2)Courtesy/Reading Lamp - Center
Figure 15:

Cargo Lamp - LR (XUV)


Object Number: 1487240  Size: MF
(1)Cargo Lamp - LR
(2)Body Harness
Figure 16:

Cargo Lamp - RR (XUV)


Object Number: 1487241  Size: MF
(1)Cargo Lamp - RR
(2)Body Harness
Figure 17:

Rear of Vehicle (Except XUV)


Object Number: 1550925  Size: MF
(1)Center High Mounted Stop Lamp (CHMSL)
(2)License Lamp - Left
(3)License Lamp - Right
(4)Tail Lamp Circuit Board - Right
(5)Backup Lamp - Right (Z88)
(6)Trailer Connector
(7)Backup Lamp - Left (Z88)
(8)Tail Lamp Circuit Board - Left
Figure 18:

Center High Mounted Stop Lamp (CHMSL) (XUV)


Object Number: 1487808  Size: MF
(1)Endgate Harness
(2)Center High Mounted Stop Lamp (CHMSL) Connector
(3)Endgate
(4)Center High Mounted Stop Lamp (CHMSL)