GM Service Manual Online
For 1990-2009 cars only

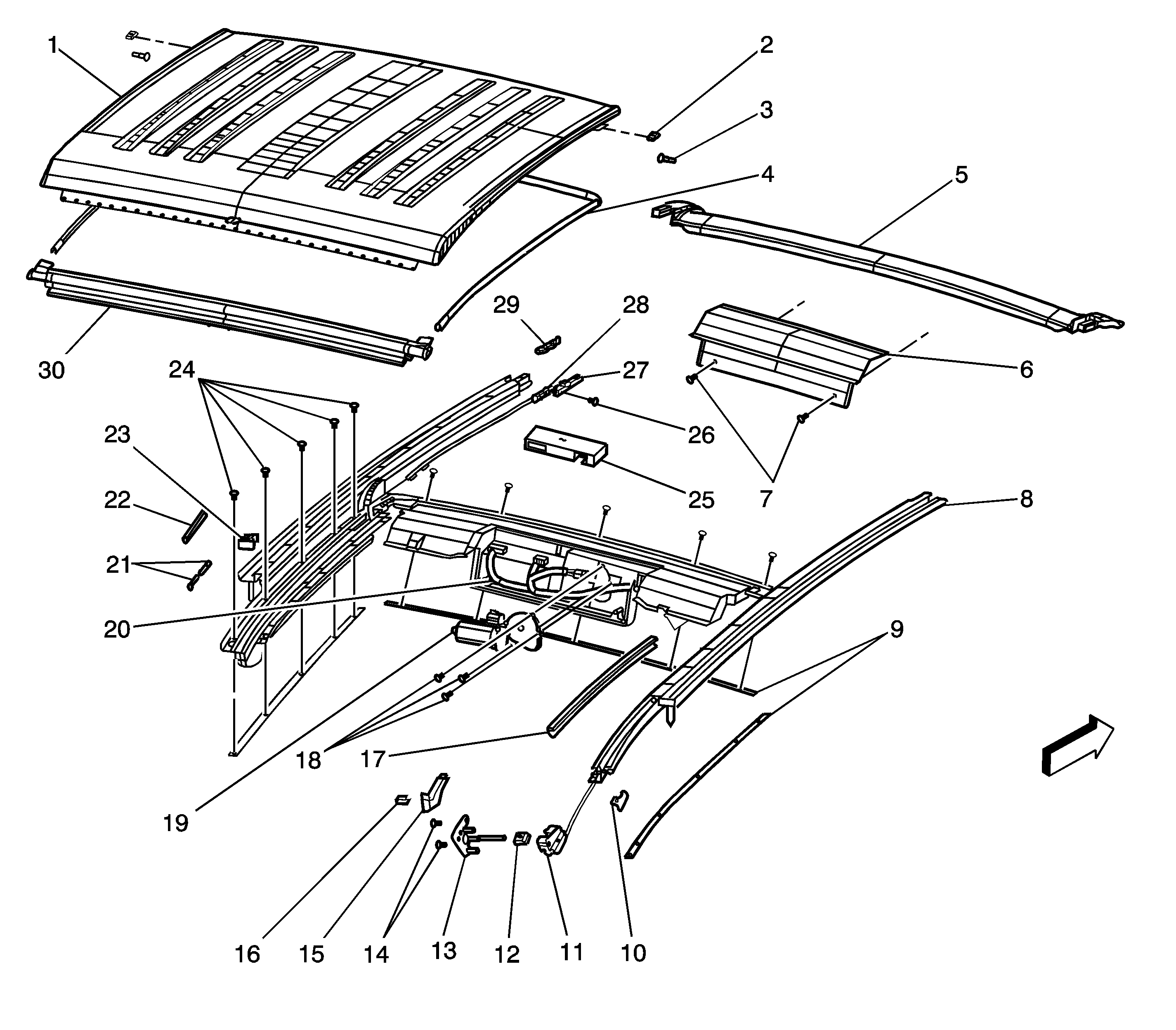
Moveable Roof - Disassembled View


Object Number: 1275172  Size: LF
(1)Moveable Roof Panel Assembly - Rooftop
(2)Moveable Roof Panel Bushing
(3)Moveable Roof Panel Front Lock Pin
(4)Moveable Roof Panel Seal
(5)Moveable Roof Panel Air Deflector - Front
(6)Moveable Roof Panel Actuator Cover
(7)Moveable Roof Panel Actuator Screws
(8)Moveable Roof Panel Frame Assembly
(9)Moveable Roof Lower Side Rail - Part of Moveable Roof Lower Side Rail Assembly Kit
(10)Moveable Roof Wedge Block Seal - Part of Moveable Roof Lower Side Rail Assembly Kit
(11)Moveable Roof Panel Drive Assembly - Part of Moveable Roof Panel Guide Kit - LH, RH
(12)Moveable Roof Panel Support Slide - Part of Moveable Roof Panel Guide Kit - LH, RH
(13)Moveable Roof Panel Guide Bracket - LH, RH
(14)Moveable Roof Panel Guide Bracket Screws
(15)Moveable Roof Panel Rear Locator - Part of Moveable Roof Panel Rear Locator Kit - LH, RH
(16)Moveable Roof Panel Rear Locator Clip - Part of Moveable Roof Panel Rear Locator Kit - LH, RH
(17)Moveable Roof Trim Seal - LH, RH
(18)Moveable Roof Panel Motor/Actuator Screws
(19)Moveable Roof Panel Motor/Actuator
(20)Moveable Roof Panel Wiring Harness
(21)Moveable Roof Panel Rear Latch Levers - Part of Moveable Roof Panel Rear Latch Kit - LH, RH
(22)Moveable Roof Panel Rear Latch Slide - Part of Moveable Roof Panel Rear Latch Kit - LH, RH
(23)Moveable Roof Panel Guide Plug - Part of Moveable Roof Frame Assembly
(24)Moveable Roof Lower Side Rail Screws - Part of Moveable Roof Lower Side Rail Assembly Kit
(25)Moveable Roof Panel Control Module
(26)Moveable Roof Panel Front Latch Rivet - Part of Moveable Roof Panel Front Latch Assembly Kit - LH, RH
(27)Moveable Roof Panel Front Latch Slide - Front - Part of Moveable Roof Panel Front Latch Assembly Kit - LH, RH
(28)Moveable Roof Panel Front Latch Slide - Rear - Part of Moveable Roof Panel Front Latch Assembly Kit - LH, RH
(29)Moveable Roof Panel Front Spring Wedge
(30)Moveable Roof Panel Rear Header Seal