GM Service Manual Online
For 1990-2009 cars only
Makes
🢒
Isuzu
🢒
2006
🢒
Ascender - 2WD
🢒
Brakes
🢒
Hydraulic Brakes
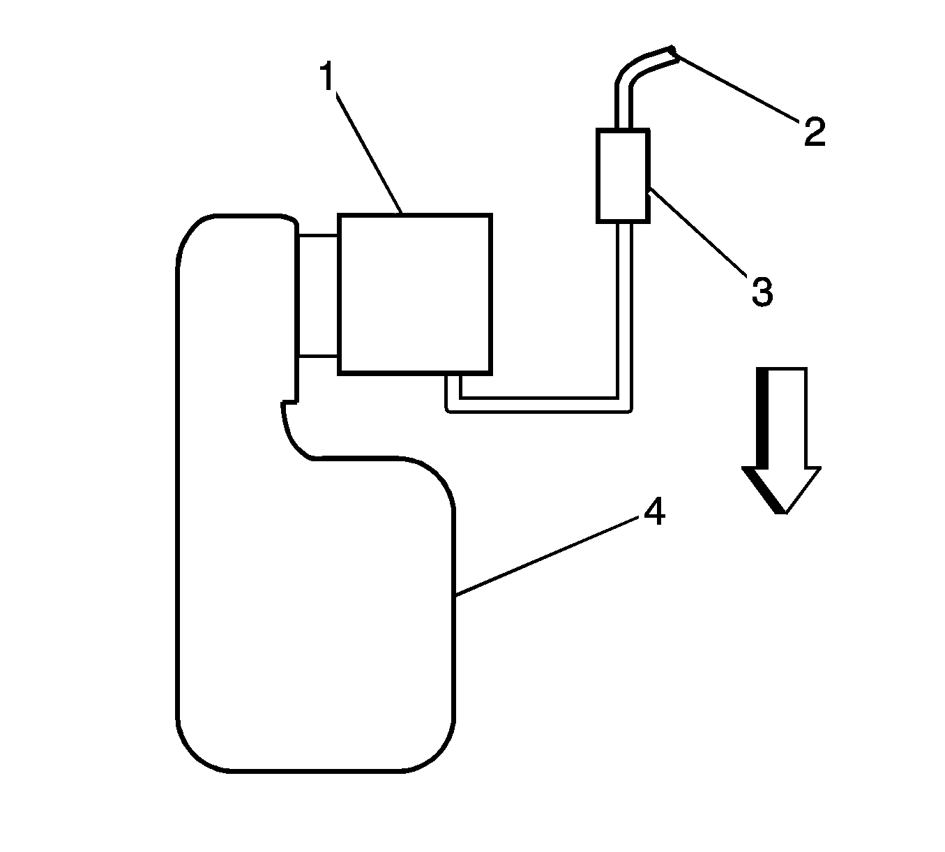
🢒 Emission Hose Routing Diagram
(1)
Throttle Body
(2)
To EVAP Canister
(3)
EVAP Canister Purge Valve
(4)
Preplenum Resonator