GM Service Manual Online
For 1990-2009 cars only

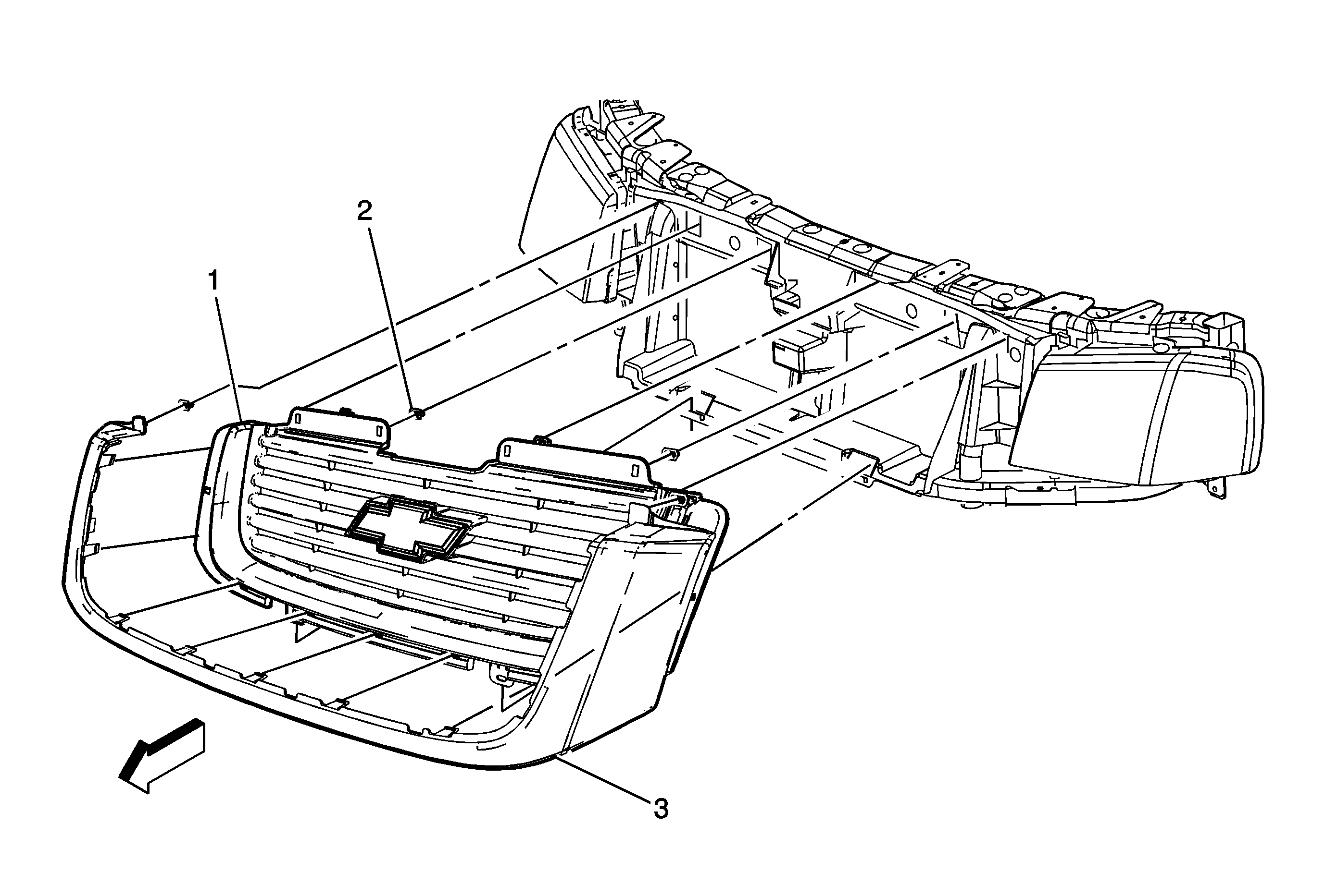
Radiator Outer Grille Replacement TrailBlazer South America


Object Number: 2039817  Size: MF

Callout

Component Name

Preliminary Procedure

  1. The TrailBlazer outer grille assembly is a paint to match replacement part. Prior to servicing the outer grille assembly, refer to the following information:
  2. • General Plastic Repair. Refer to General Plastic Repair .
    • How to Identify Plastic Parts. Refer to How to Identify Plastic Parts .
    • Plastic Identification and Refinishing Systems. Refer to Plastic Identification and Refinishing Systems .
  3. Open and support the hood in order to access and release the grille retention clips from the headlamp housing panel.

1

Inner Grille Assembly

Tip
Carefully release the retention clips and pull the grille assembly forward then upward in order to release from the headlamp panel assembly.

2

Retention Clip (Qty: 6)

Tip
Replace any clip that is damaged or broken upon removal of the grille assembly.

3

Outer Grille Assembly

Tip
Install the new outer grille on the old inner grille assembly.