GM Service Manual Online
For 1990-2009 cars only

Removal Procedure

  1. Remove the endgate from the vehicle. Refer to Endgate Replacement .
  2. Mark the position of the endgate hinge using a grease pencil.

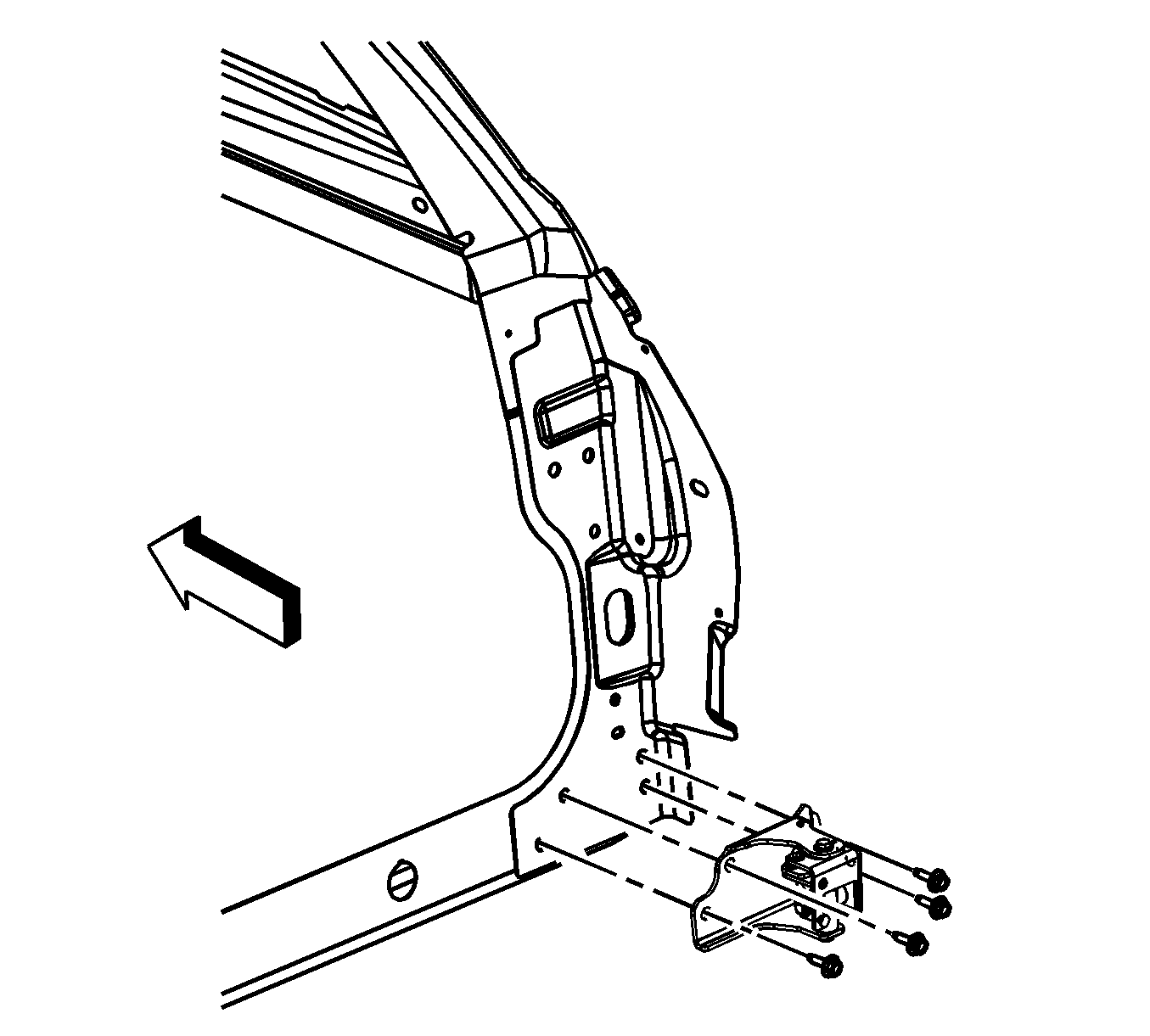
  3. Object Number: 903146  Size: SH
  4. Remove the bolts retaining the hinge to the vehicle.
  5. Remove the hinge from the vehicle.

Installation Procedure


    Object Number: 903146  Size: SH
  1. Install the hinge to the vehicle.
  2. Position the hinge in the position marked during removal.
  3. Notice: Refer to Fastener Notice in the Preface section.

  4. Install the bolts retaining the hinge to the body.
  5. Tighten
    Tighten the hinge to body bolts to 25 N·m (18 lb ft).

  6. Install the endgate to the vehicle. Refer to Endgate Replacement .
  7. Inspect and adjust the endgate alignment. Refer to Endgate Adjustment .