GM Service Manual Online
For 1990-2009 cars only
Connector 1: C100 Engine Harness to the Front Axle Jumper Harness (4WD)
Connector 2: C101 Engine Harness to the Fuel Rail Harness (2.9L)
Connector 3: C101 Engine Harness to the Fuel Rail Harness (3.5L)
Connector 4: C102 Body Harness to the Chassis Harness
Connector 5: C103 Forward Lamp Harness to the Body Harness
Connector 6: C104 Forward Lamp Harness to the Body Harness
Connector 7: C105 Engine Harness to the Body Harness (4WD)
Connector 8: C106 Engine Harness to the Body Harness (2WD)
Connector 9: C107 Forward Lamp Harness to Right Front Turn Signal Harness
Connector 10: C108 Forward Lamp Harness to Left Front Turn Signal Harness
Connector 11: C109 Battery Harness to Engine Harness
Connector 12: C200 I/P Harness to the Body Harness
Connector 13: C201 I/P Harness to the Body Harness
Connector 14: C202 Driver Door Harness to the Body Harness (AU3)
Connector 15: C203 I/P Harness to the HVAC Harness
Connector 16: C204 Steering Column Harness to the I/P Harness
Connector 17: C208 I/P Harness to the Body Harness
Connector 18: C209 Body Harness to the Driver Door Harness
Connector 19: C210 Body Harness to the Passenger Door Harness
Connector 20: C211 Passenger Door Harness to the Body Harness (AU3)
Connector 21: C275 SIR Coil Harness to the Body Harness
Connector 22: C307 Body Harness to the Driver Seat Harness (AG1)
Connector 23: C310 Dome Lamp Harness to the Body Harness
Connector 24: C311 Body Harness to the Right Rear Passenger Door Harness (Extended Cab)
Connector 25: C312 Body Harness to the Left Rear Passenger Door Harness (Extended Cab)
Connector 26: C313 Body Harness to the Passenger Seat Harness
Connector 27: C314 Body Harness to the Driver Seat Harness
Connector 28: C315 Body Harness to the Passenger Seat Harness (AG2)
Connector 29: C316 Body Harness to the Left Rear Passenger Door Harness (Crew Cab w/A31)
Connector 30: C316 Body Harness to the Left Rear Passenger Door Harness (Crew Cab w/o A31)
Connector 31: C316 Body Harness to the Left Rear Passenger Door Harness (Extended Cab)
Connector 32: C317 Body Harness to the Right Rear Passenger Door Harness (Crew Cab w/A31)
Connector 33: C317 Body Harness to the Right Rear Passenger Door Harness (Crew Cab w/o A31)
Connector 34: C317 Body Harness to the Right Rear Passenger Door Harness (Extended Cab)
Connector 35: C318 Heat Element to Passenger Seat Harness (AG2)
Connector 36: C319 Heat Element to Driver Seat Harness (AG1)
Connector 37: C320 Body Harness to Cargo Lamp/Center High Mounted Stop Lamp (CHMSL) Harness
Connector 38: C400 Chassis Harness to the License Lamp Harness
Connector 39: C401 Left Rear Lamp Assembly to the Chassis Harness (w/o Trailer Accessory)
Connector 40: C401 Trailer Accessory Harness to the Chassis Harness (Trailer Accessory)
Connector 41: C402 Right Rear Lamp Assembly to the Chassis Harness
Connector 42: C403 Left Rear Lamp Assembly to the Trailer Accessory Harness (Trailer Accessory)

C100 Engine Harness to the Front Axle Jumper Harness (4WD)


Object Number: 646430  Size: CH

Object Number: 806431  Size: CH

Connector Part Information

  • OEM: 15326815
  • Service: 15306396
  • Description: 4-Way F GT 150 Series Sealed 4.0 (BK)

Connector Part Information

  • OEM: 15326820
  • Service: 15326820
  • Description: 4-Way M GT 150 Series (BK)

Terminal Part Information

  • Pins: A-D
  • Terminal/Tray: 12191819/8
  • Core/Insulation Crimp: E/1
  • Release Tool/Test Probe: 15315247/J-35616-2A (GY)

Terminal Part Information

  • Pins: A-D
  • Terminal/Tray: 15326269/19
  • Core/Insulation Crimp: E/4
  • Release Tool/Test Probe: 15315247/J-35616-3 (GY)

C100 Engine Harness to the Front Axle Jumper Harness (4WD)

Pin

Wire Color

Circuit No.

Function

Pin

Wire Color

Circuit No.

Function

A

BK/WH

1695

Axle Switch Signal

A

BK/WH

1695

Axle Switch Signal

B

L-BU

1296

Axle Actuator - Control

B

L-BU

1296

Axle Actuator - Control

C

PK

1539

Ignition 1 Voltage

C

PK

1539

Ignition 1 Voltage

D

BK

550

Ground

D

BK

550

Ground

C101 Engine Harness to the Fuel Rail Harness (2.9L)


Object Number: 647974  Size: CH

Object Number: 1334521  Size: CH

Connector Part Information

  • OEM: 15326822
  • Service: 88987186
  • Description: 5-Way F GT 150 Series Sealed 4.0 (BK)

Connector Part Information

  • OEM: 15326827
  • Service: 89046648
  • Description: 5-Way M GT 150 Series Sealed 4.0 (BK)

Terminal Part Information

  • Pins: A-E
  • Terminal/Tray: 12191819/8
  • Core/Insulation Crimp: E/1
  • Release Tool/Test Probe: 15315247/J-35616-2A (GY)

Terminal Part Information

  • Pins: A-E
  • Terminal/Tray: See Terminal Repair Kit
  • Core/Insulation Crimp: See Terminal Repair Kit
  • Release Tool/Test Probe: See Terminal Repair Kit

C101 Engine Harness to the Fuel Rail Harness (2.9L)

Pin

Wire Color

Circuit No.

Function

Pin

Wire Color

Circuit No.

Function

A

PK

839

Ignition 1 Voltage

A

PK

839

Ignition 1 Voltage

B

BK

1744

Fuel Injector 1 Control

B

BK

1744

Fuel Injector 1 Control

C

L-GN/BK

1745

Fuel Injector 2 Control

C

L-GN/BK

1745

Fuel Injector 2 Control

D

PK/BK

1746

Fuel Injector 3 Control

D

PK/BK

1746

Fuel Injector 3 Control

E

L-BU/BK

844

Fuel Injector 4 Control

E

L-BU/BK

844

Fuel Injector 4 Control

C101 Engine Harness to the Fuel Rail Harness (3.5L)


Object Number: 886053  Size: CH

Object Number: 646396  Size: CH

Connector Part Information

  • OEM: 15326830
  • Service: 88953153
  • Description: 6-Way F GT 150 Series (BK)

Connector Part Information

  • OEM: 15326833
  • Service: 15326833
  • Description: 6-Way M GT 150 Series Sealed 4.0 (BK)

Terminal Part Information

  • Pins: A-F
  • Terminal/Tray: 12191819/8
  • Core/Insulation Crimp: E/1
  • Release Tool/Test Probe: 15315247/J-35616-2A (GY)

Terminal Part Information

  • Pins: A-F
  • Terminal/Tray: See Terminal Repair Kit
  • Core/Insulation Crimp: See Terminal Repair Kit
  • Release Tool/Test Probe: See Terminal Repair Kit

C101 Engine Harness to the Fuel Rail Harness (3.5L)

Pin

Wire Color

Circuit No.

Function

Pin

Wire Color

Circuit No.

Function

A

PK

839

Ignition 1 Voltage

A

PK

439

Ignition 1 Voltage

B

L-BU/BK

844

Fuel Injector 4 Control

B

L-BU/BK

844

Fuel Injector 4 Control

C

BK/WH

845

Fuel Injector 5 Control

C

BK/WH

845

Fuel Injector 5 Control

D

BK

1744

Fuel Injector 1 Control

D

BK

1744

Fuel Injector 1 Control

E

L-GN/BK

1745

Fuel Injector 2 Control

E

L-GN/BK

1745

Fuel Injector 2 Control

F

PK/BK

1746

Fuel Injector 3 Control

F

PK/BK

1746

Fuel Injector 3 Control

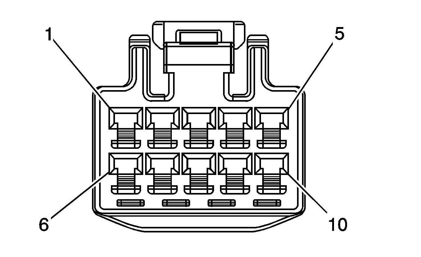
C102 Body Harness to the Chassis Harness


Object Number: 655811  Size: CH

Object Number: 1334523  Size: CH

Connector Part Information

  • OEM: 15326084
  • Service: 15306348
  • Description: 16-Way F GT 150, 280 Series Sealed 4.0, 5.8 (BK)

Connector Part Information

  • OEM: 15326057
  • Service: 88987519
  • Description: 16-Way M GT Mixed Sealed (BK)

Terminal Part Information

  • Pins: A-R
  • Terminal/Tray: See Terminal Repair Kit
  • Core/Insulation Crimp: See Terminal Repair Kit
  • Release Tool/Test Probe: See Terminal Repair Kit

Terminal Part Information

  • Pins: A
  • Terminal/Tray: 15304731/19
  • Core/Insulation Crimp: 2/5
  • Release Tool/Test Probe: 15315247/J-35616-5 (PU)
  • Pins: B-G, K-R
  • Terminal/Tray: 15326269/19
  • Core/Insulation Crimp: Pins: B-G, K-M, P-R: E/4
  • Core/Insulation Crimp: Pins: N: E/1
  • Release Tool/Test Probe: 15315247/J-35616-3 (GY)
  • Pins: H, J
  • Terminal/Tray: 15304732/8
  • Core/Insulation Crimp: A/5
  • Release Tool/Test Probe: 15315247/J-35616-5 (PU)

C102 Body Harness to the Chassis Harness

Pin

Wire Color

Circuit No.

Function

Pin

Wire Color

Circuit No.

Function

A

GY

120

Fuel Pump Supply Voltage

A

GY

120

Fuel Pump Supply Voltage

B

PU

1589

Fuel Level Sensor Signal - Primary

B

PU

1589

Fuel Level Sensor Signal

C

BK

2759

Low Reference

C

BK

2759

Low Reference

D

GY

2709

5-Volt Reference

D

GY

2709

5-Volt Reference

E

D-GN

890

Fuel Tank Pressure Sensor Signal

E

D-GN

890

Fuel Tank Pressure Sensor Signal

F

OG

1640

Battery Positive Voltage

F

OG

1640

Battery Positive Voltage

G

WH

1310

EVAP Canister Vent Solenoid Control

G

WH

1310

EVAP Canister Vent Solenoid Control

H

BK

850

Ground

H

BK

850

Ground

J

BK

850

Ground

J

BK

850

Ground

K

BN

9

Park Lamp Supply Voltage

K

BN

9

Park Lamp Supply Voltage

L

D-GN

19

Right Rear Turn Signal Lamps Supply Voltage

L

D-GN

19

Right Rear Turn Signal Lamps Supply Voltage

M

L-GN

24

Backup Lamp Supply Voltage

M

L-GN

24

Backup Lamp Supply Voltage

N

L-BU

20

Stop Lamp Supply Voltage

N

L-BU

20

Stop Lamp Supply Voltage

P

YE

18

Left Rear Turn Signal Lamps Supply Voltage

P

YE

18

Left Rear Turn Signal Lamps Supply Voltage

R

BN

9

Park Lamp Supply Voltage

R

BN

9

Park Lamp Supply Voltage

S

--

--

Not Used

S

--

--

Not Used

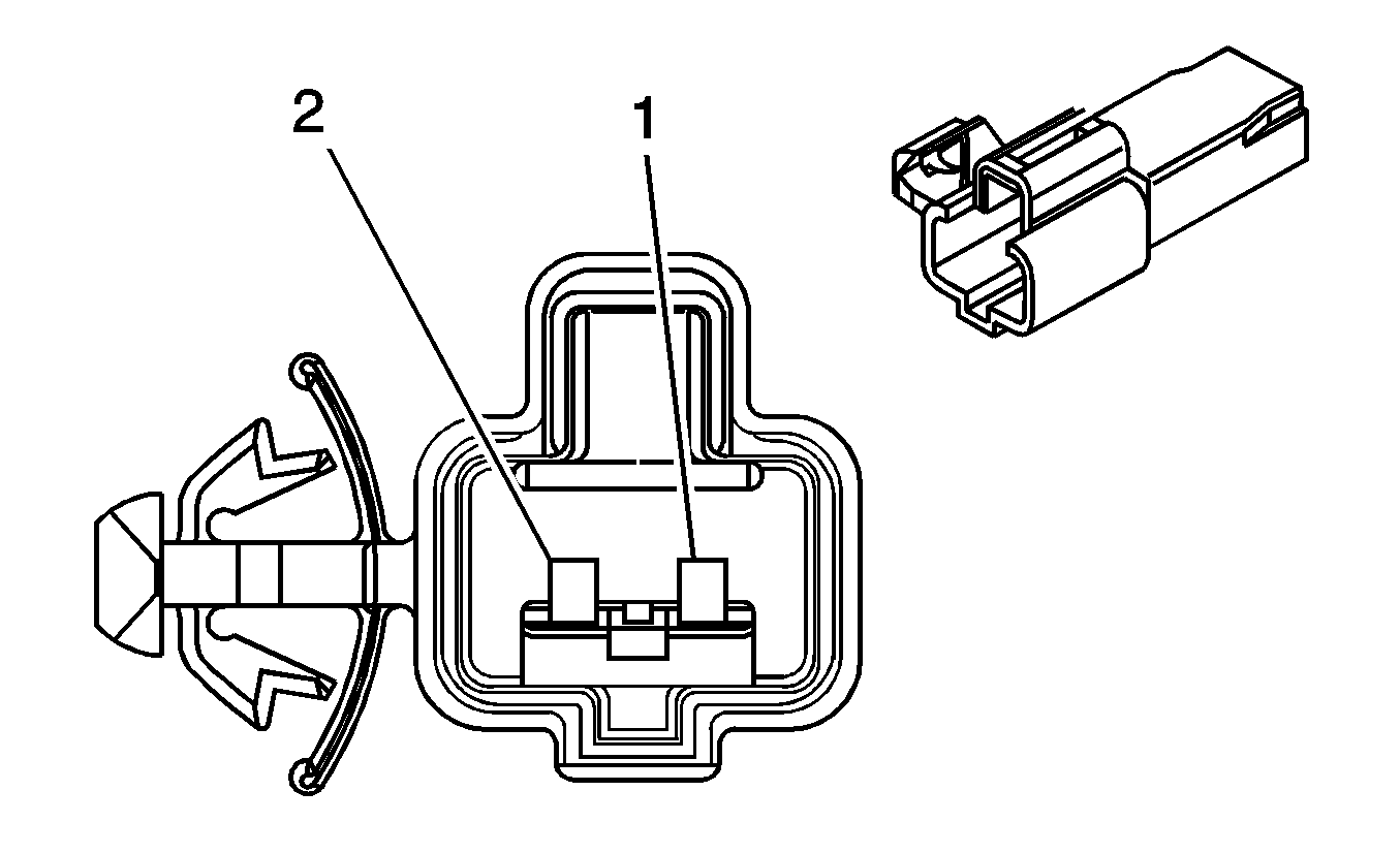
C103 Forward Lamp Harness to the Body Harness


Object Number: 684792  Size: CH

Object Number: 1345081  Size: CH

Connector Part Information

  • OEM: 12052613
  • Service: 12085212
  • Description: 2-Way F Metri-Pack 480 Series Sealed (BK)

Connector Part Information

  • OEM: 15336106
  • Service: 15306133
  • Description: 2-Way M Micro-Pack 480 Series Sealed (BK)

Terminal Part Information

  • Pins: A
  • Terminal/Tray: 12048451/2
  • Core/Insulation Crimp: See Terminal Repair Kit
  • Release Tool/Test Probe: 12094430/J-35616-40 (BU)
  • Pins: B
  • Terminal/Tray: 12052139/18
  • Core/Insulation Crimp: F/3
  • Release Tool/Test Probe: 12094430/J-35616-40 (BU)

Terminal Part Information

  • Pins: A
  • Terminal/Tray: 12065196/18
  • Core/Insulation Crimp: See Terminal Repair Kit
  • Release Tool/Test Probe: 12094430/J-35616-41 (BU)
  • Pins: B
  • Terminal/Tray: 12052172/18
  • Core/Insulation Crimp: F/3
  • Release Tool/Test Probe: 12094430/J-35616-41 (BU)

C103 Forward Lamp Harness to the Body Harness

Pin

Wire Color

Circuit No.

Function

Pin

Wire Color

Circuit No.

Function

A

L-BU

14

Left Turn Signal Lamps Supply Voltage

A

L-BU

14

Left Turn Signal Lamps Supply Voltage

B

OG

1840

Battery Positive Voltage

B

OG

1840

Battery Positive Voltage (AG1/AG2)

C104 Forward Lamp Harness to the Body Harness


Object Number: 646400  Size: CH

Object Number: 684916  Size: CH

Connector Part Information

  • OEM: 15326835
  • Service: 88986452
  • Description: 8-Way F GT 150 Series Sealed 4.0 (BK)

Connector Part Information

  • OEM: 15326840
  • Service: See Catalog
  • Description: 8-Way M GT 150 Series Sealed 4.0 (BK)

Terminal Part Information

  • Pins: A-H
  • Terminal/Tray: 12191819/8
  • Core/Insulation Crimp: E/1
  • Release Tool/Test Probe: 15315247/J-35616-2A (GY)

Terminal Part Information

  • Pins: A-H
  • Terminal/Tray: 15326269/19
  • Core/Insulation Crimp: E/4
  • Release Tool/Test Probe: 15315247/J-35616-3 (GY)

C104 Forward Lamp Harness to the Body Harness

Pin

Wire Color

Circuit No.

Function

Pin

Wire Color

Circuit No.

Function

A

D-GN

1409

Discriminating Sensor - Right - Signal

A

D-GN

1409

Discriminating Sensor - Right - Signal

B

YE

1834

Front End Sensor - Voltage

B

YE

1834

Front End Sensor - Voltage

C

D-BU

15

Right Turn Signal Lamps Supply Voltage

C

D-BU

15

Right Turn Signal Lamps Supply Voltage

D

--

--

Not Used

D

--

--

Not Used

E

YE

354

Discriminating Sensor - Signal

E

YE

354

Discriminating Sensor - Signal

F

GY

349

Discriminating Sensor - Left - Signal

F

GY

349

Discriminating Sensor - Left - Signal

G

YE

61

Low Reference (DF8)

G

YE

61

Low Reference (DF8)

H

D-GN/WH

636

Ambient Air Temperature Sensor Signal (DF8)

H

D-GN/WH

636

Ambient Air Temperature Sensor Signal (DF8)

C105 Engine Harness to the Body Harness (4WD)


Object Number: 831373  Size: CH

Object Number: 831374  Size: CH

Connector Part Information

  • OEM: 15326856
  • Service: 88986261
  • Description: 14-Way F 150 Series Sealed (BK)

Connector Part Information

  • OEM: 15326861
  • Service: 88986246
  • Description: 14-Way M 150 Series Sealed 4.0 (BK)

Terminal Part Information

  • Pins: A-K
  • Terminal/Tray: 12191819/8
  • Core/Insulation Crimp: E/1
  • Release Tool/Test Probe: 15315247/J-35616-2A (GY)

Terminal Part Information

  • Pins: A-L
  • Terminal/Tray: 15326269/19
  • Core/Insulation Crimp: E/4
  • Release Tool/Test Probe: 15315247/J-35616-3 (GY)

C105 Engine Harness to the Body Harness (4WD)

Pin

Wire Color

Circuit No.

Function

Pin

Wire Color

Circuit No.

Function

A

BK

1552

Motor Control A

A

BK

1552

Motor Control A

B

RD

1553

Motor Control B

B

RD

1553

Motor Control B

C

TN

1569

2WD/4WD Signal

C

TN

1569

2WD/4WD Signal

D

RD/WH

1556

Channel C Encoder - Signal

D

RD/WH

1556

Channel C Encoder - Signal

E

GY

2281

Neutral Switch Signal

E

GY

2281

Neutral Switch Signal

F

YE/BK

1558

Channel B Encoder - Signal

F

YE/BK

1558

Channel B Encoder - Signal

G

BK/WH

1695

Axle Switch Signal

G

BK/WH

1695

Axle Switch Signal

H

L-BU

1296

Axle Actuator - Control

H

L-BU

1296

Axle Actuator - Control

J

D-BU/WH

1557

Channel A Encoder - Signal

J

D-BU/WH

1557

Channel A Encoder - Signal

K

BN/WH

1555

Channel P Encoder - Signal

K

BN/WH

1555

Channel P Encoder - Signal

L

BN

436

AIR Pump Relay Control

L

BN

436

AIR Pump Relay Control

M

--

--

Not Used

M

--

--

Not Used

N

PU

1807

Class 2 Serial Data

N

PU

1807

Class 2 Serial Data

P

BN/WH

6254

ISS Signal

P

BN/WH

6254

ISS Signal

C106 Engine Harness to the Body Harness (2WD)


Object Number: 632357  Size: CH

Object Number: 646396  Size: CH

Connector Part Information

  • OEM: 15326829
  • Service: See Catalog
  • Description:150 Sealed

Connector Part Information

  • OEM: 15326833
  • Service: See Catalog
  • Description: GT 150 Sealed 4.0

Terminal Part Information

  • Pins: A-F
  • Terminal/Tray: See Terminal Repair Kit
  • Core/Insulation Crimp: See Terminal Repair Kit
  • Release Tool/Test Probe: See Terminal Repair Kit

Terminal Part Information

  • Pins: A-F
  • Terminal/Tray: 15326269/19
  • Core/Insulation Crimp: E/4
  • Release Tool/Test Probe: 15315247/J-35616-3 (GY)

C106 Engine Harness to the Body Harness (2WD)

Pin

Wire Color

Circuit No.

Function

Pin

Wire Color

Circuit No.

Function

A

OG/BK

463

Requested Torque Signal

A

OG/BK

463

Requested Torque Signal

B

TN/BK

464

Delivered Torque Signal

B

TN/BK

464

Delivered Torque Signal

C

BN

436

AIR Pump Relay Control

C

BN

436

AIR Pump Relay Control

D

--

--

Not Used

D

--

--

Not Used

E

PU

1807

Class 2 Serial Data

E

PU

1807

Class 2 Serial Data

F

BN/WH

6254

ISS Signal

F

BN/WH

6254

ISS Signal

C107 Forward Lamp Harness to Right Front Turn Signal Harness


Object Number: 684807  Size: CH

Object Number: 655690  Size: CH

Connector Part Information

  • OEM: 12110293
  • Service: 12117025
  • Description: 3-Way F Metri-Pack 150 Series Sealed (BK)

Connector Part Information

  • OEM: 12129615
  • Service: 15305889
  • Description: 3-Way M Metri-Pack 150 Series (BK)

Terminal Part Information

  • Pins: A-C
  • Terminal/Tray: 12048074/2
  • Core/Insulation Crimp: E/1
  • Release Tool/Test Probe: 12094429/J-35616-2A (GY)

Terminal Part Information

  • Pins: A-C
  • Terminal/Tray: See Terminal Repair Kit
  • Core/Insulation Crimp: See Terminal Repair Kit
  • Release Tool/Test Probe: See Terminal Repair Kit

C107 Forward Lamp Harness to Right Front Turn Signal Harness

Pin

Wire Color

Circuit No.

Function

Pin

Wire Color

Circuit No.

Function

A

BN

9

Park Lamp Supply Voltage

A

BN

--

Park Lamp Supply Voltage

B

D-BU

15

Right Turn Signal Lamps Supply Voltage

B

L-BU

--

Right Turn Signal Lamps Supply Voltage

C

BK

850

Ground

C

BK

--

Ground

C108 Forward Lamp Harness to Left Front Turn Signal Harness


Object Number: 684807  Size: CH

Object Number: 655690  Size: CH

Connector Part Information

  • OEM: 12110293
  • Service: 12117025
  • Description: 3-Way F Metri-Pack 150 Series Sealed (BK)

Connector Part Information

  • OEM: 12129615
  • Service: 15305889
  • Description: 3-Way M Metri-Pack 150 Series (BK)

Terminal Part Information

  • Pins: A-C
  • Terminal/Tray: 12048074/2
  • Core/Insulation Crimp: E/1
  • Release Tool/Test Probe: 12094429/J-35616-2A (GY)

Terminal Part Information

  • Pins: A-C
  • Terminal/Tray: See Terminal Repair Kit
  • Core/Insulation Crimp: See Terminal Repair Kit
  • Release Tool/Test Probe: See Terminal Repair Kit

C108 Forward Lamp Harness to Left Front Turn Signal Harness

Pin

Wire Color

Circuit No.

Function

Pin

Wire Color

Circuit No.

Function

A

BN

9

Park Lamp Supply Voltage

A

BN

--

Park Lamp Supply Voltage

B

L-BU

14

Left Turn Signal Supply Lamps Voltage

B

L-BU

--

Left Turn Signal Supply Lamps Voltage

C

BK

850

Ground

C

BK

--

Ground

C109 Battery Harness to Engine Harness


Object Number: 814659  Size: CH

Object Number: 814660  Size: CH

Connector Part Information

  • OEM: 15326120
  • Service: See Catalog
  • Description: 1-Way F Maxi Sealed (BK)

Connector Part Information

  • OEM: 89046877
  • Service: See Catalog
  • Description: 1-Way M Maxi Sealed (BK)

Terminal Part Information

  • Terminal/Tray: See Terminal Repair Kit
  • Core/Insulation Crimp: See Terminal Repair Kit
  • Release Tool/Test Probe: See Terminal Repair Kit

Terminal Part Information

  • Terminal/Tray: See Terminal Repair Kit
  • Core/Insulation Crimp: See Terminal Repair Kit
  • Release Tool/Test Probe: See Terminal Repair Kit

C109 Battery Harness to Engine Harness

Pin

Wire Color

Circuit No.

Function

Pin

Wire Color

Circuit No.

Function

1

RD

8

Battery Positive Voltage

1

RD

5

Battery Positive Voltage

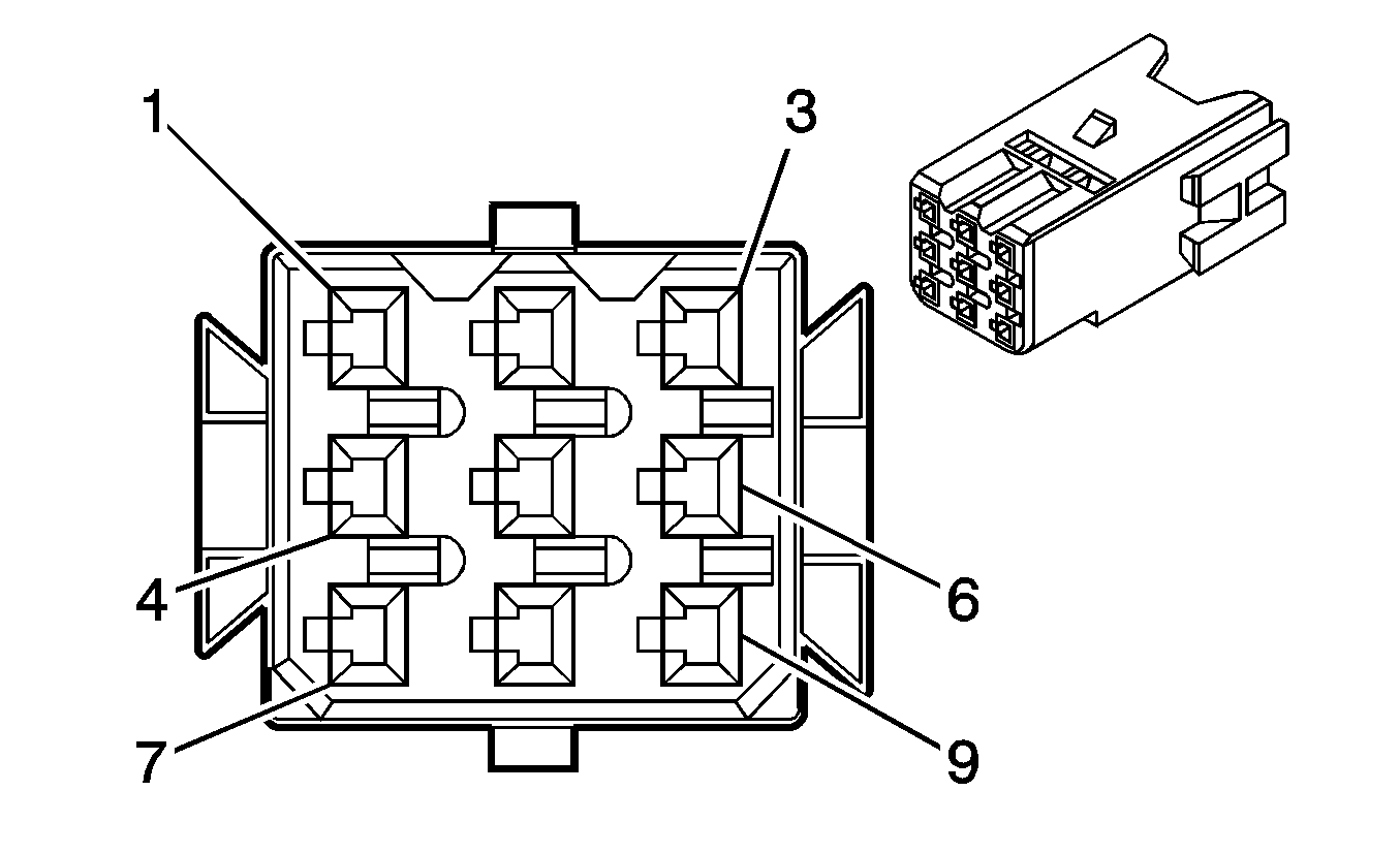
C200 I/P Harness to the Body Harness


Object Number: 768086  Size: CH

Object Number: 768088  Size: CH

Connector Part Information

  • OEM: 15304837
  • Service: 15359287
  • Description: 40-Way F GT 150, 280 Series (BK)

Connector Part Information

  • OEM: 15359284
  • Service: 88988307
  • Description: 40-Way M GT 150, 280 Series (BK)

Terminal Part Information

  • Pins: A2-A6, A8, B1, B4-B6, B8-B9, B12, C1-C2, C7, C9-C10, C12, D1, D4-D6, D8
  • Terminal/Tray: See Terminal Repair Kit
  • Core/Insulation Crimp: See Terminal Repair Kit
  • Release Tool/Test Probe: See Terminal Repair Kit

Terminal Part Information

  • Pins: A2-A3, A5-A6, A8, B1, B4-B5, B6, B8-B9, B12, C1-C2, C7, C9-C10, C12, D1, D4-D6, D8
  • Terminal/Tray: See Terminal Repair Kit
  • Core/Insulation Crimp: See Terminal Repair Kit
  • Release Tool/Test Probe: See Terminal Repair Kit

C200 I/P Harness to the Body Harness

Pin

Wire Color

Circuit No.

Function

Pin

Wire Color

Circuit No.

Function

A1

--

--

Not Used

A1

--

--

Not Used

A2

D-GN

2308

Passenger Airbag On Indicator Control

A2

D-GN

2308

Passenger Airbag On Indicator Control

A3

L-BU/BK

1693

Switch Signal Low (4WD)

A3

L-BU

1693

Switch Signal Low (4WD)

A4

BK/WH

1151

Ground

A4

BK/WH

1151

Not Used

A5

OG

40

Battery Positive Voltage

A5

OG

40

Battery Positive Voltage

OG

40

Battery Positive Voltage

A6

PK

339

Ignition 1 Voltage

A6

PK

339

Ignition 1 Voltage

PK

339

Ignition 1 Voltage (4WD)

A7

--

--

Not Used

A7

--

--

Not Used

A8

BN

141

Ignition 3 Voltage

A8

BN

141

Ignition 3 Voltage

B1

OG

1440

Battery Positive Voltage

B1

OG

1440

Battery Positive Voltage

B2-B3

--

--

Not Used

B2-B3

--

--

Not Used

B4

GY

91

Windshield Wiper Relay Control

B4

GY

91

Windshield Wiper Relay Control

B5

GY/BK

1694

5-Volt Reference (4WD)

B5

GY/BK

1694

5-Volt Reference (4WD)

B6

GY

1884

Cruise Control Set/Coast and Resume/Accelerate Switch Signal (K34)

B6

GY

1884

Cruise Control Set/Coast and Resume/Accelerate Switch Signal (K34)

B7

--

--

Not Used

B7

--

--

Not Used

B8

BN

1560

Neutral Indicator Control (4WD)

B8

BN

1560

Neutral Indicator Control (4WD)

B9

L-GN/BK

1563

2 HI Indicator - Control (4WD)

B9

L-GN/BK

1563

2 HI Indicator - Control (4WD)

B10-B11

--

--

Not Used

B10-B11

--

--

Not Used

B12

YE

116

Left Rear Speaker Output (-) (Extended/Crew Cab)

B12

YE

116

Left Rear Speaker Output (-) (Extended/Crew Cab)

C1

BN

199

Left Rear Speaker Output (+) (Extended/Crew Cab)

C1

BN

199

Left Rear Speaker Output (+) (Extended/Crew Cab)

C2

OG

1740

Battery Positive Voltage

C2

OG

1740

Battery Positive Voltage

C3-C6

--

--

Not Used

C3-C6

--

--

Not Used

C7

PU/WH

1565

4 LO Indicator - Control (4WD)

C7

PU/WH

1565

4 LO Indicator - Control (4WD)

C8

--

--

Not Used

C8

--

--

Not Used

C9

BN

9

Park Lamp Supply Voltage

C9

BN

9

Park Lamp Supply Voltage

C10

TN/BK

1566

4 HI Indicator - Control (4WD)

C10

TN/BK

1566

4 HI Indicator - Control (4WD)

C11

--

--

Not Used

C11

--

--

Not Used

C12

D-BU

2307

Passenger Airbag On Indicator Control

C12

D-BU

2307

Passenger Airbag On Indicator Control

D1

OG

240

Battery Positive Voltage (KC5)

D1

OG

240

Battery Positive Voltage (KC5)

D2-D3

--

--

Not Used

D2-D3

--

--

Not Used

D4

GY

118

Left Front Speaker Output (-)

D4

GY

118

Left Front Speaker Output (-)

D4

GY

118

Left Front Speaker Output (-)

D4

GY

118

Left Front Speaker Output (-) (UQ3)

D5

TN

201

Left Front Speaker Output (+)

D5

TN

201

Left Front Speaker Output (+)

TN

201

Left Front Speaker Output (+) (UQ3)

D6

OG

1140

Battery Positive Voltage

D6

OG

1140

Battery Positive Voltage

OG

1140

Battery Positive Voltage (U2K)

D7

--

--

Not Used

D7

--

--

Not Used

D8

YE

143

Accessory Voltage

D8

YE

143

Accessory Voltage

C201 I/P Harness to the Body Harness


Object Number: 655774  Size: CH

Object Number: 655773  Size: CH

Connector Part Information

  • OEM: 15317325
  • Service: 15317325
  • Description: 22-Way F GT 150, 280 Series (L-GY)

Connector Part Information

  • OEM: 15317322
  • Service: 15317322
  • Description: 22-Way M GT 150, 280 Series (L-GY)

Terminal Part Information

  • Pins: A1-A3, A9-A11, B9-B11
  • Terminal/Tray: 12191812/19
  • Core/Insulation Crimp: E/C
  • Release Tool/Test Probe: 15315247/J-35616-2A (GY)
  • Pins: A7, B4-B5, B7-B8
  • Terminal/Tray: 15304711/8
  • Core/Insulation Crimp: Pins: A7: 2/A
  • Core/Insulation Crimp: Pins: B4-B5, B7-B8: E/A
  • Release Tool/Test Probe: 15315247/J-35616-4A (PU)
  • Pins: A4-A5, A8
  • Terminal/Tray: 15304713/19
  • Core/Insulation Crimp: 4/4
  • Release Tool/Test Probe: 15315247/J-35616-4A (PU)

Terminal Part Information

  • Pins: A1-A3, A9-A11, B9-B11
  • Terminal/Tray: 15304702/19
  • Core/Insulation Crimp: Pins: A1-A3, A9, B9: E/C
  • Core/Insulation Crimp: Pins: A10-A11, B10-B11: E/4
  • Release Tool/Test Probe: 15315247/J-35616-3 (GY)
  • Pins: B4-B5
  • Terminal/Tray: 15304722/8
  • Core/Insulation Crimp: E/C
  • Release Tool/Test Probe: 15315247/J-35616-5 (PU)
  • Pins: A4-A5,A7-A8, B7-B8
  • Terminal/Tray: 15304724/8
  • Core/Insulation Crimp: Pins: A4-A5, A8: C/D
  • Core/Insulation Crimp: Pins: A7: 2/A
  • Core/Insulation Crimp: Pins: B7-B8: See Terminal Repair Kit
  • Release Tool/Test Probe: 15315247/J-35616-5 (PU)

C201 I/P Harness to the Body Harness

Pin

Wire Color

Circuit No.

Function

Pin

Wire Color

Circuit No.

Function

A1

BN/WH

419

MIL Control

A1

BN/WH

419

MIL Control

A2

D-GN/WH

2514

Keypad Signal (UE1)

A2

D-GN/WH

2514

Keypad Signal (UE1)

A3

L-GN/BK

2515

Keypad Supply Voltage (UE1)

A3

L-GN/BK

2515

Keypad Supply Voltage (UE1)

A4

BK

2050

Ground

A4

BK

2050

Ground

A5

BK

2050

Ground

A5

BK

2050

Ground

A6

--

--

Not Used

A6

--

--

Not Used

A7

OG

340

Battery Positive Voltage (UE1)

A7

OG

340

Battery Positive Voltage (UE1)

A8

BN

41

Ignition 3 Voltage

A8

BN

41

Ignition 3 Voltage

A9

D-GN/WH

762

A/C Request Signal (C60)

A9

D-GN/WH

762

A/C Request Signal (C60)

A10

GY

655

Cellular Microphone Signal (UE1)

A10

GY

655

Cellular Microphone Low Reference (UE1)

A11

BARE

1705

Drain Wire (UE1)

A11

BARE

1705

Drain Wire (UE1)

B1-B3

--

--

Not Used

B1-B3

--

--

Not Used

B4

YE/BK

2516

Keypad Green LED Signal (UE1)

B4

YE/BK

2516

Keypad Green LED Signal (UE1)

B5

BN/WH

2517

Keypad Red LED Signal (UE1)

B5

BN/WH

2517

Keypad Red LED Signal (UE1)

B6

--

--

Not Used

B6

--

--

Not Used

B7

D-GN

117

Right Front Speaker Output (-)

B7

D-GN

117

Right Front Speaker Output (-)

D-GN

117

Right Front Speaker Output (-)

B8

L-GN

200

Right Front Speaker Output (+)

B8

L-GN

200

Right Front Speaker Output (+)

L-GN

200

Right Front Speaker Output (+) (UQ3)

B9

PU

1807

Class 2 Serial Data (UE1)

B9

PU

1807

Class 2 Serial Data (UE1)

B10

D-BU

46

Right Rear Speaker Output (+)

B10

D-BU

46

Right Rear Speaker Output (+)

B11

L-BU

115

Right Rear Speaker Output (-)

B11

L-BU

115

Right Rear Speaker Output (-)

C202 Driver Door Harness to the Body Harness (AU3)


Object Number: 1336234  Size: CH

Object Number: 1333956  Size: CH

Connector Part Information

  • OEM: 15410450
  • Service: 89047131
  • Description: 9-Way F Ducon 1.5 (WH)

Connector Part Information

  • OEM: 12185085
  • Service: 88953417
  • Description: 9-Way M Ducon 1.5 (WH)

Terminal Part Information

  • Pins: 1-4, 6-9
  • Terminal/Tray: See Terminal Repair Kit
  • Core/Insulation Crimp: See Terminal Repair Kit
  • Release Tool/Test Probe: See Terminal Repair Kit

Terminal Part Information

  • Pins: 1-4, 6-9
  • Terminal/Tray: See Terminal Repair Kit
  • Core/Insulation Crimp: See Terminal Repair Kit
  • Release Tool/Test Probe: See Terminal Repair Kit

C202 Driver Door Harness to the Body Harness (AU3)

Pin

Wire Color

Circuit No.

Function

Pin

Wire Color

Circuit No.

Function

1

BN

9

Park Lamp Supply Voltage

1

BN

9

Park Lamp Supply Voltage

BN

9

Park Lamp Supply Voltage

2

YE

443

Accessory Voltage

2

YE

443

Accessory Voltage

3

GY

295

Door Lock Actuator Lock Control

3

GY

295

Door Lock Actuator Lock Control

GY

295

Door Lock Actuator Lock Control

4

BK

850

Ground (ZQ6)

4

BK

850

Ground (ZQ6)

5

--

--

Not Used

5

--

--

Not Used

6

L-BU

244

Passenger Door Lock Switch Lock Control

6

L-BU

244

Passenger Door Lock Switch Lock

L-BU

244

Passenger Door Lock Switch Lock

7

WH

194

Door Unlock Control

7

WH

194

Door Unlock Control

8

OG

1240

Battery Positive Voltage

8

OG

1240

Battery Positive Voltage

9

TN

294

Door Lock Actuator Unlock Control

9

TN

294

Door Lock Actuator Unlock Control

C203 I/P Harness to the HVAC Harness


Object Number: 623046  Size: CH

Object Number: 800517  Size: CH

Connector Part Information

  • OEM: 15326931
  • Service: 15306309
  • Description: 10-Way F GT 280 Series (BK)

Connector Part Information

  • OEM: 15326935
  • Service: 15306305
  • Description: 10-Way M GT 280 Series (BK)

Terminal Part Information

  • Pins: A, C, E, G, J
  • Terminal/Tray: 15304713/19
  • Core/Insulation Crimp: 4/4
  • Release Tool/Test Probe: 15315247/J-35616-4A (PU)
  • Pins: B, D, F, H, K
  • Terminal/Tray: 15304711/8
  • Core/Insulation Crimp: E/A
  • Release Tool/Test Probe: 15315247/J-35616-4A (PU)

Terminal Part Information

  • Pins: A, C, E, G, J
  • Terminal/Tray: 15304724/8
  • Core/Insulation Crimp: A/D
  • Release Tool/Test Probe: 15315247/J-35616-5 (PU)
  • Pins: B, D, F, H, K
  • Terminal/Tray: 15304722/8
  • Core/Insulation Crimp: E/C
  • Release Tool/Test Probe: 15315247/J-35616-5 (PU)

C203 I/P Harness to the HVAC Harness

Pin

Wire Color

Circuit No.

Function

Pin

Wire Color

Circuit No.

Function

A

YE

60

Blower Motor Low Control

A

YE

60

Blower Motor Low Control

B

L-GN/BK

1647

Recirculation Door Control B

B

L-GN/BK

1647

Recirculation Door Control B (C60)

C

TN

63

Blower Motor Medium 1 Control

C

TN

63

Blower Motor Medium 1 Control

D

PK/WH

1648

Recirculation Door Control A

D

PK/WH

1648

Recirculation Door Control A (C60)

E

L-BU

72

Medium 2 Blower Motor Control

E

L-BU

72

Medium 2 Blower Motor Control

F

L-GN

66

A/C Request Signal

F

L-GN

66

A/C Request Signal (C60)

G

OG

52

Blower Motor High Control

G

OG

52

Blower Motor High Control

H

D-GN/WH

762

A/C Request Signal

H

D-GN/WH

762

A/C Request Signal (C60)

J

BN

41

Ignition 3 Voltage

J

BN

41

Ignition 3 Voltage

K

BK

2050

Ground

K

BK

2050

Ground (C60)

C204 Steering Column Harness to the I/P Harness


Object Number: 655774  Size: CH

Object Number: 655773  Size: CH

Connector Part Information

  • OEM: 15317325
  • Service: 15317325
  • Description: 22-Way F GT 150, 280 Series (L-GY)

Connector Part Information

  • OEM: 15317322
  • Service: 15317322
  • Description: 22-Way M GT 150, 280 Series (L-GY)

Terminal Part Information

  • Pins: A1-A8, B1, B3-B5, B7-B11, A10, A11
  • Terminal/Tray: See Terminal Repair Kit
  • Core/Insulation Crimp: See Terminal Repair Kit
  • Release Tool/Test Probe: See Terminal Repair Kit

Terminal Part Information

  • Pins: A1-A3, B1, B3, B9-B11, A10-A11
  • Terminal/Tray: 15304702/19
  • Core/Insulation Crimp: Pins: A1-A3, B3: E/4
  • Core/Insulation Crimp: Pins: B1, B9-B11, A10-A11: E/C
  • Release Tool/Test Probe: 15315247/J-35616-3 (GY)
  • Pins: A4-A7, B4-B5, B7-B8
  • Terminal/Tray: 15304722/8
  • Core/Insulation Crimp: E/C
  • Release Tool/Test Probe: 15315247/J-35616-5 (PU)
  • Pins: A8
  • Terminal/Tray: 15304724/8
  • Core/Insulation Crimp: See Terminal Repair Kit
  • Release Tool/Test Probe: 15315247/J-35616-5 (PU)

C204 Steering Column Harness to the I/P Harness

Pin

Wire Color

Circuit No.

Function

Pin

Wire Color

Circuit No.

Function

A1

WH/BU

1390

Off/Run/Crank Voltage

A1

WH

1390

Off/Run/Crank Voltage

A2

WH/GN

338

Run/Crank Voltage

A2

D-BU

338

Run/Crank Voltage

A3

WH/RD

4

Accessory Voltage

A3

BN

4

Accessory Voltage

A4

GY

323

Shift Solenoid Supply Voltage

A4

BN

323

Shift Solenoid Supply Voltage

A5

BN

228

Windshield Washer Pump Control

A5

RD

228

Windshield Washer Pump Control

A6

D-BU/BK

91

Windshield Wiper Relay Control

A6

GY

91

Windshield Wiper Relay Control

A7

D-BU/RD

112

Windshield Wiper Switch Signal 1

A7

GY

112

Windshield Wiper Switch Signal 1

A8

YE

339

Ignition 1 Voltage

A8

PK

339

Ignition 1 Voltage

PK

339

Ignition 1 Voltage

A9

--

--

Not Used

A9

--

--

Not Used

A10

D-BU/WH

1356

Flash-To-Pass Switch Signal

A10

BN

1356

Flash-To-Pass Switch Signal

A11

RD

524

Headlamp Dimmer Switch High Beam Signal

A11

PU

524

Headlamp Dimmer Switch High Beam Signal

B1

WH/YE

1073

Ignition Key Resistor Signal

B1

WH/BK

1073

Ignition Key Resistor Signal

B2

--

--

Not Used

B2

--

--

Not Used

B3

WH/BK

1740

Battery Positive Voltage

B3

OG

1740

Battery Positive Voltage

B4

D-BU

2050

Ground

B4

BK

2050

Ground

B5

PU

1508

Turn Signal Switch Signal

B5

L-BU

1508

Turn Signal Switch Signal

B6

--

--

Not Used

B6

--

--

Not Used

B7

BK

143

Accessory Voltage

B7

YE

143

Accessory Voltage

B8

WH

1884

Cruise Control Set/Coast and Resume/Accelerate Switch Signal

B8

GY

1884

Cruise Control Set/Coast and Resume/Accelerate Switch Signal

B9

D-GN

2050

Ground

B9

BK

2050

Ground

B10

PK

2050

Ground

B10

BK

2050

Ground

B11

L-GN

28

Horn Relay Control

B11

BK

28

Horn Relay Control

C208 I/P Harness to the Body Harness


Object Number: 1335535  Size: CH

Object Number: 1334480  Size: CH

Connector Part Information

  • OEM: 15424638
  • Service: 88987926
  • Description: 4-Way F Metri-Pack 280 Series (YE)

Connector Part Information

  • OEM: 15424636
  • Service: 88987842
  • Description: 4-Way M Metri-Pack 280 Series (YE)

Terminal Part Information

  • Pins: A1-A2, B1-B2
  • Terminal/Tray: 12034046/2
  • Core/Insulation Crimp: E/A
  • Release Tool/Test Probe: 12094430/J-35616-4A (PU)

Terminal Part Information

  • Pins: A1-A2, B1-B2
  • Terminal/Tray: 12034047/2
  • Core/Insulation Crimp: E/A
  • Release Tool/Test Probe: 12094430/J-35616-5 (PU)

C208 I/P Harness to the Body Harness

Pin

Wire Color

Circuit No.

Function

Pin

Wire Color

Circuit No.

Function

A1

OG

3024

I/P Module - Stage 1 - Low Control

A1

OG

3024

I/P Module - Stage 1 - Low Control

A2

YE

3025

I/P Module - Stage 1 - High Control

A2

YE

3025

I/P Module - Stage 1 - High Control

B1

GY

3027

I/P Module - Stage 2 - High Control

B1

GY

3027

I/P Module - Stage 2 - High Control

B2

PU

3026

I/P Module - Stage 2 - Low Control

B2

PU

3026

I/P Module - Stage 2 - Low Control

C209 Body Harness to the Driver Door Harness


Object Number: 1334474  Size: CH

Object Number: 1336237  Size: CH

Connector Part Information

  • OEM: 15427364
  • Service: 88953422
  • Description: 18-Way F 040 III (WH)

Connector Part Information

  • OEM: 15427361
  • Service: 88953391
  • Description: 18-Way M 040 III (WH)

Terminal Part Information

  • Pins: 1-18
  • Terminal/Tray: 15445905/23
  • Core/Insulation Crimp: J/J
  • Release Tool/Test Probe: 12180559/J-35616-6 (BN)

Terminal Part Information

  • Pins: 1-18
  • Terminal/Tray: 15355486/20
  • Core/Insulation Crimp: C/E/C
  • Release Tool/Test Probe: 15315247/J-35616-13 (BU)

C209 Body Harness to the Driver Door Harness

Pin

Wire Color

Circuit No.

Function

Pin

Wire Color

Circuit No.

Function

1

RD/WH

881

Passenger Mirror Motor Right Control (A31)

1

RD/WH

881

Passenger Mirror Motor Right Control (A31)

2

D-BU

1307

Power Window Master Switch Lockout Signal (A31)

2

D-BU

1307

Power Window Master Switch Lockout Signal (A31)

3

BN/WH

1498

Passenger Mirror Motor Up Control (DE6)

3

BN/WH

1498

Passenger Mirror Motor Up Control (DE6)

4

TN

201

Left Front Speaker Output (+) (UQ3)

4

TN

201

Left Front Speaker Output (+) (UQ3)

5

GY

118

Left Front Speaker Output (-) (UQ3)

5

GY

118

Left Front Speaker Output (-) (UQ3)

6

TN

167

Power Window Master Switch Right Front Down Signal (A31)

6

TN

167

Power Window Master Switch Right Front Down Signal (A31)

7

D-GN

168

Power Window Master Switch Left Rear Up Signal (Crew Cab) (A31)

7

D-GN

168

Power Window Master Switch Left Rear Up Signal (Crew Cab) (A31)

8

L-BU

166

Power Window Master Switch Right Front Up Signal (A31)

8

L-BU

166

Power Window Master Switch Right Front Up Signal (A31)

9

L-GN

170

Power Window Master Switch Right Rear Up Signal (A31)

9

L-GN

170

Power Window Master Switch Right Rear Up Signal (Crew Cab) (A31)

10

YE

1187

Power Window Master Switch Left Rear Down Signal (Crew Cab) (A31)

10

YE

1187

Power Window Master Switch Left Rear Down Signal (Crew Cab) (A31)

11

TN

201

Left Front Speaker Output (+)

11

TN

201

Left Front Speaker Output (+)

12

GY

118

Left Front Speaker Output (-)

12

GY

118

Left Front Speaker Output (-)

13

YE

2131

Side Impact Sensing Module - Left -Voltage (ASF)

13

YE

2131

Side Impact Sensing Module - Left -Voltage (ASF)

14

WH

2132

Side Impact Sensing Module - Left - Signal (ASF)

14

WH

2132

Side Impact Sensing Module - Left - Signal (ASF)

15

OG

1732

Courtesy Lamps Supply Voltage

15

OG

1732

Courtesy Lamps Supply Voltage

16

D-BU

245

Passenger Door Lock Switch Unlock Control (A31)

16

D-BU

245

Passenger Door Lock Switch Unlock Control (A31)

17

L-BU/WH

1497

Passenger Mirror Motor Left/Down Control (DE6)

17

L-BU/WH

1497

Passenger Mirror Motor Left/Down Control (DE6)

18

PU

171

Power Window Master Switch Right Rear Down Signal (Crew Cab) (A31)

18

PU

171

Power Window Master Switch Right Rear Down Signal (Crew Cab) (A31)

C210 Body Harness to the Passenger Door Harness


Object Number: 1334474  Size: CH

Object Number: 1336237  Size: CH

Connector Part Information

  • OEM: 15427364
  • Service: 88953422
  • Description: 18-Way F 040 III (WH)

Connector Part Information

  • OEM: 15427361
  • Service: 88953391
  • Description: 18-Way M 040 III (WH)

Terminal Part Information

  • Pins: 1-18
  • Terminal/Tray: 15445905/23
  • Core/Insulation Crimp: J/J
  • Release Tool/Test Probe: 12180559/J-35616-6 (BN)

Terminal Part Information

  • Pins: 1-18
  • Terminal/Tray: 15355486/20
  • Core/Insulation Crimp: C/E/C
  • Release Tool/Test Probe: 15315247/J-35616-13 (BU)

C210 Body Harness to the Passenger Door Harness

Pin

Wire Color

Circuit No.

Function

Pin

Wire Color

Circuit No.

Function

1

RD/WH

881

Passenger Mirror Motor Right Control (DE6)

1

RD/WH

881

Passenger Mirror Motor Right Control (DE6)

2

D-BU

1307

Power Window Master Switch Lockout Signal (A31)

2

D-BU

1307

Power Window Master Switch Lockout Signal (A31)

3

BN/WH

1498

Passenger Mirror Motor Up Control (DE6)

3

BN/WH

1498

Passenger Mirror Motor Up Control (DE6)

4

L-GN

200

Right Front Speaker Output (+)

4

L-GN

200

Right Front Speaker Output (+) (UQ3)

5

D-GN

117

Right Front Speaker Output (-)

5

D-GN

117

Right Front Speaker Output (-) (UQ3)

6

TN

167

Power Window Master Switch Right Front Down Signal (A31)

6

TN

167

Power Window Master Switch Right Front Down Signal (A31)

7

BN

9

Park Lamp Supply Voltage (A31)

7

BN

9

Park Lamp Supply Voltage (A31)

8

L-BU

166

Power Window Master Switch Right Front Up Signal (A31)

8

L-BU

166

Power Window Master Switch Right Front Up Signal (A31)

9

--

--

Not Used

9

--

--

Not Used

10

L-BU

244

Passenger Door Lock Switch Lock Control (A31)

10

L-BU

244

Passenger Door Lock Switch Lock Control (A31)

11

L-GN

200

Right Front Speaker Output (+)

11

L-GN

200

Right Front Speaker Output (+)

12

D-GN

117

Right Front Speaker Output (-)

12

D-GN

117

Right Front Speaker Output (-)

13

TN

2133

Side Impact Sensing Module - Right - Voltage (ASF)

13

TN

2133

Side Impact Sensing Module - Right - Voltage (ASF)

14

D-GN

2134

Side Impact Sensing Module - Right - Signal (ASF)

14

D-GN

2134

Side Impact Sensing Module - Right - Signal (ASF)

15

--

--

Not Used

15

--

--

Not Used

16

D-BU

245

Passenger Door Lock Switch Unlock Control (A31)

16

D-BU

245

Passenger Door Lock Switch Unlock Control (A31)

17

L-BU/WH

1497

Passenger Mirror Motor Left/Down Control (A31)

17

L-BU/WH

1497

Passenger Mirror Motor Left/Down Control (A31)

18

--

--

Not Used

18

--

--

Not Used

C211 Passenger Door Harness to the Body Harness (AU3)


Object Number: 1336234  Size: CH

Object Number: 1333956  Size: CH

Connector Part Information

  • OEM: 15410450
  • Service: 89047131
  • Description: 9-Way F Ducon 1.5 (WH)

Connector Part Information

  • OEM: 12185085
  • Service: 88953417
  • Description: 9-Way M Ducon 1.5 (WH)

Terminal Part Information

  • Pins: 2-4, 9
  • Terminal/Tray: See Terminal Repair Kit
  • Core/Insulation Crimp: See Terminal Repair Kit
  • Release Tool/Test Probe: See Terminal Repair Kit

Terminal Part Information

  • Pins: 2-4, 9
  • Terminal/Tray: See Terminal Repair Kit
  • Core/Insulation Crimp: See Terminal Repair Kit
  • Release Tool/Test Probe: See Terminal Repair Kit

C211 Passenger Door Harness to the Body Harness (AU3)

Pin

Wire Color

Circuit No.

Function

Pin

Wire Color

Circuit No.

Function

1

--

--

Not Used

1

--

--

Not Used

2

YE

443

Accessory Voltage

2

YE

443

Accessory Voltage

3

GY

295

Door Lock Actuator Lock Control

3

GY

295

Door Lock Actuator Lock Control

4

BK

2050

Ground

4

BK

2050

Ground

5-8

--

--

Not Used

5-8

--

--

Not Used

9

TN

294

Door Lock Actuator Unlock Control

9

TN

294

Door Lock Actuator Unlock Control

C275 SIR Coil Harness to the Body Harness


Object Number: 594473  Size: CH

Object Number: 684931  Size: CH

Connector Part Information

  • OEM: 15336479
  • Service: 15306186
  • Description: 4-Way F Metri-Pack 280 Series (YE)

Connector Part Information

  • OEM: 15336476
  • Service: 15306363
  • Description: 4-Way M Metri-Pack 280 Series (YE)

Terminal Part Information

  • Pins: A1-A2, B1-B2
  • Terminal/Tray: See Terminal Repair Kit
  • Core/Insulation Crimp: See Terminal Repair Kit
  • Release Tool/Test Probe: See Terminal Repair Kit

Terminal Part Information

  • Pins: A1-A2, B1-B2
  • Terminal/Tray: See Terminal Repair Kit
  • Core/Insulation Crimp: See Terminal Repair Kit
  • Release Tool/Test Probe: See Terminal Repair Kit

C275 SIR Coil Harness to the Body Harness

Pin

Wire Color

Circuit No.

Function

Pin

Wire Color

Circuit No.

Function

A1

YE

--

Steering Wheel Module - Stage 1 - High Control

A1

TN

3021

Steering Wheel Module - Stage 1 - High Control

A2

BN

--

Steering Wheel Module - Stage 1 - Low Control

A2

BN

3020

Steering Wheel Module - Stage 1 - Low Control

B1

RD

--

Steering Wheel Module - Stage 2 - High Control

B1

WH

3023

Steering Wheel Module - Stage 2 - High Control

B2

WH

--

Steering Wheel Module - Stage 2 - Low Control

B2

PK

3022

Steering Wheel Module - Stage 2 - Low Control

C307 Body Harness to the Driver Seat Harness (AG1)


Object Number: 816167  Size: CH

Object Number: 1372292  Size: CH

Connector Part Information

  • OEM: 12059472
  • Service: 12101830
  • Description: 7-Way F 150, 280 Series GT (BK)

Connector Part Information

  • OEM: 12052200
  • Service: 12117321
  • Description: 7-Way M 150, 480 Series Sealed (BK)

Terminal Part Information

  • Pins: A-D
  • Terminal/Tray: 12048074/2
  • Core/Insulation Crimp: Pins: A, D: E/1
  • Core/Insulation Crimp: Pins: B, C: 2/1
  • Release Tool/Test Probe: 12094429/J-35616-2A (GY)
  • Pins: G
  • Terminal/Tray: 12052139/18
  • Core/Insulation Crimp: F/3
  • Release Tool/Test Probe: 12094430/J-35616-40 (BU)

Terminal Part Information

  • Pins: A-D, G
  • Terminal/Tray: See Terminal Repair Kit
  • Core/Insulation Crimp: See Terminal Repair Kit
  • Release Tool/Test Probe: See Terminal Repair Kit

C307 Body Harness to the Driver Seat Harness (AG1)

Pin

Wire Color

Circuit No.

Function

Pin

Wire Color

Circuit No.

Function

A

BN

141

Ignition 3 Voltage

A

BN

141

Ignition 3 Voltage

B

OG

1040

Battery Positive Voltage

B

OG

1040

Battery Positive Voltage

C

BK

2050

Ground

C

BK

2050

Ground

D

OG

2240

Battery Positive Voltage

D

OG

2240

Battery Positive Voltage

E-F

--

--

Not Used

E-F

--

--

Not Used

G

OG

1840

Battery Positive Voltage

G

OG

1840

Battery Positive Voltage

C310 Dome Lamp Harness to the Body Harness


Object Number: 1334525  Size: CH

Object Number: 1334462  Size: CH

Connector Part Information

  • OEM: 15318034
  • Service: 88987927
  • Description: 2-Way F 090 II (WH)

Connector Part Information

  • OEM: 15427362
  • Service: 88987841
  • Description: 2-Way M (WH)

Terminal Part Information

  • Pins: 1-2
  • Terminal/Tray: 12129960/19
  • Core/Insulation Crimp: See Terminal Repair Kit
  • Release Tool/Test Probe: 12094429/J-35616-18 (BK)

Terminal Part Information

  • Pins: 1-2
  • Terminal/Tray: 15305100/19
  • Core/Insulation Crimp: See Terminal Repair Kit
  • Release Tool/Test Probe: 12094429/J-35616-19 (BK)

C310 Dome Lamp Harness to the Body Harness

Pin

Wire Color

Circuit No.

Function

Pin

Wire Color

Circuit No.

Function

1

OG

1732

Courtesy Lamps Supply Voltage

1

OG

1732

Courtesy Lamps Supply Voltage

OG

1732

Courtesy Lamps Supply Voltage

2

WH

156

Courtesy Lamp Low Control

2

WH

156

Courtesy Lamp Low Control

C311 Body Harness to the Right Rear Passenger Door Harness (Extended Cab)


Object Number: 295469  Size: CH

Object Number: 847212  Size: CH

Connector Part Information

  • OEM: 12110505
  • Service: 15306044
  • Description: 2-Way F Metri-Pack 150 Series (YE)

Connector Part Information

  • OEM: 12160816
  • Service: See Catalog
  • Description: 2-Way M Metri-Pack 150 Series (YE)

Terminal Part Information

  • Pins: A-B
  • Terminal/Tray: 12064971/5
  • Core/Insulation Crimp: E/C
  • Release Tool/Test Probe: 12094429/J-35616-2A (GY)

Terminal Part Information

  • Pins: A-B
  • Terminal/Tray: 12047581/2
  • Core/Insulation Crimp: E/C
  • Release Tool/Test Probe: 12094429/J-35616-3 (GY)

C311 Body Harness to the Right Rear Passenger Door Harness (Extended Cab)

Pin

Wire Color

Circuit No.

Function

Pin

Wire Color

Circuit No.

Function

A

BK/WH

2118

Seat Belt Pretensioner - Left - High Control

A

BK/WH

2118

Seat Belt Pretensioner - Left - High Control

B

OG/BK

2119

Seat Belt Pretensioner - Left - Low Control

B

OG/BK

2119

Seat Belt Pretensioner - Left - Low Control

C312 Body Harness to the Left Rear Passenger Door Harness (Extended Cab)


Object Number: 295469  Size: CH

Object Number: 847212  Size: CH

Connector Part Information

  • OEM: 12110505
  • Service: 15306044
  • Description: 2-Way F Metri-Pack 150 Series (YE)

Connector Part Information

  • OEM: 12160816
  • Service: See Catalog
  • Description: 2-Way M Metri-Pack 150 Series (YE)

Terminal Part Information

  • Pins: A-B
  • Terminal/Tray: 12064971/5
  • Core/Insulation Crimp: E/C
  • Release Tool/Test Probe: 12094429/J-35616-2A (GY)

Terminal Part Information

  • Pins: A-B
  • Terminal/Tray: 12047581/2
  • Core/Insulation Crimp: E/C
  • Release Tool/Test Probe: 12094429/J-35616-3 (GY)

C312 Body Harness to the Left Rear Passenger Door Harness (Extended Cab)

Pin

Wire Color

Circuit No.

Function

Pin

Wire Color

Circuit No.

Function

A

L-GN

2116

Seat Belt Pretensioner - Right - High Control

A

BK/WH

2118

Seat Belt Pretensioner - Right - High Control

B

OG

2117

Seat Belt Pretensioner - Right - Low Control

B

OG/BK

2119

Seat Belt Pretensioner - Right - Low Control

C313 Body Harness to the Passenger Seat Harness


Object Number: 647976  Size: CH

Object Number: 847286  Size: CH

Connector Part Information

  • OEM: 15332161
  • Service: 15306416
  • Description: 12-Way F GT 150 Series (BK)

Connector Part Information

  • OEM: 15332166
  • Service: 88953332
  • Description: 12-Way M GT 150 Series (BK)

Terminal Part Information

  • Pins: A-B, D, F-H, J, L-M
  • Terminal/Tray: 12191812/19
  • Core/Insulation Crimp: E/C
  • Release Tool/Test Probe: 15315247/J-35616-2A (GY)

Terminal Part Information

  • Pins: A-B, D, F-H, J, L-M
  • Terminal/Tray: See Terminal Repair Kit
  • Core/Insulation Crimp: See Terminal Repair Kit
  • Release Tool/Test Probe: See Terminal Repair Kit

C313 Body Harness to the Passenger Seat Harness

Pin

Wire Color

Circuit No.

Function

Pin

Wire Color

Circuit No.

Function

A

D-BU

2307

Passenger Air Bag On Indicator Control

A

D-BU

2307

Passenger Air Bag On Indicator Control

B

D-GN

2308

Passenger Air Bag Off Indicator Control

B

D-GN

2308

Passenger Air Bag Off Indicator Control

C

--

--

Not Used

C

--

--

Not Used

D

YE

1139

Ignition One Voltage

D

YE

1139

Ignition One Voltage

E

--

--

Not Used

E

--

--

Not Used

F

BK/WH

2151

Ground

F

BK/WH

2151

Ground

G

RD

1362

Seat Belt Switch - Right - Signal

G

BK/WH

2484

Seat Belt Switch - Right - Signal

H

BK

407

Low Reference

H

BK

2644

Low Reference

J

L-BU

5056

Seat Position Sensor- Right - Signal

J

BK

2645

Seat Position Sensor- Right - Signal

K

--

--

Not Used

K

--

--

Not Used

L

TN/BK

371

Serial Data Link

L

PK

2306

Serial Data Link

M

BK/WH

2151

Ground

M

BK/WH

2151

Ground

C314 Body Harness to the Driver Seat Harness


Object Number: 646430  Size: CH

Object Number: 806431  Size: CH

Connector Part Information

  • OEM: 15326815
  • Service: 15306396
  • Description: 4-Way F GT 150 Series Sealed 4.0 (BK)

Connector Part Information

  • OEM: 15326820
  • Service: 15326820
  • Description: 4-Way M GT 150 Series Sealed 4.0 (BK)

Terminal Part Information

  • Pins: A-D
  • Terminal/Tray: 12191819/8
  • Core/Insulation Crimp: E/1
  • Release Tool/Test Probe: 15315247/J-35616-2A (GY)

Terminal Part Information

  • Pins: A-D
  • Terminal/Tray: See Terminal Repair Kit
  • Core/Insulation Crimp: See Terminal Repair Kit
  • Release Tool/Test Probe: See Terminal Repair Kit

C314 Body Harness to the Driver Seat Harness

Pin

Wire Color

Circuit No.

Function

Pin

Wire Color

Circuit No.

Function

A

BK/WH

238

Ground

A

BK/WH

238

Ground (AG1)

B

BK/WH

407

Seat Belt Switch - Left

B

BN/WH

2151

Seat Belt Switch - Left (AG1)

C

L-GN

5055

Seat Position Switch - Left - Signal

C

L-GN

2638

Seat Position Switch - Left - Signal

D

BK

407

Low Reference

D

TN

2644

Low Reference

C315 Body Harness to the Passenger Seat Harness (AG2)


Object Number: 1333948  Size: CH

Object Number: 1385122  Size: CH

Connector Part Information

  • OEM: 15326893
  • Service: 89046647
  • Description: 5-Way F GT 280 Series (BK)

Connector Part Information

  • OEM: 15326897
  • Service: 88987846
  • Description: 5-Way M GT 280 Series

Terminal Part Information

  • Pins: A-E
  • Terminal/Tray: 15304711/8
  • Core/Insulation Crimp: Pins: B, D-E: 2/A
  • Pins: A, C
  • Core/Insulation Crimp: E/A
  • Release Tool/Test Probe: 15315247/J-35616-4A (PU)

Terminal Part Information

  • Pins: A-E
  • Terminal/Tray: See Terminal Repair Kit
  • Core/Insulation Crimp: See Terminal Repair Kit
  • Release Tool/Test Probe: See Terminal Repair Kit

C315 Body Harness to the Passenger Seat Harness (AG2)

Pin

Wire Color

Circuit No.

Function

Pin

Wire Color

Circuit No.

Function

A

BN

141

Ignition 3 Voltage

A

BN

141

Ignition 3 Voltage

B

BK

2050

Ground

B

BK

2050

Ground

C

RD

1362

Seat Belt Switch - Right

C

L-BU

2179

Seat Belt Switch - Right

D

OG

2240

Battery Positive Voltage

D

OG

2240

Battery Positive Voltage

E

OG

1040

Battery Positive Voltage

E

OG

1040

Battery Positive Voltage

C316 Body Harness to the Left Rear Passenger Door Harness (Crew Cab w/A31)


Object Number: 1334476  Size: CH

Object Number: 1336249  Size: CH

Connector Part Information

  • OEM: 15427365
  • Service: 88953392
  • Description: 10-Way F 090 II (WH)

Connector Part Information

  • OEM: 15427363
  • Service: 88953385
  • Description: 10-Way M 090 II (WH)

Terminal Part Information

  • Pins: 1-10
  • Terminal/Tray: 12129960/19
  • Core/Insulation Crimp: Pins 1-2: A/E/A
  • Core/Insulation Crimp: Pins 3-5, 9-10: See Terminal Repair Kit
  • Core/Insulation Crimp: Pins 6-8: 6C/A
  • Release Tool/Test Probe: 12094429/J-35616-18 (BK)

Terminal Part Information

  • Pins: 1-10
  • Terminal/Tray: 15305100/19
  • Core/Insulation Crimp: Pins 1-2: A/E/A
  • Core/Insulation Crimp: Pins 3-5, 9-10: See Terminal Repair Kit
  • Core/Insulation Crimp: Pins 6-8: C/A
  • Release Tool/Test Probe: 12094429/J-35616-19 (BK)

C316 Body Harness to the Left Rear Passenger Door Harness (Crew Cab w/A31)

Pin

Wire Color

Circuit No.

Function

Pin

Wire Color

Circuit No.

Function

1

YE

116

Left Rear Speaker Output (-)

1

YE

116

Left Rear Speaker Output (-)

2

BN

199

Left Rear Speaker Output (+)

2

BN

199

Left Rear Speaker Output (+)

3

D-GN

168

Power Window Master Switch Left Rear Up Signal

3

D-GN

168

Power Window Master Switch Left Rear Up Signal

4

YE

1187

Power Window Master Switch Left Rear Down Signal

4

YE

1187

Power Window Master Switch Left Rear Down Signal

5

BN

9

Park Lamp Supply Voltage

5

BN

9

Park Lamp Supply Voltage

6

TN

294

Door Lock Actuator Unlock Control (AU3)

6

TN

294

Door Lock Actuator Unlock Control (AU3)

7

GY

295

Door Lock Actuator Lock Control (AU3)

7

GY

295

Door Lock Actuator Lock Control (AU3)

8

BK

850

Ground

8

BK

850

Ground

9

D-BU

1307

Power Window Master Switch Lockout Signal

9

D-BU

1307

Power Window Master Switch Lockout Signal

10

YE

443

Accessory Voltage

10

YE

443

Accessory Voltage

C316 Body Harness to the Left Rear Passenger Door Harness (Crew Cab w/o A31)


Object Number: 1385747  Size: CH

Object Number: 872877  Size: CH

Connector Part Information

  • OEM: 15332129
  • Service: 15306425
  • Description: 2-Way F GT 150 Series (BK)

Connector Part Information

  • OEM: 15332130
  • Service: 88986459
  • Description: 2-Way M GT 150 Series (BK)

Terminal Part Information

  • Pins: A-B
  • Terminal/Tray: 12191812/19
  • Core/Insulation Crimp: E/C
  • Release Tool/Test Probe: 15315247/J-35616-2A (GY)

Terminal Part Information

  • Pins: A-B
  • Terminal/Tray: 15304702/19
  • Core/Insulation Crimp: E/4
  • Release Tool/Test Probe: 15315247/J-35616-3 (GY)

C316 Body Harness to the Left Rear Passenger Door Harness (Crew Cab w/o A31)

Pin

Wire Color

Circuit No.

Function

Pin

Wire Color

Circuit No.

Function

A

YE

116

Left Rear Speaker Output (-)

A

YE

116

Left Rear Speaker Output (-)

B

BN

199

Left Rear Speaker Output (+)

B

BN

199

Left Rear Speaker Output (+)

C316 Body Harness to the Left Rear Passenger Door Harness (Extended Cab)


Object Number: 39660  Size: CH

Object Number: 39661  Size: CH

Connector Part Information

  • OEM: 12047785
  • Service: 12102900
  • Description: 4-Way F Metri-Pack 150 Series (BK)

Connector Part Information

  • OEM: 12047786
  • Service: 12085536
  • Description: 4-Way M Metri-Pack 150 Series (BK)

Terminal Part Information

  • Pins: A-D
  • Terminal/Tray: 12064971/5
  • Core/Insulation Crimp: E/C
  • Release Tool/Test Probe: 12094429/J-35616-2A (GY)

Terminal Part Information

  • Pins: A-D
  • Terminal/Tray: 12047581/2
  • Core/Insulation Crimp: E/C
  • Release Tool/Test Probe: 12094429/J-35616-3 (GY)

C316 Body Harness to the Left Rear Passenger Door Harness (Extended Cab)

Pin

Wire Color

Circuit No.

Function

Pin

Wire Color

Circuit No.

Function

A

YE

116

Left Rear Speaker Output (-)

A

YE

116

Left Rear Speaker Output (-)

B

BN

199

Left Rear Speaker Output (+)

B

BN

199

Left Rear Speaker Output (+)

C

GY/BK

745

Left Front Door Ajar Switch Signal

C

GY/BK

745

Left Front Door Ajar Switch Signal

D

BK/WH

1151

Ground

D

BK/WH

1151

Ground

C317 Body Harness to the Right Rear Passenger Door Harness (Crew Cab w/A31)


Object Number: 1334476  Size: CH

Object Number: 1336249  Size: CH

Connector Part Information

  • OEM: 15427365
  • Service: 88953392
  • Description: 10-Way F 090 II (WH)

Connector Part Information

  • OEM: 15427363
  • Service: 88953385
  • Description: 10-Way M 090 II (WH)

Terminal Part Information

  • Pins: 1-10
  • Terminal/Tray: 12129960/19
  • Core/Insulation Crimp: Pins 1-2: A/E/A
  • Core/Insulation Crimp: Pins 3-5, 9-10: See Terminal Repair Kit
  • Core/Insulation Crimp: Pins 6-8: C/A
  • Release Tool/Test Probe: 12094429/J-35616-18 (BK)

Terminal Part Information

  • Pins: 1-2
  • Terminal/Tray: See Terminal Repair Kit
  • Core/Insulation Crimp: See Terminal Repair Kit
  • Release Tool/Test Probe: See Terminal Repair Kit
  • Pins: 3-10
  • Terminal/Tray: 15305100/19
  • Core/Insulation Crimp: Pins 3-5, 9-10: See Terminal Repair Kit
  • Core/Insulation Crimp: Pins 6-8 C/A
  • Release Tool/Test Probe: 12094429/J-35616-19 (BK)

C317 Body Harness to the Right Rear Passenger Door Harness (Crew Cab w/A31)

Pin

Wire Color

Circuit No.

Function

Pin

Wire Color

Circuit No.

Function

1

L-BU

115

Right Rear Speaker Output (-)

1

YE

115

Right Rear Speaker Output (-)

2

D-BU

46

Right Rear Speaker Output (+)

2

BN

46

Right Rear Speaker Output (+)

3

L-GN

170

Power Window Master Switch Right Rear Up Signal

3

D-GN

168

Power Window Master Switch Right Rear Up Signal

4

PU

171

Power Window Master Switch Right Rear Down Signal

4

YE

1187

Power Window Master Switch Left Rear Down Signal

5

BN

9

Park Lamp Supply Voltage

5

BN

9

Park Lamp Supply Voltage

6

TN

294

Door Lock Actuator Unlock Control

6

TN

294

Door Lock Actuator Unlock Control

7

GY

295

Door Lock Actuator Lock Control

7

GY

295

Door Lock Actuator Lock Control

8

BK

2050

Ground

8

BK

850

Ground

9

D-BU

1307

Power Window Master Switch Lockout Signal

9

D-BU

1307

Power Window Master Switch Lockout Signal

10

YE

443

Accessory Voltage

10

YE

443

Accessory Voltage

C317 Body Harness to the Right Rear Passenger Door Harness (Crew Cab w/o A31)


Object Number: 1385747  Size: CH

Object Number: 872877  Size: CH

Connector Part Information

  • OEM: 15332129
  • Service: 15306425
  • Description: 2-Way F GT 150 Series (BK)

Connector Part Information

  • OEM: 15332130
  • Service: 88986459
  • Description: 2-Way M GT 150 Series (BK)

Terminal Part Information

  • Pins: A-B
  • Terminal/Tray: 12191812/19
  • Core/Insulation Crimp: E/C
  • Release Tool/Test Probe: 15315247/J-35616-2A (GY)

Terminal Part Information

  • Pins: A-B
  • Terminal/Tray: See Terminal Repair Kit
  • Core/Insulation Crimp: See Terminal Repair Kit
  • Release Tool/Test Probe: See Terminal Repair Kit

C317 Body Harness to the Right Rear Passenger Door Harness (Crew Cab w/o A31)

Pin

Wire Color

Circuit No.

Function

Pin

Wire Color

Circuit No.

Function

A

L-BU

115

Right Rear Speaker Output (-)

A

YE

115

Right Rear Speaker Output (-)

B

D-BU

46

Right Rear Speaker Output (+)

B

BN

46

Right Rear Speaker Output (+)

C317 Body Harness to the Right Rear Passenger Door Harness (Extended Cab)


Object Number: 39660  Size: CH

Object Number: 39661  Size: CH

Connector Part Information

  • OEM: 12047785
  • Service: 12102900
  • Description: 4-Way F Metri-Pack 150 Series (BK)

Connector Part Information

  • OEM: 12047786
  • Service: 12085536
  • Description: 4-Way M Metri-Pack 150 Series (BK)

Terminal Part Information

  • Pins: A-D
  • Terminal/Tray: 12064971/5
  • Core/Insulation Crimp: E/C
  • Release Tool/Test Probe: 12094429/J-35616-2A (GY)

Terminal Part Information

  • Pins: A-B
  • Terminal/Tray: See Terminal Repair Kit
  • Core/Insulation Crimp: See Terminal Repair Kit
  • Release Tool/Test Probe: See Terminal Repair Kit
  • Pins: C-D
  • Terminal/Tray: 12047581/2
  • Core/Insulation Crimp: E/C
  • Release Tool/Test Probe: 12094429/J-35616-3 (GY)

C317 Body Harness to the Right Rear Passenger Door Harness (Extended Cab)

Pin

Wire Color

Circuit No.

Function

Pin

Wire Color

Circuit No.

Function

A

L-BU

115

Right Rear Speaker Output (-)

A

YE

115

Right Rear Speaker Output (-)

B

D-BU

46

Right Rear Speaker Output (+)

B

BN

46

Right Rear Speaker Output (+)

C

L-GN/BK

748

Right Front Door Ajar Switch Signal

C

GY/BK

745

Right Front Door Ajar Switch Signal

D

BK/WH

1251

Ground

D

BK/WH

1151

Ground

C318 Heat Element to Passenger Seat Harness (AG2)


Object Number: 39660  Size: CH

Object Number: 39661  Size: CH

Connector Part Information

  • OEM: 12047785
  • Service: 12102900
  • Description: 4-Way F Metri-Pack 150 Series (BK)

Connector Part Information

  • OEM: 12047786
  • Service: 12085536
  • Description: 4-Way M Metri-Pack 150 Series (BK)

Terminal Part Information

  • Pins: A-C
  • Terminal/Tray: See Terminal Repair Kit
  • Core/Insulation Crimp: See Terminal Repair Kit
  • Release Tool/Test Probe: See Terminal Repair Kit

Terminal Part Information

  • Pins: A-C
  • Terminal/Tray: See Terminal Repair Kit
  • Core/Insulation Crimp: See Terminal Repair Kit
  • Release Tool/Test Probe: See Terminal Repair Kit

C318 Heat Element to Passenger Seat Harness (AG2)

Pin

Wire Color

Circuit No.

Function

Pin

Wire Color

Circuit No.

Function

A

RD

--

Battery Positive Voltage

A

OG

2240

Battery Positive Voltage

B

BK

--

Ground

B

BK

2050

Ground

C

WH

--

Passenger Heated Seat High/Low Signal

C

PK

1501

Passenger Heated Seat High/Low Signal

D

--

--

Not Used

D

--

--

Not Used

C319 Heat Element to Driver Seat Harness (AG1)


Object Number: 39660  Size: CH

Object Number: 39661  Size: CH

Connector Part Information

  • OEM: 12047785
  • Service: 12102900
  • Description: 4-Way F Metri-Pack 150 Series (BK)

Connector Part Information

  • OEM: 12047786
  • Service: 12085536
  • Description: 4-Way M Metri-Pack 150 Series (BK)

Terminal Part Information

  • Pins: A-C
  • Terminal/Tray: See Terminal Repair Kit
  • Core/Insulation Crimp: See Terminal Repair Kit
  • Release Tool/Test Probe: See Terminal Repair Kit

Terminal Part Information

  • Pins: A-C
  • Terminal/Tray: See Terminal Repair Kit
  • Core/Insulation Crimp: See Terminal Repair Kit
  • Release Tool/Test Probe: See Terminal Repair Kit

C319 Heat Element to Driver Seat Harness (AG1)

Pin

Wire Color

Circuit No.

Function

Pin

Wire Color

Circuit No.

Function

A

RD

--

Battery Positive Voltage

A

OG

2240

Battery Positive Voltage

B

BK

--

Ground

B

BK

2050

Ground

C

WH

--

Driver Heated Seat High/Low Signal

C

PK

1501

Driver Heated Seat High/Low Signal

D

--

--

Not Used

D

--

--

Not Used

C320 Body Harness to Cargo Lamp/Center High Mounted Stop Lamp (CHMSL) Harness


Object Number: 1243663  Size: CH

Object Number: 1391783  Size: CH

Connector Part Information

  • OEM: 15332132
  • Service: 88953364
  • Description: 3-Way F GT 150 Series (BK)

Connector Part Information

  • OEM: 15332133
  • Service: 88987881
  • Description: 3-Way M GT 150 Series (BK)

Terminal Part Information

  • Pins: A-C
  • Terminal/Tray: 12191812/19
  • Core/Insulation Crimp: Pins A: C/A
  • Core/Insulation Crimp: Pins B-C: E/C
  • Release Tool/Test Probe: 15315247/J-35616-2A (GY)

Terminal Part Information

  • Pins: A-C
  • Terminal/Tray: See Terminal Repair Kit
  • Core/Insulation Crimp: See Terminal Repair Kit
  • Release Tool/Test Probe: See Terminal Repair Kit

C320 Body Harness to Cargo Lamp/Center High Mounted Stop Lamp (CHMSL) Harness

Pin

Wire Color

Circuit No.

Function

Pin

Wire Color

Circuit No.

Function

A

L-BU

20

Stop Lamp Supply Voltage

A

BN

20

Stop Lamp Supply Voltage

B

GY/BK

690

Courtesy Lamp Supply Voltage (TR9)

B

WH

690

Courtesy Lamp Supply Voltage (TR9)

C

BK

850

Ground

C

BK/WH

850

Ground

C400 Chassis Harness to the License Lamp Harness


Object Number: 523630  Size: CH

Object Number: 632349  Size: CH

Connector Part Information

  • OEM: 15326801
  • Service: 15306156
  • Description: 2-Way F GT 150 Series (BK)

Connector Part Information

  • OEM: 15326806
  • Service: 15306166
  • Description: 2-Way M 150 Series Sealed (BK)

Terminal Part Information

  • Pins: A-B
  • Terminal/Tray: 12191819/8
  • Core/Insulation Crimp: E/1
  • Release Tool/Test Probe: 15315247/J-35616-2A (GY)

Terminal Part Information

  • Pins: A-B
  • Terminal/Tray: 15326269/19
  • Core/Insulation Crimp: E/4
  • Release Tool/Test Probe: 15315247/J-35616-3 (GY)

C400 Chassis Harness to the License Lamp Harness

Pin

Wire Color

Circuit No.

Function

Pin

Wire Color

Circuit No.

Function

A

BN

9

Park Lamp Supply Voltage

A

BN

9

Park Lamp Supply Voltage

B

BK

850

Ground

B

BK

850

Ground

C401 Left Rear Lamp Assembly to the Chassis Harness (w/o Trailer Accessory)


Object Number: 872518  Size: CH

Object Number: 872519  Size: CH

Connector Part Information

  • OEM: 15326635
  • Service: 88953154
  • Description: 6-Way F (BK)

Connector Part Information

  • OEM: 15326640
  • Service: 88953150
  • Description: 6-Way M (BK)

Terminal Part Information

  • Terminal/Tray: 15304719/19
  • Core/Insulation Crimp:2/5
  • Release Tool/Test Probe: 15315247/J-35616-4A (PU)

Terminal Part Information

  • Terminal/Tray: 15304731/19
  • Core/Insulation Crimp: Pins A-D: E/5
  • Core/Insulation Crimp: Pins E: C/5
  • Core/Insulation Crimp: Pins F: 2/5
  • Release Tool/Test Probe: 15315247/J-35616-5 (PU)

C401 Left Rear Lamp Assembly to the Chassis Harness (w/o Trailer Accessory)

Pin

Wire Color

Circuit No.

Function

Pin

Wire Color

Circuit No.

Function

A

--

--

Not Used

A

D-GN

19

Right Rear Turn Signal Lamps Supply Voltage

B

L-GN

--

Backup Lamp Supply Voltage

B

L-GN

24

Backup Lamp Supply Voltage

C

BN

--

Park Lamp Supply Voltage

C

BN

9

Park Lamp Supply Voltage

D

YE

--

Left Rear Turn Signal Lamps Supply Voltage

D

YE

18

Left Rear Turn Signal Lamps Supply Voltage

E

L-BU

--

Stop Lamp Supply Voltage

E

L-BU

20

Stop Lamp Supply Voltage

F

BK

--

Ground

F

BK

850

Ground

C401 Trailer Accessory Harness to the Chassis Harness (Trailer Accessory)


Object Number: 872518  Size: CH

Object Number: 872519  Size: CH

Connector Part Information

  • OEM: 15326635
  • Service: 88953154
  • Description: 6-Way F (BK)

Connector Part Information

  • OEM: 15326640
  • Service: 88953150
  • Description: 6-Way M (BK)

Terminal Part Information

  • Terminal/Tray: 15304719/19
  • Core/Insulation Crimp: 2/5
  • Release Tool/Test Probe: 15315247/J-35616-4A (PU)

Terminal Part Information

  • Terminal/Tray: 15304731/19
  • Core/Insulation Crimp: Pins A-D: E/5
  • Core/Insulation Crimp: Pins E: C/5
  • Core/Insulation Crimp: Pins F: 2/5
  • Release Tool/Test Probe: 15315247/J-35616-5 (PU)

C401 Trailer Accessory Harness to the Chassis Harness (Trailer Accessory)

Pin

Wire Color

Circuit No.

Function

Pin

Wire Color

Circuit No.

Function

A

GN

--

Right Rear Turn Signal Lamps Supply Voltage

A

D-GN

19

Right Rear Turn Signal Lamps Supply Voltage

B

BK

--

Backup Lamp Supply Voltage

B

L-GN

24

Backup Lamp Supply Voltage

C

BN

--

Park Lamp Supply Voltage

C

BN

9

Park Lamp Supply Voltage

D

YE

--

Left Rear Turn Signal Lamps Supply Voltage

D

YE

18

Left Rear Turn Signal Lamps Supply Voltage

E

BU

--

Stop Lamp Supply Voltage

E

L-BU

20

Stop Lamp Supply Voltage

F

WH

--

Ground

F

BK

850

Ground

C402 Right Rear Lamp Assembly to the Chassis Harness


Object Number: 647974  Size: CH

Object Number: 1334521  Size: CH

Connector Part Information

  • OEM: 15326822
  • Service: 88987186
  • Description: 5-Way F GT 150 Series Sealed 4.0 (BK)

Connector Part Information

  • OEM: 15326827
  • Service: 89046648
  • Description: 5-Way M GT 150 Series Sealed (BK)

Terminal Part Information

  • Terminal/Tray: 12191819/8
  • Core/Insulation Crimp: 2/1
  • Release Tool/Test Probe: 15315247/J-35616-2A (GY)

Terminal Part Information

  • Terminal/Tray: 15326269/19
  • Core/Insulation Crimp: Pins: A-C, E: E/4
  • Core/Insulation Crimp: Pins D: E/1
  • Release Tool/Test Probe: 15315247/J-35616-3 (GY)

C402 Right Rear Lamp Assembly to the Chassis Harness

Pin

Wire Color

Circuit No.

Function

Pin

Wire Color

Circuit No.

Function

A

L-GN

--

Backup Lamp Supply Voltage

A

L-GN

24

Backup Lamp Supply Voltage

B

BN

--

Park Lamp Supply Voltage

B

BN

9

Park Lamp Supply Voltage

C

D-GN

--

Right Rear Turn Signal Lamps Supply Voltage

C

D-GN

19

Right Rear Turn Signal Lamps Supply Voltage

D

L-BU

--

Stop Lamp Supply Voltage/Stop Lamp Switch Signal

D

L-BU

20

Stop Lamp Supply Voltage/Stop Lamp Switch Signal

E

BK

--

Ground

E

BK

850

Ground

C403 Left Rear Lamp Assembly to the Trailer Accessory Harness (Trailer Accessory)


Object Number: 872518  Size: CH

Object Number: 872519  Size: CH

Connector Part Information

  • OEM: 15326635
  • Service: 88953154
  • Description: 6-Way F (BK)

Connector Part Information

  • OEM: 15326640
  • Service: 88953150
  • Description: 6-Way M (BK)

Terminal Part Information

  • Terminal/Tray: 15304719/19
  • Core/Insulation Crimp: 2/5
  • Release Tool/Test Probe: 15315247/J-35616-4A (PU)

Terminal Part Information

  • Terminal/Tray: 15304731/19
  • Core/Insulation Crimp: Pins A-D: E/5
  • Core/Insulation Crimp: Pins E: C/5
  • Core/Insulation Crimp: Pins F: 2/5
  • Release Tool/Test Probe: 15315247/J-35616-5 (PU)

C403 Left Rear Lamp Assembly to the Trailer Accessory Harness (Trailer Accessory)

Pin

Wire Color

Circuit No.

Function

Pin

Wire Color

Circuit No.

Function

A

--

--

Not Used

A

GN

--

Right Rear Turn Signal Lamps Supply Voltage

B

L-GN

--

Backup Lamp Supply Voltage

B

BK

--

Backup Lamp Supply Voltage

C

BN

--

Park Lamp Supply Voltage

C

BN

--

Park Lamp Supply Voltage

D

YE

--

Left Rear Turn Signal Lamps Supply Voltage

D

YE

--

Left Rear Turn Signal Lamps Supply Voltage

E

L-BU

--

Stop Lamp Supply Voltage

E

BU

--

Stop Lamp Supply Voltage

F

BK

--

Ground

F

WH

--

Ground