GM Service Manual Online
For 1990-2009 cars only

Front Fog Lamp Replacement Canyon

Removal Procedure


    Object Number: 1386386  Size: SH
  1. Remove the fog lamp bulb and socket. Refer to Front Fog Lamp Bulb Replacement .
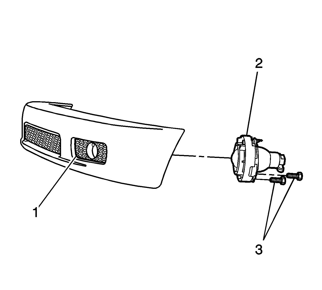
  2. Remove the bolt (1) securing the fog lamp to the fascia.
  3. Remove the fog lamp (2).

Installation Procedure


    Object Number: 1386386  Size: SH
  1. Position the fog lamp (2) to the fascia.
  2. Notice: Refer to Fastener Notice in the Preface section.

  3. Install the fog lamp to fascia bolts (1).
  4. Tighten
    Tighten the bolts to 2.5 N·m (22 lb in).

  5. Install the fog lamp bulb and socket.

Front Fog Lamp Replacement XTREME

Removal Procedure


    Object Number: 1505878  Size: SH
  1. Turn the fog lamp switch to the OFF position.
  2. Disconnect the electrical connector.
  3. Remove the bulb from the socket (2). Refer to Front Fog Lamp Bulb Replacement .

  4. Object Number: 1505882  Size: SH
  5. Remove the screws (3) from the lower housing.
  6. Remove the fog lamp adjustment screw upper, pull housing loose from the fascia.
  7. Push in on the retaining clips located around the inside of the of the housing ring.

  8. Remove the fog lamp from the fascia.

Installation Procedure


    Object Number: 1505882  Size: SH
  1. Install the fog lamp housing ring (2) to the fascia.
  2. Align the fog lamp housing ring with the retaining clips on the fascia.
  3. Push inward to fully seated to fascia.
  4. Notice: Refer to Fastener Notice in the Preface section.

  5. Install the fog lamp lower screws (3).
  6. Tighten
    Tighten the bolts to 2 N·m (18 lb in).

  7. Install the fog lamp adjustment screw and adjust lamp.
  8. Tighten
    Tighten the bolts to 1 N·m (12 lb in).


    Object Number: 1505878  Size: SH
  9. Install the bulb (2) to the housing. Refer to Front Fog Lamp Bulb Replacement .
  10. Index the tabs on the bulb socket to the slots in the fog lamp housing.
  11. Rotate the socket clockwise until fully seated.