GM Service Manual Online
For 1990-2009 cars only

The following propeller shafts are available on this vehicle:


Object Number: 198670  Size: SH
    • Single propeller shaft

Object Number: 198636  Size: SH
    • Dual propeller shafts

Object Number: 198633  Size: SH
    • Multi-propeller shafts

Object Number: 198520  Size: MH

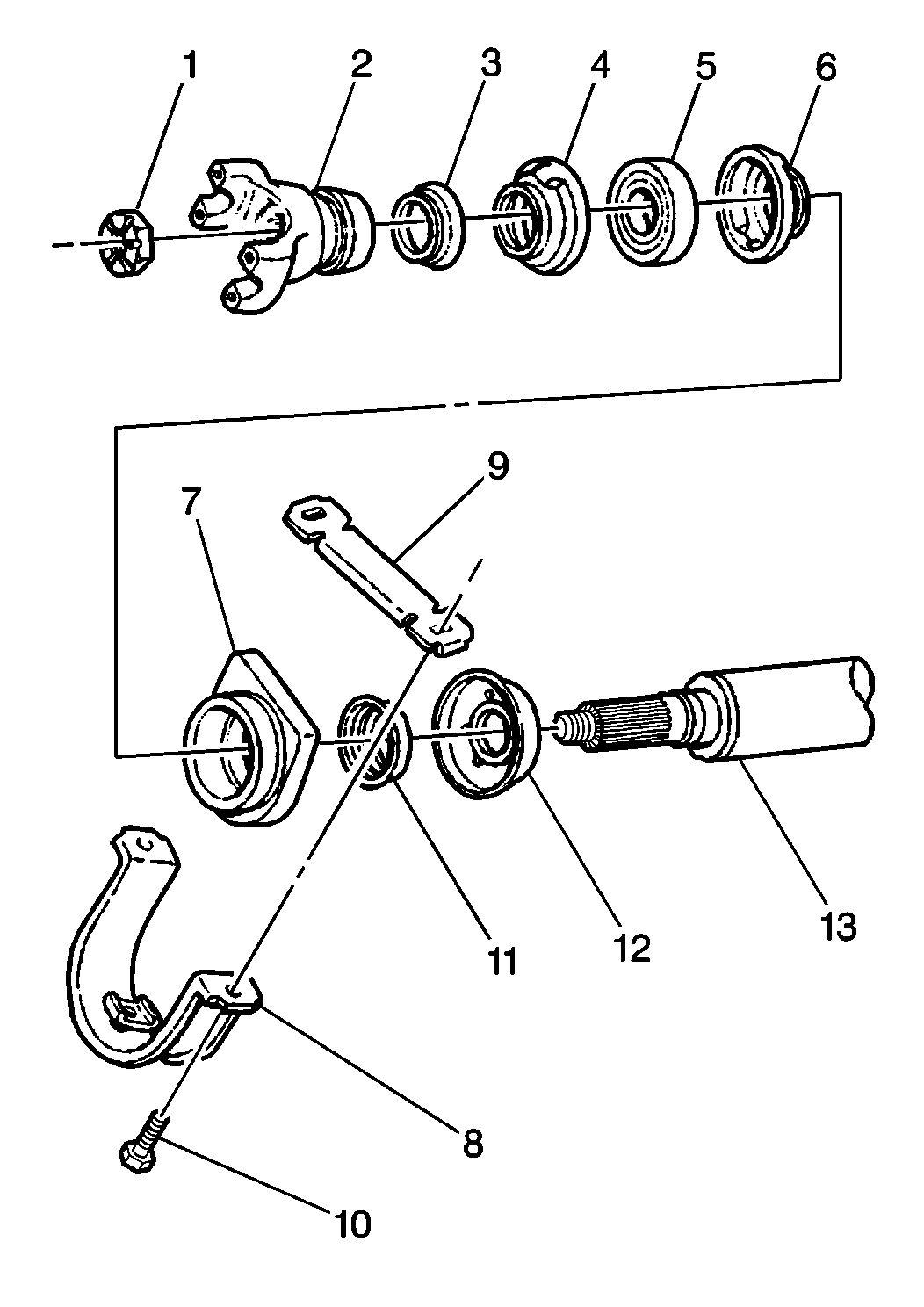
All propeller shafts (13) are balanced tubular type. A splined slip joint is provided in each drive line. The slip joint is at the forward end of the rear shaft.

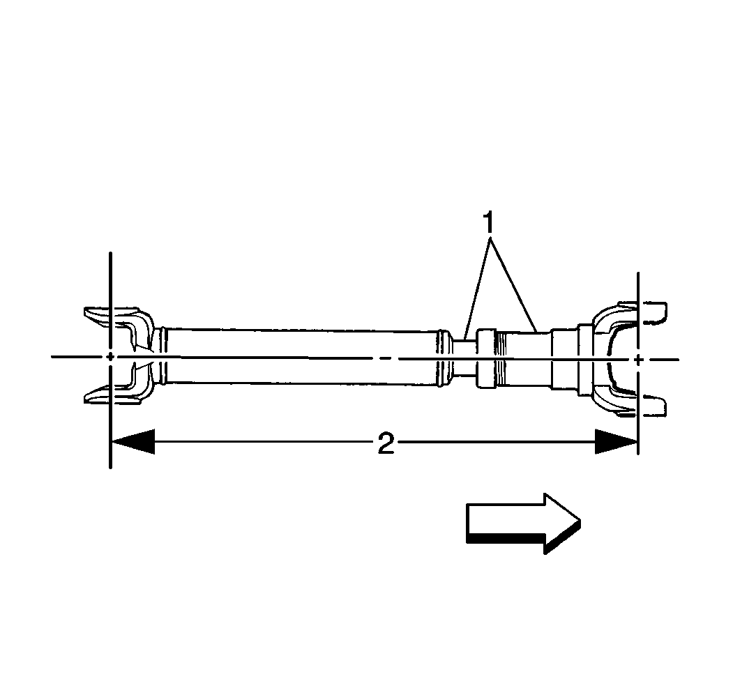
Propeller Shaft Phasing


Object Number: 198598  Size: SH

All propeller shafts (1) are designed and built with the yoke lugs (ears) in line with each other. This condition is called phasing.

The shaft will absorb the vibration from the speeding up and slowing down each time the universal joint rotates. Mark the propeller shafts when disassembling, in order to assure proper assembly alignment. Some propeller shafts have alignment arrows stamped on them at the time of production.

Universal Joint


Object Number: 198531  Size: MH

The needle bearings are installed in the bearing cages. The bearing cages are retained in the yoke (4) using bolts (13) with bearing straps (12).

Center Bearing


Object Number: 198520  Size: MH

Center bearings (5) are used in order to support the center portion of the driveline when two or more propeller shafts (13) are used. The bearing (5) is a ball type. The bearing is mounted in a rubber cushion (7) that is attached to a frame cross member. The bearing is prelubricated by the manufacturer.