GM Service Manual Online
For 1990-2009 cars only
Makes
🢒
Isuzu
🢒
1998
🢒
S/T Isuzu - 2WD
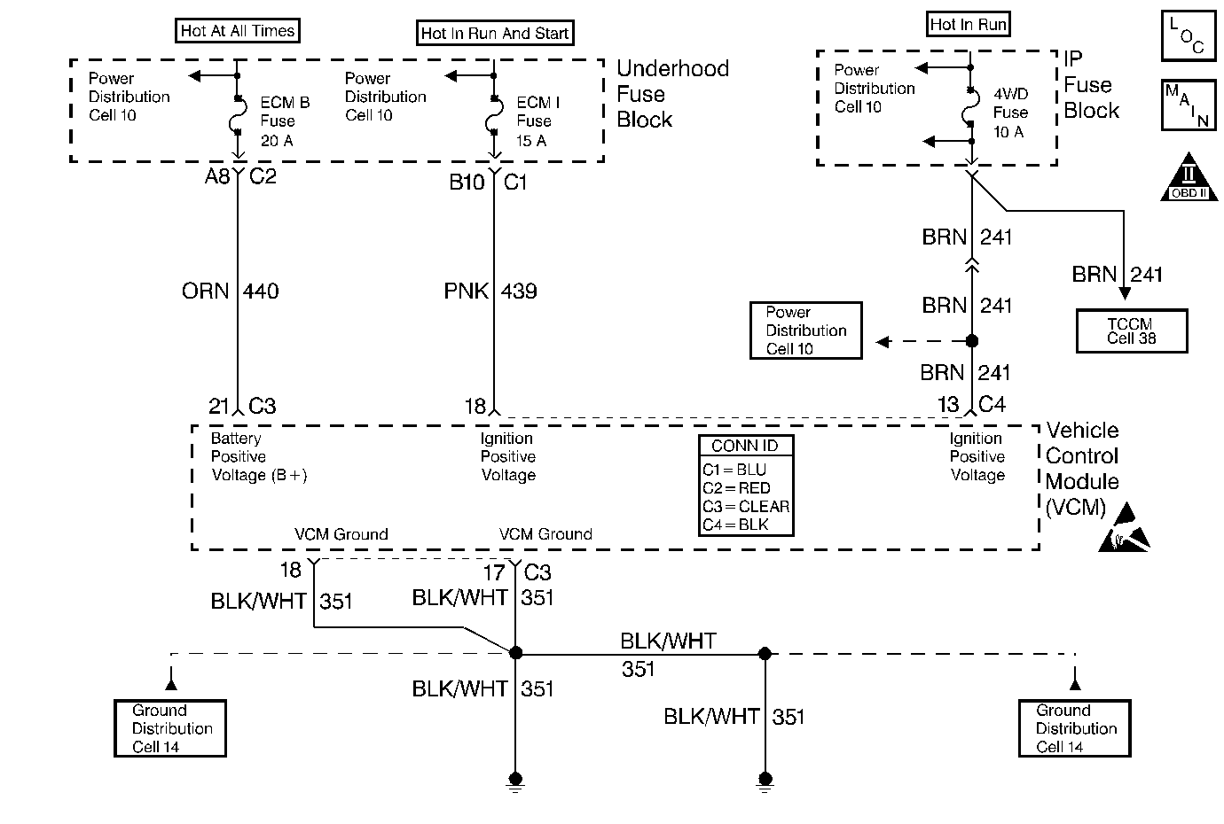
🢒 98 4.3L S/T Power Distribution Figure
98 4.3L S/T Power Distribution Figure
Handling ESD Sensitive Parts Notice
Engine Controls Components
UBEC Power, Grounding, Generator, And MIL
OBD II Symbol Description Notice