GM Service Manual Online
For 1990-2009 cars only

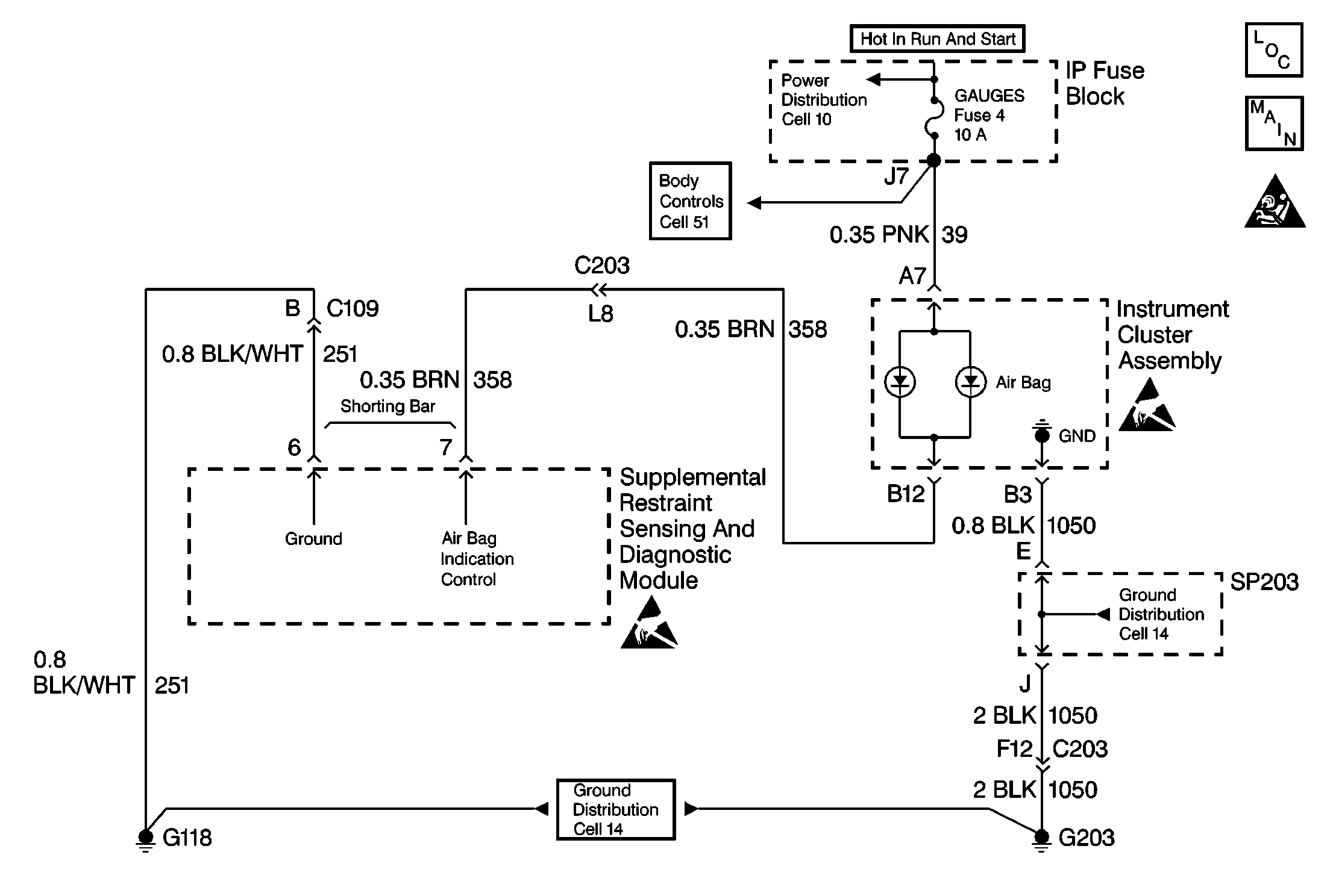
Object Number: 211907  Size: MF
SRS Components
SRS Schematics
SRS Service Precautions
ESD Notice
ESD Notice

Circuit Description

In the RUN position, the ignition switch applies battery voltage to the AIR BAG warning lamp and to the IGNITION 1 input terminal 10. The supplemental restraint Sensing and Diagnostic Module (SDM) responds by flashing the AIR BAG warning lamp seven times. The SDM monitors the lamp driver output by comparing the output state at the SUPPLEMENTAL RESTRAINT INDICATOR terminal 7 to the microprocessor commanded state.

Conditions for Setting the DTC

The output state at the SUPPLEMENTAL RESTRAINT INDICATOR terminal 7 does not match the commanded state of the lamp driver for 400 milliseconds.

The CONTINUOUS MONITORING test checks for this DTC. This test occurs when IGNITION 1 is within the normal operating voltage range.

Action Taken When the DTC Sets

    • The SDM sets a Diagnostic Trouble Code.
    • The SDM attempts to turn ON the AIR BAG warning lamp.

Conditions for Clearing the DTC

    • Current DTC- The output state at the SUPPLEMENTAL RESTRAINT INDICATOR terminal 7 matches the commanded state of the lamp driver for 400 milliseconds.
    • History DTC
       - You issue a scan tool CLEAR CODES command.
       - Once 250 malfunction free ignition cycles have occurred.

Diagnostic Aids

Refer to AIR BAG Warning Lamp Comes On Steady and AIR BAG Warning Lamp Does Not Come On to diagnose warning lamp circuit malfunctions.

When measurements are requested in this table, use J 39200 Digital Multimeter with the correct terminal adapter from J 35616 Connector Test Adapter Kit. When an inspection for proper connection is requested, refer to Intermittents and Poor Connections . When a wire, connector or terminal repair is requested, use J-38125 Terminal Repair Kit and refer to Wiring Repair .

Test Description

The number below refers to the step number on the diagnostic table:

  1. When the supplemental restraint sensing and diagnostic module (SDM) is configured for a serial data controlled warning indicator (smart cluster), DTC B1061 will set.

DTC B1061 -- Lamp Circuit Failure

Step

Action

Value(s)

Yes

No

1

Was the SRS Diagnostic System Check performed?

--

Go to Step 2

Go to SRS Diagnostic System Check

2

  1. Malfunctions within the AIR BAG warning lamp circuitry can set this DTC. These malfunctions are addressed via the SRS Diagnostic System Check. Failure to properly perform the SRS Diagnostic System Check may result in misdiagnosis.
  2. • When AIR BAG warning lamp comes ON steady, refer to AIR BAG Warning Lamp Comes On Steady .
    • When AIR BAG warning lamp comes does not come ON, refer to AIR BAG Warning Lamp Does Not Come On .
  3. Turn the ignition switch to the RUN position.
  4. Clear the SRS DTC codes.
  5. Request the SRS DTC display.

Is DTC B1061 set?

--

Go to Sensing and Diagnostic Module Integrity Check

Go to SRS Diagnostic System Check