| Figure 1: |
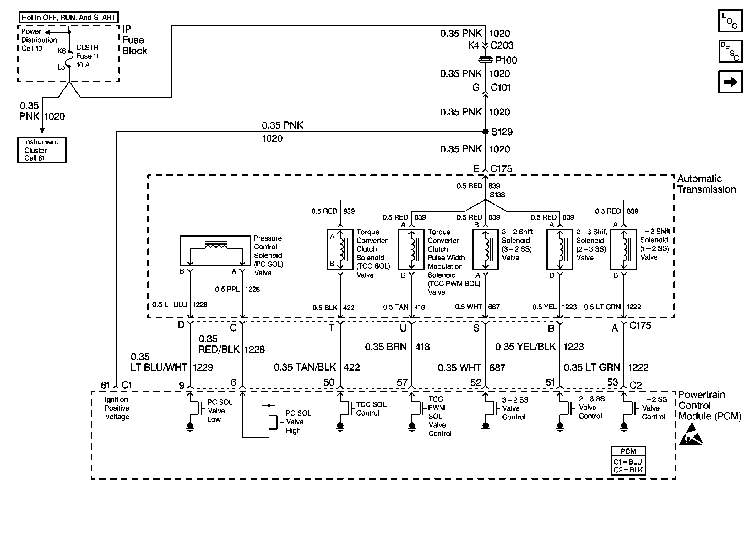
Cell 39: Valve Controls (2.2L)
|
| Figure 2: |
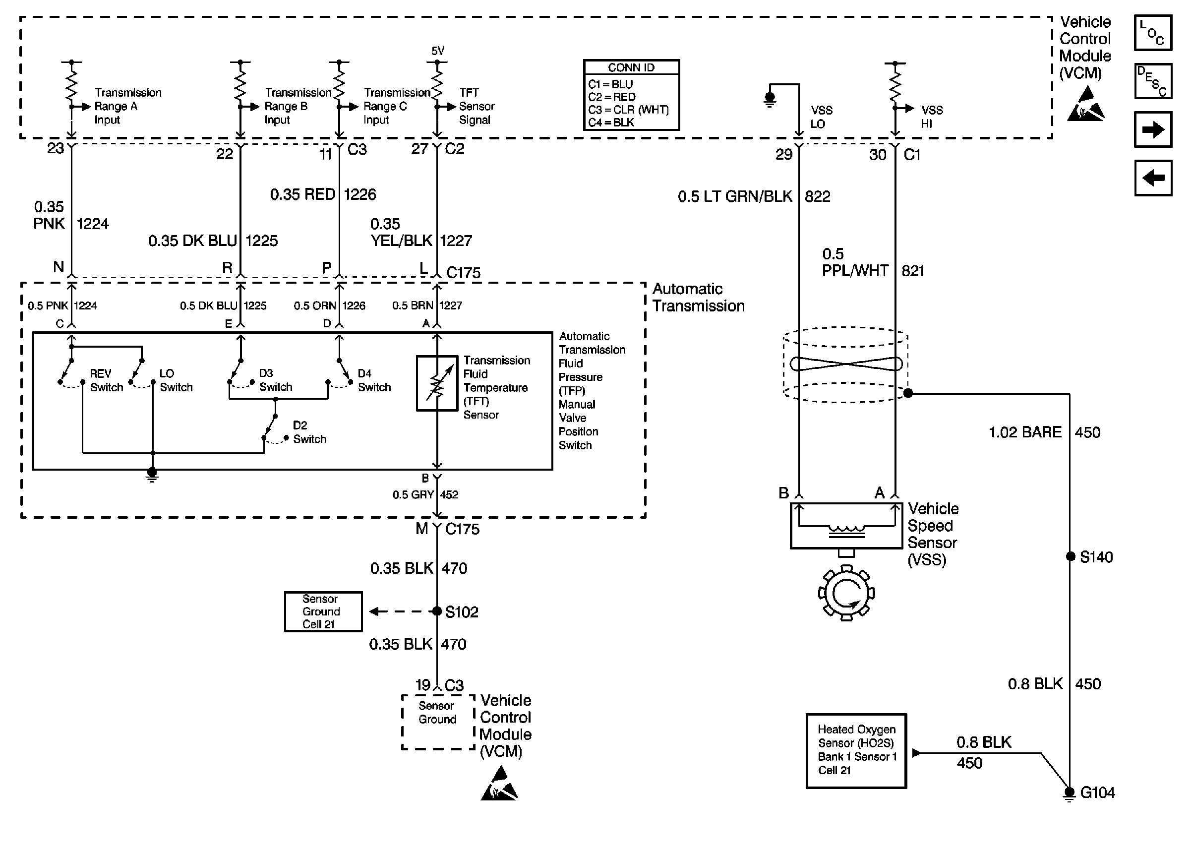
Cell 39: Switch Inputs (2.2L)
|
| Figure 3: |
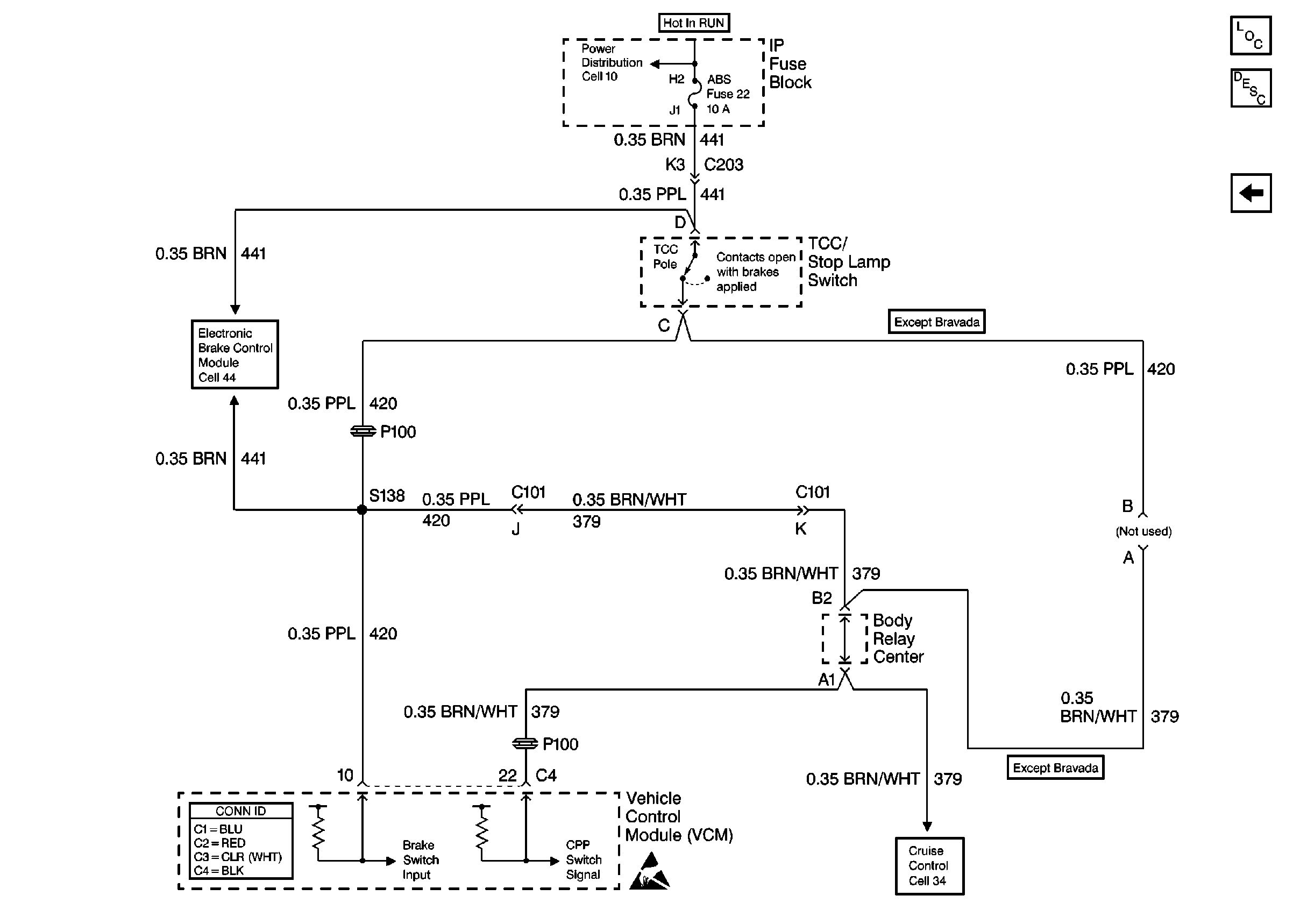
Cell 39: Brake Switch, VSS Inputs (2.2L)
|
| Figure 4: |
Cell 39: Valve Controls (4.3L)
|
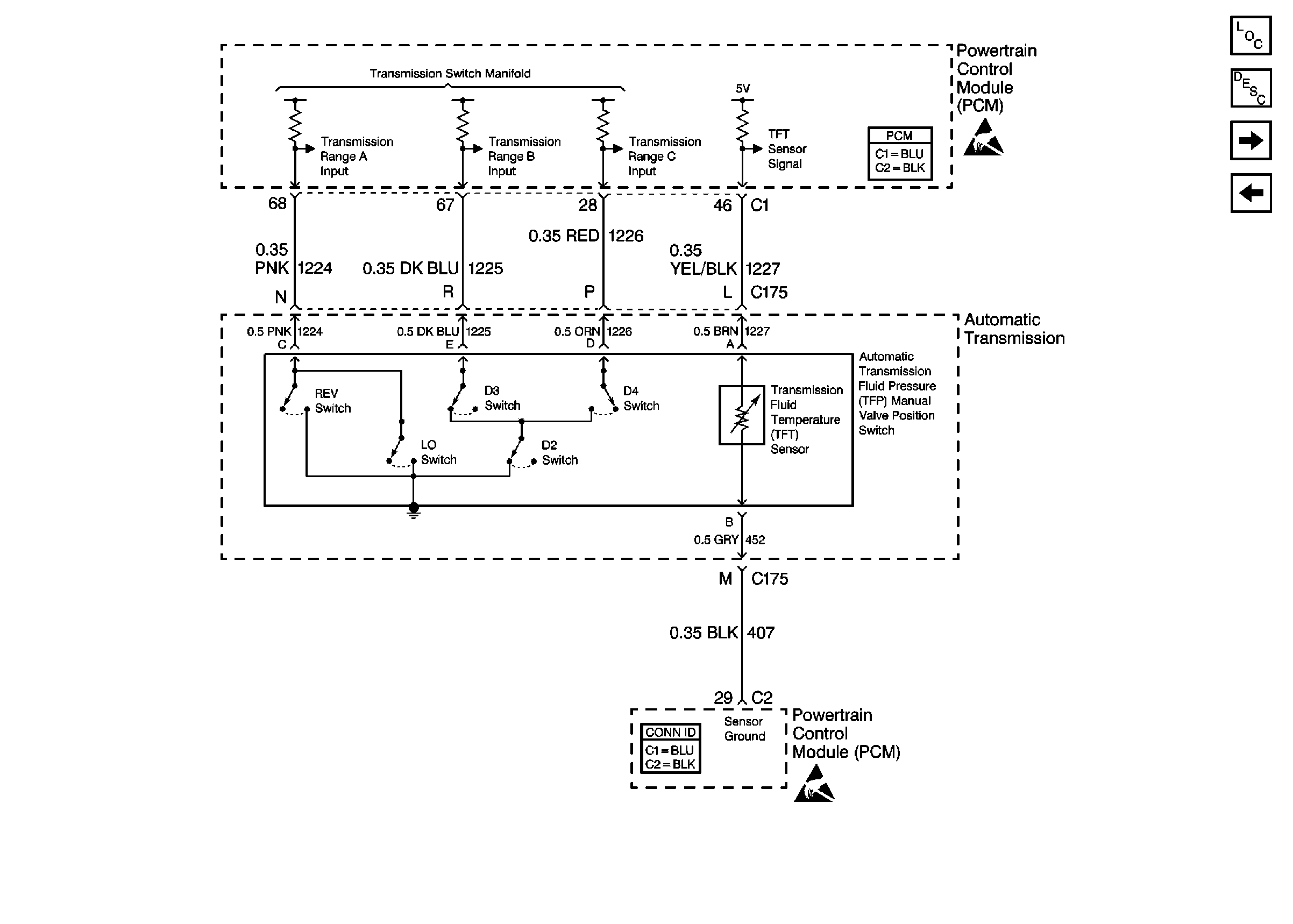
| Figure 5: |
Cell 39: Switch Inputs, 2WD VSS (4.3L)
|
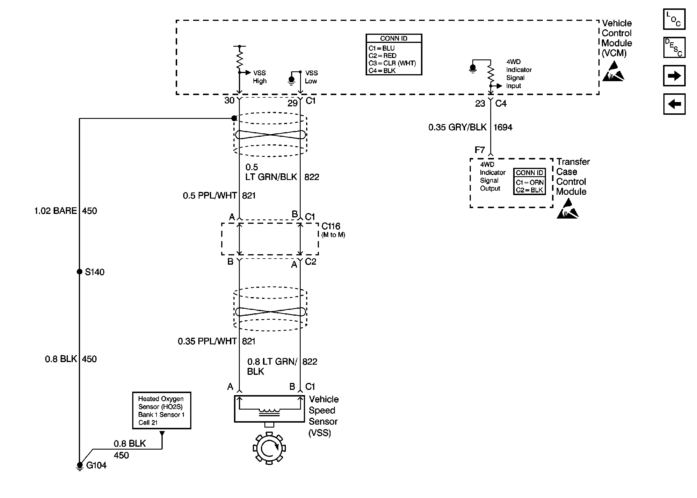
| Figure 6: |
Cell 39: 4WD VSS (4.3L)
|
| Figure 7: |
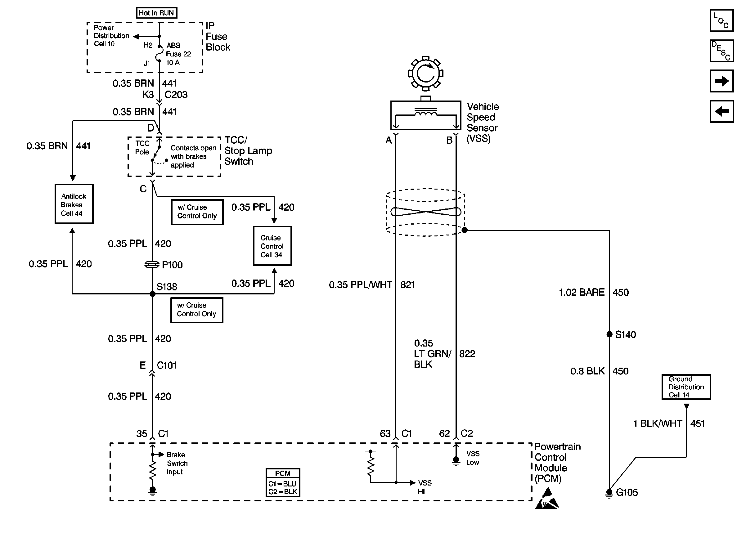
Cell 39: Brake Switch Inputs (4.3L)
|