GM Service Manual Online
For 1990-2009 cars only
Makes
🢒
Isuzu
🢒
1999
🢒
S/T Isuzu - 2WD
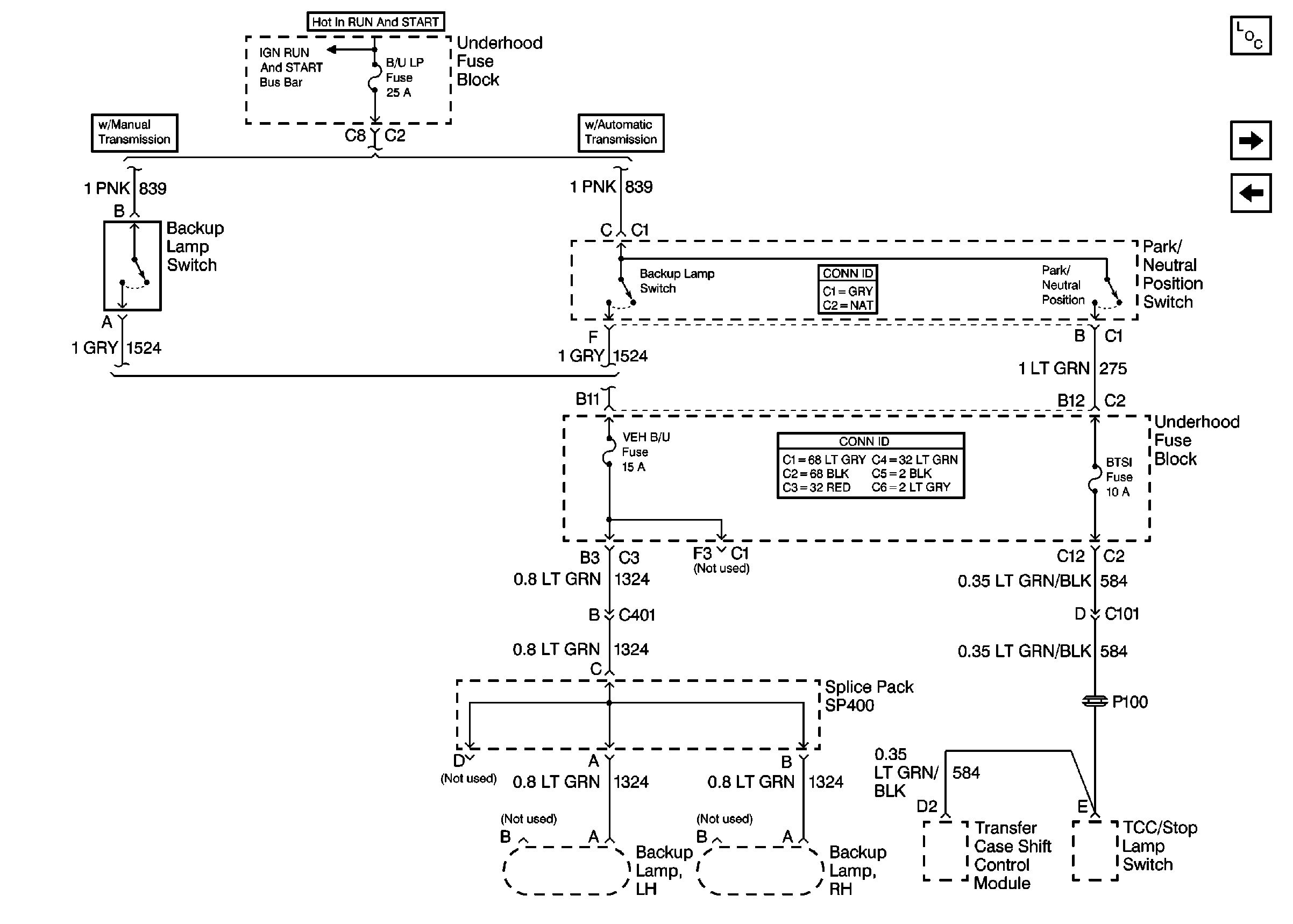
🢒 Cell 10: B/U LP, VEH B/U and BTSI Fuses
Cell 10: B/U LP, VEH B/U and BTSI Fuses
Cell 10: B/U LP, VEH B/U and BTSI Fuses
Tilt Wheel/Column Connector End Views
Power and Grounding Connector End Views
Power and Grounding Components
Cell 10: ENG I and OXYSEN Fuses
Cell 10: IGN E, RDO IGN Fuses and Power Window Circuit Breaker