GM Service Manual Online
For 1990-2009 cars only
Makes
🢒
Isuzu
🢒
1999
🢒
S/T Isuzu - 2WD
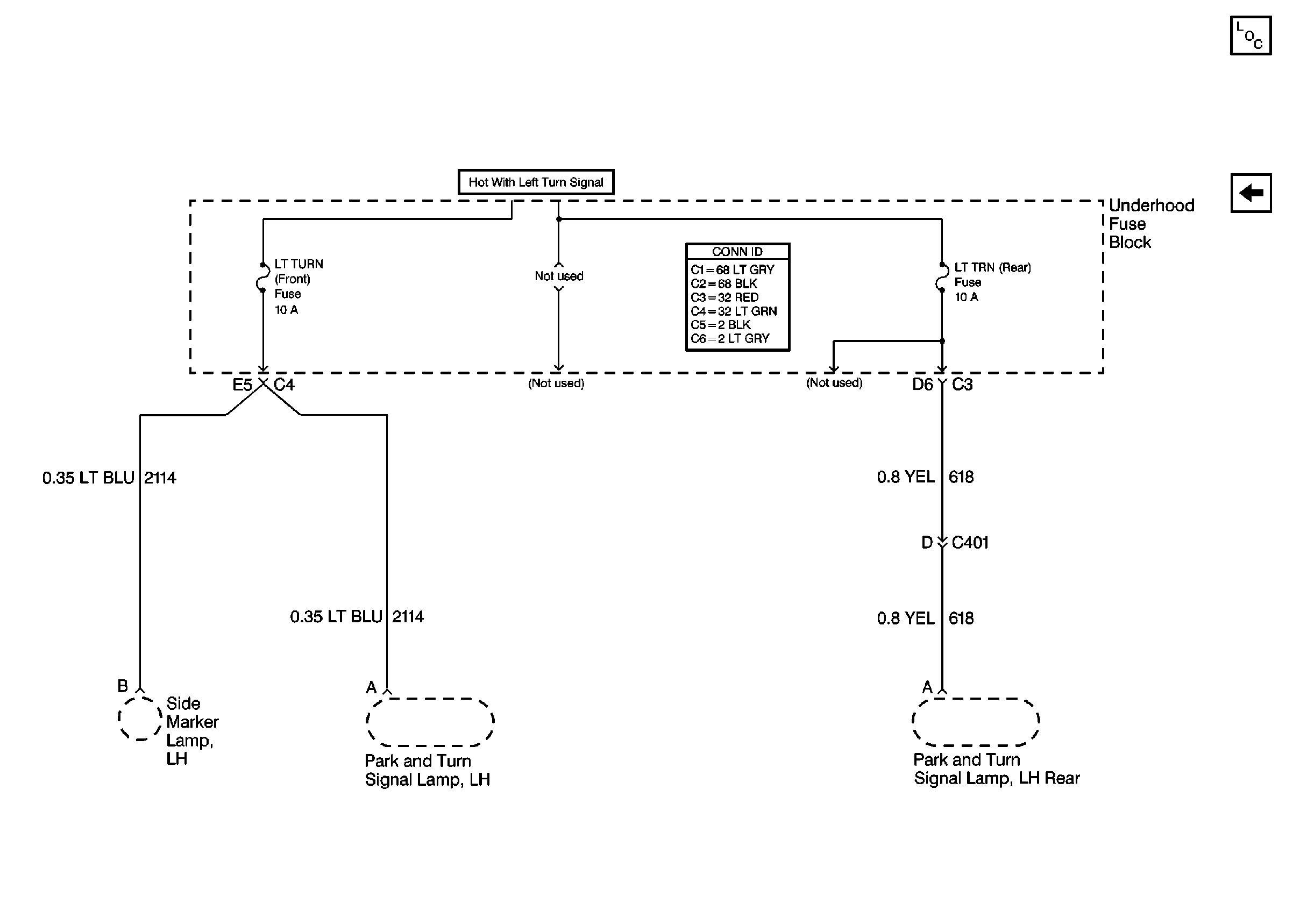
🢒 Cell 10: LT TURN and LT TRN Fuses
Cell 10: LT TURN and LT TRN Fuses
Cell 10: LT TURN and LT TRN Fuses
Power and Grounding Components
Cell 10: RT TURN and RT TRN Fuses
Power and Grounding Connector End Views