GM Service Manual Online
For 1990-2009 cars only
Makes
🢒
Isuzu
🢒
2000
🢒
S/T Isuzu - 2WD
🢒
Steering
🢒
Steering Wheel and Column - Standard
🢒 Column/Ignition Lock Schematics
Standard Wheel/Column Components
Ignition Lock System Description
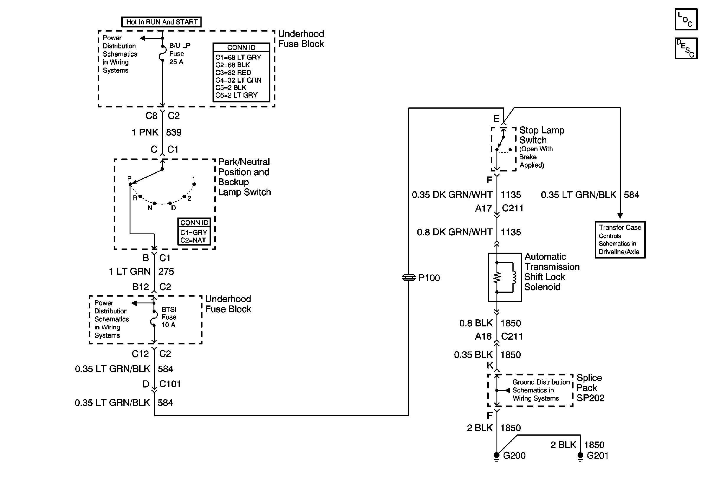
B/U LP, VEH B/U and BTSI Fuses
Power and Grounding Connector End Views
Standard Wheel/Column Connector End Views
B/U LP, VEH B/U and BTSI Fuses
4WD Indicator Switch and Vehicle Control Module (VCM)
G200, G201 and G207