GM Service Manual Online
For 1990-2009 cars only
Makes
🢒
Isuzu
🢒
2000
🢒
S/T Isuzu - 2WD
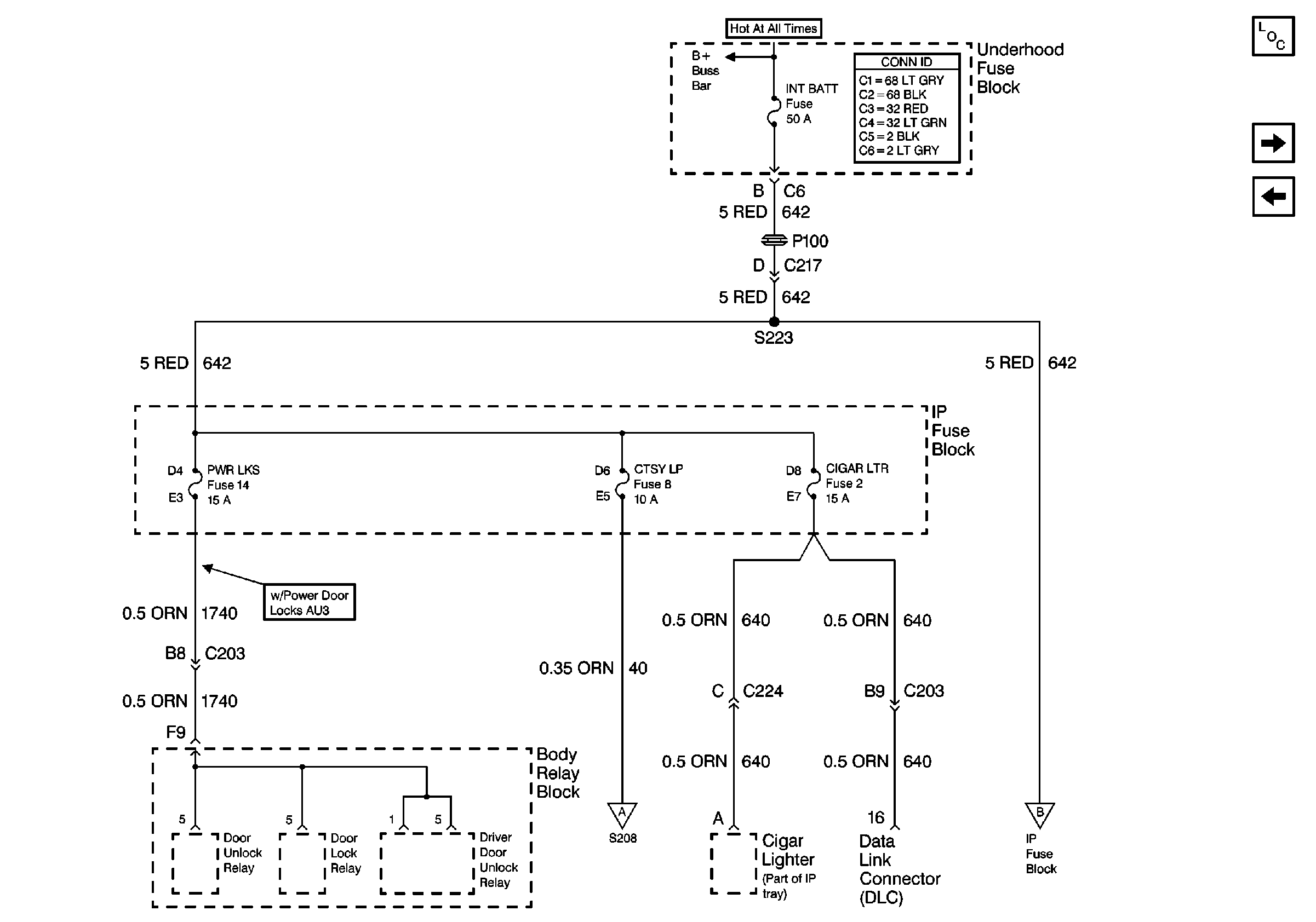
🢒 Cell 10: INT BATT, PWR LKS, CTSY LP and CIGAR LTR Fuses
Cell 10: INT BATT, PWR LKS, CTSY LP and CIGAR LTR Fuses
Cell 10: INT BATT, PWR LKS, CTSY LP and CIGAR LTR Fuses
Power and Grounding Connector End Views
Power and Grounding Components
Cell 10: AUX PWR, RDO BAT, HDLP SW Fuses and Inadvertent Power Lamp Relay
Cell 10: STUD 2, ABS and TBC Fuses
Cell 10: AUX PWR, RDO BAT, HDLP SW Fuses and Inadvertent Power Lamp Relay
Cell 10: AUX PWR, RDO BAT, HDLP SW Fuses and Inadvertent Power Lamp Relay